NEC3120FW - Sèche-linge AMANA - Notice d'utilisation et mode d'emploi gratuit
Retrouvez gratuitement la notice de l'appareil NEC3120FW AMANA au format PDF.
| Caractéristiques | Détails |
|---|---|
| Type de produit | Sèche-linge |
| Capacité | 8 kg |
| Type de séchage | Condensation |
| Classe énergétique | B |
| Dimensions (L x P x H) | 60 x 60 x 85 cm |
| Poids | 50 kg |
| Niveau sonore | 65 dB |
| Programmes de séchage | Plusieurs programmes automatiques |
| Affichage | Écran LED |
| Système de filtration | Filtre à peluches |
| Entretien | Nettoyage régulier du filtre et du réservoir d'eau |
| Sécurité | Protection contre la surchauffe |
| Garantie | 2 ans |
FOIRE AUX QUESTIONS - NEC3120FW AMANA
Questions des utilisateurs sur NEC3120FW AMANA
0 question sur cet appareil. Repondez a celles que vous connaissez ou posez la votre.
Poser une nouvelle question sur cet appareil
Téléchargez la notice de votre Sèche-linge au format PDF gratuitement ! Retrouvez votre notice NEC3120FW - AMANA et reprennez votre appareil électronique en main. Sur cette page sont publiés tous les documents nécessaires à l'utilisation de votre appareil NEC3120FW de la marque AMANA.
MODE D'EMPLOI NEC3120FW AMANA
120-Volt Electric Compact Dryer par le dessus guide d'utilisation et d'entretien
Sécurité de la sécheuse
Votre sécurité et celle des autres est très importante.
Nous donnons de nombreux messages de sécurité importants dans ce manuel et sur votre appareil ménager. Assurez-vous de toujours lire tous les messages de sécurité et de vous y conformer.

Voici le symbole d'alerte de sécurité.
Ce symbole d'alerte de sécurité vous signale les dangers potentiels de décès et de blessures graves à vous et à d'autres.
Tous les messages de sécurité suivront le symbole d'alerte de sécurité et le mot "DANGER" ou "AVERTISSEMENT". Ces mots signifient :
! DANGER
AVERTISSEMENT
Risque possible de décès ou de blessure grave si vous ne suivez pas immédiatement les instructions.
Risque possible de décès ou de blessure grave si vous ne suivez pas les instructions.
Tous les messages de sécurité vous diront quel est le danger potentiel et vous disent comment réduire le risque de blessure et ce qui peut se produire en cas de non-respect des instructions.

- L'installation de la sécheuse à linge doit être effectuée par un installateur qualifié.
- Installer la sécheuse conformément aux instructions du fabricant et aux codes locaux.
- Ne pas installer de sécheuse à linge avec des matériaux d'évacuation en plastique souple ou un conduit métallique souple (de type papier d'aluminium). Si un conduit métallique souple est installé, celui-ci doit être d'un type spécifique identifié par le fabricant de l'appareil et convenir à une utilisation avec les sécheuses à linge. Les matériaux d'évacuation souples sont connus pour s'affaisser, être facilement écrasés et bloquer la charpie. Ces situations obstrueront le débit d'air de la sécheuse à linge et augmenteront le risque d'incendie.
- Pour réduire le risque de blessure grave ou de décès, suivre toutes les instructions d'installation.
- Conserver ces instructions.
IMPORTANTES INSTRUCTIONS DE SÉCURITÉ
Avant de jeter ou de ranger votre vieille sécheuse, enlever la porte.
CONSERVEZ CES INSTRUCTIONS
IMPORTANTES INSTRUCTIONS DE SÉCURITÉ
AVERTISSEMENT : Pour réduire le risque d'incendie, de choc électrique ou de blessure lors de l'utilisation de la sécheuse, il convient d'observer certaines précautions élémentaires dont les suivantes :
■ Lire toutes les instructions avant d'utiliser la sécheuse.
■ Ne pas placer des articles exposés aux huiles de cuisson dans votre sécheuse. Les articles contaminés par des huiles de cuisson peuvent contribuer à une réaction chimique qui pourrait causer à la charge de s'enflammer.
■ Ne pas faire sécher dans la machine des articles qui ont déjà été nettoyés, lavés, imbibés, ou tachés d'essence, de solvants pour nettoyage à sec, d'autres substances inflammables, ou de substances explosives puisqu'elles dégagent des vapeurs qui peuvent provoquer un incendie ou une explosion.
■ Ne pas permettre à des enfants de jouer sur ou à l'intérieur de la sécheuse. Une surveillance étroite est nécessaire lorsque la sécheuse est utilisée près d'eux.
■ Avant d'enlever la sécheuse du service ou la jeter, enlever la porte du compartiment de séchage.
■ Ne pas mettre la main dans la sécheuse si le tambour est en mouvement.
■ Ne pas installer ni entreposer la sécheuse où elle sera exposée aux intempéries.
■ Ne pas jouer avec les commandes.
■ Ne pas réparer ni remplacer une pièce de la sécheuse ou essayer d'en faire l'entretien à moins d'une recommandation spécifique dans le guide d'utilisation et d'entretien, ou publiée dans les instructions de réparation par l'utilisateur que vous comprenez et pouvez exécuter avec compétence.
■ Ne pas utiliser un produit assouplissant de tissu ou des produits pour éliminer la statique à moins qu'ils ne soient recommandés par le fabricant du produit assouplissant de tissu ou du produit.
■ Ne pas utiliser la chaleur pour faire sécher des articles fabriqués avec du caoutchouc mousse ou des matériaux semblables.
■ Nettoyer le filtre à charpie avant et après chaque charge.
■ Ne pas laisser la charpie, la poussière, ou la saleté s'accumuler autour du système d'évacuation ou autour de l'appareil.
■ Un nettoyage périodique de l'intérieur de la sécheuse et du conduit d'évacuation doit être effectué par une personne qualifiée.
■ Pour les instructions de liaison à la terre, voir "Spécifications électriques" dans les instructions d'installation.
CONSERVEZ CES INSTRUCTIONS
Avertissements de la proposition 65 de l'État de Californie :
AVERTISSEMENT : Ce produit contient au moins un produit chimique connu par l'État de Californie pour être à l'origine de cancers.
AVERTISSEMENT : Ce produit contient au moins un produit chimique connu par l'État de Californie pour être à l'origine de malformations et autres déficiencies de naissance.
Instructions d'installation
Outillage et pièces
Outils nécessaires
Rassembler les outils et pièces nécessaires avant d'entreprendre l'installation. Lire et observer les instructions fournies avec chacun des outils de la liste ci-dessous.

Tournevis à lame plate Cisaille de ferblantier (pour l'installation d'un nouveau conduit)

Niveau Brides de conduit

Clé à molette avec ouverture jusqu'à 1" (25 mm) ou clé à douille hexagonale
Pistolet à calfeutrage et composé de calfeutrage (pour l'installation d'un nouveau conduit d'évacuation)
Pièces fournies
Retirer le sachet de pièces du tambour de la sécheuse. Vérifier que toutes les pièces énumérées sont présentes.

Bouton de commande des programmes
Bouton Start (mise en marche)

Consulter les codes locaux, les "Exigences concernant l'évacuation" et les "Spécifications électriques", vérifier l'alimentation électrique et le circuit d'évacuation existants, avant d'acheter les pièces nécessaires.
■Pour les installations en résidence mobile, le circuit d'évacuation nécessite des matériaux métalliques. Pour connaître le processus de commande, consulter la ection "Assistance ou service" sur la couverture arrière. Nous pouvez aussi contacter le marchand chez qui vous avez cheté la sécheuse.
Exigences d'emplacement
AVERTISSEMENT

Risque d'explosion
Garder les matières et les vapeurs inflammables, telle que l'essence, loin de la sécheuse.
Placer la sécheuse au moins 460 mm (18 po) au-dessus du plancher pour une installation dans un garage.
Le non-respect de ces instructions peut causer un décès, une explosion ou un incendie.
Il vous faudra
■Un emplacement permettant une évacuation appropriée. Voir "Exigences concernant l'évacuation".
■Un circuit de 120 volts, 60 Hz, CA seulement, 15 ou 20 ampères.
■Une prise électrique avec liaison à la terre située à moins de 2 pi (610 mm) de l'un des côtés de la sécheuse. Voir "Spécifications électriques".
■Un plancher robuste pour supporter la sécheuse avec un poids total (sécheuse et charge) de 115 lb (52 kg). Il faut aussi prendre en compte le poids combiné d'un appareil ménager voisin.
■Un plancher de niveau ayant une pente maximale de 1" (25 mm) sous l'ensemble de la sécheuse.
Ne pas faire fonctionner la sécheuse à des températures inférieures à 45°F (7°C). À des températures inférieures, la sécheuse risque de ne pas s'arrêter à la fin d'un programme automatique. Les durées de séchage risquent alors d'augmenter.
La ne doit pas être installée ou remisée dans un endroit où elle sera exposée à l'eau et/ou aux intempéries.
Vérifier les spécifications des codes. Certains codes limitent ou interdisent l'installation des sécheuses dans un garage, un placard, une résidence mobile ou une chambre à coucher. Contacter l'inspecteur en bâtiments local.
Distances de dégagement à respecter
L'emplacement doit être assez grand pour permettre d'ouvrir complètement la porte de la sécheuse.
Dimensions de la sécheuse

text_image
Vue de face *20³/₄" (527 mm) 31" (787 mm) 23/₈" (606 mm) 13/₄" (44 mm)Vue latérale

text_image
36" (914 mm) 20¾" (527 mm) 1¾" (44 mm)Vue arrière

text_image
3½" (89 mm) 29½" (743 mm) 3½" (83 mm) 1¾" (44 mm) 11½" (303 mm)Dégagement minimal pour une installation dans un encastrement ou un placard
Les dimensions suivantes indiquent l'espacement minimum autorisé lorsque la sécheuse doit être utilisée avec ou sans nécessaire de superposition. Pour acheter un nécessaire de superposition, voir "Assistance ou service".
■ Prévoir davantage d'espace pour faciliter l'installation et l'entretien.
■Un espace supplémentaire peut être requis pour les moulures de porte et de plancher et pour les plinthes.
■Pour installation dans un placard avec porte, on doit prévoir des ouvertures minimums d'entrée d'air en haut et en bas de la porte. Les portes à claire-voie offrant des ouvertures équivalentes de passage de l'air sont acceptables.
■Il faut aussi prendre en compte l'espace requis entre les appareils voisins.
Installation dans un encastrement ou un placard - sécheuse seulement

text_image
14" (356 mm) 18"* (457 mm) 5½" (140 mm) 1" (25 mm) 1" (25 mm) A BA. Vue latérale – placard ou endroit exigu B. Zone d'insertion
*La plupart des installations requièrent un espace minimum de 5½" (140 mm) derrière la sécheuse pour le conduit d'évacuation avec coudes. Voir "Exigences concernant l'évacuation".
Installation dans un encastrement ou un placard - superposition

text_image
12" (305 mm) 12" (305 mm) DRYER WASHER 1" (25 mm) 1" (25 mm) 5½" (76 mm) 48 in.²* (309.7 cm²) 24 in.²* (154.8 cm²) 3" (76 mm) 3" (76 mm) A B CA. Encastrement B. Vue latérale – placard ou endroit exigu C. Porte du placard avec grilles d'aération
Résidence mobile - Spécifications additionnelles concernant l'emplacement
Cette sécheuse peut être installée dans une maison mobile. L'installation doit satisfaire les critères de la Manufactured Home Construction and Safety Standard, Titre 24 CFR, partie 3280 (anciennement Federal Standard for Mobile Home Construction and Safety, Titre 245 HUD, partie 280) ou de la Norme CAN/CSA-Z240MH.
Autres critères à respecter pour une installation en résidence mobile :
■Un système d'évacuation en métal qui peut être acheté chez votre marchand.
Il faut prendre des dispositions spéciales dans les maisons mobiles pour l'apport d'air de l'extérieur dans la sécheuse. L'ouverture (telle qu'une fenêtre à proximité) devrait être au moins deux fois plus grande que l'ouverture de décharge de la sécheuse.
Spécifications électriques
AVERTISSEMENT

Risque de choc électrique
Brancher sur une prise à 3 alvéoles reliée à la terre.
Ne pas enlever la broche de liaison à la terre.
Ne pas utiliser un adaptateur.
Ne pas utiliser un câble de rallonge.
Le non-respect de ces instructions peut causer un décès, un incendie ou un choc électrique.
■Une source d'alimentation de 120 V, 60 Hz, CA uniquement, de 15 ou 20 ampères et protégée par fusible est nécessaire.
■On recommande d'utiliser un fusible ou un disjoncteur temporisé. Vérifier que le fusible ou le disjoncteur correspond aux caractéristiques de la ligne électrique.
■Il est également recommandé de raccorder l'appareil sur un circuit distinct exclusif à cet appareil.
■Ne pas utiliser de rallonge.
INSTRUCTIONS DE LIAISON À LA TERRE
■ Pour une sécheuse reliée à la terre et connectée par un cordon :
Cette sécheuse doit être reliée à la terre. En cas de mauvais fonctionnement ou de panne, la liaison à la terre réduira le risque de choc électrique en offrant au courant électrique un acheminement d'évacuation de moindre résistance. Cette sécheuse est alimentée par un cordon électrique comportant un conducteur relié à la terre et une fiche de branchement munie d'une broche de liaison à la terre. La fiche doit être branchée sur une prise appropriée qui est bien installée et reliée à la terre conformément à tous les codes et règlements locaux.
AVERTISSEMENT : Le raccordement incorrect de cet appareil au conducteur de liaison à la terre peut susciter un risque de choc électrique. En cas de doute quant à la qualité de liaison à la terre de la sécheuse, consulter un électricien ou un technicien ou un personnel qualifié. Ne pas modifier la fiche de branchement fournie avec la sécheuse; si la fiche ne correspond pas à la configuration de la prise de courant, demander à un électricien qualifié d'installer une prise de courant appropriée.
CONSERVEZ CES INSTRUCTIONS
Évacuation
Exigences concernant l'évacuation
AVERTISSEMENT

Risque d'incendie
Utiliser un conduit d'évacuation en métal lourd.
Ne pas utiliser un conduit d'évacuation en plastique.
Ne pas utiliser un conduit d'évacuation en feuille de métal.
Le non-respect de ces instructions peut causer un décès ou un incendie.
AVERTISSEMENT : Pour réduire le risque d'incendie, cette sécheuse doit ÉVACUER L'AIR À L'EXTÉRIEUR.
IMPORTANT : Observer les dispositions de tous les codes et règlements en vigueur.
Le conduit d'évacuation de la sécheuse ne doit pas être raccordé à une évacuation de gaz, une cheminée, un mur, un plafond, un grenier, un vide sanitaire ou un vide de construction. Seul un conduit d'évacuation métallique rigide ou souple doit être utilisé pour le système d'évacuation.

Conduit d'évacuation en métal lourd de 4" (10,2 cm)
■Utiliser uniquement un conduit d'évacuation en métal lourd de 4" (10,2 cm) et des brides de serrage.
■ Ne pas utiliser de conduit de plastique ou de métal très mince.
Conduit métallique rigide :
■Recommandé pour une performance de séchage idéale afin d'éviter tout écrasement ou déformation.
Conduit métallique flexible : (Acceptable uniquement si son accès reste facile pour le nettoyage)
■Doit être entièrement déployé et soutenu à l'emplacement d'installation final de la sécheuse.
■Enlever tout excès de conduit flexible pour éviter tout affaissement et déformation susceptible de réduire la capacité d'évacuation et le rendement.
■ Ne pas installer le conduit métallique flexible dans des cavités fermées de mur, plafonds ou planchers.
■La longueur totale ne doit pas dépasser 7 ^3/4 (2,4 m).
REMARQUE : Lors de l'utilisation d'un système d'évacuation existant, nettoyer et éliminer la charpie sur toute la longueur du système, et veiller à ce que le clapet d'évacuation ne soit pas obstrué par de la charpie. Remplacer tout conduit de plastique ou en aluminium par un conduit métallique rigide ou souple. Consulter à nouveau le tableau des systèmes d'évacuations et modifier le système d'évacuation existant au besoin pour obtenir un meilleur séchage.
Évents pour conduit d'évacuation :
■ Doit se trouver à au moins 12" (30,5 cm) du plancher ou de tout objet susceptible d'obstruer l'ouverture d'évacuation (tels des fleurs, des pierres, des buissons ou de la neige).
Styles recommandés :

Type persienne Type boîte
Style acceptable :

Les coudes à 45° permettent une meilleure circulation de l'air que les coudes à 90°.

text_image
Bon MeilleurBrides de serrage
■Utiliser des brides pour sceller tous les joints.
■Le conduit d'évacuation ne doit pas être connecté ou fixé avec des vis ou avec tout autre dispositif de serrage qui se prolonge à l'intérieur du conduit, car ils peuvent retenir la charpie. Ne pas utiliser de ruban adhésif pour conduit.

Une mauvaise évacuation de l'air peut causer de l'humidité et une accumulation de charpie à l'intérieur de la maison, ce qui peut provoquer :
■ Dommages par l'humidité aux boiseries, meubles, peinture, papier-peint, tapis, etc.
■ Problèmes de nettoyage dans la maison et problèmes de santé.
Planification des circuits de conduits
Choisir un type de système d'évacuation
Installations d'évacuation recommandées :
Les installations typiques consistent à acheminer le conduit d'évacuation à l'arrière de la sécheuse. D'autres installations sont possibles.

text_image
A B CA. Clapet d'évacuation
B. Conduit métallique flexible ou rigide
C. Coude
Autres installations avec dégagement réduit :
Il existe de nombreux systèmes d'évacuation. Choisir le système qui convient le mieux à votre installation. Deux installations à dégagement réduit sont illustrées. Voir les instructions du fabricant.

A. Installation au-dessus de la sécheuse
(également disponible avec un coude décalé)
B. Installation de périscope
REMARQUE : On peut acheter les trousses suivantes pour les installations où le dégagement est réduit. Pour des renseignements sur la commande, voir la section "Assistance ou service".
■Installation au-dessus de la sécheuse :
Pièce numéro 4396028
■Installation avec périscope (pour utilisation en cas de non-concordance de la bouche de décharge de la sécheuse avec la bouche d'évacuation murale) ;
Pièce numéro 4396037 - Non-concordance de 0" (0 mm) à 18" (457 mm)
Pièce numéro 4396011 – Non-concordance de 18" (457 mm) à 29" (737 mm)
Pièce numéro 4396014 – Non-concordance de 29" (737 mm) à 50" (1,27 m)
Dispositions spéciales pour les installations dans une maison mobile
Le système d'évacuation doit être solidement fixé à une section non combustible de la structure de la maison mobile et ne doit pas se terminer en dessous de la maison mobile. Acheminer le conduit d'évacuation vers l'extérieur.

Déterminer l'itinéraire d'acheminement du conduit
- Choisir l'itinéraire d'acheminement vers l'extérieur qui sera le plus direct et le plus rectiligne.
■Planifier l'installation pour introduire le nombre minimal de coudes et de changements de direction.
■Si des coudes ou changements de direction sont utilisés, prévoir autant d'espace que possible.
■Plier le conduit graduellement pour éviter de le déformer.
■Utiliser le moins possible de changements de direction à 90°.
Déterminer la longueur du conduit et les coudes nécessaires pour la meilleure performance de séchage
■Utiliser le tableau des systèmes d'évacuation ci-dessous pour déterminer le type de composants et les combinaisons acceptables.
REMARQUE : Ne pas utiliser un conduit de longueur supérieure à la valeur spécifiée dans le tableau des systèmes d'évacuation. Si la longueur du circuit est supérieure à la valeur spécifiée dans le tableau, on observera :
■Une réduction de la longévité de la sécheuse.
■Une réduction du rendement, avec temps de séchage plus longs et une plus grande consommation d'énergie.
Le tableau des systèmes d'évacuation fournit les exigences d'évacuation qui vous aideront à atteindre la meilleure performance de séchage.
Tableau des systèmes d'évacuation
| Nombre de changements de direction à 90° ou coudes | Type de conduit d’évacuation | Hottes d’évacuation de type boîte ou à persiennes | Hottes d’évacuation inclinées |
| 0 | Métallique rigide | 36 pi (11 m) 26 | pi (7,9 m) |
| 1 | Métallique rigide | 26 pi (7,9 m) 16 | pi (4,9 m) |
| 2 | Métallique rigide | 16 pi (4,9 m) 6 | pi (1,8 m) |
Installation du conduit d'évacuation
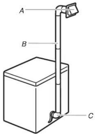
- Avant d'installer le conduit d'évacuation, s'assurer de retirer le protecteur en fil métallique qui est situé à la sortie d'évacuation.

- Installer le clapet d'évacuation.

text_image
12" min. (305 mm) 12" min. (305 mm)Installer le clapet d'évacuation et utiliser un composé de calfeutrage pour calfeutrer le côté extérieur de l'ouverture murale autour du clapet d'évacuation.
- Raccorder le conduit d'évacuation au clapet.

Le conduit doit être inséré à l'intérieur du manchon du clapet. Fixer ensemble le conduit et le clapet avec une bride de 4" (10,2 cm). Acheminer le conduit d'évacuation jusqu'à l'emplacement de la sécheuse. Utiliser l'itinéraire le plus rectiligne possible. Voir "Déterminer l'itinéraire d'acheminement du conduit" dans "Planification du système d'évacuation". Éviter les changements de direction de 90°. Utiliser des brides pour sceller tous les joints. Ne pas utiliser de ruban adhésif pour conduit, de vis ou autres dispositifs de fixation qui se prolongeraient à l'intérieur du conduit pour fixer le conduit d'évacuation ; ceux-ci pourraient retenir la charpie.
Installation des supports du cordon et des roulettes
Ne pas déplacer la sécheuse vers son emplacement final jusqu'à que les étapes suivantes ont été effectuées.
AVERTISSEMENT
Risque du poids excessif
Utiliser deux ou plus de personnes pour déplacer et installer la sécheuse.
Le non-respect de cette instruction peut causer une blessure au dos ou d'autre blessure.
Installation des supports du cordon
-
Retirer le ruban du cordon d'alimentation et du panneau arrière.
-
Insérer les supports du cordon dans les fentes du panneau arrière et les fixer à l'aide des vis fournies.

A. Support du cordon
B.
Fente
C.
Vis
REMARQUE : Le cordon d'alimentation peut être enroulé autour des supports pour rangement lorsque la sécheuse n'est pas utilisée.
Installation des roulettes
-
Pour éviter d'endommager le plancher, utiliser un grand morceau de carton plat à partir de l'emballage de la sécheuse. Placer le carton sous tout le bord arrière de la sécheuse.
-
Saisir fermement le corps de la sécheuse, puis reposer la sécheuse sur le carton avec précaution.

-
Visser les roulettes dans la base de la sécheuse aux quatre coins et les serrer solidement.
-
Relever la sécheuse. S'assurer que la sécheuse ne se roule pas loin de soi après l'avoir relevée.
Raccordement du conduit d'évacuation
- Raccorder le conduit d'évacuation au clapet d'évacuation.

À l'aide d'une bride de fixation de 4" (102 mm), relier le conduit d'évacuation à la bouche d'évacuation de la sécheuse. Si on utilise le conduit d'évacuation existant, s'assurer qu'il est propre. Le conduit d'évacuation doit être fixé par-dessus la bouche d'évacuation de la sécheuse et à l'intérieur du clapet d'évacuation. S'assurer que le conduit d'évacuation est fixé au clapet d'évacuation à l'aide d'une bride de fixation de 4" (102 mm).
- Déplacer la sécheuse à son emplacement final. Éviter d'écraser ou de déformer le conduit d'évacuation.

- Une fois que le raccordement du conduit d'évacuation est réalisé, retirer le carton.
Achever l'installation
-
Vérifier que toutes les pièces sont maintenant installées. S'il reste une pièce, passer en revue les différentes étapes pour découvrir laquelle aurait été oubliée.
-
Vérifier la présence de tous les outils.
-
Éliminer/recycler tous les matériaux d'emballage.
-
Vérifier l'emplacement définitif de la sécheuse. S'assurer que le conduit d'évacuation n'est pas écrasé ou déformé.
-
Vérifier que la sécheuse est sur une surface plane.
-
Brancher l'appareil sur une prise 3 alvéoles reliée à la terre.
-
Ôter la pellicule protectrice de la console et tout ruban adhésif resté sur la sécheuse. Retirer le ruban du filtre à charpie (situé sur l'intérieur de la paroi arrière de la sécheuse).
-
Lire "Utilisation de la sécheuse".
-
Essuyer soigneusement l'intérieur du tambour de la sécheuse avec un chiffon humide pour éliminer toute trace de poussière.
-
Pour tester le fonctionnement de la sécheuse, la régler sur un programme de séchage complet (pas un programme de séchage à l'air) de 20 minutes et mettre la sécheuse en marche.
Si la sécheuse ne démarre pas, vérifier ce qui suit :
■Les commandes sont réglées à la position de marche ou "On".
■Le bouton Start (mise en marche) a été appuyé fermement.
■La sécheuse est branchée sur une prise à trois alvéoles reliée à la terre.
■Les fusibles du domicile sont intacts et serrés ; le disjoncteur n'est pas déclenché.
■La porte de la sécheuse est fermée.
- Après 5 minutes de fonctionnement, ouvrir la porte de la sécheuse et voir s'il y a de la chaleur. Si de la chaleur est détectée, annuler le programme et fermer la porte.
Si la sécheuse n'est pas chaude à l'intérieur, vérifier ce qui suit :
■Les commandes sont réglées au programme de séchage avec chaleur, pas au programme de séchage à l'air.
REMARQUE : Il est possible que la sécheuse dégage une certaine odeur lorsqu'elle chauffe pour la première fois. Cette odeur est normale lorsque l'élément chauffant est utilisé pour la première fois. L'odeur disparaîtra.
Utilisation de la sécheuse

START
Amana

text_image
AIR DRY OFF VERY DRY ENERGY PREFERRED AUTO DRY LESS DRY TIME DRY OFF 10 15 30 45 60 75 90 105Mise en marche de la sécheuse
AVERTISSEMENT

Risque d'explosion
Garder les matières et les vapeurs inflammables, telle que l'essence, loin de la sécheuse.
Ne pas faire sécher un article qui a déjà été touché par un produit inflammable (même après un lavage).
Le non-respect de ces instructions peut causer un décès, une explosion ou un incendie.
AVERTISSEMENT : Pour réduire le risque d'incendie, de choc électrique ou de blessures corporelles, lire les INSTRUCTIONS IMPORTANTES DE SÉCURITÉ avant de faire fonctionner cet appareil.
Avant d'utiliser la sécheuse, essuyer le tambour de la sécheuse avec un linge humide pour enlever la poussière accumulée au cours de l'entreposage et de l'expédition.
- Nettoyer le filtre à charpie avant chaque charge. Voir "Nettoyage du filtre à charpie".
- Charger les vêtements sans les tasser dans la sécheuse et fermer la porte. Ne pas surcharger la sécheuse. Prévoir suffisamment d'espace pour que les vêtements puissent culbuter librement.

Aucune laveuse ne peut complètement enlever l'huile.
Ne pas faire sécher des articles qui ont été salis par tout genre d'huile (y compris les huiles de cuisson).
Les articles contenant mousse, caoutchouc ou plastique doivent être séchés sur une corde à linge ou par le programme de séchage à l'air.
Le non-respect de ces instructions peut causer un décès ou un incendie.
- Tourner le bouton de commande de programme au programme recommandé pour le type de charge à sécher. Utiliser le réglage automatique Perm Press Energy Preferred (Énergie préférée pour pressage permanent) pour sécher la plupart des charges lourdes et de poids moyen. Voir "Conseils pour le séchage, les programmes et la température".

radar
| Category | Value | | -------------- | ----- | | AIR DRY | 10 | | OFF | 15 | | TIME DRY | 105 | | VERY DRY | 10 | | ENERGY PREFERRED | 75 | | AUTO DRY | 90 | | LESS DRY | 105 |- Appuyer sur START (mise en marche).
Arrêt et remise en marche
On peut arrêter la sécheuse à tout moment au cours d'un programme.
Pour arrêter la sécheuse :
Ouvrir la porte de la sécheuse ou tourner le bouton de commande de programme à OFF (arrêt).
REMARQUE : Le bouton de commande de programme doit pointer à Off (arrêt) lorsque la sécheuse n'est pas utilisée.
Pour remettre la sécheuse en marche :
- Fermer la porte.
- Sélectionner un nouveau programme et une nouvelle température (si désiré).
- Appuyer sur le bouton START (mise en marche).
Chargement
Charger les vêtements dans la sécheuse sans les tasser. Ne pas trop charger la sécheuse. Prévoir suffisamment d'espace pour que les vêtements puissent culbuter librement. Le tableau suivant montre la charge maximale que l'on peut placée dans la sécheuse compacte. Prévoir des durées de séchage plus longues.
| Vêtements de travail épais | 2 pantalons, 3 chemises de travail |
| Delicates (articles délicats) | 1 chemise de nuit, 2 combinaisons, 4 sous-vêtements, 1 pyjama, 1 jupon |
| Serviettes | 9 serviettes de bain ; ou 6 serviettes de bain, 3 serviettes à main, 6 débarbouillettes |
| Charge mixte | 2 taies d'oreiller, 1 t-shirt, 2 chemises, 1 pantalon léger |
| Tricots | 2 pantalons légers, 2 chemises ; ou 3 robes |
| Perm Press (pressage permanent) | 6 chemises ; ou 2 grands draps et 2 taies d'oreiller ; ou 2 draps une personne et 2 taies d'oreiller |
Conseils pour séchage, programmes et température
Choisir le programme et la température corrects pour la charge. La sécheuse fait culbuter la charge sans chaleur au cours des quelques dernières minutes de tous les programmes, ce qui permet de saisir les charges plus facilement.
Conseils de séchage
■Suivre les directives figurant sur l'étiquette lorsqu'elles sont disponibles.
■Si désiré, ajouter une feuille d'assouplissant de tissu. Suivre les instructions figurant sur l'emballage.
■Enlever la charge de la sécheuse aussitôt que le culbutage cesse pour réduire le froissement. Cette action est particulièrement importante pour les tissus à pressage permanent, les tricots et les tissus synthétiques.
Conseils pour les programmes et la température
■Sécher la plupart des charges en utilisant le réglage Energy Preferred (économie).
■Utiliser un réglage sans chaleur (à l'air) pour le caoutchouc, le plastique ou les tissus sensibles à la chaleur.
■Sécher sur une corde à linge les tissus doublés ou multi-couches.
REMARQUE : Pour toute question concernant les températures de séchage pour diverses charges, consulter les instructions sur l'étiquette de soin.
Programmes
Auto Dry (degré de séchage automatique)
Ce programme automatique éteint la sécheuse lorsque la fonction de détection automatique de l'humidité détermine que le niveau de séchage sélectionné est atteint. Le bouton de commande de programme ne se déplace pas tant que la charge n'est pas presque sèche. Après la période de refroidissement, le bouton tourne automatiquement à Off (arrêt) et le culbutage cesse.
Sécher la plupart des charges en utilisant le réglage Energy Preferred (économiegique). La durée de séchage avec un programme automatique de séchage varie selon le type de tissu, le volume de la charge et le réglage de la température.
■Si la charge est plus sèche que l'on souhaite, sélectionner un réglage plus proche de Less Dry (moins sec) pour le prochain séchage d'une charge semblable.
■Si la charge n'est pas aussi sèche que désiré, achever le séchage en utilisant le programme de séchage minuté. La prochaine fois que vous séchez une charge semblable, choisir un réglage plus proche de Very Dry (très sec).
Comment fonctionne la caractéristique Auto Moisture Sensing (détection automatique de l'humidité)
Avec le programme Auto Moisture Sensing (détection automatique de l'humidité), le degré de séchage de la charge est déterminé par deux bandes métalliques (capteurs) situées à l'intérieur de la sécheuse. Les bandes métalliques aident à "détecter" la quantité d'humidité restant dans les vêtements au moment de leur passage. S'il reste de l'humidité dans les vêtements, le bouton de commande de programme n'avance pas. Au fur et à mesure du séchage, la quantité d'eau restant dans les vêtements diminue et la minuterie avance pour la suite du programme. Lorsque le degré de séchage sélectionné est atteint, la sécheuse entre dans une période de refroidissement pouvant durer jusqu'à 5 minutes.
Séchage à l'air
Utiliser ce programme pour les articles qui doivent être séchés sans chaleur, tels que le caoutchouc, le plastique et les tissus sensibles à la chaleur. Voir le tableau pour des exemples d'articles qui peuvent être séchés au programme de séchage sans chaleur.
| Type de charge Durée* | |
| Caoutchouc mousse – oreillers, soutiens-gorges rembourrés, jouets rembourrés | 20 - 30 |
| Plastique – rideaux de douche, nappes | 20 - 30 |
| Tapis à endos de caoutchouc 40 - 50 | |
| Plastique oléfinique, polypropylène, nylon diaphane | 10 - 20 |
*(Minutes). Régler de nouveau le programme pour compléter le séchage, si nécessaire.
Lors de l'utilisation du programme de séchage à l'air
■Vérifier que les revêtements sont bien cousus.
■ Secouer et faire bouffer les oreillers à la main périodiquement pendant le programme.
■Sécher l'article complètement. Les oreillers en caoutchouc mousse mettent du temps à sécher.
Programme de séchage minuté
Utiliser ce programme pour compléter le séchage si des articles sont encore humides après le programme automatique.
Le séchage minuté est aussi utile pour :
■ Articles épais et vêtements de travail qui nécessitent un temps de séchage prolongé.
■ Articles légers, tels que la lingerie, les chemisiers et les tricots qui nécessitent une durée de séchage courte.
Pour le séchage humide ; tourner le bouton de commande de programme à 30 minutes ou moins.
Signal de fin de programme
La sécheuse émet un signal sonore qui indique la fin du programme. Le signal sonore n'est pas réglable et ne peut être désactivé. Le signal est utile pour faire sécher des tissus à pressage permanent, synthétiques et autres articles qui doivent être enlevés de la sécheuse aussitôt qu'elle s'arrête.
Entretien de la Sécheuse
Nettoyage de l'emplacement de la sécheuse
Dégager l'emplacement de la sécheuse de façon à ce qu'il soit libre de tout élément susceptible d'obstruer le débit d'air de combustion et de ventilation.
AVERTISSEMENT

Risque d'explosion
Garder les matières et les vapeurs inflammables, telle que l'essence, loin de la sécheuse.
Placer la sécheuse au moins 460 mm (18 po) au-dessus du plancher pour une installation dans un garage.
Le non-respect de ces instructions peut causer un décès, une explosion ou un incendie.
Nettoyage du filtre à charpie
Nettoyage avant chaque charge
Le filtre à charpie se trouve à l'intérieur du tambour de la sécheuse, sur la paroi arrière. Le nettoyer avant chaque charge. Un filtre obstrué de charpie peut augmenter la durée de séchage.
Nettoyage :
- Ouvrir la porte et retirer le filtre à charpie tout droit pour le sortir.

- Pincer le corps du filtre à charpie légèrement tout en retirant le couvercle.
- Retirer la charpie du filtre en la roulant avec les doigts. Ne pas rincer ni laver le filtre pour enlever la charpie. La charpie mouillée s'enlève difficilement.
- Replacer le couvercle sur le corps du filtre à charpie. Remettre le filtre à charpie fermement en place et fermer la porte.
IMPORTANT :
■Ne pas faire fonctionner la sécheuse avec un filtre à charpie déplacé, endommagé, bloqué ou manquant. Une telle action peut causer une surchauffe ou des dommages à la sécheuse et aux tissus.
Nettoyage au besoin
Des résidus de détergent ou d'assouplisseur de tissu peuvent s'accumuler sur le filtre à charpie. Cette accumulation peut entraîner des temps de séchage plus longs, ou entraîner l'arrêt de la sécheuse avant que la charge ne soit complètement sèche. Si de la charpie tombe du filtre, le filtre est probablement obstrué. Nettoyer le filtre à charpie avec une brosse en nylon tous les 6 mois ou plus fréquemment s'il devient obstrué par suite d'une accumulation de résidus.
Nettoyage :
- Retirer la charpie du filtre en la roulant avec les doigts.
- Mouiller le couvercle et le corps du filtre à charpie avec de l'eau chaude.
- Mouiller une brosse en nylon avec de l'eau chaude et du détergent liquide. Frotter le couvercle et le corps du filtre à charpie avec la brosse pour enlever l'accumulation de résidus.

- Rincer à l'eau chaude.
- Bien sécher le corps et le couvercle du filtre à charpie avec une serviette propre. Le replacer dans la sécheuse.
Nettoyage de l'intérieur de la sécheuse
Nettoyage du tambour de la sécheuse :
- Préparer une pâte avec un détergent à lessive en poudre et de l'eau très chaude.
- Appliquer la pâte sur un linge doux. OU
Appliquer un nettoyant liquide domestique ininflammable sur la surface tachée et frotter avec un linge doux jusqu'à ce que toute la teinture qui reste soit enlevée.
3. Essuyer complètement le tambour avec un linge humide.
4. Faire culbuter une charge de linge ou de serviettes propres pour sécher le tambour.
REMARQUE : Les vêtements contenant des teintures instables, tels que jeans en denim ou articles en coton de couleur vive, peuvent décolorer l'intérieur de la sécheuse. Ces taches ne sont pas nocives pour votre sécheuse et ne tacheront pas les vêtements des charges futures. Faire sécher les articles à teinture instable sur l'envers pour éviter le transfert de la teinture.
Retrait de la charpie accumulée
De l'intérieur de la caisse de la sécheuse
Retirer la charpie tous les 2 ans, ou plus souvent, selon l'utilisation de la sécheuse. Le nettoyage doit être effectué par une personne qualifiée.
À partir du conduit d'évacuation
Retirer la charpie tous les 2 ans, ou plus souvent, selon l'utilisation de la sécheuse.
Précautions à prendre pour les vacances ou le déménagement
Entretien avant les vacances
On ne doit faire fonctionner la sécheuse que lorsqu'on est présent. Si l'utilisateur doit partir en vacances ou n'utilise pas la sécheuse pendant une période prolongée, il convient d'exécuter les opérations suivantes :
-
Débrancher la sécheuse ou déconnecter la source de courant électrique.
-
Nettoyer le filtre à charpie. Voir "Nettoyage du filtre à charpie".
Précautions à prendre avant un déménagement
- Débrancher le cordon d'alimentation électrique.
- Utiliser du ruban adhésif pour fixer la porte de la sécheuse.
Dépannage
| Essayer d'abord les solutions suggérées ici ou visiter notre site Web à www.amana.custhelp.com – Au Canada, visiter www.amanacanada.ca pour assistance et pour éviter une visite de service. | ||
| Si vous rencontrez les problèmes suivants | Causes possibles Solution | |
| Fonctionnement de la sécheuse | ||
| La sécheuse ne fonctionne pas | La porte n'est pas bien fermée. S'assurer que la porte de la sécheuse est complètement fermée. | |
| Appuyer sur le bouton START (mise en marche) pendant 2 à 5 secondes. | Appuyer sur le bouton START (mise en marche) pendant 2 à 5 secondes. | |
| Un fusible du domicile est grillé ou le disjoncteur est ouvert. | Il y a un fusible ou un disjoncteur pour la sécheuse. S'assurer que le fusible est intact et serré ; ou que le disjoncteur n'est pas déclenché. Remplacer le fusible ou réenclencher le disjoncteur. Si le problème persiste, appeler un électricien. | |
| Alimentation électrique incorrecte. Les sécheuses électriques nécessitent une alimentation électrique de 120 V. Vérifier avec un électricien qualifié. | ||
| Type de fusible incorrect. Utiliser un fusible temporisé. | ||
| Alimentation électrique incorrecte. Les sécheuses électriques nécessitent une alimentation électrique de 120 V. Vérifier avec un électricien qualifié. | ||
| La minuterie ne progresse pas visiblement | La sécheuse est réglée sur Timed Dry (séchage minuté) ou Air Dry (séchage à l'air). | La minuterie progresse lentement et de façon continue au cours de la durée réglée. |
| La sécheuse est réglée sur le programme Auto Dry. | La minuterie ne progresse que lorsque le linge est pratiquement sec. Voir “Comment fonctionne la caractéristique Auto Moisture Sensing (détection automatique de l'humidité)” dans “Utilisation de la sécheuse”. | |
| Sons inhabituels | ||
| Bruit saccadé La sécheuse | se n'a pas été utilisée pendant un moment. | Ceci est normal. La bruit saccadé devrait s'atténuer après quelques minutes d'utilisation. |
| Bruit de grattement ou de vibration | Un petit objet est coincé dans le bord du tambour de la sécheuse. | Vérifier qu'il n'y a pas de petits objets coincés au niveau des rebords avant et arrière du tambour. Vider les poches avant le lavage. |
| L'aplomb de la sécheuse n'a pas été correctement établi. | La sécheuse peut vibrer si elle n'est pas correctement installée. Contrôler l'aplomb de la sécheuse. Les quatre roulettes doivent être bien en contact avec le plancher. | |
| Les vêtements sont en boule dans la sécheuse. | Une charge en boule rebondit, ce qui fait vibrer la sécheuse. Séparer les articles dans la charge et remettre la sécheuse en marche. | |
Dépannage
AVERTISSEMENT

Risque d'incendie
Utiliser un conduit d'évacuation en métal lourd.
Ne pas utiliser un conduit d'évacuation en plastique.
Ne pas utiliser un conduit d'évacuation en feuille de métal.
Le non-respect de ces instructions peut causer un décès ou un incendie.
AVERTISSEMENT

Risque d'explosion
Garder les matières et les vapeurs inflammables, telle que l'essence, loin de la sécheuse.
Placer la sécheuse au moins 460 mm (18 po) au-dessus du plancher pour une installation dans un garage.
Le non-respect de ces instructions peut causer un décès, une explosion ou un incendie.
| Résultats de la sécheuse | ||
| REMARQUE : La sécheuse compacte fonctionne à faible puissance. Prévoir des durées de séchage plus longues. | ||
| Les vêtements ne sèchent pas de manière satisfaisante ou le temps de séchage est trop long | Le filtre à charpie est obstrué par de la charpie. | Nettoyer le filtre à charpie avant chaque charge. |
| Le conduit d’évacuation ou le clapet d’évacuation à l’extérieur est obstrué par de la charpie, ce qui restreint le mouvement de l’air. | Faire fonctionner la sécheuse pendant 5 à 10 minutes. Tenir la main sous le clapet d’évacuation à l’extérieur pour vérifier le mouvement de l’air. Si aucun mouvement d’air n’est perceptible, ôter la charpie présente dans le système d’évacuation ou remplacer le conduit d’évacuation par un conduit métallique lourd ou flexible. Voir “Évacuation”. | |
| Le conduit d’évacuation ne possède pas la bonne longueur. | Vérifier que le conduit d’évacuation n’est pas trop long ou ne comporte pas trop de changements de direction. Un long conduit augmentera les durées de séchage. Voir “Évacuation”. | |
| Le conduit d’évacuation ne possède pas le bon diamètre. | Utiliser un conduit de 4" (102 mm) de diamètre. | |
| La sécheuse n’est pas d’aplomb. | Les vêtements ne sont pas au contact des détecteurs d’humidité lors du fonctionnement des programmes automatiques. Contrôler l’aplomb de la sécheuse. Les quatre roulettes doivent être bien en contact avec le plancher. | |
| Le réglage de température Air Dry (séchage à l’air) a été sélectionné. | Choisir la bonne température en fonction du type de vêtements à sécher. Voir “Programmes”. | |
| La charge est trop grosse et trop lourde pour sécher rapidement. | Séparer la charge pour qu’elle culbute librement. | |
| Des feuilles d’assouplissant pour tissu obstruent le couvercle du filtre à charpie. | Utiliser seulement une feuille d’assouplissant pour tissu par charge et l’utiliser une seule fois. | |
| Essayer d'abord les solutions suggérées ici ou visiter notre site Web à www.amana.custhelp.com – Au Canada, visiter www.amanacanada.ca pour assistance et pour éviter une visite de service. | ||
| Si vous rencontrez les problèmes suivants | Causes possibles Solution | |
| Résultats de la sécheuse | ||
| Les vêtements ne sèchent pas de manière satisfaisante ou le temps de séchage est trop long (suite) | La sécheuse se trouve dans une pièce où la température ambiante est inférieure à 45°F (7°C). | Le bon fonctionnement des programmes de la sécheuse nécessite une température ambiante supérieure à 45°F (7°C). |
| La sécheuse est placée dans un placard. | Les portes de placard doivent comporter des ouvertures d'aération au sommet et au bas de la porte. Un espace minimum de 1" (25 mm) est nécessaire à l'avant de la sécheuse et, pour la plupart des installations, un espace de 51⁄2" (140 mm) est nécessaire à l'arrière de la sécheuse. Voir “Exigences d'emplacement”. | |
| La charge n'est peut-être pas en contact avec les bandes de détection (pour les programmes de détection). | Contrôler l'aplomb de la sécheuse. Les quatre roulettes doivent être bien en contact avec le plancher. | |
| La durée du programme est trop courte | Le programme de détection se termine prématurément. | Modifier le réglage de degré de séchage pour les programmes de détection. L'augmentation ou la diminution du degré de séchage modifiera la durée de séchage d'un programme. Si les charges se terminent systématiquement trop tôt, voir “Programme”. |
| Charpie sur la charge Le | filtre à charpie est obstrué par de la charpie. | Nettoyer le filtre à charpie avant chaque charge. |
| Présence de taches sur le linge | Utilisation incorrecte de l'assouplissant pour tissu. | Ajouter les feuilles d'assouplissant de tissu au début du programme. Les feuilles d'assouplissant de tissu ajoutées à une charge partiellement sèche peuvent tacher les vêtements. |
| Présence de taches sur le tambour | Teintures instables sur les vêtements. | Les taches sur le tambour sont dues aux teintures contenues dans les vêtements (les jeans en général). Elles ne se transmettront pas aux autres vêtements. |
| Charges froissées La charge | Charge n'a pas été retirée de la sécheuse à la fin du programme. | Se reporter aux instructions figurant sur l'étiquette de soin des vêtements. Les articles avec nettoyage à sec uniquement sont déconseillés. |
| Les vêtements sont tassés dans la sécheuse. | Faire sécher de plus petites charges qui peuvent culbuter librement. | |
| Odeurs | Vous avez récemment employé de la peinture, de la teinture ou du vernis dans la pièce où votre sécheuse est installée. | Aérer la pièce. Une fois les odeurs ou émanations disparues, laver et sécher à nouveau les vêtements. |
| La sécheuse est utilisée pour la première fois. | Le nouvel élément d'émission de chaleur peut émettre une odeur. L'odeur disparaîtra après le premier programme. | |
Accessoires
Pièce numéro Accessoire
49971 nécessaire de superposition pour sécheuse compacte – blanc
Pour des renseignements sur la commande, voir la section “Assistance ou service” sur la page arrière.
GARANTIE LIMITÉE DES GROS APPAREILS MÉNAGERS AMANA®
ATTACHEZ ICI VOTRE REÇU DE VENTE. UNE PREUVE D'ACHAT EST OBLIGATOIRE POUR OBTENIR L'APPLICATION DE LA GARANTIE.
Lorsque vous appelez le centre d'eXpérience de la clientèle, veuillez garder à disposition les renseignements suivants :
■Nom, adresse et numéro de téléphone
■Numéros de modèle et de série
■Une description claire et détaillée du problème rencontré
■ Une preuve d'achat incluant le nom et l'adresse du marchand ou du détaillant
SI VOUS AVEZ BESOIN DE SERVICE :
- Avant de nous contacter pour obtenir un dépannage, veuillez déterminer si des réparations sont nécessaires pour votre produit. Certains problèmes peuvent être résolus sans intervention de dépannage. Prenez quelques minutes pour parcourir la section Dépannage ou Résolution de problèmes du guide d'utilisation et d'entretien, scannez le code QR ci-contre avec votre téléphone intelligent pour accéder à des ressources supplémentaires, ou rendez-vous sur le site http://www.amanacanada.ca.
- Tout service sous garantie doit être effectué exclusivement par nos fournisseurs de dépannage autorisés Amana. Aux É.-U. et au Canada, dirigez toutes vos demandes de service sous garantie au
Centre d'eXpérience de la clientèle Amana
Aux É.-U., composer le 1-800-843-0304. Au Canada, composer le 1-800-807-6777.

http://www.amanacanada.ca
Si vous résidez à l'extérieur du Canada et des 50 États des États-Unis, contactez votre marchand Amana autorisé pour déterminer si une autre garantie s'applique.
GARANTIE LIMITÉE DE UN AN
CE QUI EST COUVERT CE QUI N'EST PAS COUVERT
Pendant un an à compter de la date d'achat, lorsque ce gros appareil ménager est installé, utilisé et entretenu conformément aux instructions jointes à ou fournies avec le produit, la marque Amana de Whirlpool Corporation ou Whirlpool Canada, LP (ci-après désignées "Amana") décidera à sa seule discrétion de remplacer le produit ou de couvrir le coût des pièces spécifiées par l'usine et de la main-d'œuvre nécessaires pour corriger les vices de matériaux ou de fabrication qui existaient déjà lorsque ce gros appareil ménager a été acheté. S'il est remplacé, l'appareil sera couvert pour la période restant à courir de la garantie limitée d'un an du produit d'origine.
LE SEUL ET EXCLUSIF RECOURS DU CLIENT DANS LE CADRE DE LA PRÉSENTE GARANTIE LIMITÉE CONSISTE EN LA RÉPARATION PRÉVUE PAR LA PRÉSENTE. Le service doit être fourni par une compagnie de service désignée par Amana. Cette garantie limitée est valide uniquement aux États-Unis ou au Canada et s'applique exclusivement lorsque le gros appareil ménager est utilisé dans le pays où il a été acheté. La présente garantie limitée est valable à compter de la date d'achat initial par le consommateur. Une preuve de la date d'achat initial est exigée pour obtenir un dépannage dans le cadre de la présente garantie limitée.
- Usage commercial, non résidentiel ou par plusieurs familles, ou non-respect des instructions de l'utilisateur, de l'opérateur ou des instructions d'installation.
- Visite d'instruction à domicile pour montrer à l'utilisateur comment utiliser l'appareil.
- Visites de service pour rectifier une installation ou un entretien fautifs du produit, une installation non conforme aux codes d'électricité ou de plomberie, ou la rectification de l'installation électrique ou de la plomberie du domicile (ex : câblage électrique, fusibles ou tuyaux d'arrivée d'eau du domicile).
- Pièces consomptibles (ex : ampoules, batteries, filtres à air ou à eau, solutions de conservation, etc.).
- Défauts ou dommage résultant de l'utilisation de pièces ou accessoires Amana non authentiques.
- Conversion de votre produit du gaz naturel ou du gaz de pétrole liquéfié.
- Dommages causés par : accident, mésusage, abus, incendie, inondations, catastrophe naturelle ou l'utilisation de produits non approuvés par Amana.
- Réparations aux pièces ou systèmes dans le but de rectifier un dommage ou des défauts résultant d'une réparation, altération ou modification non autorisée faite à l'appareil.
- Défauts d'apparence, notamment les éraflures, traces de choc, fissures ou tout autre dommage subi par le fini de l'appareil ménager, à moins que ces dommages ne résultent de vices de matériaux ou de fabrication et ne soient signalés à Amana dans les 30 jours suivant la date d'achat.
-
Décoloration, rouille ou oxydation des surfaces résultant d'environnements caustiques ou corrosifs incluant des concentrations élevées de sel, un haut degré d'humidité ou une exposition à des produits chimiques (exemples non exhaustifs).
-
Perte d'aliments ou de médicaments due à la défaillance du produit.
-
Enlèvement ou livraison. Ce produit est conçu pour être réparé à l'intérieur du domicile.
-
Frais de déplacement et de transport pour le dépannage/la réparation dans une région éloignée où une compagnie de service Amana autorisée n'est pas disponible.
-
Retrait ou réinstallation d'appareils inaccessibles ou de dispositifs préinstallés (ex : garnitures, panneaux décoratifs, plancher, meubles, îlots de cuisine, plans de travail, panneaux de gypse, etc.) qui entravent le dépannage, le retrait ou le remplacement du produit.
-
Service et pièces pour des appareils dont les numéros de série et de modèle originaux ont été enlevés, modifiés ou ne peuvent pas être facilement identifiés.
Le coût d'une réparation ou d'un remplacement dans le cadre de ces circonstances exclues est à la charge du client.
CLAUSE D'EXONÉRATION DE RESPONSABILITÉ AU TITRE DES GARANTIES IMPLICITES
LES GARANTIES IMPLICITES, Y COMPRIS LES GARANTIES APPLICABLES DE QUALITÉ MARCHANDE OU D'APTITUDE À UN USAGE PARTICULIER, SONT LIMITÉES À UN AN OU À LA PLUS COURTE PÉRIODE AUTORISÉE PAR LA LOI. Certains États et provinces ne permettent pas de limitation sur la durée des garanties implicites de qualité marchande ou d'aptitude à un usage particulier, de sorte que la limitation ci-dessus peut ne pas être applicable dans votre cas. Cette garantie vous confère des droits juridiques spécifiques et vous pouvez également jouir d'autres droits qui peuvent varier d'une juridiction à l'autre.
EXONÉRATION DE RESPONSABILITÉ DANS LES DOMAINES NON COUVERTS PAR LA GARANTIE
Amana décline toute responsabilité au titre de la qualité, de la durabilité ou en cas de dépannage ou de réparation nécessaire sur ce gros appareil ménager autre que les responsabilités énoncées dans la présente garantie. Si vous souhaitez une garantie plus étendue ou plus complète que la garantie limitée fournie avec ce gros appareil ménager, adressez-vous à Amana ou à votre détaillant pour obtenir les modalités d'achat d'une garantie étendue.
LIMITATION DES RECOURS; EXCLUSION DES DOMMAGES FORTUITS OU INDIRECTS
LE SEUL ET EXCLUSIF RECOURS DU CLIENT DANS LE CADRE DE LA PRÉSENTE GARANTIE LIMITÉE CONSISTE EN LA RÉPARATION PRÉVUE PAR LA PRÉSENTE. AMANA N'ASSUME AUCUNE RESPONSABILITÉ POUR LES DOMMAGES FORTUITS OU INDIRECTS. Certains États et certaines provinces ne permettent pas l'exclusion ou la limitation des dommages fortuits ou indirects de sorte que ces limitations et exclusions peuvent ne pas être applicables dans votre cas. Cette garantie vous confère des droits juridiques spécifiques et vous pouvez également jouir d'autres droits qui peuvent varier d'une juridiction à l'autre.
Notes
Avant de faire un appel pour assistance ou service, veuillez vérifier la section "Dépannage" ou consulter www.whirlpool.com/product_help. Cette vérification peut vous faire économiser le coût d'une visite de réparation.
Si vous avez encore besoin d'aide, suivre les instructions ci-dessous.
Lors d'un appel, veuillez connaître la date d'achat et les numéros au complet de modèle et de série de votre appareil.
Ces renseignements nous aideront à mieux répondre à votre demande.
Si vous avez besoin de pièces de rechange ou pour commander des accessoires
Si vous avez besoin de commander des pièces de rechange ou des accessoires, nous vous recommandons d'utiliser seulement des pièces FSP® spécifiées par l'usine. Ces pièces conviendront et fonctionneront bien parce qu'elles sont fabriquées avec la même précision que celle utilisée dans la fabrication de chaque nouvel appareil de marque Amana, Admiral, Estate, Inglis, ou Roper de Whirlpool Corporation ou Whirlpool Canada LP. Pour localiser des pièces de rechange FSP® ou des accessoires ou pour obtenir de l'aide dans votre région :
Pour trouver des pièces de rechange FSP ^® , de l'aide ou des accessoires dans votre région :
Whirlpool Canada LP Centre pour l'eXpérience de la clientèle 800-807-6777 www.whirlpoolappliances.ca
ou contacter votre centre de réparation désigné le plus proche, ou encore consulter les Pages Jaunes.
Nos consultants fournissent
l'assistance pour :
■Procédés d'utilisation et d'entretien.
■Vente d'accessoires et de pièces de rechange.
■Les références aux concessionnaires, compagnies de service de réparation et distributeurs de pièces de rechange locaux. Les techniciens de service désignés par Whirlpool sont formés pour remplir la garantie des produits et fournir un service après la garantie, partout au Canada.
Pour plus d'assistance
Vous pouvez nous soumettre toute question ou problème en écrivant à l'adresse ci-dessous :
Centre pour l'eXpérience de la clientèle
Whirlpool Canada LP
Unit 200-6750 Century Ave
Mississauga, Ontario L5N 0B7
Dans votre correspondance, veuillez indiquer un numéro de téléphone où on peut vous joindre dans la journée.
Notice Facile