Z 8 Edition - Vélo Puky - Notice d'utilisation et mode d'emploi gratuit
Retrouvez gratuitement la notice de l'appareil Z 8 Edition Puky au format PDF.
| Type de vélo | Vélo pour enfants |
| Âge recommandé | À partir de 5 ans |
| Taille des roues | 18 pouces |
| Poids maximum supporté | 25 kg |
| Matériau du cadre | Acier |
| Freins | Frein avant à main et frein arrière à rétropédalage |
| Équipements de sécurité | Réflecteurs avant et arrière, garde-boue |
| Accessoires inclus | Cloche, béquille |
| Entretien | Vérification régulière des freins et des pneus, lubrification de la chaîne |
| Garantie | 2 ans |
FOIRE AUX QUESTIONS - Z 8 Edition Puky
Questions des utilisateurs sur Z 8 Edition Puky
0 question sur cet appareil. Repondez a celles que vous connaissez ou posez la votre.
Poser une nouvelle question sur cet appareil
Téléchargez la notice de votre Vélo au format PDF gratuitement ! Retrouvez votre notice Z 8 Edition - Puky et reprennez votre appareil électronique en main. Sur cette page sont publiés tous les documents nécessaires à l'utilisation de votre appareil Z 8 Edition de la marque Puky.
MODE D'EMPLOI Z 8 Edition Puky
Lire attentivement avant l'utilisation de la bicyclette pour enfants et en tenir compte ultérieurement
Sufficient lubrication

Nous vous félicitons d'avoir acheté ce vélo d'enfant PUKY. Vous avez acheté un produit de qualité qui apportera certainement beaucoup de plaisir. Ce mode d'emploi contient des informations relatives au montage, à la sécurité d'utilisation et à l'entretien de ce nouveau vélo. En cas de question ou de problème, veuillez vous adresser à votre revendeur de vélos ou utiliser notre page de contact en ligne: www.puky.de.
2. Responsabilité des parents
En cas d'utilisation conforme, les risques sont pratiquement exclus lors de l'utilisation du vélo. Sachez néanmoins que le besoin naturel de mouvement et le tempérament des enfants et des adolescents peuvent entraîner des situations et des risques imprévisibles qui ne relèvent pas de la responsabilité du fabricant. Vous devez donc apprendre aux enfants et aux adolescents à se servir correctement du vélo, les surveiller et les informer des dangers éventuels.
3. Consignes d'utilisation
Le vélo d'enfant ne convient pas à un usage sportif (par exemple sauts). Le vélo peut uniquement être utilisé sur des voies et des routes consolidées sans obstacle. Le vélo ne convient pas aux sauts, aux acrobaties et à une utilisation sur des terrains accidentés.
Lorsqu'il est utilisé par des enfants, le vélo ne peut pas être utilisé à proximité d'escaliers, de descentes, de terrains en pente, de piscines et d'autres étendues d'eau. Les escaliers à proximité doivent être sécurisés de manière à ce que les enfants ne puissent en aucun cas les monter ou les descendre avec le vélo.
Veuillez uniquement utiliser le vélo d'enfant dans un espace adapté et en dehors des espaces de circulation publics. Il n'est pas homologué pour la circulation routière et ne peut donc pas être utilisé sur la voie publique. Les exigences nationales en vigueur doivent être respectées.
La charge totale admissible pour ce vélo (vélo + cycliste + bagages) est de 60 kg.
La charge admissible pour le porte-bagages dépend du modèle (voir impression/gravure sur le porte-bagages). Pour les véhicules d'enfant, nous recommandons cependant de ne pas utiliser le porte-bagages pour transporter des charges pour des raisons de sécurité de conduite. Seul le porte-bagages installé de série peut être utilisé.
Il est indispensable de porter des vêtements adaptés et des chaussures fermées. PUKY recommande le port d'un casque de vélo (voir accessoires PUKY).
Le vélo ne convient pas à l'installation d'un siège d'enfant. Soyez attentif aux points d'en-grenage durant l'utilisation et la réparation.
Vélo d'enfant
Monter fermement les stabilisateurs sur la structure arrière de manière à ce qu'ils ad-hèrent complètement seulement lorsqu'ils sont nécessaires à l'apprentissage. L'utilisation des stabilisateurs est uniquement autorisée durant une courte période d'apprentissage, car avec la pratique du vélo, les stabilisateurs peuvent exercer des forces incontrôlables sur le cadre.
Veuillez noter que l'efficacité de freinage du frein avant est réduite en cas d'humidité.
Un freinage soudain et puissant avec le frein sur jante doit être évité, car cela modifie brutalement le comportement du véhicule et peut entraîner une chute.
Dans les longues descentes, le freinage continu avec le frein à rétropédalage doit être évité (surchauffe du moyeu du frein à rétropédalage).
Les capuchons de valves doivent être fermement serrés et doivent être tenus hors de portée des enfants (risque d'étouffement). Les ajouts et modifications ultérieurs sur le vélo (notamment sur les dispositifs de freinage) modifient les propriétés de roulage et peuvent représenter un risque.
4. Déballage et fourniture
N'utilisez pas d'objets coupants pour ouvrir l'emballage et pour retirer le matériel de protection. Vous pourriez accidentellement endommager la peinture ou des pièces du vélo.
Tenez tous les matériaux d'emballage hors de portée des enfants.
■ Sortez toutes les pièces de l'emballage.
■ Retirez le matériel de protection.
Vérifiez si toutes les pièces sont là et si elles ne sont pas endommagées. S'il manque quelque chose, veuillez vous adresser à votre revendeur avant de poursuivre le travail.
La fourniture comprend (figure A):
- Vélo prémonté
- Guidon prémonté
- Pédales et mode d'emploi dans le sachet en plastique, pour les modèles à 3 vitesses: tige de commutation supplémentaire
5. Montage et mise en service
Avant d'être utilisé, le véhicule doit être adapté à la taille de l'enfant. La selle doit être réglée de manière à ce qu'au moins la pointe des pieds ou encore mieux la plante du pied atteigne le sol afin que l'enfant puisse se tenir debout en équilibre. Pour cela, respectez impérativement le marquage de la profondeur minimale d'insertion sur le support de la selle dans le tube. Plus d'informations ci-dessous.
Une fois la position de la selle réglée, le guidon ainsi que le levier de frein et la sonnette doivent être facilement accessibles pour l'enfant.
Pour cela, le marquage de la profondeur minimale d'insertion de la tige du guidon doit être respecté. Lorsque le guidon a été réglé à la bonne hauteur, serrez fermement les vis de serrage. Avant la mise en service, contrôlez le vélo à l'aide de la check-list de sécurité suivante.
Lors du montage des pédales, tenir compte du filetage à gauche et à droite (indiqué par R ou L à proximité du filetage de l'axe de la pédale).
Les photos correspondant aux instructions de montage se trouvent à la dernière page de ce mode d'emploi.
Contrôlez le véhicule conformément à la check-list de sécurité après le montage !
Lors du montage, tenez compte du fait que certaines pièces, comme le filetage des pédales et le cône de serrage, sont lubrifiées.
Pour le montage, il vous faut les outils suivants (figure B) :
- Clé Allen de 6 mm (modèles ZL) ou clé plate avec une OC de 13 mm (modèles Z).
- Clé Allen 5 mm (uniquement pour les modèles ZL 18-3)
- Clé plate avec une OC de 15 mm
- Tournevis cruciforme
Les outils ne sont pas fournis avec le vélo.
Le montage doit être effectué avec soin par un adulte afin d'éviter tout risque ultérieur d'accident ou de blessure. Prenez le temps nécessaire pour cela. À certains endroits, il est nécessaire de serrer les vis avec un couple de serrage déterminé. Ce couple de serrage est indiqué en Newton-mètres (par exemple 2 Nm). Lorsqu'une vis est serrée avec un couple de serrage trop faible, le raccord peut être trop lâche et n'est pas sûr. Un couple de serrage trop important peut endommager ou détruire les vis et d'autres pièces. Si vous n'êtes pas sûr de vous, veuillez vous adresser à votre revendeur ou à un atelier.
Commencez par retirer les caches en plastique sur les écrous borgnes de l'essieu avant et arrière et devant sur les freins Cantilever. Retirez également le film plastique qui protège les pédaliers.
Retirez la mousse de protection du guidon et dévissez la vis qui se trouve en dessous sur la potence en la tournant légèrement à l'aide d'une clé Allen de 6 mm (modèles ZL) ou d'une clé plate avec une OC de 13 mm (modèle Z). Vous pouvez maintenant retirer la protection en plastique du cône de serrage à l'extrémité inférieure de la tige de la potence.
Figure 1 : Insérer le guidon dans la fourche (1). Si c'est difficile, desserrez un peu plus la vis du guidon. Insérez le guidon jusqu'à la hauteur souhaitée, positionnez-le en angle droit par rapport à la roue avant et fixez-le en serrant la vis sur la potence (2) à l'aide d'une clé Allen de 6 mm (modèles ZL) ou d'une clé plate avec une OC de 13 mm (modèle Z) (515 Nm).
Respectez le repère de la profondeur minimale d'insertion sur la potence. Replacez la mousse de protection sur le guidon.
Figure 2 : Prenez l'extrémité libre du câble de frein et insérez le grain de câble dans le renfoncement prévu à cet effet sur le levier de frein (1). Tirez ensuite prudemment sur la gaine du câble de frein afin d'encliqueter la butée de la vis de réglage du levier de frein (2).
Lors du montage du câble de frein, veillez à ce que la vis moletée du câble de frein soit bien droite dans le support du phare avant. Dans le cas contraire, le frein ne peut pas être monté correctement.
Figure 3 : Au niveau de la roue avant, pressez le frein Cantilever droit en direction de la jante (1). Vous pouvez maintenant insérer le grain de câble du câble de frein dans le renfoncement prévu à cet effet sur le frein (2). Si ce n'est pas possible, réduisez la tension du câble de frein au niveau de la vis de serrage du câble de l'étrier de frein gauche dans le sens de la conduite (voir figure 4 / position 2) et resserrez ensuite la vis de serrage du câble.
Figure 4 : Assurez-vous que les deux garnitures de frein soient parallèles et soient correctement positionnées au niveau de la jante. Elles doivent se trouver à une distance de 1 mm en dessous du bord supérieur de la jante.
Si le réglage n'est pas correct, desserrez l'écrou de fixation de la garniture de frein (1) à l'aide d'une clé Allen et positionnez la garniture comme indiqué ci-dessus. Pour cela, tirez le levier de frein et resserrez l'écrou de fixation (5-8 Nm).
Figure 5 : En tournant la vis de réglage, centrez ensuite les étriers de frein. La distance entre la garniture de frein et la jante doit être la même à droite et à gauche. Pour cela, vous aurez besoin d'un tournevis cruciforme. En serrant la vis, vous éloignez l'étrier de frein de la jante, en desserrant la vis, vous le rapprochez de la jante.
Il est important que les leviers de frein soient actionnés plusieurs fois de manière à ce que la tension des étriers de frein soit répartie de manière homogène des deux côtés et à ce que le réglage soit effectif. Le contact frein/jante doit être simultané des deux côtés.
Une nouvelle fois la figure 4 :
La tension du câble de frein doit être réglée au niveau de l'écrou d'ancrage (2) de manière à ce qu'il y ait un espace de 1,5 mm entre la garniture de frein et la jante. Si un ajustement est nécessaire, l'extrémité de câble qui dépasse doit être refixée au frein.
Figure 6 : En cas de légère usure des plaquettes de frein, vous pouvez dévisser la vis moletée au-dessus du réflecteur avant pour positionner uniformément les plaquettes de frein plus près de la jante. Réglez le frein de manière à ce que les garnitures de frein se trouvent à 1,5 mm de la jante.
Avant chaque utilisation du vélo, vérifiez le bon fonctionnement du frein. Si un ajustement du frein est nécessaire au cours de l'utilisation du produit, veuillez respecter les consignes de réglage susmentionnées.
Figure 7 : Veuillez noter qu'une pédale est équipée d'un filetage à droite (pour le côté droit dans le sens de la conduite) et l'autre pédale d'un filetage à gauche (pour le côté gauche dans le sens de la conduite). Les pédales sont respectivement pourvues d'un « R » et d'un « L » sur la surface frontale de l'axe de vissage.
Vissez les pédales sur les pédaliers à l'aide d'une clé hexagonale avec une OC de 15 (20 Nm). Pour cela tournez la clé hexagonale en direction de la roue avant des deux côtés.
Réglage de l'assise
Figure 8 : Réglage de la hauteur d'assise : après avoir desserré le collier de selle à l'aide d'une clé Allen de 5 mm, la selle peut être sortie. Veuillez régler la hauteur d'assise de manière à ce qu'au moins la pointe des pieds et au mieux la plante du pied atteigne le sol afin que l'enfant puisse se tenir debout en équilibre.
Pour cela, veuillez respecter les règles suivantes:
Hauteur minimale de la selle :
Z2 / ZL 12 : 45 cm
Z6 / ZL 16 : 49 cm
Z8 / ZL18 : 53 cm
Hauteur maximale de la selle :
La profondeur minimale d'insertion du support de la selle est de 65 mm. Le support de la selle est pourvu du marquage correspondant (voir figure 8).
Resserrer ensuite le dispositif de serrage de la selle (couple de serrage 5-8 Nm).
Réglage de la hauteur du guidon : veuillez régler la position d'assise de manière à ce que l'enfant se tienne droit et ait ainsi une bonne visibilité. Le guidon ainsi que le levier de frein et la sonnette doivent être facilement accessibles pour l'enfant.
Couple de serrage pour le dispositif de serrage de la potence dans le tube de la fourche : 15 Nm.
Couple de serrage pour le dispositif de serrage du guidon dans la potence : 12 Nm.
Réglage de la tension de la chaîne :
La chaîne doit présenter un jeu vertical d'env. 1,5 cm. La tension de la chaîne se règle comme suit :
Figure 9 : Desserrez les deux écrous de la roue arrière.
Figure 10 : La tension de la chaîne peut maintenant être réglée en déplaçant la roue arrière au niveau du dérailleur. Resserrez ensuite les écrous (couple de serrage 15 Nm)
Réglage du moyeu à vitesses (Uniquement modèles à 3 vitesses)
Montage de la tige de commutation
Figure 11 : Sortez la tige de commutation du sachet en plastique et insérez le ressort noir du côté droit (dans le sens de la conduite) de l'essieu arrière jusqu'à la butée.
Figure 12 : Vous pouvez ensuite installer la boîte de vitesses sur l'essieu arrière et la serrer à l'aide d'une clé Allen de 5 mm (3-5 Nm). La boîte de vitesses ne nécessite aucun autre réglage.
Si au cours de l'utilisation du produit, un nouveau réglage un nécessaire, veuillez procéder comme suit :

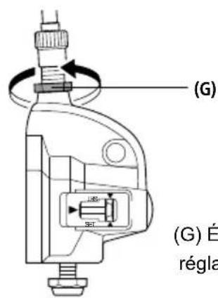
(A) Vis de réglage du câble
(B) Tige de commande
(C) Extrémité de l'axe du moyeu
(D) Ligne rouge sur la tige de commande
(E) Lignes jaunes
(F) Partie jaune du repère
Couple de serrage : 1,5 - 2,5 Nm
SET
Positionnez le levier REVOSHIFT sur 2. Tournez ensuite la vis de réglage du câble (A) afin d'aligner la ligne rouge (D) sur la tige de commande à l'extrémité (C) de l'axe du moyeu.
REMARQUE
Durant le réglage, contrôlez les deux lignes jaunes par le haut à travers la fenêtre. Tournez la manivelle et positionnez le levier REVO-SHIFT de 3 à 1 et ensuite à nouveau sur 3. Répétez cette opération deux à trois fois et vérifiez si les vitesses changent. Positionnez à nouveau le levier REVOSHIFT de 1 à 2 et assurez-vous que la ligne rouge est alignée sur la tige de commande à l'extrémité de l'axe du moyen. Si ce n'est pas le cas, vous devez recommencer le réglage.
Après le réglage de l'unité de changement de vitesse IV, bloquez la vis de réglage du câble à l'aide de l'écrou de réglage du câble (G).


text_image
(G) (G) É régla(G) Écrou de réglage du câble
Check-list de sécurité
Selle
Ne tourne pas (5-8 Nm)*

Marquage de la profondeur minimale d'insertion respecté ☐
Les plantes des pieds atteignent le sol □
Guidon
Profondeur minimale d'insertion respectée

Le tube du guidon ne tourne pas (15 Nm)*

Le guidon ne tourne pas □
Facilement accessible, le corps est droit en position assise □
Les poignées ne tournent pas □
Frein à main
Levier de freinage serré (2 Nm), facilement accessible

Fonctionne correctement □
Garniture de frein propre, exempte de graisse, adhérant bien ☐
Frein à rétropédalage
Fonctionnement contrôlé

Chaîne
Tension de la chaîne correcte (jeu d'env. 1,5 cm)

Lubrification suffisante ☐
Protection de la chaîne complète
Pneus
Profil suffisant

Pression suffisante (la pression à respecter figure sur les pneus) □
Roues
Tournant rond

Rayons serrés de manière uniforme □
Écrous d'axe fermement serrés (roue avant 12 Nm, roue arrière 15 Nm)*

Pédales
Tournent facilement

Serrées et sans jeu trop important

Sonnette
Bien audible, facilement accessible

Contrôle visuel
Les pièces ne présentent pas de dommages et toutes les pièces de fixation, comme les tôles de protection et le porte-bagages, sont fermement montées.

(*Couples de serrage des vis en Newton-mètres)
6. Maintenance et entretien
Si le levier du frein manuel peut être serré contre le guidon à plus de la moitié de sa course et que le freinage n'intervient pas, le frein doit être réglé.
Les surfaces de freinage doivent être propres et exemptes de graisse et les garnitures de frein doivent être parallèles.
Les garnitures usées doivent immédiatement être remplacées ! Lors du remplacement, veillez à utiliser des garnitures originales ou au moins adaptées au matériau de la jante (par exemple avec la mention : « Alloy / Alu » pour les jantes en aluminium).
Attention à l'usure des jantes
Vérifiez régulièrement l'état des jantes et soyez particulièrement attentif à la rainure d'usure circulaire. Adressez-vous à temps (lorsque la rainure se voit encore un peu) à votre atelier spécialisé. Risque de cassure et d'accident !
Veillez particulièrement à ce que le guidon et la selle ne tournent pas !
Vérifiez la tension de la chaîne et réglez-la (le cas échéant en retirant la roue arrière, en l'alignant et en la resserrant).
Contrôlez régulièrement la pression des pneus (la pression à respecter figure sur le côté des pneus). Ne pas réparer les pièces endommagées ou déformées. Celles-ci doivent impérativement être remplacées. Vous trouverez les pièces de rechange originales chez votre revendeur PUKY. Pièces d'usure : Pneus (y compris les chambres à air), jantes, câble de frein, garnitures de frein, chaîne, plateaux mécaniques, revêtements de poignée.
Tous les travaux de maintenance nécessitent des connaissances techniques. Vous devez donc faire appel à votre revendeur. Les enfants ne peuvent toucher à rien, mais peuvent évidemment observer et apprendre.
Propreté et protection contre la corrosion
Toutes les surfaces peintes et métalliques peuvent être nettoyées et protégées avec des produits d'entretien normaux pour la voiture. Utilisez uniquement des produits nettoyants écologiques, mais en aucun cas des produits agressifs. Huilez régulièrement la chaîne (huiles pour chaîne ou huiles universelles) et nettoyez-la si nécessaire.
Les flancs des jantes (surfaces de freinage) doivent être exempts de graisse !
Le véhicule doit être protégé contre le sel d'épandage et ne doit pas être entreposé longtemps dans des locaux humides (par exemple garage). Si vous entreposez tout de même le vélo dans un environnement humide, protégez toutes les surfaces des pièces métalliques sans peinture (vis, écrous, etc.) à l'aide d'un vitrifiant adapté (par exemple cire en spray).
Le réglage et la lubrification des moyeux et des roulements à billes doivent être de temps en temps vérifiés par un spécialiste. Le véhicule doit être protégé contre le sel d'épandage et ne doit pas être entreposé longtemps dans des locaux humides (par exemple garage).
Ne pas utiliser un nettoyeur haute pression/nettoyeur vapeur pour nettoyer le véhicule.
7. Garantie des vices cachés
La garantie légale des vices cachés est applicable. Les dommages causés par une sollicitation non conforme, l'usage de la force, un manque d'entretien ou par l'usure normale sont exclus de la garantie des vices cachés.
Bonne route!
1. Indledning
Remplissez votre plaque signalétique au verso S.V.P. ! La plaque signalétique PUKY est apposée sur les véhicules à l'endroit indiqué sur les croquis suivants et les indications qu'elle donne devront être fournies à votre distributeur lors des commandes de pièces de rechange.
Votre vendeur spécialisé/Din forhandler/Vostro rivenditore/
Notice Facile