Z 8 Edition - Bike Puky - Free user manual and instructions
Find the device manual for free Z 8 Edition Puky in PDF.
Frequently Asked Questions - Z 8 Edition Puky
User questions about Z 8 Edition Puky
0 question about this device. Answer the ones you know or ask your own.
Ask a new question about this device
Download the instructions for your Bike in PDF format for free! Find your manual Z 8 Edition - Puky and take your electronic device back in hand. On this page are published all the documents necessary for the use of your device. Z 8 Edition by Puky.
USER MANUAL Z 8 Edition Puky
natural_image
Simple gray line drawing of a bicycle with no text or symbolsPlease read carefully before use of the childrens' bicycle and retain in for further use.
chemical
Chemical structure diagram showing a piperidine derivative with two pentagonal rings and a central PUKY labelContents
Inhoudsopgave
Table des matières
Indhold
Contenuto
SPIS TREŚCI
Obsah
Índice
Содержание
DE Bedienungsanleitung .....3
GB User Manual .....12
NL Gebruiksaanwijzing .....20
FR Mode d'emploi ..... 29
DK Betjeningsvejledning .....38
Istruzioni per l'uso .....46
PL Instrukcja obsługi .....55
CZ Návod k obsluze ..... 64
ES Manual de instrucciones .....73
RU Руководство по эксплуатации .. 82

text_image
5 Jahre years GARANTIE* WARRANTY*Jetzt registrieren!
Garantieregistrierung/ warranty registration: garantie.puky.de

text_image
Nexus 2 (A) (B) (C) SET (E) (F) (E) (D) SETCongratulations on the purchase of this PUKY play bicycle. You have acquired a quality product, which is certain to bring great joy. This User Manual contains information regarding the assembly, safe operation and maintenance of this new bicycle. Should you have any questions or problems, please contact your dealer or contact us via our website: www.puky.de.
2. Parental responsibility
Risks during play are, for the most part, excluded when used in accordance with the intended purpose. However, please take into consideration that unforeseen situations and hazards may occur as a result of the natural need for movement and the temperament of young children and adolescents for which the manufacturer cannot be held liable. For this reason, instruct children and adolescents in the correct bicycle conduct whilst supervising them. At the same time, also draw their attention to potential dangers.
3. User notes
The play bicycle is not suitable for sporting activities (e.g. jumps). The bicycle may only be used on paved paths and roads without obstacles. The bicycle is not suitable for jumps, tricks or cross-country use.
When children are using the bicycle, it may not be ridden in the vicinity of stairs, slopes, steep terrain, swimming pools or other bodies of water. Stairs in the vicinity must be secured in such a way to prevent children from riding up or down them on their bicycle.
The play bicycle may only be used in suitable areas and away from public roads. The bicycle does not comply with the requirements of German Road Traffic Regulations (StVZO) and may not be used on public roads. The relevant applicable national legal requirements are to be observed.
The permissible total weight for this bike (bike + rider + baggage) is 60 kg.
The load that may be placed on the luggage rack will depend on the version of the rack (see the embossing on the rack). For road safety reasons, we do not recommend using the rack of a play vehicle for carrying loads. Only the serial installed racks may be used.
It is necessary to wear suitable clothing and closed shoes. PUKY recommends wearing a safety helmet (see PUKY Accessories).
The bicycle is not suitable for mounting a child seat. Pay attention to potential trap hazards when using and maintaining.
Play bicycle
Mount supporting wheels in a secure and form-fitting manner to the rear when required as a learning aid (to maintain balance). The use of support wheels is only permitted during the course of a brief learning period, since with increased practice the support wheels may apply uncontrolled forces to the frame.
Please pay attention to the reduced effect of the brakes on the front wheel when it is wet.
Sudden, forceful braking with the rim brake should be avoided since the behaviour of the vehicle may suddenly change as a result which may end in a fall.
On long slopes, long periods of braking with the back pedal brake are to be avoided (excess heat to the back pedal brake nave).
The valve caps must be firmly tightened and kept out of reach of children (risk of choking). Subsequent additions or modifications to the bicycle (especially the braking systems) will change the behaviour of the vehicle and may pose a risk.
4. Unpacking and scope of delivery
Do not use any sharp objects when opening the packaging and removing protective material. If you were to do so, you may damage the paint or parts of the bike.
Keep all packaging material out of reach of children.
■ Remove all parts from the packaging.
■ Remove the protective material.
Examine the package for completeness and proper condition. If anything is missing, please contact your dealer before you continue to assemble the bike.
The delivery consists of (Figure A):
- Bike preassembled
- Handlebar preassembled
- Pedals and User Manual in a plastic bag, for 3-gear models: Additional gear stick
5. Assembly and first use
Prepare for use by adjusting to the height of the child. The saddle is to be set so that at least the toes, preferably the ball of the foot, reach the ground in order to ensure balance can be achieved when at a standstill. In doing so, the marking showing the minimum insertion depth on the saddle post into the frame tube must be observed. For more information, see below.
The handlebar, hand brake lever and bell must be easy for the child to reach from the set saddle position.
In doing so, the marking showing the minimum insertion depth of the handlebar shaft must be observed. After adjusting the handlebar, tighten the clamping screws firmly. Use the following safety checklist to check the bicycle before using.
When mounting the pedals, observe the right and left threads (labelled on the pedal axis with an R or L in the vicinity of the thread).
The images for the assembly instructions can be found on the last pages of this manual.
After assembly, please conduct a safety check in accordance with the safety checklist!
During assembly, please note that some parts, such as pedal thread and clamping cone are lubricated.
You will need the following tools for assembly (Figure B):
- 6 mm Allen key (ZL models) or a 13 mm spanner (Z models)
- 5 mm Allen key (only for ZL 18-3 models)
- 15 mm spanner
- Crosstip screwdriver
The tools are not part of the scope of delivery.
Assembly must be carried out with great caution and by an adult, to avoid any potential subsequent accidents or injuries. Please take your time when assembling the bike. In some cases, it is necessary to tighten screws with a prescribed torque. The torque value is stated in Newton metres (e.g. 2 Nm). If the torque with which a screw is tightened is too low, the connection may still be too loose and therefore unsafe. If the torque is too high, screws and other parts may be damaged or destroyed. Please contact your dealer or a workshop if you have any questions.
First remove the plastic protective caps from the cap nuts of the front and rear axle as well as from the cantilever brakes at the front. Also remove the plastic foil which has been used to protect the cranks.
Remove the handlebar padding from the handlebar and unscrew (with just a few rotations) the underlying screw at the stem with the aid of a 6 mm Allen key (ZL models) or a 13 mm spanner (Z models). Now you can remove the plastic cover that protects the clamping cone at the lower end of the stem shaft.
Figure 1: Insert the handlebar into the steer tube (1). If this proves to be difficult, unscrew the handlebar a bit further. Adjust the handlebar to the desired height, align at right angles to the front wheel and lock it by pulling the screw at the stem (2) with the aid of a 6 mm Allen key (ZL models) or a 13 mm spanner (Z model) (15 Nm).
Please pay attention to the marking of the minimum insertion depth of the stem shaft. Now reattach the handlebar padding back onto the handlebar.
Figure 2: Take the loose end of the brake cable and insert the wedge into the predefined recess on the brake handle (1). Then, carefully pull the outer cover of the brake cable to engage the end stop into the adjustment screw of the brake handle (2).
When assembling the brake cable, please make sure that the knurled screw of the brake cable is situated straight in the holder of the front light. Otherwise, the brakes cannot be assembled correctly.
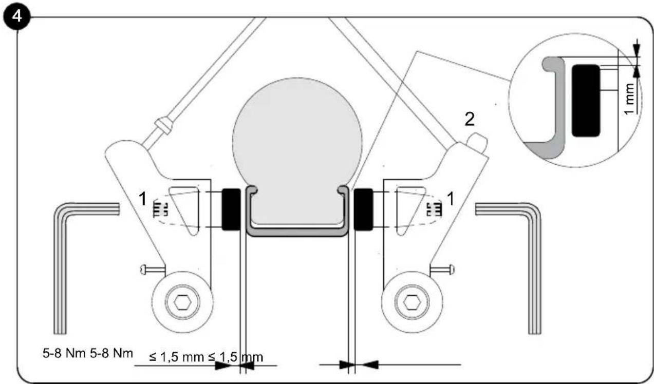
Figure 3: On the front wheel, press the right cantilever brake in the direction of the rim (1). Now you can insert the wedge of the brake cable into the predefined recess of the brake (2). If this is not possible, reduce the tension of the brake cable at the tensioning screw of the left brake arm in the direction of travel (see Figure 4 / Position 2) and then tighten the tensioning screw again.
Figure 4: Make sure that the brake pads are parallel to each other and that they are properly aligned with the rim. This means that the brake pads should rest 1 mm below the top edge of the rim.
If these settings are not correct, loosen the fastening nut of the brake pad (1) with a 5 mm Allen key and align as described above. To do so, pull the brake lever and re-tighten the fastening nut (5-8 Nm).
Figure 5: Rotating the adjustment screw enables you to now centre the brake arms, i.e. the distance from the brake pad <-> rim should be identical both on the right and the left. You will need a crosstip screwdriver for this. By turning the screw in, you move the appropriate brake arm away from the rim, turning the screw out moves the screw towards the rim.
It is important that the brake levers are actuated several times so that the tension of the brake arms is evenly distributed to both sides and the settings take effect. The brake/rim contact must be identical on both sides.
Again Figure 4:
Brake cable tension is adjusted at the anchor nut (2) so that each brake pad maintains a distance of 1.5 mm to the rim. If an adjustment needs to be made, the protruding wire end should then be refastened to the brake.
Figure 6: With a slight degree of wear to the brake blocks, you can remove them by unscrewing the knurled screw above the front reflector and position both blocks closer to the rim. Adjust the screw so that the each brake pad is set at a distance of approximately 1.5 cm from the rim.
Before each journey, please check whether the brakes are functioning properly. If, during the course of the use of the product, renewed adjustment of the brakes is required, please follow the steps detailed above.
Figure 7: Please note that one pedal is equipped with a right-handed thread (for the right-handed driving direction) and the other pedal with a left-handed thread (for the left-handed direction). The pedals are labelled accordingly on the front face of the threaded axle with an "R" and an "L".
Screw the pedals with the aid of a 15 mm spanner to the cranks (20 Nm) – to do so, turn the Allen key on both sides in the direction of the front wheel.
Setting the seating position
Figure 8: Setting the height of the saddle: The saddle can be pulled out after releasing the saddle clamp with the aid of a 5mm Allen key. Set the saddle so that at least the toes, preferably the ball of the foot, reach the ground in order to ensure balance can be achieved when at a standstill.
Please observe the following principles:
Minimum height of the saddle as follows:
Z2 / ZL 12: 45 cm
Z6 / ZL 16: 49 cm
Z8 / ZL18: 53 cm
Maximum height of the saddle:
The minimum insertion depth of the saddle post is 65 mm. There is an appropriate marking on the saddle post (see Figure 8).
Then retighten the saddle clamp (torque 5-8 Nm).
Setting the height of the handlebar: Adjust the seating position so that the child is seated upright and a good overview is ensured. The handlebar, hand brake lever and bell must be easy for the child to reach.
The torque for the clamping of the stem in the fork stem: 15 Nm.
The torque for the clamping of the handlebar in the stem: 12 Nm.
Setting the chain tension
The chain should have a vertical play of approximately 1.5 cm. The setting of the chain tension is carried out as follows:
Figure 9: Undo both wheel nuts of the rear wheel
Figure 10: Adjust the chain tension by sliding the rear wheel at the dropout. Then tighten the wheel nuts again (torque 15 Nm)
Setting the gear hub (only for 3-gear models)
Installation of gear stick
Figure 11: Take the gear stick out of the plastic bag and insert it as far as it will go, along with the black spring, into the right side of the rear axle (in driving direction).
Figure 12: Then you can mount the gearbox onto the rear axle and tighten it with a 5 mm Allen key (3-5 Nm.) No further settings need to be made to the gearbox.
If renewed adjustment must be made during the course of product use, proceed as follows:

text_image
Nexus 2 (A) (B) (C) L3S (E) (F) (E) (D) SET(A)Tensionadjusting screw
(B) Push rod
(C) End of hub axis
(D) Red line on push rod
(E) Yellow lines
(F)Yellowsection of link
Torque: 1.5 - 2.5 Nm
SET
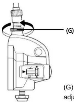
Switch the REVOSHIFT lever to 2. Then rotate the tension adjusting screw (A) in order to align the red line (D) on the push rod at the end (C) of the hub axis.
COMMENT
During the setting process, check both yellow lines from above using the window. Rotate the crank and switch the REVOSHIFT lever from 3 to 1 and then back to 3. Repeat this process two or three times and check to make sure that the gears are changed. Switch the REVOSHIFT lever from 1 to 2 again and make sure that the red line on the push rod at the end of the hub axis is aligned. If this is not the case, you must carry out the setting process again.
After setting switch unit IV secure the tension adjusting screw using the tension adjusting nut (G).



text_image
(G) (G) adj(G) Tension adjusting nut
Safety checklist
Saddle
Firmly secured and cannot be rotated
(5-8 Nm) ^*

Minimum insertion depth marking observed

Balls of feet reach the ground

Handlebar
Minimum insertion depth observed

Handlebar shaft tube secured and
cannot be rotated (15 Nm)* □
Handlebar cannot be rotated ☐
easy to reach, upright seating position ☐
Handles cannot be rotated ☐
Handbrakes
Brake lever secure (2 Nm), easily accessible

Functions perfectly □
Brake pad clean, grease-free, positioned correctly ☐
Back pedal brake
Function checked

Chain
Chain tension is OK
( play approximately 1.5 cm)

Chain guard is complete

Tyres
Sufficient profile

Sufficient air pressure (air pressure
to be maintained is on the tyre) ☐
Wheels
Aligned

Spokes evenly tightened □
Axle nuts firmly tightened
(VR 12 Nm, HR 15 Nm) ^* ☐
Pedals
Rotate easily

Firmly fitted without excess play □
Bell
Clear ring, easily reached

Visual check
Components without fault and all attached parts, such as protective guards and luggage rack, sufficiently well secured.

(*Torques of screws
in Newton metres)
6. Maintenance and care
If the handbrake lever can be pulled more than half-way to the handlebar before the braking effect takes place, the brake must be adjusted.
The braking surfaces must be clean, grease-free and the brake pads must be parallel to one another.
Worn pads must be replaced immediately! When replacing, make sure you use original pads or ensure that they match the material of the rim at least (e.g. see the label: "Alloy / Alu" for aluminium rims).
Caution in the event of rim wear
Regularly check the state of the rims and pay special attention to the wear groove which surrounds the rim. Consult your specialist workshop in good time (when the groove is almost worn away). Breakage and accident risks!
Pay special attention to ensure that the handlebar and saddle do not rotate!
Check the chain tension and adjust as necessary (if required, by loosening the rear wheel, aligning and tightening again).
Pay attention to the correct air pressure (the prescribed pressure is indicated on the sides of the tyres). Do not repair damaged or deformed parts. Damaged or deformed parts must be replaced. Original replacement parts can be obtained from your PUKY dealer. Spare parts: Tyres (including tubes), rims, brake cable, brake pads, chain, chain rings, handle covers.
All maintenance work requires specialist knowledge and you should consult your dealer for advice. Interested children may 'supervise' but should not do the work themselves.
Cleanliness and corrosion protection
All painted and metallic surfaces can be cleaned and protected using ordinary car care products. Only use environmentally friendly products and never use any aggressive detergents. Regularly oil the chain (chain or universal oil) and clean when necessary.
The flanks of the rims (braking surfaces) must be grease-free!
The vehicle is to be protected from winter salt and long periods of storage in damp spaces (e.g. garage) are to be avoided. If you do store the bicycle in a damp environment, protect the surfaces of unpainted metal parts (screws, nuts etc.) with a suitable surface seal (e.g. spray wax).
Hub and ball bearing should be checked from time to time by a specialist, adjusted and lubricated as required. The vehicle is to be protected from winter salt and long periods of storage in damp spaces (e.g. garage) are to be avoided.
Do not use a pressure washer/power washer to clean the vehicle.
7. Statutory warranty
Statutory warranty covers defects. Damage resulting from improper use, use of force, lack of maintenance, or normal wear and tear, is excluded from such a statutory defect warranty.
Enjoy your travels!
1. Inleiding
text_image
N2005 (A) (B) (C) LET (E) (F) (E) (D) SETnatural_image
Line drawing of a Nexus device with a circular dial and textured grip (no text or symbols)
text_image
(A) (B)
text_image
(C) (E) (D) SET (F) (E)text_image
Nexus 2 (A) (B) C SET (E) (F) (E) (D) SETtext_image
Nexus 2 (A) (B) (C) L3S (E) (F) (E) (D) SETtext_image
Nexus 2 (A) (B) (C) SET (E) (F) (E) (D) SETnatural_image
Technical line drawing of a device with labeled parts (no readable text or symbols)
text_image
(A) (B)
text_image
(C) (£) (£) (£) (£) (£) (£) (£) (£) (£) (£) (£) (£) (£) (£) (£) (£) (£) (£) (£) (£) (£) (£) (£) (£) (£) (£) (£) (£) (£) (£) (£) (£) (£) (£)text_image
Nexus 2 (A) (B) (C) SET (E) (F) (E) (D) SETnatural_image
Line drawing of a device with a knob labeled '2' and textured grip (no readable text or symbols)
text_image
(A) (B) (C) D SET (E) (F) (E)natural_image
Pure L-shaped pipe or tube diagram with no text, numbers, or symbols1

natural_image
Pure L-shaped pipe fitting with a dimension label '5' (no text or symbols beyond the numeral)2

text_image
SW 15mm 3
text_image
SW 13mmMontage
Assembly
Montage
Assemblée
Montering
Assemblaggio
Monta'z
Montáž
Montaje
Монтаж

text_image
1 2 15 Nm 1
text_image
Technical diagram showing mechanical assembly with labeled parts 1 and 2, likely for assembly or maintenance instructions.
text_image
4 1 2 1 1 1 mm 5-8 Nm 5-8 Nm ≤ 1,5 mm ≤ 1,5 mmMontage
Assembly
Montage
Assemblée
Montering
Assemblaggio
Monta'z
Montá'z
Montaje
Монтаж
5

text_image
Technical diagram of a mechanical device with labeled components and directional arrows, including parts A and B.6

natural_image
Line drawing of a mechanical assembly with a USB cable and directional arrow indicating rotation (no text or symbols)7

natural_image
Simple line drawing of a device with a circular button labeled 'L' and curved surfaces (no text or symbols beyond the label)
natural_image
Simple line drawing of a device with a circular button labeled 'R' on top, no text or symbols present.8

text_image
PUKY 5-8 Nm 65 mm !Montage
Assembly
Montage
Assemblée
Montering
Assemblaggio
Monta'z
Montá'z
Montaje
Монтаж
9

text_image
SW 15 mm SW 15 mm10

text_image
PUKY11

text_image
ca. 14 mm12

text_image
3-5 NmNotizen
Notes
Aantekeningen
Notes
Noter
Nota
Uwaga
Poznámky
Notas
Примечания
Please complete the identification plate on the cycle passport page. The PUKY identification plate is fitted to the vehicles as shown in the drawings below and must be noted down for ordering replacement parts from your dealer.
natural_image
Mechanical assembly diagram showing a wheel and suspension components (no text or labels)Typenschild/Typens child/Identification plate/Typeplaatje/Plaque signalétique/Typeskilt/Targhetta/Oznakowanie produktu/Identifikační štítek/Placa de características/Фирменная табличка
Name/Surname/Naam/Nom/Efternavn/Cognome/Nazwisko/Jméno/Apellido(s)/Фамилия
Vorname/First name/Voornaam/Prénom/Fornavn/Nome/Imię/Příjmení/Nombre/Имя
Straße/Street/Straat/Rue/Gade/Via/Ulica/Město/Vía/Yлицa
EasyManual