FHT6704 - Vélo d'appartement Powerpeak - Notice d'utilisation et mode d'emploi gratuit
Retrouvez gratuitement la notice de l'appareil FHT6704 Powerpeak au format PDF.
| Caractéristiques | Détails |
|---|---|
| Type de produit | Vélo d'appartement |
| Dimensions | Non spécifiées |
| Poids maximum utilisateur | Non spécifié |
| Résistance | Non spécifiée |
| Fonctionnalités d'affichage | Non spécifiées |
| Programmes d'entraînement | Non spécifiés |
| Alimentation | Non spécifiée |
| Utilisation | Pour un entraînement cardio à domicile |
| Maintenance | Vérifier régulièrement les vis et les pièces mobiles |
| Sécurité | Utiliser sur une surface plane et stable |
| Garantie | Non spécifiée |
| Informations générales | Idéal pour les utilisateurs souhaitant améliorer leur condition physique |
FOIRE AUX QUESTIONS - FHT6704 Powerpeak
Questions des utilisateurs sur FHT6704 Powerpeak
0 question sur cet appareil. Repondez a celles que vous connaissez ou posez la votre.
Poser une nouvelle question sur cet appareil
Téléchargez la notice de votre Vélo d'appartement au format PDF gratuitement ! Retrouvez votre notice FHT6704 - Powerpeak et reprennez votre appareil électronique en main. Sur cette page sont publiés tous les documents nécessaires à l'utilisation de votre appareil FHT6704 de la marque Powerpeak.
MODE D'EMPLOI FHT6704 Powerpeak
Les photos sont données à tre d'illustraon. Sous réserve de changements.
CONSIGNES DE SECURITE
Mise en garde
Consultez vous medecin avant de démarrer votre programme d'entraînement. Un programme d'entraînement fréquent et intensif doit être approuvé au préalable par vosage rénelaliste. Ceci est parculillement important pour les individus âgés de 35 ans ou plus, ou ceux ayant des problèmes physiques. En aucun cas nous ne sommes ni ne pouvons être tenus responsables de blessures à la personne ou de plaintes relaves à l'état physique qui pourrait résultat de l'ulisaon de cet équipement.
Général
- Lisez aenvement ces instrucons avant d'uliser l'appareil et conservez-les comme reference ulterieure.
- Ulisez-le seulement selon les indicaons continues dans ce mode d'emploi.
- Cet apparéil n'est pas dés né à être ulisé par des personnes (notamment des enfants) dont les capacities physiques, sensorieles ou intellectuelles sont réduites, ou par des personnes manquant d'expérience ou de connaissances, à moins que celles-ci ne soient sous surveillance ou qu'elles aient reçu des instrucons quant à l'ulisaon de l' apparéil par une personne responsable de leur sécurité.
- Tenez vos enfant soit animaux domesques à l'écart de l'appareil. L'enthousiasme des enfants peut entraîner une mauvaise ulisaon de l'appareil. Dans le cas où les enfants reçoivent l'autorisaon d'uliser cet apparéil, ces derniers doivent être surveillés et des consignes doivent leur être données quant à l'ulisaon appropriée de l'appareil. Cet apparéil ne doit en aucun cas être ulisé comme un jouet.
- Ne laissez pas les enfants jouer avec la feuille d'emballage en plasque. Ils peuvent s'y empêtre en jouant etétouer.
-
Assurez-vous que l'appareil est correctement installé avant de l'uliser. Vériez si toutes les vis, boulons et écrous sont bien installées et serrées. Ulisez seulement des pieces qui ont été conseillées par Powerpeak et fournies avec l'appareil.
-
Vériez régulierrement que l'appareil n'est pas endommagé. Ne pas uliser l'appareil quand celui est endommagé ou défectueux.
- Ulisez toujours l'appareil sur une surface lisse et propre. Ne jamais uliser l'appareil dehors. Meez un tapis en caoutchouc dessous si nécessaire an de réduire les risques d'endommager votre sol.
- Assurez-vous qu'il n'y a pas d'objets pointus dans les alentours de l'appareil de remise en forme. Assurez-vous qu'il y a au moins 0,5 mètres d'espace libre autour l'équipe.
- Portez toujours des vêtements surs et comfortsibles quand vous ulisez le matériel de remise en forme. Portez de préférence des chaussures de sport ou des souliers aérobic.
- Arrêtez immédiatement l'exercice si vous ne vous sentez pas bien ou si vous avez d'autres symptômes. Vous doivent arrêtier si vous avez des douleurs arculaires ou si vous sentez une pression sur vos arculaons. Les étourdissements indiquent que vous vous âtes entrainé trop intensément. En cas d'étourdissement, allongez-vous par terre et ne vous levez pas avant de vous senr mieux.
- Maintenez l'appareil à distance du feu et des surfaces chaudes.
- Ne descendez de l'appareil qu'une fois qu'il est à l'arrêt.
- Ne jamais laisser l'appareil uliser par plus d'un ulisateur.
- Toutjours stocker l'appareil à l'intérieur.
- Cet apparéil est uniquement dés né à l'usage domesque, il n'est PAS dés né à usage professionnel.
- Le poids maximal autorisé sur cet appareil est de 125 KG.


NOMENCLATURE DES PIECES
| NO | NOM | QUANTITÉ | |
| 1 | PÉDALE GAUCHE | 1 | |
| 2 | ÉCROU À Dôme (M8) | 4 | |
| 3 | RONDELLÉ EN ARC (Ø8) | 10 | |
| 4 | CAPUCHON AVANT (Ø60*1.5) | 2 | |
| 5 | STABILISATEUR AVANT | 1 | |
| 6 | BOULON DE SUPPORT | 2 | |
| 7 | BOULON | 6 | |
| 8 | RONDELLÉ À RESSORT | 1 | |
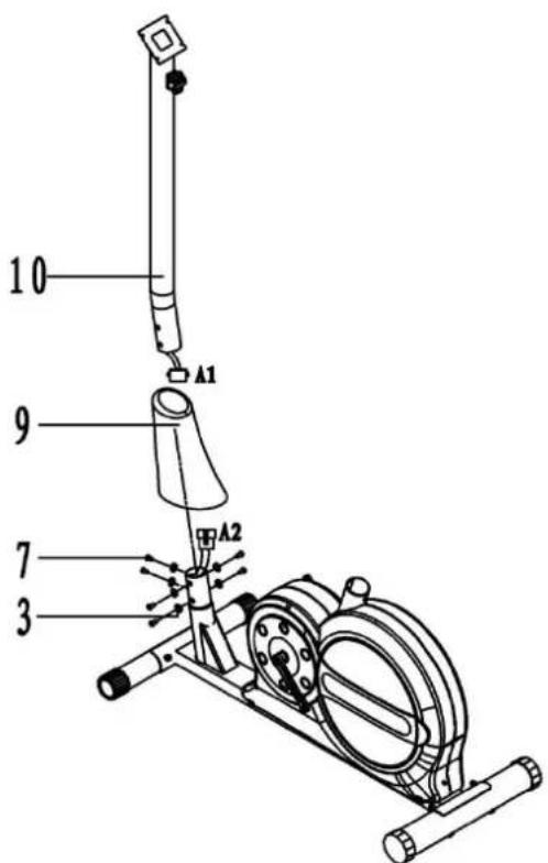
| 9 | PROTECTION DU TUBE DE SUPPORT | 1 | |
| 10 | TUBE DE SUPPORT | 1 | |
| 11 | VIS | 4 | |
| 12 | VIS | 2 | |
| 13 | GUIDON | 1 | |
| 14 | BOUCHON D'EXTRÉMITÉ | 2 | |
| 15 | ENROBAGE DU GUIDON | 2 | |
| 16 | CAPTEUR DE POULS | 2 | |
| 17 | MONITEUR | 1 | |
| 18 | PROTECTION PLASTIQUE DU GUIDON | 1 | |
| 19 | MOLETTE | 1 | |
| 20 | SIÈGE | 1 | |
| 21 | TIGE DU SIÈGE | 1 | |
| 22 | BOUCHONS D'EXTRÉMITÉ (38*38*1.5) | 2 | |
| 23 | RONDELLÉ (2) | 1 | |
| 24 | MOLETTE DE VERROULLAGE | 1 | |
| 25 | TIGE DU SIÈGE VERTICALE | 1 | |
| 26 | PÉDALE DROITE | 1 | |
| 27 | PROTECTION PLASTIQUE DU SIÈGE | 1 | |
| 28 | INSERT EN PLASTIQUE | 1 | |
| 29 | MOLETTE RÉGLABLE | 1 | |
| 30 | ADAPTATEUR | 1 | |
| 31 | CAPUCHON D'EXTRÉMITÉ ARRÊRÈRE(Ø76*1.5) | 2 | |
| 32 | STABILISATEUR ARRÊRÈRE | 1 | |
| 33 | BOULON DE SUPPORT (M8*90) | 2 | |
| 34 | VIS | 9 | |
| 35 | CAPUCHON DE PROTECTION GAUCHE | 1 | |
| 36 | MANIVELLE GAUCHE | 1 | |
| 37 | VIS | 8 | |
| 38 | MOTEUR | 1 | |
| 40 | VIS | 4 | |
| 41 | RESSORT DE TENSION | 1 | |
| 42 | ROUE À COURROIRE DE PPRESSION | 1 | |
| 43 | ECROU | 4 | |
| 44 | RESSORT | 1 | |
| 45 | RONDELLE PLATE | 1 | |
| 46 | RONDELLE DE PROTECTION | 1 | |
| 47 | ROULEMENT | 2 | |
| 48 | CROCHET DE COURROIRE | 1 | |
| 49 | ECROU | 4 | |
| 50 | VOLANT | 1 | |
| 51 | COUROIRE | 1 | |
| 52 | MANIVELLE DROITE | 1 | |
| 53 | CAPUCHON DE PROTECTION DROITE | 1 | |
| 54 | BOUCHON D'EXTRÉMITÉ DE MANIVELLE | 2 | |
| 55 | ECROU | 2 | |
| 56 | MANIVELLE GAUCHE | 1 | |
| 57 | RONDELLE DE PROTECTION | 2 | |
| 58 | RONDELLÉ À RESSORT | 1 | |
| 59 | ROULEMENT | 2 | |
| 60 | CROCHET DU CAPTEUR | 1 | |
| 61 | VIS | 2 | |
| 62 | CAPTEUR | 1 | |
| 63 | VIS | 2 | |
| 64 | BOULON | 4 | |
| 65 | AIMANT DU CAPTEUR | 1 | |
| 66 | ROUE À COURROIRE | 1 | |
| 67 | AXE | 1 | |
| 68 | ECROU | 4 | |
| 69 | MANIVELLE DROITE | 1 | |
Note
Certains des accessoires ci-dessus sont pré-ajustés à la pierce maitresse. Ils ne sont pas fournis séparément.
ASSEMBLAGE
An de vous familiariser avec les diérentes pieces de l'appareil, nous vous conseillons d'examiner avec soin la photo d'ensemble et la liste des pieces avant de commencer l'assemblage. Placez toutes les pieces sur le sol et rerez tous les emballages.
Ulisez les ouls fournis pour l'assemblage. Avant l'assemblage, veriez si toutes les pares nécessaires sont disponibles (au-dessus de cee feuille d'instrucon, vous trouvez un schema en vue explosée avec toutes les pieces (marquee avec des nombres) dont cet objet est constué.

Étape 1: Assemblage de l'avant et l'arrière du stabilisateur
A: Insérez le boulon (33) dans le stabilisateur arrêté (32), le cadre principal, la rondelle arc (3) é pièces, serrez avec deux écrous à dôme (2).
B: Répétez cee étape, le stabilisateur (5) s'assemble de la même manière.
Étape 2: assemblage du tube de support et de la protecon avant en plastque
A: Meez le tube de support (10) sur la protecon avant en plasque (9), puis connectez les capteurs A1 et A2 et les ls de contrôle de tension comme indiqué sur l'illustraon 2.
B: Installez le tube de support (10) sur le cadre principal avec la rondelle arc (3) et un boulon (7).
C: Verrouillez les boulons d'équilibrage sur le cadre principal, puis abaissez la protecon en plasque avant (9).
Aenon: Serrez la vis (7) et la rondelle arc (3) après l'étape 3

Étape 3: Installaon du guidon
A. Installez le guidon (13) sur la capuche de lien (18) du tube de support et ajustez à un angle comfortable, et installez la capuche de lien (18).
B. Insérez la molee (19) sur la bague à dessort (8) et installez le guidon (13) sur le cadre principal.

Étape 4: assemblage du siège
A. Fixez le siège (20) sur la ge du siège (21) comme indiqué.
B. Insérez la protecon en plasque du siège (27) sur la ge vercale du siège (25). Sur la posion désirée, alignez les trous et xez en place avec la molee de verrouillage (29).
C. Faites coulisser la ge du siège (25) et, dans la posion de votrechoix, alignez les trous et xez en place avec la molee de verrouillage (24) et une rondelle (23).

Étape 5: assemblage des pédales
Aachez les pédales sur les bras de la manivelle comme indiqué sur l'illustraon 5,
A. Assurez-vous que la pédale gauche (1) est aachieés sur la manivelle de gauche et tournez à gauche.
B. Assurez-vous que la pédale droite (26) marquee (R) est aachieé sur la manivelle de droite et tournez à droite.

Étape 6: assemblage du moniteur
Connectez le capteur A3 et A4 comme indiqué sur l'illustraon 6, puis installez le moniteur (7) dans le tube de support sur la cadre principal avec un boulon (11).
REMARQUE: Le I de pulsaon du moniteur doit etre connecte au capteur de pouls sur le guidon.


Étape 7: Connexion de l'alimentaon
Finalement un point essenel, connectez l'adaptateur sur le (:oté inférieur de la protecon de chaine (vous verrez une marque) : ("Adapter input")

ENTRETIEN ET UTILISATION
L'appareil doit être contrôle régulérique an de prévenir des blessures corporelles. Cela signie également qu'une vericaon régulière doit avoir lieu an de s'assurer que les boulons et les écrous sont bien vissés et de pouvoir constater des débuts d'usure, des bords coupants et autres choses de ce genre susceptibles pouvant entraîner des blessures corporelles.
- Les pièces défectueuses doivent être remplacées sur le champ. Si cela n'est pas possible, l'appareil doit alors être mis hors service jusqu'à ce que la réparation ait eu lieu.
- Neoyez avec un chion humide uniquement, ne pas uliser de solvants.
- Ce produit est fait pour être utilisé dans un environnement propre et sec. Vous devez éviter de le ranger dans des endroits très friods ou humides car il pourrait rouiller et avoir d'autres problèmes qui sont hors de notre contrôle.
Méthode de réglage
Lorsque you reglez la hauteur du tube de connexion, dessrez la molee sur le guidon et rez, puis ajustez à la hauteur qui vous convient, et inserez la molee dans la barre d'exercice et serrez la molee.
Lorsque vous reglez la distance entre le siège et le guidon, commencez par desserrer la molee sous le tube du siège et déplacez le siège en avant et en arrriere sur la posion qui vous va, visez le trou (il y a trois trous àCHOISIR), puis serrez la molee.
Lorsque vous ajustez l'angle du guidon, desserrez la molee sur la capuche de lien du tube de support et ajustez le guidon sur un angle comfortable, puis serrez la molee.
La molie de contrôle de tension vous permet de changer la résistance des pédales. Une forte résistance rend le pédalage plusDICILE, une résistance faible le rend plus facile. Pour de更好地 résultats, reglez la tension pendant que vous ulisez le vello.
L'ORDINATEUR

User Data:
Un bon entrainment commence toujours par des exercices d'échéauement et se termine par des exercices calmants. Ces exercices ont pour mission de préparer votre corps aux contraintes qui vont suivre. La phase d'apaisement à l'issue de l'entrainment permet d'éviter l' apparition de douleurs musculaires. Veuillez préter aconn aux points suivants:
- Échaquez soigneusement chaque groupe de muscles que vous uliserez lors de votre session d'exercice,pendant environ 5 à 10 minutes.Si vous ressentez une tension comfortable dans le muscle correspondant, cela signie que les exercices d'éirement ont été eectués correctement.
- La vitesse ne joueaucunrole dans les exercices d'érement. Les mouvements rapides ou heures sont à éviter.
Exercices pour la tete (1)
Tournez la tête vers la droite jusqu'à perceiveoir la tension dans votre nuque. Levez alors le mention vers le haut et ouvre la bouche. Tournez la tete vers la droite et abaissez-la ensuite jusqu'à la poitrine. Vous pouvez repeter cet exercice plusieurs fois de suite.

Exercices pour les épaules (2)
Relevez alternavement l'épaule droite et l'épaule gauche.

Exercices d'éirement pour les bras (3)
Erez alternavement le bras gauche et le bras droit en direcon vers le haut. Sentez la tension qui s'installe du cote gauche et du côte droit. Répétez plusieurs fois cet exercice.

Exercices pour les cuisses (4)
Appuyez-vous de la main gauche contre un mur, pliez la jambe droite vers l'arrière etrez le pied vers le haut avec la main droite. Essayez de rapprocher votre pied vers le haut avec la main droite. Essayez de rapprocher votre pied le plus pres possible de vos fesses. Repetez cet exercice 15 fois de suite. Puis changez de jambe.

Extension de l'intérieur de la cuisse et de la jambe (5)
Asseyez-vous sur le sol et placez vos pieds de telle sorte que vos genoux regardent vers l'extérieur. Rapprochez vos pieds le plus pres possible de votre entreiambre. Pressez prudemment vos genoux vers le bas. Repetez plusieurs fois cet exercice, 15 fois si possible.

Pilez le torsè lentement vers l'avant et essayez de toucher vos pieds avec vos mains. Essayez de descendre le plus bas possible vers vos orteils et répétez cet exercice 15 fois.

Exercices pour les tendons des genoux (7)
Asseyez-vous sur le sol et érez votre jambe droite, Pilez votre jambe gauche et déposez votre pied sur votre cuisse droite. Essayez alors d'aeindre votre pied droit avec votre main droite. Répétez cet exercice 15 fois de suite. Puis changez de jambe.

Exercices pour les mollets/tendons d'achille (8)
Appuyez-vous au mur, bras tendus en faisant porter tout le poids de votre corps sur vos deux mains. Tendez alternavement la jambe gauche et la jambe droite vers l'arrière. Ceci permet d'érer les muscles et les tendons de la jambe tendue. Répétez cet exercice 15 fois pour chaque jambe.

Powerpeak
Thermiekstraat 1a
6361HB Nuth
Pays-Bas
www.vdbergproducts.com
SERVICE
Pour toute queson,contactez le service clientèle Powerpeak :
numéro de téléphone : +31900-873 27 28, 1,00 €/ conversaoon +couts téléphoniques réguliers.
email: info@powerpeak.com
Powerpeak
Thermiekstraat 1a
6361 HB Nuth
Pays-Bas
Email: info@powerpeak.com
Internet: www.powerpeak.com
INFORMATION DE RIGUEUR SUR LE DECRET A PROPOS DES PILES
Les piles ne doivent pas aller avec vos déchets menagers. Les ulisateurs doivent par loi recycler les piles usagées. Pour une correcte éliminaon des piles, vous pouvez才知道 des bénéficiaires dans les magasins spécialisés ainsi que dans les installaons municipales de recyclage. C'est une contribution sérieuse à la protecon de l'environnement. Depuis 1998, le décret sur les piles demande
à tous les citoyens d'éliminer les piles seulement à travers ces magasins spécialisés ou installaons de recyclage (obligaon légale d'éliminaon). Les magasins spécialisés et les fabricants sont obligés d'accepter les piles usages de retard et de les réutiliser en suivant le décret ou de les éliminer en tant que déchets dangereux (obligaon légale de les accepter). Si vous désirez nous returner nos piles
usagées, vous pouvez nous les envoyer à notre adressé dans une enveloppe correctement mbrée.
Les piles qui doivent être équétés par loi sont fournies avec une des illustraons ci-dessous, c'est à dire une poubelle avec des roues barrée et le symbole chimique pour la catégorie de métaux lourds qui connennent des polluants. Le symbole chimique (Cd, Hg ou Pb) sera montré sous l'illustraon.
Le texte suivant peut se trouver sur les piles contenant des polluants:
Pb: La pile content du plomb
Cd: La pile content du cadmium
Hg: La pile content du mercure


CERTIFICAT DE GARANTIE
Le préSENT cercat de garane couvre les frais de service de votre apparéil pour une période de 24 mois à compter de la date d'achat, à condion que vous ayez ulisé l' apparéil correctement, conformément aux instrucons du mode d'emploi.
Les défauts survenus par suite d'une ulisaon incompetence, d'endommagements ou de tentaves de réparaons de ers ne sont pas couverts par la garane.
Les accessoires livrés avec l'appareil et autres pieces du produit qui s'usent normalement ne tombent pas sous la garane. Si vous désirez les renouveler, veuillez les commander sur le site internet www.muppa.nl.
Cet apparéil est uniquement dés né à l'usage domesque. Tout dommage et / ou toute panne causés par un usage professionnel sont exclus de la garane.
Vous pouvez faire jouer la garane dans les cas suivants:
Si l'appareil est ulisé conformément au mode d'emploi;
Si vous estes en possession d'un bon d'achat valable ou que celui-ci a n'etepas modie ou rendu illisible d'une maniere ou d'une autre;
Si des réparaons ont n'été pas eectuées par des ateliers de réparaoon non autorisés ou des personnes non habilitées à cet eet;
- Si le dommage n'est pas dû à une cause étrangère à l'appareil, comme par exemple un incendie, une inondaon, un accident de transport, des décharges atmosphériques, un entreen insusant ou incorrect.
Au cas où, malgré notre contrôle de qualité soigneux, l'appareil ne fonconnerait pas bien, vous pouvez faire appel à notre service après-vente.
Dans le but de vous éviter tout désagrément, nous vous conseillons de dire soigneusement le mode d'emploi avant de faire appel à nous.
Notice Facile