550CB - Chauffage DOVRE - Notice d'utilisation et mode d'emploi gratuit
Retrouvez gratuitement la notice de l'appareil 550CB DOVRE au format PDF.
| Caractéristiques techniques | Poêle à bois DOVRE 550CB, puissance nominale de 6 kW, rendement de 80%, capacité de chauffage jusqu'à 120 m². |
|---|---|
| Dimensions | Largeur : 550 mm, Hauteur : 600 mm, Profondeur : 400 mm. |
| Poids | Poids net de 130 kg. |
| Type de combustible | Bois (bûches jusqu'à 33 cm). |
| Utilisation | Chauffage d'appoint ou principal, idéal pour les espaces de vie. |
| Entretien | Nettoyage régulier du foyer et du conduit de cheminée, vérification des joints d'étanchéité. |
| Réparation | Réparation par un professionnel recommandé, pièces de rechange disponibles. |
| Sécurité | Conforme aux normes de sécurité en vigueur, protection contre la surchauffe. |
| Informations générales | Garantie de 5 ans, finition en fonte, design moderne et élégant. |
FOIRE AUX QUESTIONS - 550CB DOVRE
Questions des utilisateurs sur 550CB DOVRE
0 question sur cet appareil. Repondez a celles que vous connaissez ou posez la votre.
Poser une nouvelle question sur cet appareil
Téléchargez la notice de votre Chauffage au format PDF gratuitement ! Retrouvez votre notice 550CB - DOVRE et reprennez votre appareil électronique en main. Sur cette page sont publiés tous les documents nécessaires à l'utilisation de votre appareil 550CB de la marque DOVRE.
MODE D'EMPLOI 550CB DOVRE
kachelruitreiniger.14
schoorsteenbrand 4, 10, 12
ventilatie 4-5
Déclaration de conformité 3
Sécurité 4
Conditions d'installation. 4
Généralités 4
Cheminée 4
Ventilation de la piece 5
Sols et murs 6
Description produit
Installation 7
Preparation 7
Monter les pieds 7
Monter la poignee et le support de poignee (modèle 550CB).
Preparation du raccordement au conduit. de cheminee
Pose et raccordement 10
Utilisation 10
Premiereutilisation 10
Combustible 10
Allumage 10
La combustion au bois 11
Extinction du foyer 12
Décendrage 12
Brouillard et brume. 13
Résolution problèmes 13
Entretien 13
Conduit de cheminée 13
Nettoyage et autre entretien régulier. 14
Annexe 1: Spécifications techniques 16
Annexe 2 : Dimensions 17
Annexe 3 : Distance entre le poèle et les
matéraux combustibles 19
Annexe 4:Tableau de diagnostic.. 21
Index 22
Introduction
Chere utilisatrice, cher utiliser, En achetant ce poèle DOVRE, vous avez opté pour un produit de qualité. Ce produit fait partie d'une nouvelle génération d'appareils de chauffage ecologiques et économiques en énergie. Ces appleils utilisent de manière optimale la chaleur convective, ainsi que la chaleur rayonnante.
Viete poèle DOVRE est fabriqué avec les moyens de fabrication les plus modernes. Si vous rencontres un dernier qualconque sur votre apparéil, vous pouvez toujours faire appel au service Par les générées, DOVRE.
L'appareil ne doit jamais être modifié ; veuilles Dovre nv, Nijverheidsstraat -2381, B2381 Weelde, toujours utiliser des pieces d'origine. Belgique,declare
L'appareil est prevu pour etre place dans une piece d'habitation. Il doit etre raccordede façon hermetique a un conduit de cheminee fonctionnant que les poles a bois 425CB et 550CB ont etecorrectement et conforme aux normes en vigueur fabriqués conformement a la norme EN 13240.
Nous vous recommendons de faire appel à un chauffagiste agréé professionnel pour installer chez-vous appeareil. Weelde 16-09-2005
DOVRE decline toute responsabilité pour des problèmes ou des dommages dus à une installation incorrecte. T
Lors de l'installation et de l'utilisation, les consignes de sécurité décrites ci-après doivent toujours être respectées.
Ce mode d'emploi contient des informations concernant l'installation, l'utilisation et l'entretien en toute sécurité de l'appareil de chauffage DOVRE. Si vous souhaitez receivevoir des informations complémentaires ou des specifications techniques ou si vous rencontres un problème lors de l'installation, veuillez d'abord contacter votre distributeur.
© 2012 DOVRE NV
Les produits faisant I'objet d'une amélioration permanente, les specifications de l'appareil livre pourront diverger de celles mentionnées dans cette brochure sans avis préalable.
Belgique E-mail : info@dovre.be

Sécurité
Attention! Toutes les consignes de sécurité doivent être strictement respectées.
Avant d'utiliser votre poèle, lisez attentivement les instructions pour l'installation, l'utilisation et l'entretien.
L'appareil doit être installé conformément à la législation et aux prescriptions nationales.
Toutes les dispositions régionales et les dispositions concernant les normes européennes et nationales doivent être respectées lors de l'installation de l'appareil.
Lisez attentivement les instructions pour l'installation, l'utilisation et l'entretien fournies avec le poèle.
Nous vous recommendons de faire appel à un chauffagiste/agree pour installer votre apparéil. Ce spécialiste connait les dispositions et les réglementations en vigueur.
L'appareil est concu pour le chauffage. Toutes les surfaces, y compris la vitre et le conduit raccordement peuvent etre brulantes (plus de 100^ )! Pour manipuler l'appareil, portez toujours un gant résistant a la chaleur ou utilisez une poignee main froide.
Ne placez jamais de rideaux, vêtements, linges ou autres matières combustibles sur ou à proximé du poèle.
Lorsque votre poèle fonctionne, n'utilisez jamais de produits explosifs ou facilement inflammbables à proximé du poèle.
Prévenez tout départ de feu dans le conduit cheminée en faisant ramoner régulièrement le conduit concerné. Ne laissez jamais le feu brûler avec la porte du poèle ouverte.
En cas de départ de feu dans le conduit de cheminée: fermez les arrivées d'air du poële et appelez les pompiers.
Si la vitre du poèle est brisée ou fendue, la replacer avant d'utiliser à nouveau l'appareil.
Veillez à avoir une aération suffisante de la piece où se trouve le poèle. Une aération insuffisante peut engender une combustion incomplète et l'échévement de gaz toxiques dans la piece. Voir le chapitre « Conditions d'installation » pour de plus amples informations concernant l'aération.
Conditions d'installation
Généralités
L'appareil doit être raccordé à un conduit de cheminée fonctionnant correctement.
Pour les dimensions de raccordement : voir l'annexe « Spécifications techniques »
Informez-vous auprès d'un professionnel des pompiers et/ou de votreompagnie d'assurances un pour connaître les eventuelles exigences et bil. dispositions spécifiques.
Cheminée
de cheminée est nécessaire pour :
L'évacuation des gaz de combustion par tirage naturel.
L'air chaud dans la cheminée est plus léger que l'air extérieur et s'éleve donc dans le conduit de cheminée.
L'aspiration de l'air est nécessaire pour la combustion du combustible dans le poèle.
Une cheminée fonctionnant mal peut engendrer un retour de fumée lors de l'ouverture de la porte. Les dommages dus à un retour de fumée sont exclus de la garantie.
Il est interdit de raccorder plusieurs apparéils (la chaudière du chauffage central, par exemple) au même conduit de cheminée, sauf dans des cas précis prévus par la réglementation régionale ou nationale.
Demandez a votre chauffagiste des conseils concernant la cheminée. Consultez la norme europeenne EN13384 pour calculer correctement la configuration de la cheminée.
La cheminée doit satisfaire aux conditions suivantes :
La cheminée doit être fabriquée en matériaux réfractaires, de préférence en acier inoxydable ou en ceramique.
La cheminée doit être étanche, bien propre et garantir un tirage suffisant.
i
Un tirage/dépression de 15 - 20 Pa à l'allure nominale est idéal.
La cheminée doit être aussi verticale que possible en partant de la sortie de l'appareil. Les changements de direction et les sections horizontales perturbent l'évacuation des gaz de combustion et peuvent creer une accumulation de suie.
La section interieure du conduit ne doit pas etre trop importante,afin d'eviter un refroidissement trop important des gaz de combustion risquant de réduire le tirage.
La cheminée doit de préférence partager le moyen diamètre que le diamètre de la buse de raccordement.
i
Pour le diamètre nominal : voir l'annexe « Spécifications techniques ». Si le conduit de fumée est correctement isolé, le diamètre peut eventuèlement être plus important (au maximum deux fois la section de la buse de raccordement).
La section (surface) du conduit de fumée doit constante. Les élargissements et (plus particulièrement) les rétrécissements perturbent l'évacuation des gaz de combustion.
En cas de pose d'une mitre à la sortie de la cheminée : veillez à ce que la mitre ne réduise à la sortie d'évacuation de la cheminée et qu'elle ne perturbe pas l'évacuation des gaz de combustion.
La cheminée doit déboucher dans une zone non perturbée par des batiments, arbres ou autres obstaclesavoisinants.
La partie de la cheminée hors du toit doit toutj etre isolée.
La cheminée doit être d'au moins 4 metres de haut.
La regle de base est la suivante : 60 cm au-dessus du faitage du toit.
Si le faitage du toit est eloiigned de plus de 3 metres de la cheminée : respectez les dimensions indiquées sur le croquis suivant. A = point le plus haut du toit à une distance de 3 metres.

Ventilation de la piece
L'appareil a besoin d'air (oxygène) pour garantir une bonne combustion. L'appareil est alimenté en air de la pierce où il se trouve, par le biais d'admissions d'air réglables.
Un manque d'aération peut engendrer une combustion incomplète et des gaz toxiques peuvent se repandre dans la pierce.
La règle de base est que l'alimentation en air doit être de 5,5 cm²/kW. Une aération supplémentaire est nécessaire dans les cas suivants :
L'appareil est placé dans une piece correctement isolée.
Il existe une aération mécanique (VMC), un pasysteme d'aspiration central ou une hotte de une cuisine dans une cuisine americaine, par exemple.
Vous pouvez creer une aération supplémentaire en
placant une grille d'aération dans un mur donnant sur l'extérieur.
Veillez à ce que les autres apparèils utilisant l'air
1(Seche-linge, second appeareil de chauffage ou aérateur de salle de bain) aient une propre arrivée d'air extérieur ou soient eteints lorsque le poèle est allumé.
Sols et murs
Le sol sur lequel l'appareil sera posé, doit présente une capacité de charge suffisante. Pour connaître le poids de l'appareil : voir l'annexe « Spécifications techniques »

En cas de sol inflammable, posez une plaque de sol ininflammable pour le protégger contre la chaleur rayonnante. Voir l'annexe « Distance d'éloignement avec des matériaux inflammables »

Placez le matériel inflatable comme le linoleum, les tapis, etc, sous le hourdis ignifuge.

Veillez à ce qu'il y ait une distance suffisante entre l'appareil et les matériaux inflammables, tels que parois et mobilier en bois.

Le conduit de raccordement rayonne également de la chaleur. Assurez-vous qu'il y ait une distance ou une protection suffisante entre la conduite de raccordement et le matériel inflammable.
La regle empirique pour une conduite a simple paroi est une distance de trois fois le diametre. Si la conduite est gainee, la distance a 1.
respecter est d'une fois le diametre.

Les tapis doivent se trouver au moins à 80 cm du foyer. 3.

Si le sol devant le poèle est inflammable, 4. protegez-le avec un hourdis ignifuge, pour ques les cendres eventuelles ne le brulent pas. Le hourdis doit répondre aux normes nationales. 6.

Pour les dimensions du hourdis ignifuge : voir l'annexe « Distance d'éloignement avec des matériaux inflammables »

Pour toute autre exigence en matière sécurité contre l'incendie : voir l'annexe « Distance déloignement avec des matériaux inflammables »
Description produit

-
Registre d'air secondaire
-
Porte
- Pied régable
-
Registre d'air primaire
-
Corbeille
- Verrouillage
Charactéristiques de l'appareil
L'appareil est doté de pieds régables en hauteur.
L'appareil peut etre raccorde au conduit des fumées à l'arrière ou sur le dessus.
L'appareil est adapté pour brûler du bois.
L'appareil est fourni avec un pelle pour le décendrage.
L'appareil est fourni avec une poignée séparée en fonte, ladite « main froide » destinée à commander le verrouillage lorsque le poèle est chaud et à déposer le bac à cendres ; voir illustration suivante.

Caracteristiques complémentaires du modele 550CB
Cet apparéil est ajusté pour un raccordement sur le côté au conduit de cheminée, mais peut aussi être raccordé sur le dessus ou à l'arrière.
L'appareil est fourni avec une poignée détachedeite « main froide »
Pour ouvrir la porte, placez la main froide (A) l'embout de verrouillage (B) sur la porte ; voir illustration suivante.

Installation
Preparation
Contraler le poèle immédiatement à la réception en recherchant les dommages (de transport) et autres manquements éventuels.
En cas de manquements ou dommages (de transport) évientuelles constatés, n'utilise pas le poèle et informez le fournisseur.
Déposez les pieces non fixées (plaques interieures réfractaires, corbeille, bac à cendres, grille de combustion) de l'appareil avant d'installer ceur dernier.
Afin de faciliter la manipulation et de prévenir des endommagements, vous pouvez d'abord-retirer toutes les pieces non fixées de l'appareil.
Veillez bien à la position d'origine de ces pieces, afin de pouvoir les replacer correctement après l'installation.
- Ouvrez la porte.
- Deposez les plaques interieures refractaires.
Les plaques interieures en fonte protégent la chambre de combustion et transmettent la chaleur à l'environnement.
Monter les pieds
Montez les pieds de l'appareil ; voir illustration suivante.
- Montez les deux éléments des pieds à la hauteur souhaïée avec les boulons M6 fournis.
- Couchez le poèle sur son dos.
- Fixez les quatre pieds à la plaque de fond avec les rondelles et les écrous M8 qui se trouvent sur la plaque de fond.


Préparation du raccordement au conduit de cheminée
Lors du raccordement du poèle à un conduit de cheminée, vous avez lechioix entre un raccordement sur le dessus ou à l'arrière du poèle. Voir les paragraphs « Raccordement sur le dessus » et « Raccordement à l'arrière »
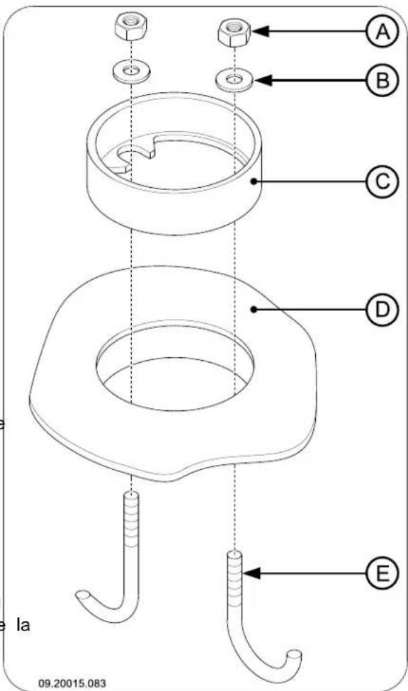
Monter la poignée et le support de poignée (modèle 550CB)
L'appareil est fourni avec une poignée détachée dit main froide »
- Fixer la poignée en bois avec la vis M8x50 four à la piece de réduction ; vois illustration suivant
Le modele 550CB a aussi une option de raccordement sur le cotoé. Voir le paragraphe « Raccordement sur le cotoé (modele 550CB) »

- Montez le support de poignée fourni (A) sur la plaque de fond avec le boulon et l'écrou M8; illustration suivante.
«À la livraison de l'appareil, aucune ouverture pour les gaz de fumée n'est présente. Le modele 550CB a toutes deux ouvertures pour les gaz de fumée sur le cote (une à gauche et une à droite). Si vous n'utilise pas un ou deux raccordements lateraux, vous doivent obturer le ou les raccordements lateraux non utilisés avec les couvercles de fermeture fournis.
Le modele 550CB est fourni avec deux couvercles defermeture comportant le logo Dovre.
Le kit d'étanchéisation et les matériels de fixation sont fournis.
Lors du raccordement à l'arrière, il est nécessaire de réaliser une ouverture dans le bouclier voirthermique. Une démarche est pratiquée dans le bouclier thermique à l'endroit où l'ouverture doit être faite.
Préparation pour un raccordement à l'arrière
Réalisez l'ouverture nécessaire dans le bouclier thermique.
- Retirez le bouclier thermique de l'appareil.
- RÉalissez l'ouverture dans le bouclier thermique avec une cisaille en decoupant la partie prédecoupée du bouclier.
- Replacez le bouclier thermique sur l'appareil.
Raccord sur le dessus ou à
Réalisez tout d'abord l'ouverture pour les gaz de fumée dans l'appareil en déposant le couvercle de raccordement. Utilisez l'outillage fourni : la piece de traction, la rondelle, le boulon et l'écrou ; voir illustration suivante.

- Percez un trou d'un diamètre de 10 mm dans le milieu du couvercle de raccordement.
- Placez la piece de traction avec le boulon à l'intérieur du couvercle de raccordement.
- Introduisez la rondelle sur le boulon et vissez l'écrou sur le boulon.

Sur les modeles émailées, placez un morceau de carton d'au moins 20 cm sur 20 cm entre rondelle et l'appareil pour protéger contre les projections d'email.
- Vissez à fond l'écrou à la main. Utilisez un peuGRAISE pour faciliter le serrage de I'ecrou.
Serrez avec une clé polygonale l'écrou jusqu'à ce que le couvercle de raccordement se détache.
- Une ouverture pour les gaz de fumee realizatione peut etre obturée avec le couvercle de fermeture. Utilisez la plaque en acier et le boulon M6x25 pour monter le couvercle sur I'appareil.

Pour le modele 550CB: obturez les deux ouvertures de gaz de fumée sur les cotes avec les couvercles de fermeture fournis et portant le logo Dovre.
- Montez la buse de raccordement (C) avec les
duy etriers fournis (E) et les matériels de fixation A et B sur l'ouverture pour les gaz de fumee D) ; voir illustration suivante.

de
- Utilisez le kit de poèle fourni pour l'étanchéité entre la buse de raccordement et le couvercle de fermeture du poèle.
Raccord sur le (:oté (modèle 550CB)
Le poèle est fourni avec une ouverture pour les fumée sur le côte gauche et droit.
- Montez la buse de raccordement (C) avec les deux étriers fournis (E) et les matériels de fix (A) et (B) sur l'ouverture pour les gaz de fun (D); voir illustration suivante.
- Obture l'ouverture des gaz de fumée qui n'est pas utilisée avec l'un des couvercles de fermeture fournis et portant le logo Dovre. Utilisez les matériels de fixation fournis.
- Utilisez le kit de poèle fourni pour l'étanchéité entre la buse de raccordement et le couvercle fermeture du poèle.
Pose et raccordement
- Placez l'appareil à l'endetroit approprié, sur un sol plat et de niveau.
- Raccordez hermétiquement l'appareil au conduit de cheminée.
- Remontez toutes les pieces déposées à l'endetroit approprié sur l'appareil.
Ne faites jamais fonctionner votre apparéil si les plaques interieures réfractaires ne sont pas montées.
L'appareil est à prisent prét pour l'emploi.
Utilisation
Première utilisation
Lorsque vous utilisez le poèle pour la première fois faites un feu intensif pendant quelques heures. Ce durcira la laque résistante à la chaleur. Cela peut toutefois générer de la fumée et une odeur incommodante. Ouvrez eventuèlement quelques minutes les portes et les fenêtres de la pièce dans laquelle se trouve le poèle.
Combustible
Ce poèle est uniquement adapté pour brûler du naturel, scié et fendu et suffisamment sec.
N'utilisez jamais d'autres combustibles que celui prévu pour le poèle, car ils risquent d'endommager irrémédiablement le poèle.
Le des combustibles suivants ne doivent jamais être utilisés car ils sont polluants, et peuvent encrasser intensivement l'appareil et le conduit de cheminée et engendrer un départ de feu dans le conduit de cheminee :
Bois traités, tels que bois de démolition, bois peint, bois imprégné, bois conservé, contreplaqué et sure agglomeré.
Plastique, vieux papier et déchets menagers.
Bois
Utilisez de préférence du bois dur provenant d'essences feuillues telles que le chêne, le hêtre, le boureau et les arbres fruitiers. Ces bois brûlent lentement avec des flammes douces et régulières. Le bois de conifères contient plus de résine, brûle plus rapidement et produit plus d'étincelles.
Utilisez du bois sec d'un pourcentage maximum d'humidité de 20% . Pour cela le bois doit avoir sechépendant 2 ans au moins.
Sciez le bois à la mesure et fendez-le lorsqu'il est encore vert. Le bois vert se fend plus facilement et le bois fendu sèche mieux. Stocker le bois sous un auvent où le vent peut circuler.
N'utilisez pas de bois mouillé. Le bois mouillé donne moins de chaleur car toute l'énergie va être consacré à l'évaporation de l'humidité. Cela produit également beaucoup de fume et des dépôts de suie sur la porte du poële et dans le conduit de cheminée. La vapeur d'eau se condense dans le poële et peut provoquer des fuites le long des joints du poële et des tâches noires sur le sol, de la pierce. La vapeur d'eau peut aussi se feu condenser dans le conduit de cheminée et former de la créosote. La créosote est extrémement inflammable et peut produit un départ de feu dans la cheminée.
Allumage
Vous pouvez vérifier le tirage de la cheminée en allumant une boule de papier au-dessus du déflecteur du poèle. Si la cheminée est froide, le tirage dans le conduit de cheminée est souvent insuffisant et la
fumée peut se repandre dans la piece. Procedez comme suit pour allumer le poèle afin de prévenir risque d'enfumage de la piece.
- Empilez deux couches de buches de taille moyenne l'une sur l'autre en les croisant.
- Empilez sur les buches deux couches de bois d'allumage l'une sur l'autre en les croisant.
- Posez un allume-feu dans la couche inférieure de bois d'allumage et allumez-le en suivant les instructions sur son emballage.


La combustion au bois
Après avoir suivi les instructions pour faire un feu d'allumage :
-
Ouvrez lentement la porte du poèle.
-
Fermez la porte du poèle et ouvrez l'arrêtée d'air primaire et l'arrêtée d'air secondaire du poèle ; voir Étalez uniformément le lit de braises dans le fond l'illustration suivante. du poèle.
- Laissez le feu d'allumage brûler bien fort jusqu'à3. Empilez quelques bùches sur le lit de charbon de ce que le bois fasse un lit de braises ardentes. bois.
Vouss poez ensuite metre un peu plus de bois et rcler le peoie yoir la paragraphe " La combustion
au bois

Quand le bois est empilé non serré, il brûlera vite du fait que l'oxygène pourrait atteindre facilement chaque bùche. Un empilage de cette façon est recommendé si vous souhaitez chauffer pendant une période courte.
Empilage serré

Quand le bois est empilé serré, il brûlera plus lentement du fait que l'oxygène ne pourra atteindre que quelques bùches. Un empilage serré est recommendé si vous souhaitez chauffer pendant un longue période.
- Fermez la porte du poèle.
- Fermez l'arrivée d'air primaire et laissez l'arrivée d'air secondaire ouverte.

Remplissez au maximum un tiers du volume total du corps de chauffe.
Conseils

Ne laissiez jamais le feu brûler avec la porte poèle ouverte.

Faites régulierrement un feu bien vif dans le poèle.
Lorsque I'on brule du bois pendant une longu.
periode a faible regime, il peut se former dar.
la cheminée des depots de goudron et de creosote. Le goudron et la creosote sont
extrement inflammables. Quand ces depots deviennent trop importants, une augmentation
subite de la température de la cheminée peut provoquer un feu dans le conduit de cheminée. C'est pourquoit il est recommandé de faire régulièrement un feu bien vif, afin de faire disparaître ces dépôts eventuels de goudron et créosote.
En outre, en cas de feu trop faible, du goudron peut se déposer sur la vitre et la porte du poèle. En cas de température extérieure douce, il est préféable de faire un bon feu vif pendant quelques heures,只不过 que de faire fonctionner le poèle avec un feu faible pendant une longue période.
- Reglez l'admission d'air avec l'arrivée d'air secondaire.

L'arrivée d'air secondaire oxygène non seulement le feu, mais « balaye » aussi la vitre ce qui prévient son encrassement prematuré.
Ouvrez temporairement l'arrivée d'air primaire si l'admission d'air par l'arrivée d'air secondaire est insuffisante ou si vous souhaitez raviver le feu.
- Remplir régulierement avec une petite quantité de buches de bois est moins que de remplir avec une grossse quantité de buches d'un coup.
Extinction du foyer
N'ajoutez plus de combustible et laissez le foyer s'eteindre de lui-même. Si la puissance du feu est diminuée en réduisant l'alimentation d'air, des gaz toxiques se dégagent. Pour cette raison, laissez toujours le foyer s'eteindre de lui-même. Surveillance le feu jusqu'à ce qu'il soit totalement éteint. Une fois le feu totallement éteint, vous pouvez fermer tous les registres d'air.
Décendrage du
Après la combustion du bois, une quantité de cendres reliativement réduite resté dans le poèle. Ce lit de cendres est un excellent isolant pour le fond du poèle et garantit une meilleure combustion. De ce fait, il est recommandé de laisser une fine couche de cendres sur le fond du poèle.
L'alimentation en air par le fond du poèle ne doit toutefois pas etre perturbée et il faut prévenir toute accumulation de cendres derriere la plaque interieure.
en fonte. Il faut donc éliminer régulièrement les cendres excédentaires.
L'appareil est doté d'une grille de décendrage destinée à retarder le surplus de cendres.
- Ouvrez la porte de l'appareil.
- Ouvrir la grille de décendrage (A) en la faisant coulisser ; voir les deux illustrations suivantes.


- Avec la raclette, poussez la cende excédante au travers du volet de décendrage dans le bac cendres situé en-dessous.
- Refermez la grille de décendrage.
- Retirez le bac à cendres en utilisant la main froide, fournie et videz le bac à cendres ; voir illustration suivante.

- Replacez le bac à cendres et fermez la porte de l'appareil.
Brouillard et brume
Le brouillard et la brume perturbent l'évacuation des gaz de combustion au travers du conduit de cheminée. La fumée peut être rabattue dans la pièce et doivent très incommodante. S'il n'est pas juste nécessaire de chauffer avec le poèle, il est recommendé de ne pas faire de feu en cas de brume ou brouillard.
Résolution problèmes
Consulter l'annexe « Tableau de diagnostic » pour résoudre des problèmes éventuels pendant l'usage du poèle.
Entretien
Pour conserver votre apparéil en bon état, suívez les instructions d'entretien représentées dans ce chapitre.
Conduit de cheminée
Dans de nombreux pays, la loi impose le contrôle et l'entretien par un professionnel des conduits de cheminée.
Au début de la salle de chauffe: faites ramoneriveurconduitdecheminéeparunspecialisteagreeé.
Pendant la saison de chauffe et après une longue période d'inutilisation de la cheminée : faites contrcler les depots eventuels de suie dans le conduit de cheminée.
A la fin de la salle de chauffe: bouche le condit Ne faites jamais fonctionner votre apparéil si de cheminée avec du papier journal. les plaques interieures refractaires ne sont pas
Nettoyage et autre entretien régulier

Ne nettoyez pas votre poèle si celui-ci est encore chaud.
Dépose du déflecteur
Le déflecteur est fixé avec un boulon qui se trouve entre le raccordement arrêté et le tube de l'air secondaire. Le boulon est fixé au déflecteur.
Nettoyez l'extérieur du poèle avec un chiffon sec 1et Déposez l'écrou à l'arrière ; voir illustration non pelucheux. suivante.
À la fin de la salle de chauffe, vous pouvez nettoyer l'intérieur de l'appareil comme suit :
Déposez éventuellesment tout d'abord les plaques interieures refractaires.
Nettoyez eventuelflement les conduits d'alimentation en air.
Déposez le déflecteur qui se trouve au-dessus de l'appareil et nettoyez-le. Voir le chapitre « Installation » pour consulter les instructions concernant la dépose et le remontage des plaques interieures.
Contrôle des plaques interieures refractaires
Les plaques interieures réfractaires sont des pieces sujettes à l'usure. Contrôlez régulièrement les plaques interieures et remplacez-les si nécessaire.
Voir le chapitre « Installation » pour consulter les instructions concernant la dépose et le remontage des plaques interieures.

Les plaques interieures en vermiculite isolantes peuvent partager des craquelures. Ces dernières ne nuisent cependant pas à la bonne fonction des plaques.
- Tirez le deflecteur vers l'avant afin de libreter le boulon à l'arrière.
- Déposez le déflecteur par la porte avant.
Nettoyage du verre

Le plaques interieures en fonce ont une durée de vie plus longue si vous retirez requisément Procedez comme suit :
la cendre qui s'accumule eventuellement 1.
derriere. Si la cendre accumulée derrière une
plaque en fonte n'est pas retiree, la plaque ne
peut pas rayonner la chaleur dans 2.
I'environnement et risque de se deformer ou se
fendre.
- Éliminez la poussière et la suite avec un chiffon sec.
2.Nettoyez le verre avec un nettoyant pour vitres de se poèle : a.Appliquez du nettoyant pour vitres de poèle sur une eponge, repartissez-le sur toute la surface
en verre et laissez agir.
b. Éliminez ensuite la poussière avec un chiffon humide ou de l'essuie-tout.
- Nettoyez une nouvelle fois la surface en verre avec un produit ordinaire de nettoyage du verre.
- Nettoyez la surface en verre en la frottant avec chiffon sec ou de l'essuie-tout.

N'utilisez jamais de produits abrasifs ou mordants pour nettoyer la surface en verre.
- Portez des gants de nettoyage pour protégger vos mains.
Réparation de la couche de finition
Les petits dommages de la laque peuvent etre réparés avec un aérosol de laque spéciale résistant à la chaleur et disponible auprès de votre fournisseur.

Si la vitre du poèle est brisée ou fendue, il la replacer avant d'utiliser à nouveau l'appareil.

Veillez à ce que le nettoyant pour vitres de poèle ne s'infiltrre pas entre le verre et la po en fonte.
Entretien poèle émailé
Ne nettoyez jamais le poèle lorsqu'il est encore chaud. Il est préférible de nettoyer la surface émai du poèle avec du savon vert doux et de l'eau tiède Utilisez le moins d'eau possible, séchez bien la surface et évitez toute formation de rouille. N'utilisez jamais de laine d'accier ou tout autre abrasif. Ne pla jamais directement une bouilloire sur un poèle émailé; utiliser un dessous afin d'éviter d'endommager le poèle.
Graissage
Bien que la fonte soit un métal autolubrifiant, vous nevez régulièrementGRAisser les pièces mobiles.
Graissez les pièces mobiles (telles que systèmes de guidage, charnières, verrous et réglettes d'air), avec de laGRAISSINE INFLAMMBABLE disponible dans commerce spécialisé.
Régler le registre d'air
Si le registre d'air (C) de l'arrivée d'air secondaire est difficile à déplacer, vous pouvez le régler en utilisant les deux vis (A) et (B) se trouvant dans la plaque avant ; voir illustration suivante.
Finition de la surface émaillée
L'émailage est un procédé artisanal. Le poèle peut donc présente de petites différences de couleurs ou de petites imperfections. Un contrôle visuel du poèle rest effectué à l'usine. Le contrôleur observe la surfacependant 10 secondes à une distance de 1 metre. Les petites imperfections eventuelles qui ne sont pas visibles sont le cas échéant considérées comme acceptables. L'appareil est livré avec une laque de finition spéciale résistante à la chaleur et destinée à réparer les petits endommagements (dus au transport).
Appliquez en fines couches et laissez secher Zentrement la laque de finition résistante à la chaleur avant d'utiliser votre poèle.
Contrôle de l'étanchéité
Vérifiez que le cordon d'étanchéité de la porte isole bien hermétiquement. Le cordon d'étanchéité s'use et doit être remplaced à temps.
- Recherche les fuites d'air eventuelles de l'appareil. Mastique les interstices eventuels avec du kit pour poèle.
Avant d'allumer le poèle, laissez bien secher le kit qui autrement gonflera à cause de l'humidité qu'il contient, provoquant une nouvelle fuite d'air.
Annexe 1 : Spécifications techniques
| Modèle 425CB et 550CB | |
| Puisance nominale 8 kW | |
| Raccordement conduit de cheminée (diamètre) 150 mm | |
| Poids +/- 115 kg | |
| Combustible recommends Bois | |
| Caracteristique combustible, longueur max. 40 cm | |
| Débit massique des gaz de fumée 5,6 g/s | |
| Augmentation de la température mesurée à la section de mesure | 257 K |
| Température mesurée à la sortie du poële | 415 |
| Tirage minimum | 13 Pa |
| Emission CO (13 %)O | 0,09 % |
| Emission NOx (13 %)O | 140 mg/Nm3 |
| Emission CnHm (13 %)Q | 114 mg/Nm3 |
| Emission de poussières | 36 mg/Nm3 |
| Emission de poussières selon NS3058-NS3059 | 8,28 g/kg |
| Rendement | 78,8 % |
Annexe 2 : Dimensions
425CB



09.20017.009
550CB



09-00085-000_550CB
Annexe 3 : Distance entre le poèle et les maté combustibles
425CB et 550CB - Distances minimales en millimétres

| * Tuya | de raccordement protégé (isolé) |
| Matériau combustible | |
| Matériau incombustible 100 mm |
425CB et 550CB - Dimensions hourdis ignifuge

Dimensions minimales du hourdis ignifugé
| A (mm) | B (mm) | |
| Din 18891 500 300 | ||
| Allemagne 500 300 | ||
| Finlande 400 100 | ||
| Norvège 300 100 |
Annexe 4 : Tableau de diagnostic
| Problème | ||||
| ● | Le bois ne continue pas à brûler | |||
| ● | Dégage une chaleur insuffisante | |||
| ● | Retour de fumée lors du replissage du poège | |||
| ● | Le feu est trop vif, impossible de bien régler le poège | |||
| ● | Dépôt sur la vitre | |||
| cause possible solution éventuelle | ||||
| ● | ● | ● | ● | Tirage insuffisant |
| ● | ● | ● | ● | Le bois est trop humide Utilisez du bois à 20 % d'humidité maximum. |
| ● | ● | ● | ● | Dimensions du boistrop importantes |
| ● | ● | ● | ● | Le bois est mal empilé |
| ● | ● | ● | ● | Mauvais fonctionnement de la chiminé |
| ● | ● | ● | ● | Sortie de la chiminée inadéquate |
| ● | ● | ● | ● | Réglage inadéquat des registres d'air |
| ● | ● | ● | ● | Raccordement inadéquat du poège au conduit de chiminée |
| ● | ● | ● | ● | Dépression dans la piece où le poège installé |
| ● | ● | ● | ● | Alimentation insuffisante en air frais |
| ● | ● | ● | ● | Conditions météorologiques défavorables ? Inversion (flux d'air inversé dans la chiminée du fait d'un température extérieure élevée), fortés rafales de vent |
| ● | ● | ● | Courant d'air dans la pièce | |
| ● | ● | ● | Les flammes touchent la vitre | |
| ● | ● | ● | De l'air s'échappe du poège | |
Index
A
Aération du feu 12
Alimentation en air extérieur raccordement a.10
Allumage.10
Arrivee d'air extérieur 5
Arrivee d'air primaire..11.
Arrivee d'air secondaire 11
Arrivées d'air.11 réglage.15
Augmentation de la températe section de mesure 16
Avertissement
aération 4 conditions d'assurances.4 consignes
départ de feu dans le conduit de chemin
feudansleconduit defumee. 10
matériaux combustibles 4
nettoyant pour vitres de paèle. 15
plaques intérieures refractaires 10
surface brulante. 4
ventilation 5
vitre brise ou fendue. 4, 15
B
bacà cendres ouverture 13
Bois. 10
conservation 10
essence adaptée. 10
mouillé 10
ne brule pas. 21
sechage 10
Bois d'allumage 21
Bois de conifères 10
Bois mouillé 10
Bouclier thermique dépose. 9
faire une ouverture. 8
réalisation d'une ouverture. 9
- Brouillard, ne pas faire de feu 13
Brume, ne pas faire de feu. 13
Buse de raccordement montage 9-10
C
Capacité de charge du sol 6
Chaleur,insuffisante. 13,21
Cheminée conditions 5
hauteur 5
raccordement a.10
Combustible
adapté 10
inadapté 10
quantité nécessaire 13
replissage 12
Combustible adapté 10
Combustible inadapte 10
Combustion 11
chaleur insuffisante 13, 21
feu trop vif. 21
impossible de bien régler le poète 21
replissage du combustible. 11
replissage en combustible. 12
Conditions meteorologiques, ne pas faire de feu 13
Conduit de cheminée diamètre de raccordement 16
entretien 13
Cordon d'etanchéité de la porte. 15
Couche de finition, entretien 15
Couvercle de fermeture logo 8,10
Couvercle de raccordement dépose 9
Creosote 12
D
débit massique 16
Décendrage 12
Déflecteur dépose 14
Dimensions 17
E
Élimination
cendres 12
Élimination des cendres 12
E
Emission de poussières 16.
Empilage desbuches.11
Entretien conduit de cheminée 13.
étanchéité .15.
graisage .15.
nettoyage du poèle .14.
nettoyage du verre .14.
plaques interieures refractaires .14.
Eteindre le foyer 12
F
Feu allumage.10
Feudallumage 10
Foyer extinction 12
Fuite d'air. 15
Fumée lors de la première utilisation. 10
G
Gaz de fumée 16
Goudron 12
Graissage 15
Graisse pour graissage 15
Grille de ventilation. 5
H
Hauteur de replissage du poèle. 12
1
Interstices dans l'appareil. 15
L
Laque. 10
M
Matériau combustible replissage 12
Matériaux combustibles distance entre 19
Mitre de cheminée 5
Mitre sur la cheminée 5
Murs
s.ecuitre incendie 6
N
Nettoyage poèle 14 verre 14
nettoyant pour vitres de poèle. 14
0
ouverture bac a cendres 13
ouverture pour les gaz de fumée fermeture 9
P
Pelle pour descendrage 6
Piedsmontage 7
Plaques intérieures refractaires
avertissement 10
entretien. 14
Poids 16
Poignée montage 8
Porte cordon d'étanchéité 15
Prévention d'un départ de feu dans le conduit 12
Problèmes eventuels 13
Puissance nominale. 13, 16
R
Raccord à la cheminée
arrière 9
côté 10
dessus 9
Ramonage du conduit de cheminée 13
Réglage de l'arrivée d'air. 12
Remplissage en combustible 12
Remplissage en matière combustible
retour de fumée 21
Rendement.16.
Résolution de problèmes 21
Retour de fumée.4,21
s
Sechage du bois.10
Sécurité incendie
distance entre poèle / matérielux combustibles19
meubles 6
murs.6
sol.6
Sols
capacité de charge 6
sécurité incendie.6
stockage du bois 10
Support de poignée
montage 8
T
Tapis. 6
Température 16
Tirage 16
V
Ventilation 5
reglede base. 5
Verre
depôt 21
nettoyage 14
Vitres
dépôt 21
nettoyage 14
Inhaltsverzeichnis
Einleitung 3
Notice Facile