550CB - Heizung DOVRE - Kostenlose Bedienungsanleitung
Finden Sie kostenlos die Bedienungsanleitung des Geräts 550CB DOVRE als PDF.
Häufig gestellte Fragen - 550CB DOVRE
Benutzerfragen zu 550CB DOVRE
0 Frage zu diesem Gerät. Beantworten Sie die, die Sie kennen, oder stellen Sie Ihre eigene.
Eine neue Frage zu diesem Gerät stellen
Laden Sie die Anleitung für Ihr Heizung kostenlos im PDF-Format! Finden Sie Ihr Handbuch 550CB - DOVRE und nehmen Sie Ihr elektronisches Gerät wieder in die Hand. Auf dieser Seite sind alle Dokumente veröffentlicht, die für die Verwendung Ihres Geräts notwendig sind. 550CB von der Marke DOVRE.
BEDIENUNGSANLEITUNG 550CB DOVRE
Kachelruitenreiniger 14
Mist, nicht stoken. 13
Muren brandveiligheid. 6
N
Naaldhout. 10
Nat hout.10
Nevel, nicht stoken 13
Nominal vermogen.13..16
0
Onderhoud
afdichting 15
glas schoonmaken.14.
schoorsteen 13
smeren.14.
toestel schoonmaken 13
vuurvaste binnenplaten.13
Ongeschikte brandstof 10
Ontassen 12
Opensn aslade 13
Opslag van hout 10
P
Konformitätserklarung 3
Sicherheit 4
Installationsbedingungen.4
Allgemeines 4
Schornstein 4
Belüftung des Raums 5
Boden und Wände 6
Produktbeschreibung.6
Installation 7
Vorbereitung.7
Montage der Beine 7
Montage von Handgriff und Handgriffhalter 8
(Modell 550CB)
SchornsteinanschlussVBoreiten 8
Aufstellen und anschlieben 10
Inbetriebnahme 10
Erste Inbetriebnahme. 10
Brennstoff 10
Anzünden 11
Heizen mit Holz 11
Löschen des Feuers. 12
Entaschen 12
Nebel 13
Eventuelle Probleme. 13
Wartung 13
Schornstein 13
Reinigung und andere regelmäßige.
Wartungsarbeiten 14
Anlage 1: Technische Daten. 16
Anlage 2: Abmessungen 17
Anlage 3: Abstand zu brennbarem Material. 19
Anlage 4: Diagnoseschema. 21
Index 22
Einleitung
Sehr geehrte(r) Benutzer(in),
Mit dem Kauf theses Heizgerats von DOVRE haben Sie sich für ein hochwertiges Produkt entschieden.
Dieses Produkt gehört zu einer neuen Generation energiesparender und umweltfreundlicher Heizgeräte.
These Geräte nutzen sowohl Konvektionswärme als auch Strahlungswärme.
Konformitätserklarung

Benachrichtigte Behörde: 2013
Ihr DOVRE-Gerät wurde mithilfe der modernsten Produktionsmittel gefertigt. Sollte Ihr Gerät wider Hiermit erklart Erwarten dennoch einen Mangel aufweisen, können Sie sich jederzeit an den DOVRE-Service wenden. Dovre nv, Nij
Das Gerat darf nicht verändert werden; verwenden Sie stets Original-Ersatzteile.
Das Gerät ist zum Aufstellen in einem WohnraumEN 13240 produziert werden. gedacht. Es muss hermetisch damit an einen gut Funktionierenden Schornstein angeschlossen werden. Weelde 16-09-2005
Wir empfehlen, das Gerät durch einen qualifizierten Techniker installieren zu halten.
DOVRE übernimmt keinerlei Haftung für Probleme oder Schäden, die auf eine inkorrekte Installation zurückzuführen sind.
Bei Installation und Verwendung müssen die nachfolgend aufgeführten Sicherheitsvorschriften beachtet werden.
These Anleitung erläutert, wie Sie das DOVRE-Heizgerät sicher installieren, verwenden und warten. Wenn Sie weitergehende Informationen und technische Daten benötigen oder ein Installationsproblem haben, wenden Sie sichitte zuerst an ihren Lieferanten.
© 2012 DOVRE NV

Da die Produkte kontinuierlich verbessert werden, können die Spezifikationen des gefelften Geräts ohne vorherige Ankündigung von den Angaben in dieser Broschüre abweichen.
DOVRE N.V.
Nijverheidsstraat 18 Tel.: +32 (0) 14 65 91 91
B-2381 Weelde Fax: +32 (0) 14 65 90 09
Belgien E-Mail: info@dovre.be

Sicherheit
Achtung! Alle Sicherheitsvorschriften müssen strikt eingehalten werden.
Lesen Sie die Anleitungen zu Installation, Inbetriebnahme und Wartung sorgfältig durch, bevor Sie das Gerät in Betrieb fühmen.
Das Gerät muss gemäß den in Ihr dem Land geltenden gesetzlichen Bestimmungen installiert werden.
Alle lokalen Bestimmungen sowie Bestimmungen aufgrund von EU-Normen müssen bei der Installation des Geräts beachtet werden.
Lesen Sie die Anleitungen zu Installation, Inbetriebnahme und Wartung, die dem Gerät beiliegen.
Vorzugsweise sollte das Gerät von einem dazu befugten Techniker installiert werden. Diese kennt alle geltenden Bestimmungen und Vorschriften.
Das Gerät wurde zu Heizungszwecken entwickelt. Alle Oberflächen, einschließlich Glas und Anschlussrohr, können sehr heißt werden (mehr als 100^ ! Verwenden Sie bei der Bedienung eine "kalte Hand" oder hitzebestandige Handschuhe.
Legen Sie keine Gardinen, Kleider, Wäschstücke oder andere brennbare Materialien auf oder neben das Gerät.
Verwenden Sie während des Betriebs Ihres Geräts keine leicht entflammbaren oder explosiven Materialien in der Nähe des Gerät
Lassen Sie den Schornstein regelmäßig reinigen, um Schornsteinbrände zu verhindern. Heizen Sie niemals mit geöffneter Tur.
Bei einem Schornsteinbrand: Schließen Sie die Lufteingänge des Geräts, und rufen Sie die Feuerwehr.
Wenn das Glas des Geräts gebrochen oder gesprungen ist, muss diese Glas ausgetauscht werden, bevor das Gerät erneut in Betrieb genommen wird.
Sorgen Sie für eine ausreichende Ventilation in dem Raum, in dem das Gerät aufgestellt ist. Bei nicht ausreichender Ventilation ist die Verbrennung nur unvollständig, wodurch sich giftingige Gase in dem Raum ausbreiten konnen. Vgl. das Kapitel "Installationsbedingungen" für weitere Informationen zur Ventilation.
Installationsbedingungen
Allgemeines
Das Gerät muss hermetisch dicht an einen gut Funktionierenden Schornstein angeschlossen werden.
Fur den Anschluss: vgl. die Anlage "Technische Daten".
Informieren Sie sich bei der Feuerwehr und/oder bei ihrer Versicherungsgesellschaft nach eventuellen speziellen Bedingungen und Vorschriften.
Schornstein
Der Schornstein ist erforderlich für:
Die Abfuhr von Verbrennungsgasen durch natürlichen Abzug.
Die warme Luft in dem Schornstein ist leichter als die Außenluft und steigt dazu nach oben.
Das Ansaugen von Luft, erforderlich für die Verbrennung der Brennstoffe in dem Gerät.
Ein nicht korrekt Funktionierender Schornstein kann zu Rauchrückschlagen beim Offnen der Tur führen.
SSchaden durch Rauchrückschlag fallen nicht unter die Garantie.
Schlieben Sie nicht mehrere Geräte (etwa noch einen Zentralheizungskessel) an denselben Schornstein an, es sei dann, lokale oder landesweite Gesetze{lassen dies zu.
Fragen Sie ihren Installateur nach einer Beratung zu Ihrem Schornstein. Konsultieren Sie die EU-Norm EN13384 für die korrekte Berechnung Ihres Schornsteins.
Der Schornstein muss die folgenden Bedingungen erfüllen:
Der Schornstein muss aus feuerfestem Material bestehen, vorzugsweise aus Keramik oder Edelstahl.
Der Schornstein muss luftdicht und gut gereinigt sein und vollständigen Zug garantieren.

Ein Zug/Unterdruck von 15 - 20 Pa während der normalen Belastung ist ideal.
Der Schornstein muss - vom Ausgang aus dem Gerät ab - so vertikal wie möglich verlaufen. Richtungsänderungen und horizontale Teilstücke stären den Abzug der Verbrennungsgase und führen möglicherweise zu Rauchansammlungen.
Die Innenmaße des Schornsteins dürfen nicht zu groß sein, um zu vermeiden, dass sich die Verbrennungsgase zu stark abkühlen und dadurch den Zug beeinträchtigen.
Der Schornstein sollte nach Möglichkeit den gleichen Durchmesser aufweisen wie das Anschlussstück.

Für den nominalen Durchmesser vgl. die Anlage "Technische Daten". Wenn der Rauchkanal gut isoliert ist, kann der Durchmesser eventuell etwas großer sein (max. zweimal so groß wie der des Anschlussstücks).
Der Abschnitt (die Oberfläche) des Rauchkanals muss konstant sein. Änderungen und (vor allem) Verengungen stären die Abfuhr der Verbrennungsgase.
Bei Verwendung einer Regenhaube auf dem Schornstein: Achten Sie darauf, dass die Haube nicht die Mündung des Schornsteins verengt, und dass sie nicht die Abfuhr der Verbrennungsgase befindert.
Der Schornstein muss in einem Bereich munden, der nicht durch umliegende Gebäude, in der Näh stehende Bäume oder andere Hindernisse befindert wird.
Der Teil des Schornsteins, der außerhalb der Wohnung liegt, muss isoliert sein.
Der Schornstein muss mindestens 4 Meter hoch sein.
Als Faustregel gilt: 60 cm oberhalb des Dachfirsts.
Wenn der Dachfirst mehr als 3 Meter vom Schornstein entfernt ist: halten Sie die in der folgenden Abbildung angegebenen Maße ein. A = der höchste Punkt des Daches innerhalb eines Abstands von 3 Metern.

Belüftung des Raums
Für eine gute Verbrennung besteht das Gerät Luft (Sauerstoff). Die Luft wird über einstellbare Lufteinlassöffnungen aus dem Raum, in dem das Gerät aufgestellt ist, angeführrt.

Bei nicht ausreichender Ventilation ist die Verbrennung nur unvollständig, wodurch sich giftingige Gase in dem Raum ausbreiten konnen.
Eine Faustregel ist, dass die Luftzufuhr 5,5cm^2 /kW betragen muss. Eine zusätzliche Ventilation ist erforderlich:

inn das Gerät in einem gut isolierten Raum.
Wenn eine mechanische Ventilation verwendet wird, etwa durch ein zentrales Absaugsystem oder eine Abzugkappe in einer offenen Kuche.
- Sie können für zusätzliche Ventilation sorgen, indem sie in der Außenwand ein Ventilationsgitter einbauen laßen.
Sorgen Sie davon, dass andere Luft verbrauchende Geräte (eita ein Wäschetrockner, andere Heizgeräte oder ein Badezimmerventilator) über eine eigene Außenluftzufuhr verfügen, oder ausgeschaltet sind, wenn das Gerät in Verwendung ist.

Boden und Wände
Der Boden, auf dem das Gerät aufgestellt wird, muss über ein ausreichendes Tragvermögen verfügen. Für das Gewicht des Geräts vgl. die Anlage "Technische Daten".

Schützen Sie brennbare Böden mithilfe einer feuerfesten Bodenplatte gegen Wärmeausbreitung. Vgl. die Anlage "Abstand zu brennbarem Material".

Entfernen Sie brennbare Materialien, wie etwa Linoleum, Teppich usw. unter der feuerfesten Bodenplatte.

Sorgen Sie für ausreichenden Abstand zwischen dem Gerät und brennbaren Materialien, wie etwa hölzernen Wänden und Möbeln.

Auch das Anschlussrohr strahlt Wärme ab.
Sorgen Sie für ausreichenden Abstand bzw.
Abschirmung zwischen dem Anschlussrohr und brennbaren Materialien.
Die Faustregel für ein einwandiges Rohr ist Abstand, der das Dreifache des Rohrdurchmessers beträgt. Wenn das Rohr von einer Schutzschale umhüllt ist, ist ein Abstand, der dem Rohrdurchmesser entspricht, vertretbar.

Zwischen Teppichen und dem Feuer muss ein3 Mindestabstand von 80 cm gewahrt bleiben.

Schützen Sie brennbare Böden vor dem Ofen5 mithilfe einer feuerfesten Bodenplatte gegen eventuell Herausfallende Asche. Die 6 Bodenplatte muss den in Ihr dem Land gültigen gesetzlichen Normen entsprechen.

Für die Abmessungen der feuerfesten Bodenplatte: Vgl. die Anlage "Abstand zu brennbarem Material".

Für weitere Anforderungen im Zusammenhang mit der Brandsicherheit: Vgl. die Anlage "Abstand zu brennbarem Material".
Produktbeschreibung

- Sekundäre Luftklappe
-
Tur
-
Verstellbares Bein
-
Primäre Luftklappe
-
Feuerkorb
- Riegel
Merkmale des Geräts
Das Gerat verfügt über hohenverstellbare Beine.
Das Gerat kann an der Rückseite oder der Oberseite an den Schornstein angeschlossen werden.
Das Gerät ist zum Heizen mit Holz geeignet.
Das Gerat wird mit einer Zugschaufel zum Entfern den Asche geliefert.
Das Gerät wird mit einem losen Handgriff, der so genannten "kalten Hand" gefelwert, damit der Riegel im aufgeheizten Zustand zum Herausnahmen der
Aschenlade bedient werden kann; vgl. die nachfolgende Abbildung.

Zusätzliche Merkmale des Modells 550CB
- Dieses Gerät ist für einen Seitenanschluss an die Abgasabfuhr geeignet,stattdessen kann der Anschluss aber auch an der Ober- oder Rückseite angebracht werden.
Das Gerät wird mit einem losen Handgriff, der so1. Öffnen Sie die Tür. genannten "kalten Hand", gefelwert. 2 Entfern den sie die fe - Setzen Sie zum Öffnen der Tür die "kalte Hand" (A) in den Riegel (B) an der Tür; vgl. die nachfolgende Abbildung.
- Offnen Sie die Tür.

Installation
Vorbereitung
Überprüfen Sie das Gerät sofort nach Lieferung auf (Transport-) Schäden und eventuelle Mängel.

Wenn Sie (Transport-) Schaden oder Mängel feststellen, behmen Sie das Gerät nicht in Betrieb und informieren Sie den Handler.
Entfernen Sie die abmontierbaren Teile (feuerfeste Innenplatten, Feuerkorb, Aschenlade, Rost) aus dem Gerät, bevor Sie es installieren.
Wenn Sie die abmontierbaren Teile entfernen, konnen Sie das Gerät leichter verschiben und Beschädigungen vermeiden.

Achten Sie beim Entfernen dieser Teile auf ihre ursprüngliche Lage, damit Sie sie später wieder korrekt anbringen konnen.

- Entfernen Sie die feuerfesten Innenplatten.
Gusseiserne Innenplatten schützen die Verbrennungskammer und geben Wärme an die Umgebung ab.
Montage der Beine
Montieren Sie die Beine an das Gerät; vgl. die nachfolgende Abbildung.
- Montieren Sie die zwei Teile der Beine mit den mitgelieferten Bolzen M6 auf der gewündsten Höhe.
- Kippen Sie den Ofen nach halten.
- Montieren Sie die vier Beine mit den Verschlussringen und den M8-Mattern, die sich an der Bodenplatte befinden, an der Bodenplatte.

Montage von Handgriff und Handgriffhalter (Modell 550CB)
Das Gerät wird mit einem losen Handgriff, der so genannten "kalten Hand", gefelert.
- Befestigen Sie den hölzernen Handgriff mit der mitgelieferten Schraube M8x50 am Anschlussstück; vgl. dazu die nachfolgende Abbildung.

- Montieren Sie den mitgelieferten Handgriffhalter
(A) mit Bolzen und Mutter M8 an der Bodenplatte, vgl. die nachfolgende Abbildung.

Schornsteinanschlussvorbereiten
Beim Anschluss des Geräts an den Schornstein haben Sie die Wahl zwischen dem Anschluss an der Ober- oder an der Rückseite. Vgl. die Abschnittte "Anschluss an der Oberseite" und "Anschluss an der Rückseite".
Das Modell 550CB bietet darüber hinaus die Mogglichkeit zum Anschluss an der Seite. Vgl. die Anleitung im Abschnitt "Anschluss an der Seite (Modell 550CB)".
Bei Lieferung des Geräts ist an der Rück- oder Oberseite keine Abgasöffnung vorhanden. Das Modell 550CB verfügbar jedoch über zwei Abgasöffnungen an der Seite (jeweils links und rechts). Wenn Sie einen oder beiden Seitenanschlüsse nicht verwenden,decken Sie die nicht verwendete(n) Seitenanschluss/Seitenanschlüsse mit den mitgelieferten Abschlussdeckeln ab.
Das Modell 550CB wird mit zwei Abschlussdeckeln (mit dem Dovre-Logo) gefelwert.
Abdichtkitt und Befestigungsmaterialien sind im Lieferumfang enthalten.
Beim Anschluss an der Rückseite muss im Hitzsche eine Öffnung angebracht werden. An itte; der Stelle, an der die Öffnung angebracht werden muss, ist das Hitzsche eingekerbt.
Vorbereitung des Anschlusses a der Rückseite
- Drehen Sie die Mutter handfest an. Verwenden Sie etwas Fett, damit sich die Mutter leichter andreiben{lsst.
Bringen Sie die erforderliche Öffnung in dem Hitgeschild an.
-
Drehen Sie die Mutter mit einem Ringschlüssel soweit an, dass die Anschlussabdeckung ausbricht.
-
Nehmen Sie das Hitgeschild von dem Gerät ab.
-
Eine angebrachte Abgasöffnung wird mit dem mitgelieferten Abschlussdeckel wieder verschlossen. Verwenden Sie zur Montage des Deckels an dem Gerät die Befestigungslatte und den Bolzen M6x25.
-
Bringen Sie die Öffnung in dem Hitzeschild an, indem Sie mit einer Bleechschere das vorgeschnittene Teil aus dem Hitzeschild schneiden.
-
Setzen Sie das Hitgeschild wieder auf das Gerät.
Fur Modell 550CB: Schlieben Sie beide Abgasöffnungen an den Seiten mit den mitgelieferten Abschlussdeckeln (mit Dovre-Logo) ab.
Anschlieben an der Ober- oder Rückseite
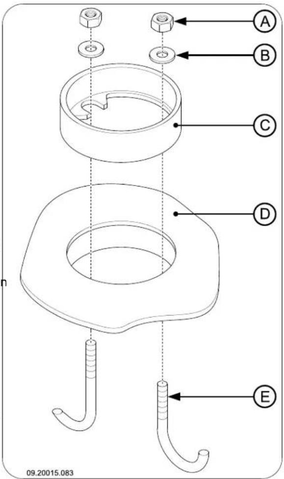
- Montieren Sie das Anschlussstück (C) mit den Nen, zwei mitgelieferten Bügeln (E) und den Befestigungsmaterialien (A) und (B) an der Abgasöffnung (D); vgl. die nachfolgende Abbildung.
Stellen Sie zuerst die Abgasöffnung in dem Gerät indem Sie die Anschlussabdeckung entfern. Verwenden Sie dazu die mitgelieferten Teile: das Spannelement, den Verschlussring, den Bolzen und die Mutter; vgl. die nachfolgende Abbildung.

- Bohren Sie in der Mitte der Anschlussabdeckung ein Loch mit einem Durchmesser von 10 mm.
- Befestigen Sie das Spannelement mit dem Bolzen an der Inneseite der Anschlussabdeckung.
- Schieben Sie den Verschlussring über den Bolzen, und schrauben Sie die Mutter auf den Bolzen.

Verwenden Sie bei emailierten Geräten ein Stück Karton (mindestens 20mm× 20mm ) zwischen dem Verschlussring und dem Gerät, damit die E-mail nicht beschädigt wird.

- Verwenden Sie den mitgelieferten Ofenkitt zur Abdichtung des Anschlussstücks und des Abschlussdeckels mit dem Gerät.
Anschlieben an der Seite (Mode 550CB)
Das Gerät wird mit zwei Abgasöffnungen (jeweils an der rechten und der linken Seite) gefelfert.
- Montieren Sie das Anschlussstück (C) mit den zwei mitgelieferten Bügeln (E) und den Befestigungsmaterialien (A) und (B) an der Abgasöffnung (D); vgl. die vorherige Abbildung.
- Schließen Sie die nicht verwendete Abgasöffnung mit einem der mitgelieferten Abschlussdeckel (mit Dovre-Logo) ab. Verwenden Sie die mitgelieferten Befestigungsmaterialien.
- Verwenden Sie den mitgelieferten Ofenkitt zur Abdichtung des Anschlussstücks und des Abschlussdeckels mit dem Gerät.
Aufstellen und anschließen
- Stellen Sie das Gerät an einem geeigneten Ort auf, und sorgen Sie mit einer Wasserwaage für eine ebene Aufstellung.
- Schlieben Sie das Gerät hermetisch dicht an den Schornstein an.
- Setzen Sie alle abmontierten Teile wieder an ihrem korrekten Platz in das Gerät ein.
Lassen Sie das Gerät nicht ohne feuerfeste Innenplatten brennen.
Das Gerät ist jetzt gebrauchs fertig.
Inbetriebnahme
Erste Inbetriebnahme
Wenn Sie das Gerät zum ersten Mal in Betrieb führen, halten Sie es eine Stunden durchheizen. Dadurch härte der hitzebeständige Lack aus. Hierbei kann es zu Rauch- und Geruchsbildung kommt. Öffnen Sie dann eventuell in dem Raum, in dem das Gerät aufgestellt ist, Fenster und Türen.
Brennstoff
Dieses Gerät ist ausschließlich zum Verbrennen von Naturholz geeignet, das gesagt und gespalten sowie alsreichend getrocknet ist.
Verwenden Sie keine anderen Brennstoffe; diese können dem Gerä ernsthafte Schäden zufugen.
Die folgenden Brennstoffe dürfen nicht verwendet werden, da sie die Umwelt verschmutzen und da sie Gerät und Schornstein stark verunreinigen, was zu einem Schornsteinbrand führen kann:
Behandeltes Holz, wie etwa Holz mit Beschichtungen, gefarbtes Holz, imprägniertes Holz, konservertes Holz, Multiplex und Spanplatten.
Kunststoff, Altpapier und Haushaltsabfälle.
Holz
- Verwenden Sie vorzugsweise hartes Laubholz, wie etwa Eiche, Buche, Birke oder Obstbaumholz. Dieses Holz brennt langsam bei ruhiger Flamme. Nadelholz enthalt mehr Harz, brennt schneller und erzeugt mehr Funken.
▶ Verwenden Sie getrocknetes Holz mit maximal 20% Feuchtigkeitsanteil. Hierzu muss das Holzgen mindestens zwei Jahre lang getrocknet werden.
Sagen Sie das Holz auf Maß und spalten Sie es, solange es noch frisch ist. Frisches Holz lassst sich leichter spalten, und gespaltenes Holz trocknet better. Bewahren Sie das Holz unter einer Abdeckung auf, in der sich der Wind frei bewegen kann. - Verwenden Sie kein nasses Holz. Nasses Holz spendset keine Wärme, da die gesamte Energie für das Verdampfen der Feuchtigkeit verwendet wird. Dabei entsteht viel Rauch und es kommt zu Rußablagerungen an der Gerätetur und im Schornstein. Der Wasserdampf kondensiert im Gerät und kann aus dem Gerät austreten und zu schwarzen Flecken auf dem Fußboden führen. Der bei Wasserdampf kann auch im Schornstein kondensieren und zur Entstehung von Carbolineum das beitragen. Diese Stoff ist leicht brennbar und kann zu einem Schornsteinbrand führen.
Anzünden
Sie konnen überprüfen, ob der Schornstein über ausreichenden Zug verfügt, indem Sie oberhalb der Flammplatte ein Knäuel Zeitungspapier anzünden. Ein kalter Schornstein verfügt oft über unzureichenden Zug, wodurch Rauch in das Zimmer gelangen kann. Wenn Sie das Gerät wie hier beschrieben anzünden, vermeiden Sie diese Problem.
- Stapeln Sie zwei Lagen mittelgroßer Holzstücke kreuzweise übereinander.
- Stapeln Sie auf den Holzstücken zwei Lagen Anzündehölzchen kreuzweise übereinander.
- Legen Sie den Anzünderblock zwischen die unterste Lage von Anzündehölzchen, und zünden Sie den Anzünderblock gemäß der Anleitung auf der Verpackung an.


09.20015.097
= Offen = Geschlossen
Heizen mit Holz
Nachdem Sie die Anleitungen zum Anzünden befolggt haben:
- Offnen Sie langsam die Tur des Gerats.
- Verteilen Sie das Holzkohlebett gleichmäßig über den Heizboden.
-
Stapeln Sie eine Holzstücke auf dem Holzkohlebett auf.
-
Schlieben Sie die Tur des Gerats, und öffnen Sie den primären Luftteinlass sowie den sekundären Luftteinlass des Gerats; vgl. die nachfolgende Abbildung.
- Lassen Sie das Anzündfeuer durchbrennen, bis ein glühendes Holzkohlebett entstanden ist. Anschließlich konnen Sie das Gerät erneut fullen und regeln, vgl. das Kapitel "Heizen mit Holz".

Lose Stapelung
Bei einer losen Stapelung verbrennt das Holz schnell, da der Sauerstoff eines Holzstück einfach erreichen kann. Stapeln Sie das Holz lose, wenn Sie kurz heizen möchten.
Kompakte Stapelung

durchheizen, verschwinden eventuelle Teerund Carbolineum-Ablagerungen.
Darüber hinaus kann sich beim Heizen auf zugeiger Stufe Teer auf der Scheibe der Gerätetür absetzen.
Bei milden Außentemperaturen ist es davon besser, das Gerät einige Stunden lang intensiv durchbrennen zu halten, als es längerere Zeit auf niedrigem Stand zu betreiben.
Regeln Sie die Luftzufuhr mit dem sekundären Luftteinlass.

Der sekundäre Luftinlass beluftet nicht nur das Feuer, sondern auch das Glas und schützte so vor Schneller Verschmutzung.
- Offnen Sie den primären Luftteinlass rechtzeitig, wenn die Luftzufuhr über den sekundären Luftteinlass nicht ausreicht, oder wenn Sie das Feuer neu entfachen möchten.
Das regelmäßige Nachfüllen kleiner Mengen von Holzstücken ist better, als viel Holz auf einmal zu befüssen.
Bei einer kompakten Stapelung verbrennt das Holz langsamer, da der Sauerstoff zunachst nur einzeln Holzstücke erreichen kann. Stapeln Sie das Holz kompakt, wenn Sie länger heizen möchten.
- Schlieben Sie die Tur des Geräts.
- Schließen Sie den primären Lufteinlass, und halten Sie den sekundären Lufteinlass offen stehen.

Füllen Sie das Gerät maximal zu einem Drittel.
Löschen des Feuers
Füllen Sie keinen Brennstoff nach, und setzen Sie den Ofen normal ausgehen. Wenn ein Feuer durch Verminderung der Luftzufuhr gedämpft wird, werden schädliche Stoffe freigesetzt. Lassen Sie das Feuer davon selbstständig herunterbrennen. Achten Sie auf das Feuer, bis es vollständig erloschen ist. Wenn dieser Fall ist, können alle Luftklappen geschlossen werden.
Hinweise

Heizen Sie niemals mit geöffneter Tur.

Heizen Sie das Gerät regelmäßig gut durch.
Wenn Sie lange mit niedriger Flamme heizen,
küssen sich im Schornstein Ablagerungen von Teer und Carbolineum (Steinkohlenteer) bilden
These Stoffe sind nicht brennbar. Wenn die Ablagerungen dieser Stoffe zu sehr anwachsen, kann durch eine plötzliche Temperatursteigerung ein Schornsteinbrand entstehen. Wenn Sie regelmäßig gut
Entaschen
Nach dem Verbrennen von Holz bleibt eine relativ geringe Menge Asche zurück. Dieses Aschebett ist einGreater Isolator fur den Heizboden und sorgt fur eine gute Verbrennung. Sie konnen dazu ruhig eine dulle Schicht Asche auf dem Heizboden liegen halten.
Die Luftzufuhr durch den Heizbodenarf noch nicht behindert werden,und hinter der gusseisernen Innenplattearf sich nicht zuviel Asche ansammeln.
Entfernen Sie dazu regelmäßig die angesammelte Asche.
Das Gerät verfügt über einen Entaschungsrost zum Entfernen der angesammelten Asche.
- Öffnen Sie die Tur des Geräts.
- Schieben Sie den Entaschungsrost (A) auf; vgl. die nachfolgenden beiden Abbildungen.


- Schieben Sie die Asche mit der mitgelieferten Zugschaufel durch die Entaschungsöffnung in Aschenlade unter dem Rost.
- Schließen Sie den Entaschungsrost.
- Entfernen Sie die Aschenlade mit Hilfe der mitgelieferten "kalten Hand", und leeren Sie sie; vgl. die nachfolgende Abbildung.

- Setzen Sie die Aschenlade wieder ein, und schlieben Sie die Tur des Geräts.
Nebel
Nebel behind the Abfuhr von Abgasen durch den Schornstein. Rauch kann sich niederschlagen und zu Geruchsbelastigung führen. Bei Nebel sollen den Sie daher nicht mit dem Gerät heizen, wenn dies nicht unbedingt erforderlich ist.
Eventuelle Probleme
Lesen Sie die Anlage "Diagnoseschema", um eventuell bei der Verwendung des Geräts auftretende Probleme zu losen.
Wartung
Befolgen Sie die Wartungsanleitungen in dieser Kapitel, um ihr Gerät in einem gute Zustand zu halten.
Schornstein
Invielen Ländern sind Sie gesetzlich dazu verpflichtet, den Schornstein regelmäßig kontrollieren und warten zu halten.
Zu Beginn der Heizperiode: Lassen Sie den Schornstein von einem anerkannten Schornsteinfeger reinigen/fegen.
Während der Heizperiode und wenn der Schornstein für längerere Zeit nicht verwendet wurde: Lassen Sie den Schornstein auf Ruß untersuchen.
Nach der Heizperiode: Schlieben Sie den Schornstein mit einem Knäuel Zeitungspapier ab.
Reinigung und andere regelmäßige Wartungsarbeiten
Reinigen Sie das Gerät nicht, so lange es noch warm ist.
Reinigen Sie die Außenseite des Geräts mit einem trockenen und fusselfreien Tuch.
Nach Ablauf der Heizperiode konnen Sie die Innenseite des Gerats reinigen:
Entfernen Sie eventuell zuerst die feuerfesten Innenplatten.
Reinigen Sie eventuell die Luftzufuhrkanäe.
- Entfernen Sie die Flammplatte oben in dem Gerä und reinigen Sie sie. Vgl. das Kapitel "Installation" für Anleitungen zum Entfernen und Anbringen der Flammplatte.
Kontrolle der feuerfesten Innenplatten
Die feuerfesten Innenplatten sind Verbrauchsteile, die dem Verschleit unterliegen. Überprüfen Sie die Innenplatten regelmäßig, und tauschen Sie sie bei Bedarf aus.
Vgl. das Kapitel "Installation" für Anleitungen zum Entfernen und Anbringen von Innenplatten.
Die isolierenden Vermiculit-Innenplatten können Haarrisse aufweisen, dies hat aber keine nachteiligen Auswirkungen auf ihre Funktion.
Gusseiserne Innenplatten halten lange, wenn Sie regelmäßig die Asche entfernen, die sich dahinter ansammelt. Wenn angesammelte Asche hinter einer gusseisernen Platte nicht entfernt wird, kann die Platte keine Wärme mehr an die Umgebung abgeben und sich anschließend verformen oder reifen.
Lassen Sie das Gerät nicht ohne feuerfeste Innenplatten brennen.
Entfernen der Flammplatte
Die Flammplatte ist mit einem Bolzen befestigt, der sich zwischen dem hinteren Anschluss und dem Zylinder der sekundären Luftzufuhr befindet. Der Bolzen ist an der Flammplatte befestigt.
- Entfernen Sie die Mutter an der Rückseite; vgl. die nachfolgende Abbildung.

- Ziehen Sie die Flammplatte nach vorn, so dass der Bolzen von der Rückseite frei kommt.
- Nehmen Sie die Flammplatte durch die Vordertür heraus.
Glas reinigen
Gut gereinigtes Glas nimmt weniger schnell neuen Schmutz auf. Gehen Sie folgendermaßen vor:
- Entfernen Sie Staub und loseN Rost mit einem trockenen Tuch.
- Reinigen Sie das Glas mit einem Ofenscheibenreiniger: a. Tragen Sie Ofenscheibenreiniger auf einen Kuchenschwamm auf, wischen Sie die gesamte Glasoberfläche damit ab und halten Sie den Reiniger einwirken.
b. Entfernen Sie den Schmutz mit einem feuchten Tuch oder mit Kuchenpapier.
- Reinigen Sie das Glas dann noch einmal mit einem normalen Glasreinigungsdprodukt.
-
Wischen Sie das Glas mit einem trockenen Tuch oder mit Kuchenpapier ab.
-
Verwenden Sie keine scheuernden oder scharfen Produkte zur Reinigung des Glases.
▶ Verwenden Sie zum Schutz ihrer Höhe geeignete Haushaltshandschuhe.

Wenn das Glas des Geräts gebrochen oder gesprungen ist, muss diese Glas ausgetauscht werden, bevor das Gerät erneut in Betrieb genommen wird.

Achten Sie darauf, dass kein Ofenscheibenreiniger zwischen das Glas und die gusseiserne Tur lauft.
Wartung Email-Ofen
Reinigen Sie das Gerät nicht, so lange es noch wird. Das Reinigen der emailierten Oberfläche des Ofens geschieht am besten mit sanfter Haushaltsseife und lauwarmem Wasser. Verwenden Sie so weniger Wasser wie möglich, trocken Sie die Oberfläche gut ab, um Rostbildung zu vermeiden. Verwenden Sie keine Stahlwolle oder andere Scheuermittel. Setzen Sie keinen Wasserkessel direkt auf einen Emailleofen; verwenden Sie einen Untersetzer, um Beschädigungen zu vermeiden.
Schmieren
Obwohl Gusseisen eigentlich "selbstschmierend" ist, müssen bewegliche Teile noch regelmäßig geschmiert werden.
Schmieren Sie die beweglichen Teile (wie etwa Leitungssysteme, Scharnierfedern, Riegel und Luftklappen) mit einem hitzebeständigen Fett (erhaltlich im Fachhandel).
Luftklappe einstellen
Wenn die Luftklappe (C) des sekundären Luftinlasses schwergängig ist, können Sie sie mit den beiden Schrauben (A) und (B) an der Vorderplatte einstehen; vgl. die nachfolgende Abbildung.

Beheben von Lackschäden
Kleine Lackschäden können Sie mit hitzebeständigem Speziallack aus der Sprühdose beheben, den Sie bei ihrem Lieferanten erhalten.
Pflege der emailierten Oberfläche
Die Emaillierung ist ein handwerklicher Vorgang, der dazu führt, dass keinere Farbabweichungen oder Beschädigungen an dem Gerät vorkommen können. Die Geräte werden in der Fabrik visuell kontrolliert, das heißt, ein Kontrolleur untersucht die Oberfläche zehn Sekunden lang aus einer Entfernung von einem Meter.
Frentuell vorhandene Beschädigungen, die damit nicht auffallen, gelten als akzeptabel. Zum Lieferumfang des Geräts führt ein spezieller hitzebeständiger Lack, mit dem keinere (Transport-) Beschädigungen behoben werden können. Tragen Sie diesen hitzebeständigen Lack in dünnen Schichten auf, und setzen Sieihn gründlich trocknen, bevor Sie das Gerät in Betriebephmen.
Abdichtung kontrollieren
Prufen Sie, ob die Abdichtungsschnur der Tur noch gut schließt. Diese unterliegt dem Verschleiß und mussrechtzeitig ausgetauscht werden.
Überprüfen Sie das Gerät auf Luftlecks. Verschreiben Sie eventuelle Risse mit Ofenkittt.
Lassen Sie den Kitt gut aushäten, bevor Sie das Gerät in Betrieb nehmen, andernfalls dehnt sich die Feuchtigkeit darin auf und führt erneut zu einem Leck.
Anlage 1: Technische Daten
| Modell 425CB und 550CB | |
| Nominalleistung 8 kW | |
| Schornsteinanschluss (Durchmesser) 150 mm | |
| Gewicht +/- 115 kg | |
| Empfohlener Brennstoff Holz | |
| Kennzeichen Brennstoff, max. Länge 40 cm | |
| Massenfluss von Abgasen 5,6 g/s | |
| Temperaturanstieg, gemessen im Messabschnitt | 257 K |
| Temperatur, gemessen am Ausgang des Geräts | 415 °C |
| Mindestzug | 13 Pa |
| CO-Emission (13 %) | 0,09 % |
| NOx-Emission (13 %) | 140 mg/Nm3 |
| CnHm-Emission (13 %) | 114 mg/Nm3 |
| Staubemission | 36 mg/Nm3 |
| Staubemission gemäß NS3058-NS3059 | 8,28 gr/kg |
| Wirkungsgrad | 78,8 % |
Anlage 2: Abmessungen
425CB



09.20017.009
550CB



09-00085-000_550CB
Anlage 3: Abstand zu brennbarem Material
425CB und 550CB - Mindestabstände in Millimetern

| * Geschütztes (isoliertes) Verbindungsrohr | |
| Brennbares Material | |
| Nicht brennbares Material, Dicke 100 mm |
425CB und 550CB - Abmessungen feuerfeste Bodenplatte

Mindestabmessungen feuerfeste Bodenplatte
| A (mm) | B (mm) | |
| Din 18891 500 300 | ||
| Deutschland 500 300 | ||
| Finnland 400 100 | ||
| Norwegen 300 100 |
Anlage 4: Diagnoseschema
| Problem | |||||
| ● | Holz brennt nicht durch | ||||
| ● | Liefert nicht ausreichend Wärme | ||||
| ● | Rauchrückschlag beim Nachfüllen | ||||
| ● | Gerät brennt zu stark, nicht gut regelbar | ||||
| Flammenanschlag an das Glas | |||||
| Mögliche Ursache Mögliche Lösung | |||||
| ● | ● | ● | ● Nicht ausreichender Zug | Ein kalter Schornstein führt zu unzureichendem Zug. Folgen Sie der Anleitung zum Anzünden im Kapitel "Verwendung"; öffnen Sie ein Fenster. | |
| ● | ● | ● | ● Holz zu feucht Verwenden Sie nur Holz mit max. 20 %Feuchtigkeit. | ||
| ● | ● | ● | ● Holzstücke zu groß | Verwendten Sie keine Anzündeholzstücke. Verwendten Sie gespaltenes Holz mit maximal 30 cm Stückgröße. | |
| ● | ● | ● | ● | ● Holz nicht korrekt gestapelt | Stapeln Sie das Holz so, dass zwischen den Blöcken ausreichend Luft zirkulieren kann (lose Stapelung, vgl. "Heizen mit Holz"). |
| ● | ● | ● | ● Schornstein Funktioniert nicht korrekt | Überprüfen Sie, ob der Schornstein den Bedingungen entspricht: mindestens 4 m hoch, richtiger Durchmesser, eine gute Isolierung, glatte Innenflächen, nicht zu weitere Biegungen, keine Hindernisse im Schornstein (etwa Vogelnest, Rußablagerungen), hermetische Dichtigkeit (keine Spallen). | |
| ● | ● | ● | ● Mündungsöffnung des Schornsteins nicht korrekt | Ausreichende Höhe über der Dachfläche, keine Hindernisse in der Höhe. | |
| ● | ● | ● | ● | ● Einstellung der Luftinlassoeffnungen nicht korrekt | Öffnen Sie die Luftinlassoeffnungen vollständig |
| ● | ● | ● | ● Anschlussdes Geräts am Schornstein nicht korrekt | Der Anschluss mussermetisch dicht sein. | |
| ● | ● | ● | ● Unterdruckin dem Raum, in dem das Gerät aufgestellt ist | Schalten Sie Luftabzugssysteme aus. | |
| ● | ● | ● | ● Unzureichende Frischluftzufahr | Sorgen Sie für ausreichende Luftzufahr, verwenden Sie nötigenfalls einen Außenluftanschluss. | |
| ● | ● | ● | ● Ungünstige Wetter- umstände? Inversionswetterlage (umgekehrter Luftstrom im Schornstein durch hohe Außentemperatur), extreme Windgeschwindigkeiten | Bei Inversionswetterlagen sollen den Sie das Gerät nicht verwenden. Setzen Sie, falls erforderlich, eine Zugklappe auf den Schornstein. Dies ist nur nach Rücksprache mit dem Schornsteinfeger möglich. | |
| ● | Zug im Wohnzimmer | Vermeiden Sie Zug im Wohnzimmer; sollen den Sie das Gerät nicht in der Höhe einer Tur oder von Heizungsschäften auf. | |||
| ● Flammen schlagen an das Glas | Vermeiden Sie es, das Holz zu dicht an das Glas zu legen. Schieber Sie den primären Luftinlass wieder zu. | ||||
| ● | Gerät verliert Luft | Überprüfen Sie die Abdichtungen der Tür und die Fugen des Geräts. | |||
Index
A
Abdichtungsschnur der Turl.15
Abgas Massenfluss.16
Abgasöffnung
verschreiben 9
Abmessungen.17
Abschlussdeckel
Logo.8..10
Achtung Ventilation.5 Versicherungsbedingungen 4
Anschlieben an Schornstein
Rückseite 9.
Seite 10.
Anschluss an Schornstein Oberseite. 9
Anschlussabdeckung entfernen 9
Anschlussstück montieren 9-10
Anstecken 11
Anzündeholz 21
Anzündfeuer 11
Asche entfernen 12
Aschenlade öffnen 13
Aufstellen Abmessungen.17.
Außenluftzufuhr 5 Anschluss an. 10
B
Beine Montage 7
Belüftung des Feuers 12
Böden
Brandsicherheit 6
Tragvermögen 6
Brandsicherheit Abstand zu brennbarem Material 190 Boden.6
Möbel 6
Wande 6
Brandstoff fullen 12
Brennbares Material Abstand zu 19
Brennstoff benöttige Menge 13 nachfüllen 12 ungeeigneter 10
Brennstoffe geeignete 10
C
Carbolineum 12
E
Entaschen 12
Entfernen Asche 12
F
Fegen des Schornsteins 13
Feuer
anzünden 11
Gerät brennt zu heftig. 21
Gerät nicht gut regelbar. 21
loschen 12
nicht ausreichende Wärme. 21
Feuerfeste Innenplatten
Warning 10
Wartung 14
Finish, Pflege 15
Flammplatte entfernen 14
Füllhöhe des Gerats. 12
G
Geeignete Brennstoffe. 10
Gewicht 16
Glas Anschlag.21.
reinigen 14
H
Handgriff montieren 8
Handgriffhalter
montieren.8
Haube auf dem Schornstein.5.
Heizen.11
Brennstoff nachfullen.11-12
unzureichende Wärme 13
Hitzeschchild
entfernen 9
Öffnung anbringen 8-9
Holz.10
aufbewahren..10.
brennt nicht durch.21
geeignete Sorte..10.
nass 10
trocknen .10.
Holzstücke stapeln.
L
Lack 10
Lagerung von Holz 10
Lufteinlasse 11
einstellen 15
Luftleck 15
Luftzufuhr regeln. 12
M
Mauern
Brandsicherheit 6
N
Nachfullen von Brennstoff 12
Rauchruckschlag 21
Nadelholz 10
Nasses Holz 10
Nebel, nicht heizen 13
Nominale Leistung. 13
Nominalleistung 16
0
Ofenscheibenreiniger 14
0
Öffnen
Aschenlade 13
P
Primärer Lufteinlass 11
Probleme losen. 13, 21
R
Rauch
bei erster Inbetriebnahme 10
Rauchruckschlag.4..21
Reinigen
Gerat 14
Glas. 14
Risse im Gerät 15
s
Scheiben
Anschlag 21
reinigen 14
Schmieren 15
Schmierfett 15
Schornstein
Anschluss an. 10
Anschlussdurchmesser 16
Bedingungen 4
Höhe 5
Wartung. 13
Schomsteinbrand vemeiden 12
Schomsteinhaube 5
Sekundärer Lufteinlass 11
Staubemission 16
T
Teer.12.
Temperatur 16
Temperaturanstieg
Messabschnitt 16
Teppich 6
Tragvermögen des Bodens 6
Trocknen von Holz 10
Tur
Abdichtungsschnur. 15
U
UngeeigneterBrennstoff. 10
V
Ventilation. 5
Faustregel 5
Ventilationsgitter 5
Verlösen des Feuers..12
W
Wande
Brandsicherheit 6
Wärme, unzureichende..13..21.
Wamung
brennbare Materialien.4
feuerfeste Innenplatten 10
Glas gebrochen oder gesprungen..4..15
heiBe Oberfläche 4
Ofenscheibenreiniger.15
Schornsteinbrand 4, 10, 12
Ventilation. 4
Vorschriften 4
Wartung
Abdichtung 15
Feuerfeste Innenplatten.14
Gerat reinigen 14
Glas reinigen 14
Schmieren 15
Schornstein. 13
Wetterbedingungen, nicht heizen 13
Wirkungsgrad 16
Z
Zug. 16
Zugschaufel zum Entaschen 6
Índice
Introduccion 3
piastrefrattarieinterne 13
EinfachAnleitung