WALKER de Luxe - Équipement de fitness Christopeit - Notice d'utilisation et mode d'emploi gratuit
Retrouvez gratuitement la notice de l'appareil WALKER de Luxe Christopeit au format PDF.
| Caractéristiques | Détails |
|---|---|
| Type d'équipement | Tapis de marche électrique |
| Dimensions | Longueur : 130 cm, Largeur : 60 cm, Hauteur : 120 cm |
| Poids maximal utilisateur | 120 kg |
| Vitesse réglable | De 1 à 10 km/h |
| Inclinaison | Manuelle, 3 niveaux |
| Écran | Affichage LCD avec informations sur la vitesse, le temps, la distance et les calories brûlées |
| Programmes d'entraînement | 5 programmes préenregistrés |
| Matériaux | Structure en acier, surface de course antidérapante |
| Maintenance | Vérifier régulièrement les vis et les connexions, lubrifier la surface de course si nécessaire |
| Sécurité | Arrêt d'urgence, protection contre la surcharge |
| Accessoires | Support pour tablette ou smartphone |
| Garantie | 2 ans |
| Poids de l'appareil | Environ 40 kg |
FOIRE AUX QUESTIONS - WALKER de Luxe Christopeit
Questions des utilisateurs sur WALKER de Luxe Christopeit
0 question sur cet appareil. Repondez a celles que vous connaissez ou posez la votre.
Poser une nouvelle question sur cet appareil
Téléchargez la notice de votre Équipement de fitness au format PDF gratuitement ! Retrouvez votre notice WALKER de Luxe - Christopeit et reprennez votre appareil électronique en main. Sur cette page sont publiés tous les documents nécessaires à l'utilisation de votre appareil WALKER de Luxe de la marque Christopeit.
MODE D'EMPLOI WALKER de Luxe Christopeit
Notice de montage et d'utilisation du No. de commande 98294

- Aperçu des pièces Page 3 - 4
- Recommandations importantes et règles de sécurité Page 20
- Nomenclature Page 21 - 22
- Notice de montage avec écorchés Page 23-25
- Manuel d'utilisation du calculateur électronique Page 26
- Recommandations pour l'entraînement Page 27
Nous vous félicitons pour l'achat de ce cycle d'entraînement intérieur et nous vous souhaitons beaucoup de plaisir avec.
Veuillez respecter et suivre les indications et les instructions de montage et d'emploi.
Si vous avez des questions, vous pouvez bien sûr vous adresser à nous.
Très cordiales salutations
Recommandations importantes et consignes de sécurité
Nos produits sont systématiquement soumis au contrôle TÜV-GS et sont ainsi conformes aux normes de sécurité actuelles les plus élevées. Cependant, cela ne dégage pas de l'obligation de suivre strictement les indications suivantes.
- Monter l'appareil en suivant exactement les instructions de montage et n'utiliser que les pièces spécifiques à l'appareil, mentionnées dans la liste des pièces et ci-jointes pour le montage de l'appareil. Avant le montage en lui-même, contrôlez l'intégralité de la livraison à l'aide du bon de livraison et l'intégralité des emballages en carton à l'aide de la liste des pièces dans les instructions de montage et d'utilisation. En cas de réparation, demandez conseil à votre vendeur.
- Avant la première utilisation et à intervalles réguliers (tous les 1 à 2 mois), contrôlez si tous les écrous, vis et autres raccords sont bien serrés, qui n d'assurer un état de service sur de l'appareil d'entraînement. Veillez à replacer ou à enlever immédiatement les pièces défectueuses. Interdisez l'accès à l'appareil, le cas échéant.
- Mettre en place l'appareil à un endroit sec et plan, et le protégé contre l'humidité. Les inégalités du sol doivent être compensées par des mesures appropriées et par les pièces réglables de l'appareil, prévues à cet effet, si réalisées. Il faut exclure tout contact avec l'humidité et l'eau.
- Dans la mesure où le lieu de montage doit être protégé contre des points de pression, des saletés ou autres, prévoir un support antidérivant (p. ex. tapis en caoutchouc, plaque en bois etc.) sous l'appareil.
- Avant de commencer l'entraînement, enlever tous les objets dans un rayon de 2 mètres de l'appareil.
- Pour nettoyer l'appareil, ne pas utiliser de détergents agressifs, et pour le montage ainsi que des eventuelles réparations, n'utiliser que les outils fournis ou des outils appropriés. Les traces de sueur sur l'appareil doivent être enlevées tout de suite après l'entraînement.
- Un entraînement inadapté ou excessif peut entraîner des risques pour la santé. C'est pourquoi, avant de commencer un entraînement précis, il faut consulter un médecin. Ce dernier peut définir les sollicitations maximales (pouls, watts, durée d'entraînement etc.) auxquelles on peut se soumettre, et donner des renseignements exacts sur les conditions de l'entraînement, les objectifs et l'alimentation. Il ne faut pas s'entraîner après un repas lourd. Il faut tenir compte du fait que cet appareil n'est pas ajusté à des fins thérapeutiques.
- Ne s'entraîner avec l'appareil que lorsque celui-ci est en parfait état de fonctionnement. Pour les réparations eventuelles, n'utiliser que des pieces de rechange originales.
- Pour le réglage des piè ée, et à bloquer correctement la nouvelle position réglée.
- Si rien d'autre n'est indiqué dans le mode d'emploi, l'appareil ne doit être utilisé que par une personne pour l'entraînement.
- Il faut porter des vêtements et des chaussures adaptés à un entraînement fitness avec l'appareil. Les vêtements doivent être conçus de manière à ce
que de par leur forme (p. ex. longueur), ils ne puissent pas rester accrochés pendant l’entraînement. Les chaussures d’entraînement doivent être choisies en fonction de l’appareil, doivent systématiquement bien tenir le pied et posséder une semelle antidérapante.
- Si des sensations de vertige, des nausées, des douleurs dans la poitrine ou d'autres symptômes anormaux se font sentir, arrêter l'entraînement et consulter un médecin.
- Il faut savoir que les appareils de sport ne sont pas des jouets. C'est pourquoi, ils ne doivent être utilisés que de manière conforme à l'emploi prévu et uniquement par des personnes informées et initiées en conséquence.
- Les personnes, telles que les enfants, les invalides ou les handicapés, ne doivent utiliser l'appareil qu'en présence d'une autre personne qui peut fournir son aide ou donner des instructions. Il faut exclure l'utilisation de l'appareil par des enfants sans surveillance, par des mesures appropriées.
- Il faut faire attention à ce que la personne qui s'entraîne, ainsi que d'autres personnes, ne se trouvent jamais dans la zone des pièces encore en mouvement.
- Ce produit ne peut pas être enlevé des déchets à la fin de sa durée de vie sur les déchets budgétaires normaux, mais doit être livré à un point collectif pour le recyclage des appareils électriques et électroniques. Le symbole sur le produit, du mode d'emploi ou de l'emballage fait remarquer sur cela.
Les matières sont réutilisables conformément à leur marquage. Avec le réemploi, la valorisation matérielle ou d'autres formes de valorisation, vous apportez à l'appareil une contribution importante à la protection de notre environnement. Veillez à demander lors de l'administration communale le poste d'enlèvement des déchets constants. 17. Les matériaux d'emballage, les piles vides et les pièces de l'appareil doivent être évacués en respectant l'environnement, pas avec les ordures ménagères, mais dans les containers de collecte prévus à cet effet, ou remis aux services de collecte adaptés. 18. Cet appareil est un appareil non dépendant de la vitesse. Cet appareil a été équipé d'un dispositif de réglage, sur 8 crans différents, de la résistance par freinage. Ces crans provoquent une réduction ou une augmentation de la résistance de freinage, et permettent donc à l'utilisateur de moduler son effort pendant l'entraînement. Le fait de tourner la manette de réglage de la résistance en direction du cran 1 réduit la résistance due au freinage, donc l'effort physique à fournir. Inversement, le fait de tourner la manette de réglage de la résistance en direction du cran 8 augmente la résistance due au freinage, donc l'effort physique à fournir. 19. Cet appareil a été contrôlé et certifié selon les normes EN 957-1-6 et „H, C". La charge (= poids) maximale admise a été fixée à 120 kg. Avant de commencer l'entraînement, assurez-vous de ne pas dépasser le poids total admissible.
Liste des pièces-liste des pièces de rechange WALKER n° de commande:98294
Caractaristiques techniques: Version du 01/02/2009
- Tapis de course à freinage magnétique et très bonne simulation de pas-de-géant et walking sticks.
- Système de freinage magnétique
- Masse tournante : environ 5 kg
- Changement de cran à 8 degrés Inclinaison manuelle à 3 degrés
- Mesure des pulsations
- Facilitation pliable pour un encombrement moindre Roulettes de déplacement
- Bouteille et support de bouteille
- Ordinateur à grand comport de manoeuvre à un bouton avec affichage numérique de : la vitesse, des KM au total, de la distance, du temps, des calories, de la fréquence du pouls et du Scan
- Adapté pour des poids jusqu'environ 120 kg. Surface de course approximative : Longueur 110 x Largeur 35 cm ; Dimensions approx. de l'appareil monté (Lxlh) : 138 × 70 × 150 cm ; Dimensions approx. de l'appareil replié (Lxlxh) : 65 × 70 × 150 cm
Après avoir ouvert l'emballage, veuillez contrôler s'il y a toutes les pièces conformément à la liste suivante. Si c'est le cas, vous pouvez commencer l'assemblage.
Si une pièce n'est pas correcte, s'il manque une pièce ou si vous avez besoin d'une pièce de rechange à l'avenir, veuillez vous adresser à:
| Schéma n° | Désignation Dimensions Quantité Monté sur Numéro ET en mm Unités schéma n° | ||||
| 1 | Cadre de base | 1 | 33-9829201-SI | ||
| 2 | Rouleau arrêté | 1 | 8 | 33-9829209-SI | |
| 3 | Roulement à billes | 4 | 8 | 36-9829204-BT | |
| 4 | Fixation pour N° 8 | 2 | 5 | 36-9829205-BT | |
| 5 | Vis à tête ronde et 6 pans creux | M6x75 | 2 | 8 | 36-9329752-BT |
| 6R | Chape droite | 1 | 1 | 36-9829232-BT | |
| 6L | Chape gauche | 1 | 1 | 36-9829231-BT | |
| 7 | Vis | 2 | 6 | 39-10187 | |
| 8 | Axe de | 1 | 3 | 33-9829208-SI | |
| 9 | Bouchon rond | 2 | 1 | 36-9329748-BT | |
| 10 | Supports de marche | 2 | 35 | 36-9829229-BT | |
| 11 | Ecrou | M8 | 2 | 1 | 36-9829209-BT |
| 12 | Bouchon carré | 5 | 1 | 36-9829210-BT | |
| 13 | Vis | M8x45 | 1 | 1+18 | 39-9914-SW |
| 14 | Câble de pouls | 1 | 29 | 36-9829211-BT | |
| 15 | Bouchon carré | 2 | 1 | 36-9829212-BT | |
| 16 | Vis | M6x20 | 1 | 1 | 39-9826 |
| 17 | Ecrou | M6 | 1 | 16 | 39-9861-CR |
| 18 | Étrier de magnétique | 1 | 1 | 33-9829218-SI | |
| 19 | Ecrou autobloquant | M8 | 4 | 20 | 39-9918-CR |
| 20 | Vis | M8x40 | 4 | 23+57 | 39-9889-CR |
| 21 | Roulette de déplacement | 2 | 23 | 36-9829213-BT | |
| 22 | Amortisseur en caoutchouc | 4 | 23 | 36-9829214-BT | |
| 23 | Pied | 1 | 24+33 | 33-9829202-SI | |
| 24 | Tube de support droit | 1 | 23 | 33-9829402-SI | |
| 25 | Réglage de la résistance, | 1 | 24 | 36-9829215-BT | |
| 26 | Vis | M5x20 | 1 | 25 | 39-10165 |
| 27 | Revêtement | 2 | 29 | 36-9829216-BT | |
| 28 | Bouchon | 2 | 29 | 39-9841 | |
| 29 | Main courante | 1 | 24+33 | 33-9829205-SI | |
| 30 | Ordinateur | 1 | 29 | 36-9829230-BT | |
| 31 | Câble de connexion du capteur 2 | 1 | 29 | 36-9829115-BT | |
| 32 | Vis | 10 | 35 | 36-9329753-BT | |
| 33 | Tube de support gauche | 1 | 23 | 33-9829403-SI | |
| 34 | Ressort | 1 | 18 | 36-9829216-BT | |
| 35 | Planche coulissante | 1 | 1 | 36-9829217-BT | |
| 36 | Tapis de course | 1 | 35 | 36-9829202-BT |
| Séignanumber n° en mm | Désignation Dimensions Quantité Monté sur Numéro ET | |||||||
| Unités scénma n° | ||||||||
| 37 | Rondelle | 2 63 36-9829218-BT | ||||||
| 38 | Revêtement | 1 | 1 | 36-9829233-BT | ||||
| 39 | Axe avant | 1 | 1 | 33-9829210-SI | ||||
| 40 | Rouleau frontal, masses d'inerties ci-incluses | 1 | 39 | 33-9829211-SI | ||||
| 41 | Vis | M3 | 2 | 42 | 39-10127-SW | |||
| 42 | Capteur | 1 | 1 | 36-9829110-BT | ||||
| 43 | Revêtement de guidon | 300 | 2 | 29 | 36-9829-06-BT | |||
| 44 | Revêtement de poignée | 160 | 2 | 29 | 36-9829234-BT | |||
| 45 | Unité de pouls | 2 | 29 | 36-9829220-BT | ||||
| 46 | Vis | M4x20 | 2 | 45 39-10187 | ||||
| 47 | Vis | M6x10 | 2 | 38 36-9329714-BT | ||||
| 48 | Rondelle | 8//16 | 4 20 | 39-9862 | ||||
| 49 | Vis | M4x15 | 2 | 30 39-10188 | ||||
| 50 | Rondelle | 4//8 | 4 | 46 39-10510 | ||||
| 51 | Rondelle | 4//10 | 2 49 | 39-10097 | ||||
| 52 | Goupille de sécurité | 2 | 57 | 36-9830105-BT | ||||
| 53 | Pièce de sécurité | 1 | 1+23 | 33-9829207-SI | ||||
| 54 | Poignée de sécurité | 1 | 53 | 36-9829221-BT | ||||
| 55 | Bouteille | 1 56 36-9913122-BT | ||||||
| 56 | Support de bouteille | 1 | 24 | 36-9913123-BT | ||||
| 57 | Étier de Inclinaison | 1 | 1 | 33-9829206-SI | ||||
| 58 | Vis | M8x50 | 4 | 23+24+33 | 36-9329710-BT | |||
| 59 | Rondelle | 8//16 | 6 | 58+63+66 | 39-9917-VC | |||
| 60 | Rondelle intercalaire | 8//20 | 2 | 65 | 39-10232 | |||
| 61 | Ecrou autobloquant | M8 | 6 | 58+63+66 | 39-9918-CR | |||
| 62 | Rondelle | 6//12 | 3 47 | 39-10007-CR | ||||
| 63 | Vis | M8x50 | 3 | 24+33+53 | 39-9811-CR | |||
| 64 | Rondelle | 8//16 | 2 63 | 39-9862 | ||||
| 65 | Vis | M8x45 | 2 | 29 39-9914-SW | ||||
| 66 | Vis | M8x37 | 2 | 53 39-9889-CR | ||||
| 67 | Vis | M5x15 | 1 | 56 36-9210-30-BT | ||||
| 68 | Câble de connexion du capteur 1 | 1 | 24 | 36-9829224-BT | ||||
| 69 | Poignée de maintainen | 2 | 71 | 33-9829401-SI | ||||
| 70 | Gaine de poignée | 2 | 69 | 36-9829401-BT | ||||
| 71 | Logement de Poignée de maintien | 2 | 24+33 | 36-9829301-BT | ||||
| 72 | Pièce de sécurité | 2 | 24+33 | 36-9829306-BT | ||||
| 73 | Vis | 4x19 | 2 | 72 36-9210-33-BT | ||||
| 74 | Vis | 5x15 | 2 | 71 39-10127-SW | ||||
| 75 | Chape | 2 76 | 36-9329709-BT | |||||
| 76 | Ecrou autobloquant | 2 78 | 39-9981-VC | |||||
| 77 | Rondelle | 2 78 39-9989-CR | ||||||
| 78 | Vis | M10x50 | 2 | 24+33+71 | 39-9976 | |||
| 79 | Jeu d'outils | 1 | 36-9829402-BT | |||||
| 80 | Etiquettes adhésvises pour carton | 1 | 36-9829407-BT | |||||
| 81 | Carton | 1 | 36-9829405-BT | |||||
| 82 | Instructions de montage et mode d'emploi | 1 | 36-9829408-BT | |||||
Instructions de montage
Il est strictement conseillé d'observer nos recommandations et consignes de sécurité avant de commencer le montage!
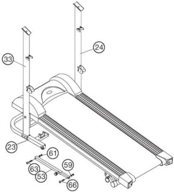
Étape n°1
Montage du tube de support gauche (33) et du tube de support droit (24) sur le pied (27) à l'aide des vis M8x50 (16), des rondelles 8/16 (25), des rondelles élastique bombée (75) et des écrous borgnes M8 (26).
- Mettre les vis (58), les rondelles (59) et les écrous borgnes (61) à la portée de la main, à côté du pied (23).
- Placer le tube de support gauche (33) sur le pied (23) en veillant à ce que les gabarits des trous du pied concordent. (Attention! Les roulettes de transport (21), qui ont été montées préliminairement sur le pied (23), doivent être dirigées vers l'arrière (à l'opposé de la direction de visée lorsque l'on est sur l'appareil et que l'on s'entraîne). La direction de visée est à droite et à gauche l'on est sur l'appareil et que l'on s'entraîne.)
- Introduire une vis (58) avec une rondelle (59) à travers chacun des trous de forage.
- Poser une rondelle (59) sur chaque extrémité de la vis (58) et visser avec un écrou borgne (61).
- Appliquer la même procédure figurant aux points 1 à 4 pour le tube de support droit (24) sur la partie latérale droite du pied (23).

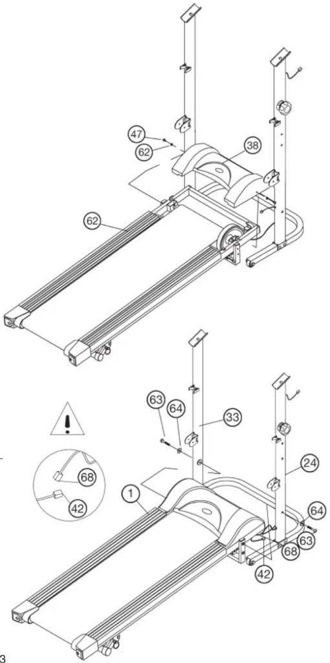
Etape n°2:
Montage, à revêtement (38) sur le châssis (1) et contre le logement (18) du dispositif à câble gainé servant à régler la résistance (25) du tube d'appui.
- Introduisez le câble gainé (25) dans son logement dans le bâti (1), puis accrochez l'extrémité du câble (25) dans le logement (18). Tournez l'écrou, situé à l'extrémité du câble gainé, dans le sens de la flèche pour sécuriser le câble gainé (25) en position. (Fig. 1-3)
- Attachez le revêtement (38) sur l'unité de cadre de base (1) avec deux vis (47) et rondelle (62).



Étape n°3:
Montage de l'unité du cadre de base assemblée préliminairement (1) sur le tube de support gauche (33) et droit (24) à l'aide des vis M8x50 (63), des rondelles 8//22 (64).
- Mettre les vis (63) et deux rondelles (64) à la portée de la main, à côté du pied (23).
- Placer l'unité du cadre de base (1) entre les tubes de support (24) et (33) en veillant à ce que les gabarits des trous de l'unité du cadre de base concordent avec ceux des tubes de support. (Attention! Il est conseillé de faire maintenir l'unité du cadre de base (1) par une seconde personne ou de la maintenir à l'aide d'un objet équat afin de pouvoir effectuer le montage suivant.)
- Poser une rondelle (64) sur chacune des vis (63) et introduire ensuite les vis à travers les trous de forage des tubes de support (24) et (33) puis serrer à bloc.
- Fixer les extrémités du câble de connexion du capteur 1 (68) (provenant du tube de support) avec câble de capteur (42) (du cadre de base (1)).

Étape n° 4: Montage de pièce de sécurité (53) sur le cadre de base (1) et pied (23).
- Placez l'extrémité de la pièce de sécurité (53) sur le pied (23) et fixez la pièce de sécurité (53) avec le vis M8x50 (63), rondelle (59) et écrou autobloquant (61) sur le pied (1).
- Placez votre main sur l'embout du cadre système puis pliez le cadre. Placer le piece de sécurité (53) sur le logement du cadre de base (1) et fixez le piece de sécurité (53) avec le vis M8x40 (66), rondelle (59) et écrou autobloquant (61) sur le cadre de base (1).
(Attention! Après le montage, veillez à ce que la pièce de sécurité (53) puisse se fixer aisément.)

Étape n° 5: Montage de la main courante (29) sur les tubes de support gauche (33) et droit (24) à l'aide des vis M8x45 (65) et des rondelles courbées 8//22 (60).
- Poser une rondelle courbée (60) sur chacune des vis (65).
- Amenez cette main courante (29) aux extrémités des tubes d'appui (24) et (33), puis faites coïncider les alésages susmentionnés situés dans (29) avec les alésages ménagés dans (24) et (33).
- Introduire les vis (65) à travers les trous de forage et visser légèrement.

Étape n° 6: Montage de l'ordinateur (30) sur la main courante (29) et du support de bouteille (56) sur le support (24).
- Fixer les extrémités du câble de connexion du capteur 1 (68) (provenant de la tige de support) avec câble de connexion du capteur 2 (31) (provenant de la main courante (29)).
- Placer les piles nécessaires (2 piles AA 1,5V) dans l'ordinateur.
- Poser l'ordinateur (30) sur la plaque de support de l'ordinateur au centre de la main courante (29) et placer les trous taraudés de l'ordinateur au-dessus des trous taraudés de la plaque de support.
- Introduire les vis (49) avec les rondeilles (51) à travers les trous de forage, visser et serrer à bloc.
- Introduire l'extrémité du faisceau de câble de connexion du capteur 2 (31) dans la prise correspondante située au dos de l'ordinateur (30).
- De même, enfichez le connecteur du câble de pouls (14) dans le port correspondant de l'ordinateur (30).
- Fixez le support du bouteille (56) sur l'appui du tube de support (24) à l'aide des vis (67) et faites coulisser le bouteille (55) à l'intérieur.
- Placez le revêtement (27) sur le vis de connexion de la main courante (29).

Etape n° 7: montage de poignée de maintien (69) sur les tubes de support (24+33) à l'aide des vis (78), rondelle (77) et écrou autobloquant (76).
- Mettre les vis (78), les rondelles (77) et les écrous autobloquant (76) à la portée de la main, à côté du pied (23).
- Placer les logements de poignées de maintien (71) entre les logements de tubes de support (24+33).
- Introduire ensuite les vis (78) à logement de support (24 + 33) et de logement de poignée de maintien (72). Poser une rondelle (77) sur chaque extrémité de la vis (78) et visser avec un écrou autobloquant (76).
- Poser une coiffe de vis (75) sur le écrou autobloquant (76).

Etape n° 8: contrôle
- Vérifier si les assemblages et connexions ont été effectués correctement et fonctionnement.
- Si tout est en ordre, se familiariser avec l'appareil en effectuant de légers réglages de la résistance.
Remarques : Veuillez conserver soigneusement le jeu d'outils ainsi que les instructions de montage dont vous aurez eventuellement besoin ultérieurement pour effectuer les réparations nécessaires et commander les pièces de rechange.
Comment déplacer / ranger votre tapis de course :
- Placez votre main sur l'embout du cadre système puis pliez le cadre et bloquez-le à l'aide de la poignée de sécurité (54).
- Placez vos mains en haut de la poignée (54) et inclinez l'appareil vers votre corps, vous pourrez ainsi le déplacer plus aisément.
- Pour l'entraînement, fixer l'appareil comme avec suit la poignée de sécurité (54).
Défauts eventuels et leur suppression
Les procédures simples figurant ci-après permettent de supprimer la plupart des défauts eventuels.
- L'ordinateur ne fonctionne plus parfaitement a) Vérifier si l'ensemble des connexions ont été correctement établies. b) Vérifiez si les batteries offrent encore suffisamment de puissance.
- Le tapis (36) n'avance plus régulièrement. Afin que la course s'effectue de façon uniforme et de réduire les frottements entre tapis (36) et planche (35), il est conseillé d'appliquer de temps à autre une couche de lubrifiant à base de silicone sous le tapis (36) dans la zone des surfaces de glissement. Veillez à ce que le lubrifiant ne soit pas constitué à base d'huile ou de pétrole.
- Le tapis (36) n'avance plus au centre ou glisse a) Si le sens de marche du tapis (36) s'est décalé vers la gauche, tourner la vis gauche (5) dans le sens des aiguilles d'une montre et tourner la vis droite (58) dans le sens inverse des aiguilles d'une montre en faisant un quart de tour. Courir brièvement sur le tapis. Si le tapis n'avance toujours pas au centre, renouveler la procédure ci-dessus mentionnée. b) Si le sens de marche du tapis (36) s'est décalé vers la droite, tourner la vis gauche (5) dans le sens inverse des aiguilles d'une montre et tourner la vis droite (5) dans le sens des aiguilles d'une montre en faisant un quart de tour. Courir brièvement sur le tapis. Si le tapis n'avance toujours pas au centre, renouveler la procédure ci-dessus mentionnée. c) Si le tapis (36) glisse, tourner les deux vis (5) dans le sens des aiguilles d'une montre en faisant un quart de tour. Courir brièvement sur le tapis. Si le tapis (3_6) continue toujours à glisser, renouveler la procédure ci-dessus mentionnée.


L'ordinaire livre vous offre le plus grand comport d'entraînement. Chaque valeur importante pour l'entraînement est affichée dans une fenêtre. Le temps nécessaire, la vitesse actuelle, la consommation de calories approximative, la distance parcourue et le pouls actuel sont affichés dès le début de l'entraînement. Toutes les valeurs sont sauvegardées à partir du nombre zéro.
L'ordinaire se met en marche dès que l'on appuie brièvement sur la touche F ou que l'on commence tout simplement l'entraînement.
L'ordinaire commence à saisir l'ensemble des valeurs et à les afficher. Pour éteindre l'ordinaire, terminer simplement l'entraînement.
L'ordinaire arrête l'ensemble des mesures et sauvegarde les dernières valeurs obtenues. Les dernières valeurs obtenues dans les fonctions ZEIT, KALORIEN, KM total et KM sont sauvegardées et peuvent être réutilisées pour redémarrer l'entrainement.
L'ordinaire s'éteint automatiquement au bout d'environ 4 minutes d'interruption de l'entraînement. L'ensemble des valeurs obtenues jusqu'à présent sont sauvegardées et sont réaffichées lors de la reprise de l'entraînement.
Attention :
Pour pouvoir mesurer votre pouls, vous devrez appliquer simultanément les paumes de vos deux mains sur les surfaces de contact à cet effet que compte l'ordinateur. Veillez à ce que les surfaces de contact se trouvent au milieu de vos paumes.
1. Affichage "TIME" (affichage du temps) :
Permet d'afficher le temps nécessaire actuellement en minutes et en secondes. La touche « E » permet de fixer préalablement une valeur déterminée. Si une valeur déterminée est fixée préalablement, le temps qu'il reste à parcourir est affiché. Si la valeur fixée est atteinte, un signal acoustique l'indique. Cette fonction permet de sauvegarder les valeurs obtenues jusqu'à présent. Affichage limite au maximum à 99,59 minutes.
2. Affichage "SPEED" (affichage des km/h):
Permet d'afficher la vitesse actuelle en kilomètres par heure. La touche « E » ne permet pas de fixer préalablement une valeur déterminée. Cette fonction ne permet pas de sauvegarder les valeurs obtenues jusqu'à présent. (Affichage limite au maximum à 99,9 km/h)
Permet d'afficher l'état actuel des calories consommées. La touche « E » permet de fixer préalablement une valeur déterminée. Si une valeur de consommation déterminée est fixée préalablement, la quantité de calories qu'il reste à consommer est affichée. Si la valeur fixée est atteinte, un signal acoustique l'indique. Cette fonction permet de sauvegarder les valeurs obtenues jusqu'à présent. (Affichage limite au maximum à 999 calories)
4. Affichage "DIST" (affichage des km):
Permet d'afficher les kilomètres parcourus jusqu'à présent. La touche « E » permet de fixer préalablement une valeur déterminée. Si un parcours déterminé est fixé préalablement, la distance qu'il reste à parcourir est affichée. Si la valeur fixée est atteinte, un signal acoustique l'indique.
Cette fonction permet de sauvegarder les valeurs obtenues jusqu'à présent. (Affichage limite au maximum à 999 km)
5. Affichage „PULSE" (affichage du pouls):
Permet d'afficher le pouls actuel par battement par minute. La touche « E » ne permet pas de fixer préalablement une valeur déterminée.
Cette fonction ne permet pas de sauvegarder les valeurs obtenues jusqu'à présent. (Les affichages limités au maximum à 90-220 battements par minute)
6. Affichage "ODO" (affichage du nombre total de kilomètres) : permet d'afficher le niveau actuel des kilomètres parcourus pour
l'ensemble des unités d'entraînement ainsi que celui de l'unité actuelle d'entraînement. Il n'est pas possible de fixer préalablement une valeur déterminée. Cette fonction ne permet pas de sauvegarder les valeurs obtenues jusqu'à présent. (Affichage limite au maximum à 9999 km)
7. Fonction „SCAN“:
Si l'on sélectionne cette fonction, les valeurs actuelles de l'ensemble des fonctions sont affichées les unes après les autres toutes les 5 secondes environ.
1. Touche, e:
Pour fixer préalablement et par étape des valeurs dans les fonctions individuelles, appuyer une fois sur cette touche. À cet effet, il faut d'abord sélectionner la fonction souhaitée à l'aide de la touche „F".
Si l'on appuie longuement, un déroulement rapide se produit, lequel peut être réinterrompu en appuyant de nouveau. Dès le début de l'entraînement, le comptage s'effectue en arrêt en partant de ces valeurs fixées.
2. Touche, f
Pour passer d'une fonction à une autre, appuyer une fois et brièvement sur cette touche ; c'est-à-dire qu'il est possible de sélectionner la fonction en question permettant d'effectuer des entretiens à l'aide de la touche „E“. Un symbole s'affiche dans la fenêtre en question lequel indique la fonction sélectionnée. En appuyant plus longuement sur cette touche (pendant environ 5 secondes), il est possible d'effacer la totalité des valeurs atteintes jusqu'à présent. Toutes les valeurs affichées sont remises à zéro. (non KM-totale)
En appuyant brièvement sur cette touche, la valeur sélectionnée à l'aide de la touche „E“ est remise à zéro.


Mode d'emploi pour tapis roulant mécanique, magnétique freiné.
Mettre le tapis roulant en place sur un sol plat et le fixer en suivant les instructions; à l'aide de la poignée de sécurité (54).
pour le fonctionnement en mode entraînement et à l'aide de la poignée de sécurité (54) pour l'état replié.
La stabilité de l'appareil ne doit en aucun cas être menacée par la mise en place de plaques en bois ou autres au-dessous du tapis roulant, que ce soit à l'avant ou à l'arrière.
Avant le début de l'entraînement, assurez-vous du fait que le tapis roulant ne subisse pas une charge supérieure au poids corporel maximal et qu'un espace de sécurité suffisant de 2000mm× 1000mm soit bien respecté à l'arrière du tapis roulant.
Courrez au centre de la surface de roulement, tenez-vous lorsque vous courez et cependant, ne marchez pas sur la planche de dérapage (35) ou bien sur les revêtements d'appui (10). Ne courez que dans le sens montant en restant face à l'ordinateur du tapis roulant.
En cas de nécessité, descendez latéralement du tapis tout en vous tenant à la main courante (29).
Dès que personne ne se trouve sur la surface de roulage, le tapis roulant s'arrête.
Recommandations pour l'entraînement
Les facteurs ci-après doivent être pris en compte pour la détermination de l'entraînement indispensable afin d'améliorer concrètement son physique et sa santé:
1. Intensité:
L'entraînement n'aura d'effets positifs que si les efforts déployés dépassent ceux de la vie quotidienne, mais sans être hors d'haleine et/ou se sentir épuisé. Le pouls peut constituer un repère valable pour un entraînement efficace. Au cours de celui-ci, le pouls devrait se situer entre 70% et 85% du pouls maximum (le déterminer et le calculer au moyen du tableau et de la formule). Pendant les premières semaines, le pouls devrait tourner autour de 70% du maximum. Pendant les semaines et les mois suivants, le pouls devrait augmenter lentement pour atteindre la limite supérieure, c.-à-d. 85% du pouls maximum. Plus la condition physique de la personne qui s'entraîne est bonne, plus il faut accroître l'entraînement pour rester entre 70 et 85% du pouls maximum. On y arrive en allongeant la durée de l'entraînement et/ou en renforçant la difficulté de celui-ci.
Si la fréquence cardiaque n'est pas affichée sur le visuel de l'ordinateur ou si, pour des raisons de sécurité, vous souhaitez la contrôler, car elle aurait pu être incorrectement indiquée suite à des erreurs d'utilisation, etc., vous pouvez alors procéder comme suit:
a. Mesure de contrôle du pouls de manière classique (c.-à-d. en posant le pouce sur la veine du poignet et en comptant les battements en une minute).
b. Mesure de contrôle du pouls au moyen d'un dispositif approprié (vendus dans un magasin spécialisé).
2. Fréquence
La majorité des experts recommandent de combiner une alimentation comme pour la santé, qui sera en fonction de l'objectif recherché par l'entraînement, et les exercices physiques trois ou quatre fois par semaine. Un adulte normal doit s'entraîner deux fois par semaine pour conserver la forme actuelle. Mais au moins trois fois par semaine pour améliorer et modifier son poids. Cinq fois par semaine étant idéal.
3. Programmation de l'entraînement
Chaque séance d’entraînement devrait comprendre trois phases : «phase d’échauffement», «phase d’entraînement» et «phase de ralentissement». La température du corps et l’absorption d’oxygène doivent augmenter lentement durant la phase «d’échauffement». Ce qui est possible en effectuant de la gymnastique pendant cinq à dix minutes.
L'entraînement proprement dit («phase d'entraînement») devant commencer ensuite. Choisir une faible résistance pendant quelques minutes puis accroître entre 15 et 30 minutes de sorte que le pouls se situe entre 70% et 85% de son maximum.
Afin de faciliter la circulation après la «phase d'entrainement» et d'éviter des courbatures ou des muscles noués, la «phase d'entrainement» doit être suivie d'une «phase de ralentissement». Celle-ci devrait englober des exercices d'élongation et/ou de la gymnastique sans forcer, et ce entre cinq et dix minutes.
4. Motivation
Un entraînement régulier est la clé de la réussite de votre programme. Vous devriez prévoir tout entraînement à heures fixes chaque jour et vous y préparer mentalement. Il est primordial d'être de bonne humeur au moment de l'entraînement et de ne pas perdre l'objectif visé. Jour après jour, en vous entraînant continuellement, vous verrez les progrès accomplis et votre objectif se rapprocher progressivement.

Formules de calcul : Pouls maximum = 220 - âge
90% du pouls maximum = (220 - âge) × 0,9
85% du pouls maximum = (220 - âge) × 0,85
70% du pouls maximum = (220 - âge) × 0,7
Notice Facile