WALKER de Luxe - Fitnessapparatuur Christopeit - Gratis gebruiksaanwijzing en handleiding
Vind de handleiding van het apparaat gratis WALKER de Luxe Christopeit in PDF-formaat.
| Kenmerken | Details |
|---|---|
| Type uitrusting | Elektrische loopband |
| Afmetingen | Lengte: 130 cm, Breedte: 60 cm, Hoogte: 120 cm |
| Maximaal gebruikersgewicht | 120 kg |
| Instelbare snelheid | Van 1 tot 10 km/u |
| Hellingshoek | Handmatig, 3 niveaus |
| Scherm | LCD-display met informatie over snelheid, tijd, afstand en verbrande calorie n |
| Trainingsprogramma's | 5 vooraf ingestelde programma's |
| Materialen | Stalen frame, antislip loopoppervlak |
| Onderhoud | Controleer regelmatig de schroeven en verbindingen, smeer het loopoppervlak indien nodig |
| Veiligheid | Noodstop, overbelastingsbeveiliging |
| Accessoires | Houder voor tablet of smartphone |
| Garantie | 2 jaar |
| Gewicht van het apparaat | Ongeveer 40 kg |
Veelgestelde vragen - WALKER de Luxe Christopeit
Gebruikersvragen over WALKER de Luxe Christopeit
0 vraag over dit apparaat. Beantwoord die u kent of stel uw eigen vraag.
Stel een nieuwe vraag over dit apparaat
Download de handleiding voor uw Fitnessapparatuur in PDF-formaat gratis! Vind uw handleiding WALKER de Luxe - Christopeit en neem uw elektronisch apparaat weer in handen. Op deze pagina staan alle documenten die nodig zijn voor het gebruik van uw apparaat. WALKER de Luxe van het merk Christopeit.
GEBRUIKSAANWIJZING WALKER de Luxe Christopeit
Montage- en bedieningshandleiding voor Bestellnummer 98294

HCTpykunnoMOHTaKyn3KcNnyatau
No 3aka3a 98294

Inhaltsübersicht
- Overlicht van de losse delen pagina 3 - 4
- Belangrijke aanbevelingen en veiligheidsinstrumenties pagina 28
- Stuklijst pagina 29 - 30
- Montagehandleiding met explosietekingen pagina 31-33
- Handleiding bij de computer pagina 34
- Trainingshandleiding pagina 35
Geachte klant
Wij wilen u van harte gelukwensen met de aanschaf van uw hometrainer en hopen dat u hier veel plezier aan zult beleven. Neem a.u.b. de instructies en aanwijzingen uit deze montage- en bedieningshandleiding in acht en volg.Deze op.
Bij eventuele vragen kunt u natuurlijk alkijd contact met ons opnemen.
Met vriendelijke groeten,
Belangrijke aanbevelingen en veiligheidsinstrumenties
Onze producten werden in principe door de TÜV-GS (Technische Keuringsdienst) gecontroleerd en voldoen bijgevolg aan de actuele, hoogste verigheidsnorm. Dit feit impliciert echter nicht dat de hierna volgende beginselen nicht strikt in achegenomen要去en worden. In geval van een reparatie, vraag advies aan uw handelaar.
- Het toestel nauwkeurig in overeenstemming met de montage-instructies opbouwen en uitsluitend de voor de opbouw van het toestel bijgevoegde en in de stuklijst vermelde, specifi ek voor het toestel bestemde onderdelen gebruiken. Voor de eigenlijke opbouw de volledigheid van de levering aan de hand van de leveringsnota en de volledigheid van de kartonnen verpakking aan de hand van de stuklijst van de montage-instructies en van de gebruiksaanwijzing controleren.
- Vooraleer het toestel voor het eerst gebruikt worden en met regelmatie tussentijden (om de 1-2 maanden) nakijken of alle schroeven, moeren en overige verbindingen vast zitten, opdat een veilige operationele toestand gewaarborgd is. Bijkomende zin: Defecte delen要去en onmiddelijk verrangen of verwijderd worden. Eventuele het toestel tot de reparatie blokkeren.
- Het toestel op een droge, effenplaats installereren en het toestel gegen vochtigkeit en vocht beschermen. Oneffenheden van de vloer dienen door gespaste maatregelen op de vloer en, voor zover beschikbaar bij dit toestel, door waarvoor bestemde, regelbare onderdelen van het toestel geneutraliseerd te worden. Het contact met vochtigkeit en vocht dient uitgesloten te worden.
- Voor zover de opstellingsplaats in het bijzonder gegen drukplaatsen, verontreiniging en dergelijkke beschermd要去en, een geschikt, slipvrij support (bijvoorbeeld rubberen mat, houten planta of dergelijkke) onder het toestel leggen.
- Vóor het begin van de training alle voorwerpen binnen een omtrek van 2 meter rond het toestel verwijderen.
- Voor de reiniging van het toestel geen agressieve reinigingsmiddelen gebruiken. Voor de opbouw en voor eventuale herstellingen uitsluitend het respectievelijk bijgeleverde of geschikte, eigen gereedschap gebruiken. Residu door het階段 aan het toestel dient ommiddelijk verwijderd te worden zobra de training beeinigd werk.
- In geval van een ondeskundige en bovenmatige training zijn nadelige gevolgen voor de gezondheid möglichk. Voor het beginn van een doelgerichte training dient waarom een geschikte geneesheer te worden geraadpleegd. Deze geneesheer kan bepalen, aan welke maximale belasting (impulsie, watt, duur van de training enz.) men zich mag blootstellen, en kan nauwkeurige inlichtingen met betrekking tot een correcte lichaamshouding bij de training, de doelstellingen van de training en de voeding geen. Er mag Niet na uitgebreide maaltijden getraind worden. Er dient in acht te worden genomen dat dit toestel Niet voor therapeutische doeleinden geschikt is.
- Met het toestel slechts trainen wanner het foulloos functioneert. Voor eventuele herstellingenuitsluitend van originele reserveonderdelen gebruik make.
-
Bij de instelling van verstelbare onderdelen op respectievelijk de correcte positie of de gemarkeerde, maximale instelpositie alsook op een reglementair voorgeschreven positie letten.
-
Voor zover in de gebruiksaanwijzing Niet anders beschreiben, mag het toestel met het oog op de traininguitsluitend door een persoon gebruikt worden.
- Er要去 trainingskledij en schoenen gedragen worden, die voor een fitnesstraining met het toestel geschikt zijn. De kleding moet zodanig�n, dat deze omwille van de vorm (bijvoorbeeld lenghte) ervanijdens de training Niet kan blijven hangen. De trainingschoenen要去 in overeenstemming met het trainingstoestel gekozen worden, uw voeten in principe een vaste passingeleen en een slipvrije zool hebben.
- Wanner duzieleligheid, misselijkheid, borstijn en andere abnormale symptomen ondvonden worden, de training vroegtijdig beëindigen en u tot een geschikte geneesheer wenden.
- Over het algemeen geldt dat sporttoestellen geen speelgoed zijn. Ze zou aanomuitsluitend in overeenstemming met de bepalingen en door opGPeaste wijze geinormeerde en geinstrueerde Personen gebruikt worden.
- Personen zoals kinderen, mindervallen en gehandicapten mogen het toestel uitsluitend gebruiken in bijzijn van een tweede persoon, die hulp kan verlenen en instructies kan geben. Het gebruik van het toestel door kinderen zonder toezicht dient door gpaste maatregelen te worden uitsgesloten.
- Er dient op gelet te worden dat de trainer en andere personen zich nooit met een of ander lichaamsdeel binnen het bereik van nog in beweging zijnde onderdelen begeven of bevinden.
- Dit produit kan aan het einde van de levensduur Niet via het gewone huisafval worden afgevoerd, maarclientaar een verzamelpunt voor recycling electrische apparaten gebracht te worden.Het symbol op het produit, de gebruiksaanwijzing, of de verpakking wijst u waarop.
De grondstoffen zijn volgens hun kenmerken verwerkbaar. Met de verwerking, van deze oude apparaten, doet u een bijdrage aan de bescherming van ons milieu Vraagt u bij de gemeente maar de desbetreffende verwerkingsplaats. - De verpakkingsmaterialen, lege batterijen en onderdelen van het toestel omwille van het milieu Niet samen met het huishoudelijk afval evacueren, maar in waaroor bestemde opslagtanks werpen of op geschikte inzamelpunten afgeven.
- Het toestel is met een 8-fasen rasterschakeling uitgerust. Deze makeen een vermindering en/of toename van de remweerstand en bijgevolg van de trainingsbelasting möglichk. Daar bij leidt het draaien van de instelkop van de wonderinstelling in richting fase 1 tot een vermindering van de remweerstand en bijgevolg van de trainingsbelasting. Het draaien van de instelknop van de weersstandinstelling in richting fase 8 leidt tot een verhoging van de remweerstand en bijgevolg van de trainingsbelasting.
- Dit toestel werk conform de EN 957-1-6 en ,^ gekeurd en gecertifi ceerd. De toegelaten maximale belasting (= lichaamsgewicht) werk op 120~kg bepaald. Verzeker, vooraleer met de training te beginnen, dat het toegelaten totale gewicht Niet overschreden worden.
Stuklijst - reserveonderdelenlijst WALKER bestelnummer: 98294
Technische specificatie:Stand:01.02.2009
- Magnetisch remmende loopband met zeer goed rondlooggedrag en walking sticks.
- magnetisch remsysteme
ca. 5 kg weerstand massa
8-fasige weerstandregeling
manuele 3 standen verstelbare hellingshoek
handpolsslag meting aan de handgrepen - afmetingen loopvlak: ca. L 110 x B 35 cm
door opklapbaarheid plaatsbesparend - transportrollen aan de voorkant
- inclusief drinkfles+steun
Groot display met digitale weergave van gegevens: Snelheid, afstand, tijd, ca. calorieverbruik, polsfrequentie en scan
Programmeerfunctie voor:ijd, afstand en ca. calorieverbruik - belastbaar met een lichaamsgewicht tot max. 120kg afmetingen: ca. L 138 x B 70 x H 150 cm
afmetingen ingeklapt: Ca. L 65 x B 70 x H 150 cm
Controleer na het openen van de verpakking a.u.b. aan de hand van de onderstaande stuklijst of alle onderdelen aanwezig+zijn. Wanner dit het geval is, kut u met de montage beginnen.
Wanner een bepaald onderdeel Niet in orde is of ontbreekt, of wanner u in de toekomst een reserveronderdeel nodig heeft, kunt u zich wenden tot:
| Afbeeldings- nr. | Beschrijving | Afmetingen mm | Aantal stuks | Gemonteerd aan afbeeldingsnr. | ET-nummer | |||
| 39 | Voorste As | 1 | 1 | 33-9829210-SI | ||||
| 40 | Voorste rol met vliegwiel | 1 | 39 | 33-9829211-SI | ||||
| 41 | Bout | M3 | 2 | 42 | 39-10127-SW | |||
| 42 | Sensor | 1 | 1 | 36-9829110-BT | ||||
| 43 | Overtrek van de leuning | 300 | 2 | 29 | 36-9829-06-BT | |||
| 44 | Greeepovertrek | 160 | 2 | 29 | 36-9829234-BT | |||
| 45 | Polsslagvoeler | 2 | 29 | 36-9829220-BT | ||||
| 46 | Bout | M4x20 | 2 | 45 | 39-10187 | |||
| 47 | Bout | M6x10 | 2 | 38 | 36-9329714-BT | |||
| 48 | Onderlegplaatje | 8//16 | 4 | 20 | 39-9862 | |||
| 49 | Bout | M4x15 | 2 | 30 | 39-10188 | |||
| 50 | Onderlegplaatje | 4//8 | 4 | 46 | 39-10510 | |||
| 51 | Onderlegplaatje | 4//10 | 2 | 49 | 39-10097 | |||
| 52 | Veiligheidspin | 2 | 57 | 36-9830105-BT | ||||
| 53 | Veiligheidseenheit | 1 | 1+23 | 33-9829207-SI | ||||
| 54 | Veiligheidsknop | 1 | 53 | 36-9829221-BT | ||||
| 55 | Drinkfles | 1 | 56 | 36-9913122-BT | ||||
| 56 | Drinkfles houder | 1 | 24 | 36-9913123-BT | ||||
| 57 | stijingsbeugel | 1 | 1 | 33-9829206-SI | ||||
| 58 | Bout | M8x50 | 4 | 23+24+33 | 36-9329710-BT | |||
| 59 | Onderlegplaatje | 8//16 | 6 | 58+63+66 | 39-9917-VC | |||
| 60 | Onderlegplaatje gebogen | 8//20 | 2 | 65 | 39-10232 | |||
| 61 | Zelfborgene moer | M8 | 6 | 58+63+66 | 39-9918-CR | |||
| 62 | Onderlegplaatje | 6//12 | 3 | 47 | 39-10007-CR | |||
| 63 | Bout | M8x50 | 3 | 24+33+53 | 39-9811-CR | |||
| 64 | Onderlegplaatje | 8//16 | 2 | 63 | 39-9862 | |||
| 65 | Bout | M8x45 | 2 | 29 | 39-9914-SW | |||
| 66 | Bout | M8x37 | 2 | 53 | 39-9889-CR | |||
| 67 | Bout | M5x15 | 1 | 56 | 36-9210-30-BT | |||
| 68 | Sensorverbindingskabel 1 | 1 | 24 | 36-9829224-BT | ||||
| 69 | Handgreep | 2 | 71 | 33-9829401-SI | ||||
| 70 | Greepovertrek | 2 | 69 | 36-9829401-BT | ||||
| 71 | Handgreep opname | 2 | 24+33 | 36-9829301-BT | ||||
| 72 | Vastzetopname | 2 | 24+33 | 36-9829306-BT | ||||
| 73 | Schroef | 4x19 | 2 | 72 | 36-9210-33-BT | |||
| 74 | Schroef | 5x15 | 2 | 71 | 39-10127-SW | |||
| 75 | Afdekkap | 2 | 76 | 36-9329709-BT | ||||
| 76 | Zelfborgende moer | 2 | 78 | 39-9981-VC | ||||
| 77 | Onderlegplaatje | 2 | 78 | 39-9989-CR | ||||
| 78 | Schroef | M10x50 | 2 | 24+33+71 | 39-9976 | |||
| 79 | Gereedschapset | 1 | 36-9829402-BT | |||||
| 80 | Plakker voor op karton | 1 | 36-9829407-BT | |||||
| 81 | Karton | 1 | 36-9829405-BT | |||||
| 82 | Bevestigingshandleiding en gebruiksaanwijzing | 1 | 36-9829408-BT | |||||
Montagehandleiding
Voordat u met de montage begint, absolut unze adviezen en veiligheidsvoorschriften in acht nemen!
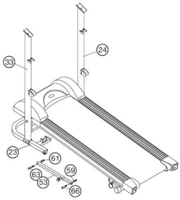
STAP 1:
Montage van de steunbuis links (33) en de steunbuis rechts (24) aan poot (23) met behulp van de bouten M8x50 (58), de:tussenringen 8//16 (59) en de zelfborgene moeren M8 (61).
- De boute (58), tussenringen (59) en moeren (61) klaarleggen naast de poort (23).
- De steunbuis links (33) op de poot (23) leggen en zo uitlijnen dat de gatenpatronen in de poot overeenkomen.
(Let op! De transportrollen (21), die in de poot (23) gemonteerd zijn moeten aan achteren (tegen de richting waarin men kijkt wanner men op het apparaat staat en traint)়uitgelijnd. Rechts en links is vanuit de kijkrichting gezien, wanner men op het apparaat staat en traint.
- Een bout (58) met tussenring (59) door elk boorgat steken.
- Alleboutiteinden van (58) voorzien van een tussenring (59) en een moer (61) en stevig vastdraaien.
- Met de steunbuis rechts (24) aan de rechtzerijde van de poot (23), op verzelfde wijze als onder de punten 1 - 4 beschreven te werk gaan.

STAP 2:
Montage van de bekleding (38) aan de basisframe (1) en de bowden-kabel van de Weerstandsinstelling (25) aan de magneetbeugel (18).
- De Bowdenkabel (25) in de moerbus van het basisframe (1) leggen en het uiteinde van de Bowdenkabel (25) in de moerbus van de Magneetbeugel (18) vasthaken. De positie van de Bowdenkabel (25) door de moer aan het uiteinde van de Bowdenkabel te draaien in de aangegeven pijrlichting beveiligien. (Abb.1-3)
- Monteer de bekleding (38) op het basisframe met de bouteen (20) en onderlegplattje (62).




STAP 3:
Montage van het voorgemonteerde basisframe (1) aan de steunbuizen links (33) en rechts (24) met behulp van de bouteu M8x50 (63) en de tussenringen 8//22 (64).
- De boute (63) en tussenringen (64) klaarleggen naast de poot (23).
- Het basisframe (1) tussen de steunbuizen (24) en (33) leggen en zo uitlijnen dat de gatenpatronen in het basisframe en de steunbuizen overeenkomen.
(Let op! U要去 het basisframe (1) door een tweeede personen latent vensthouden of met een voorwerp ondersteunen, zDat u de volgende montagestappen kunt uitvoeren.) - Op elke bout (63) een tussenring (64) plaatsen en de bouteen daarna door de openings in de steunbuizen (24) en (33) geleiden en vastdraaien.
- De kabeleinden van Sensorverbindingskabel 1 (68) (die uit de steunbuis (24) steken) en Sensorkabel (42) (die uit de basiframe (1) steken) verbinden.
STAP 4: Montage van de Veiligheidseenheit (53) aan de basis frame (1) en poot (23).
- De Veiligheidseenheit (53) met uiteinde in de opname van het poot (23) leggen en zo uitlijnen dat de gatenpatronen overeenkomen. Een bout M8x50 (63) door elk boorgat steken en met tussenring (59) en moer (61) vastdraaien.
- Opklap de basis frame (1) en stek de veiligheidseenheit (53) met de bovenste uiteinde in de opname van het basi frame (1). Een bout M8x40 (66) door elk boorgat steken en met tussenring (59) en moer (61) vastdraaien. (Let op! Na de montage mag de bevestiging moet de veiligheidseenheit (53) nog gemakkelijk bewogen worden.)

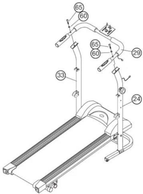
STAP 5: Montage van de leuning (29) aan de steunbuizen links (33) en rechts (24) met behulp van de bouten M8x45 (65) en de gebogen:tussenringen 8//22 (60).
- De bouten (65) allemaal voorzien van een tussenring (60).
- De leuning (29) maar de bovenste uiteinden van de steunpijp (24) en (33) brengen en de hoger vermelde boringen in (29) met de boringen in (24) en (33) boven elkaar brengen.
- De boute (65) door de openings steken en vastdraaien.

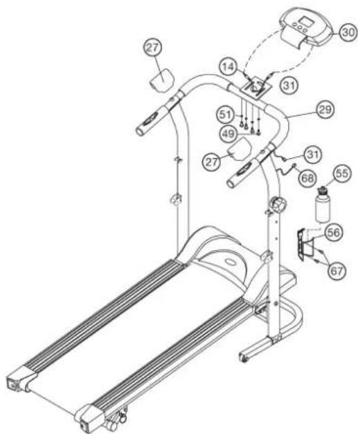
STAP 6: Montage van de computer (30) aan de leuning (29) en de drinkfl eshouser (56).
- De kabeleinden van Sensorverbindingskapel 1 (68) (die uit de steunbuis (24) steken) en Sensorverbindingskapel 2 (31) (die uit de leuning (29) steken) verbinden.
- De benodigde batterijen (2x penlite AA 1,5V) in de computer plaatsen.
- De computer op de bevestigingsplaat voor de computer in het midden van de leuning (29) leggen en de schroefdraadgaten van in de computer lijnen met de gaten in de bevestigingsplaat.
- De boute (49) met onderlegplaatje (51) door de openings steken en vastdraaien.
- De stekker van de handmatige polsslag (14) in de eveneens correspondende bus van de computerplaatsen.
- Het uiteinde van de sensorverbindingskabel 2 (31) in de betreffende bus van de computer steken.
- Bevestig de drinkfl eshouser (56) door middel van de schroeven (67) op het stuurbuis (24) en schuif de drinkfl es (55) in de houder.
- De bouteverbinding van leuning (29) voorzien van een afdekkap (27).

Stap 7: Montage van de handgreep (69) aan de steunbuizen (24+33 met debouten M10x50 (78),ussenringen (77) en de zelfborgende moeren (76).
- De boute (78), tussenringen (77) en de moeren (76) klaarleggen naast de poot (23).
- De handgreep (69) met de handgreep opname (71) op de opname van de steunbuis (24 + 33) leggen en zo uilijnen dat degatenpetronen overeenkomen.
- Stek de bouten (79) door de openings. De boutuiteinden van (78) voorzien van een tussenring (77) en een moer (76) en vastdraaien.
- Plaats de bout cap (75) op de moer (76).

STAP 8:
Controle:
- Alle schroef- en stekkerverbindingen op een correcte montage en juistwerking controleren.
- Wanner alles in orde is, kurz u zich het Beste eerst met een lage weerstandsinstelling met het apparaat vertrouwd make
Opmerking:
De gereedschapset en de gebruiksaanwijzing a.u.b. zorgvuldig bewaren, onwardenden nodig hebft.
Methode om uw loopband te verplaatsen/ op te bergen:
- Plaats uw hand op het uiteinde van het systeme frame en klap dan het frame in en vergrendel het met de verilgheitsknob (54).
- Plaats uw handen op de handrails, dan kiep de machineaar uw lichaam toe. Op deze manier kurz u het makkelijk verplaatsen.
- Voor aanvang van de training moet hetbasis frame uitgeklap en het apparaat met de verilgheitsknob (54) worden geborgd.

Mogelijkke storingen en het verhulpen ervan
De meest voorkomende storingen können door de onderstaande, eenvoudige maatregelen worden verholpen.
- De computer werkt nicht meer goed
a) Controller of alle stekkerverbindingen nog in orde zich.
b) Controller of de batterijen nog voldoende capacititeit hebben. - De band (36) loopt nicht meer gelijkmatig
Om de band gelijkmatig te lately lopen en om de wrijvingussen de band (36) en de glijplank (35) te verminderen moet u vanijd totijd een silicoenhoudend smeermiddel in het geedeelte van de glijplank onder de band (36) aanbrengen. Houd er.daar bij rekening mee dat het smeermiddel Niet op een olie- of petroleumverbinding gebaseerd mag+zijn. - De band (36) loopt nicht meer in het midden of slips door
a) Wanner de band (36) in de looprichting waar links is verschoven, de linker bout (5) in wijzerrichting (met de klok mee) draaien en de rechter bout (5) een kwartslag gegen de klok in draaien. Even kort op de band lopen.
Loopt de band nog Niet in het midden, dan de bovenstaand beschreven procedure herhalen.
b) Wanneer de band (36) in de looprichting maar rechts is verschoven, de linker bout (5) in wegenwijzerrichting (tegen de klok in) draaien en de rechtier bout (5) een kwartslag met de klok mee draaien. Even kort op de band lopen.
Loopt de band nog Niet in het midden, dan de bovenstaand beschreven procedure herhalen.
c) Wanner de band (36) doorslipt, de beide bouten (5) een kwartslag met de klok mee draaien. Even kort op de band lopen. Slipt de band (36) nog steeds door, dan de bovenstaand beschreiben procedure herhalen.

Computerhandleiding voor 98294
De bijgeleverde computer zorgt voor een uitstekend trainingscomfort.
Elke trainingsrelevante waarde worden in het venster weergegeven.
Vanaf het begin van de training worden de benodigdeijd, de actuèle slelheid, het verbruike aantal calorieën, de afgelegde afstand en de actuèle hartslag weergegeven. Vanaf nul worden alle waarden verhoogd en vastgehonden.
De computer worden door het indrukken van een toets of gewoon aan het begin van de training ingeschakeld. De computer registreert dan alle waarden en geeft deze weg.
Om de computer te stoppen=kunt u gewoon de training beeindigen. De computer stopt met alle metingen en houdt de LAST bereike waarden vast. De LAST bereekte waarden voor TIJD, CALORIEEN, KM total en KM worden opgeslagen in het geheugen en wanner de training worden hervat kan vanaf deze waarden verdier worden getraind.
Na beeing van de training wordt de computer automatisch na ca. 4 minutes uitgeschakeld. Alle tot dan toe bereekte waarden worden opgeslagen en wonneer de training wordt hervat worden ze opnieuw weergegeven (niet KM-Total).
Opgepast:
Voor de Polsmeting moeten de twee contactvlakken op de computer met beiden handen gelijkmatig gegren worden. Daar bij moeten de contactvlakken zich in het midden in het handvlak bevinden.
Weergave:
1. TIME"-tijd-weergave:
De actuèle benodigde tijd worden in minuten en seconden weergegeven.
Een bepaalde waarde kan worden ingesteld met behulp van de „E“ -toets.
Wonneer een bepaalde tijd is ingesteld worden de nog resterende tijd weergegeven. Wonneer de ingestelde waarde worden bereikt, worden dat door een akoestisch signala weergegeven.
De letzst bereiktwe Waarde bij deze functie worden automatisch opgeslagen.
(De maximale weergave 99,59 minutes)
De actuèle snelheid worden in kilometers per our weergegeven. Een bepaalde waarde kan nicht worden ingesteld met behulp van de
"E" -toets. Ook worden de LAST bereekte waarde bij deze functie nicht opgeslagen.
(De maximale snelheid bedraagt 99,9 km/h)
3. "CAL"-weergave:
De actuèle stand van het aantal verbruike calorieën worden weergegeven.
Een bepaalde waarde kan worden ingesteld met behulp van de „E“ -toets. Wanner het aantal te verbruiken calorieën is ingesteld wordt het aantal nog te verbruiken calorieën weergeveen. Wanner de ingestelde waarde wordt bereikt, wordt dat door een akoestisch signal weergeveen. De LAST bereekte waarde bij deze functie worden automatisch opgeslagen.
(De maximale waarde bedraagt 999 calorieen)
4. DIST" -weergave:
De actuèle stand van het aantal afgelegde kilometers worden weergegeven.
Een bepaalde waarde kan worden ingesteld met behulp van de „E"
-toets. Wanner een bepaalde afstand is ingesteld worden de nog resterende afstand weergegeven. Wanner de ingestelde waarde worden bereikt, worden dat door een akoestisch signaal weergegeven.
De LAST bereekte waarde bij deze functie worden automatisch opgeslagen. (De maximale afstand bedraagt 999km / h
5. "PULSE"-weergave:
De actuèle hartslag worden in slagen per minuut weergegeven. Het is nicht möglichk om vooraf een waarde in te voeren met de „E“-toets.
Ook wordt de laatst bereekte waarde bij deze functie Niet opgeslagen. (Maximaal kan 90-220 slagen per minuut worden weergegeven)
6. "ODO"-weergave:
De actuèle stand van de afgelegde kilometers van alle trainingsunits tot dan toe incl. de actuèle trainingsunit worden weergegeven. Het is nicht möglich om vooraf een bepaalde waarde in te voeren.
Ook wordt de staat bereekte waarde bij deze functie worden automatisch opgeslagen. (De maximale afstand bedraagt 9.999km / h )
7. "SCAN"-functie :
Wonneer deze functie worden geselecteerd, worden in een voortdurende wisseling in ca. 5 seconden de actuèle waarden van alle functies na elkaar aangegeven?.
Toetsen:
1. "E"-toets
Door telkens een ker kort op deze toets te drukken kennen waarden in de afzonderlijke functies trapsgewijs worden ingesteld. Daaroor要去 eerst de gewenste functie met de „F“-toets worden geselecteerd.
Door.Deze toets langer ingedrukt te houden verspringen de waarden sneller, deze functie kan worden gestopt door de toets nogmaals in te drukken. Bij het begin van de work-out worden dan vanaf de ingestelde waarde teruggeteldaar nul.
2. F^ -toets:
Door een keer kort op deze toets te drukken kan tussen functies worden gewisseld; d.w.z. dat de betreffende functie waarin m.b.v. de E-toets een waarde要去 worden ingevoerd, kan worden geselecteerd. De gewenste functie worden door een symbol in het venster weergeveen.
Door de toets lang in te drukken (ca. 5 seconden) konnen alle waarden worden gewist. Alle weergegeven waarden worden waar bij teruggezet op nul.
3. "L"=Uitschakelen (Loschen):
Door deze toets kort in te drukken kan de geselecteerde waarde met de, F-toets op nul worden gezet.


Gebruikshandleiding voor een mechanische loopband, magnetisch geremd
De loopband op een vlakke ondergrond zetten en met de Veiligheidsknop (54) voor trainingsdoel en voor de ingeklapte stand volgens handleiding bedieren.
De standvastigheid van het apparaat mag Niet beinvloed worden door het onderleggen van een houten plank, of iets dergelijks, voor ofijken het apparaat.
Stelt u voor het trainingsbegin vast, dat het apparaat Niet met meer dan het maximale lichaamsgewicht belast worden. Tevens dient er achechter de loopband voldoende veiligheidsruimte te zichen van 2000x1000 mm.
Gaarne in het midden van het loopvlak te lopen, houdt u zich vast en stapt u Nietijdens het lopen op de houten loopplank (35) of op het opstapgedeelte (10). U dient te lopen met uw gezicht richting de computer op de loopband.
In noodgeval stapt u aan de zijkant van de loopband af en dient u zichzelf vast te leuning (29).
Zo gauw niemand zich op het loopvlak begeeft stopt de loopband.
Trainingshandleiding
De onderstaande factoren moeten in acht worden genomen bij het bepalen van de benodigde training voor het bereiken van een merkbare verbetering van uw fi guur en gezondheid:
1. Intensiteit:
De mate van lichamelijke belasting bij de training moet de normale belasting overschrijden, zonder dat u�baij buiuten adem en/of uitgeput raakt. De hartslag kan een geschikte richtwaarde voor een effectieve training+zijn. Tijdens de training moet dezeussen de 70% en 85% van de maximale hartslag liggen (zie de tabel en formule om deze te bepalen en te berekenen).
Tijdens de eerste weken要去 hartslag tijdens de training in het laagste deel hiervan, rond 70% van de maximale hartslag liggen. In de loop van de waarpvolgende weken en maanden zou de hartslag langzaam tot de bovengrens van 85% van de maximale hartslag moeten stijgen. Hoe better de conditie van degene die traint is, des te meer要去 het trainingsniveau stijgen omussen de 70% tot 85% van de maximale hartslag te komen. Dit kan worden bereikt door langer te trainen en/of door de moeilijkheidsgraad te verhogen.
Wanner de hartslag Niet op het display worden weergegeven of wanner u voor de zekerheid uw hartslag wilt controieren, waar dat deze door eventuele gebruiksfouten enz. onjuist weergegeven kan zijn, kutn u het volgende去做:
De hartslag op de gebruikelijkwijze meten (bijv. de Pols voelen en het aantal slagen per minuut tellen).
De hartslag met een geschikt en geijkt meetapparaat meten (verkrijgbaar bij gezondheidsinstelleningen)
2. Frequentie:
De meeste experts adviseren een gezondheidsbewust dieet, dat op uw trainingsdoel moet worden afgestemd en drie tot vijf maal per week een lichamelijke training. Een normale volwassene moet tweemaal per week trainen om+zuihige conditie te behouden. Om zui nciadite te verbeteren en zijn lichaamsgewicht te veranderen moet hij minimaal driemaal per week trainen. Natuurlijk is de ideale trainingsfrequentie vijf maal per week.
ledere trainingsssessie moet uit drie fasen bestaan: een "warming-up", een "trainingsfase" en een "cooling down". In de "warming-up"要去 de lichaamstemperatuur en de zuurstoftoevoer langzaam toenemen. Dit kan worden bereikt door vrij totien minutes lang gymnastiekoeferingen te去做.
Daarna要去 eigenlijketraining("trainingsfase")beginnen.Detrainingsbelasting moet de eerste minuten laag+zijn en dan gedurende eenperiode van 15 tot 30 minuut zo toenemen,dat de hartslag zichussen de 70% en 85% van de maximale hartslag bevindt.
Om de bloedsomloop na de "trainingsfase" te ondersteunen en om spierpijn of verrekte spieren te voorkomen, moet de trainingsfase door een "cooling down" worden gevolgd. Hierbij moeten vrij tot tien minutes lang stretchoefingen en/of lichte gymnastiekoeefingen worden gedaan.
4. Motivatie
De sleutel tot een succesvolprogramma is een regelmatige training. U kunt het beste een vasteijd en plaats per trainingsdag vaststellen en u ook geestelijk op de training voorbereiden. Train alleen met een goed humeur en houd uw doel voor ogen. Met een continue training zult u zich dat u per dag vooruitgang boekt, dat u zich verdier ontwikkelt en dat u uw persoonlijke trainingsdoel beetje bij beetje nadert.

Berekeningsformules: Maximale hartslag (220 - leeftijd) = 220 - leeftijd
90% van de maximale hartslag = (220 - leeftijd) x 0,9
85% van de maximale hartslag = (220 - leeftijd) x 0,85
70% van de maximale hartslag = (220 - leeftijd) x 0,7
- BaxkhBie peKOMeHdaaun yKa3aHn no 6e3oNaCHOCTn CTp. 36
2.0630poTdennbHbIXDeTanei Ctp.3-4
3.Cneunpkaua cTp.37-38 - PykoBOCTBO no c6opKe C OTDeJIbHbIMN INIOCTpauAMN
- RykoBODCTBO NO IcNoJIb3OBAHnIO KOMNBoTePa
- RykoBoDCTBO NO TpeHnpOBkAm
ctp. 39 - 41
ctp. 42
CTp. 43
YbaxaemblnoKynatelbHnUbniNOKynten!
I03dpaBnem Bac c nokynkO TpeHnpoBuHOro Chapda dIa Domaunx 3aHTn Cnoptom u keJaem Bam cambIX pnrTbIX BneatHeH.
CnEnyIte, noKaanyIcTa, yka3aHnM nMHCTpyKuIaM hawero pyKOBOdCTBa IIO MOHTaKy u 3KcNlyatauM.
Ecnn y Bac Bo3HKnHyT KaKHe-Hn6yDb Bonpocbl, To Bb MoKeTe B JIO6oe BpeMa 6e3 CteCHeHH ObaaTaBcK HAM.
SimpelGids