Profi Center de Luxe - Équipement de fitness Christopeit - Notice d'utilisation et mode d'emploi gratuit
Retrouvez gratuitement la notice de l'appareil Profi Center de Luxe Christopeit au format PDF.
| Caractéristiques techniques | Appareil multifonction pour le fitness, permettant de travailler différents groupes musculaires. |
|---|---|
| Dimensions | Dimensions compactes adaptées pour un usage domestique. |
| Poids maximum supporté | Poids maximum utilisateur : 120 kg. |
| Utilisation | Idéal pour l'entraînement à domicile, convient aux utilisateurs de tous niveaux. |
| Maintenance | Vérifier régulièrement les câbles et les pièces mobiles, lubrifier si nécessaire. |
| Sécurité | Utiliser l'appareil sur une surface plane, suivre les instructions d'utilisation pour éviter les blessures. |
| Informations générales | Garantie constructeur de 2 ans, assistance technique disponible. |
FOIRE AUX QUESTIONS - Profi Center de Luxe Christopeit
Questions des utilisateurs sur Profi Center de Luxe Christopeit
0 question sur cet appareil. Repondez a celles que vous connaissez ou posez la votre.
Poser une nouvelle question sur cet appareil
Téléchargez la notice de votre Équipement de fitness au format PDF gratuitement ! Retrouvez votre notice Profi Center de Luxe - Christopeit et reprennez votre appareil électronique en main. Sur cette page sont publiés tous les documents nécessaires à l'utilisation de votre appareil Profi Center de Luxe de la marque Christopeit.
MODE D'EMPLOI Profi Center de Luxe Christopeit
Notice de montage et d'utilisation du
No. de commande
NL
- Aperçu des pièces Page 3
- Recommendations importantes et régles de sécurité Page 29
- Nomenclature Page 30 - 32
- Notice de montage avec écorchés Page 33 - 41
- Recommendations pour l'entrainment Page 42
6.Description des exercices Page 15-16
Nous vous félicitons pour l'achat de ce cycle d'entrainment interieur et nous vous sou Haitons beaucoup de plaisir avec.
Veuillez respecter et suivre les indications et les instructions de montage et d'emploi.
Si vous avez des questions, vous pouvez bien sur vous adresser à nous.
Très cordiales salutations
Recommendations importantes et consignes de sécurité
Nos produits sont systématiquement contrôls par le service technique (TÜV) et répondant par là même aux standards de sécurité les plus récents et les plus élevés. Cétariat de fait ne doit cependant pas vous dégager de l'obligation de suivre strictement les instructions ci-après.
- Montez l'appareil exactement selon les instructions de montage et n'utilise que les composants individuels joints spécifique à l'appareil pour le montage de celui-ci. Avant la construction proprement dite, vérifie, au vu du bordereau de livraison, que celle-ci est bien complète et, au vu de la liste de pieces de l'instruction de montage et du mode d'emploi, que l'emballage de carton est bien complèt.
- Avant la première utilisation et à intervalles réguliers, contrôle le serrage correct de toutes les vis, écrous et autres raccords dans le but de garantir en permanence un fonctionnement sur de votre apparéil d'entrainment. Ceci est particulièrement vrai pour le système de cable. Avant chaque séance d'entrainment devrait cordes, mousquetons et accessoires de train sont vérifiées pour un montage correct et tout signe d'usure. Si mal alignées, l'usure et doit être immeditatement reconnaissable traces d'un échange les parties affectées sont nécessaires.
Ceci est particulièrement vrai pour le système de cable. Avant chaque séance d'entrainment devrait cordes, mousquetons et accessoires de train sont vérifiées pour un montage correct et tout signe d'usure. Si mal alignées, l'usure et doit être immédiatement reconnaissable traces d'un échange les parties affectées sont nécessaires.
- Installez l'appareil dans un endroit sec et plat et protégez-le contre l'humidité et les projections d'eau. Si vous souhaitez protéger l'appareil en particulier contre les points de pression, l'encrassement ou autres, nous vous conseillons deposer sous l'appareil un support approprié et antidéraptant (p. ex. tapis de caoutchouc, plaque de bois, etc.).
- Portez toujours des vêtements et chaussures appropriés pour l'entrainment de gymnase quand vous vous entraînez avec l'appareil. Le vêtement doit être choisi de manière à ce qu'il ne puisse pasPENDREdequelque maniere que ce soit du fait de sa forme (p.ex.longueur)pendant l'entrainment. Les chaussures doivent être adaptées à l'appareil d'entrainment,conserver au pied un appui suffisant et posseder des semelles antiderapantes.
- Débarrasssez les environ de l'appareil sur une zone de 2 mètres de tout objet génant avant de commencer l'entrainment.
-
Avant de commencer un entrainement spécial, consultez systématiquement votre médecin. Il pourra vous dire avec suture à chaque sollicitation maximale (pouls, Watt, durée de l'entrainment, etc.) vous pouze vous soumettre et vous conseillera sur l'attitude corporelle correcte à observer pendant l'entrainment. Il vous renseignera d'autre part avec précision sur le but de l'entrainment et pour toutes questions concernantAILrealimentation. Notez que I'appareil n'est pas approprié pour des fins thérapeutiques. Ne vous entrainez jamais après un repas copieux.
-
Ne vous entraîné sur l'appareil que lorsqu'il fonctionne parfaitement. Pour d'eventuelles réparations, n'utiliser que des pieces de rechange d'origine.
- SiILA n'est pas spécifié expressément dans le mode d'emploi, l'appareil ne doit toujours être utilisé que par une seule personne pour l'entraine-ment.
- En cas de vertiges, nausée, douleurs dans la poitrine ou autres symptômes anormaux, interrompez l'entrainment et consultez votre médecin.
- En règle générale, les apparciels de sport ne sont pas des jouets, Ils ne doivent par conséquent être utilisés que conformément à l'usage prévu et uniquement par des personnes informées ou en connaissant le fonctionnement.
- Les enfants, invalides et handicapés ne doivent utiliser l'appareil qu'en présence d'une autre personne susceptible d'apporter aide et conseil, le cas échéant.
- Assurez-vous que vous-même ou autres personnes ne séjourn ou ne se déplace à proximé des pieces encore en mouvement de la machine.
- Lors du réglage de pieces mobiles, voirlez à respecter la position correcte resp. le réglage maximal indiqué.
- Pour le nettoyage, n'utilise pas de détergents agressifs et ne vous servez que des outillages fournis ou appropriés pour le montage ou pour d'eventuelles réparations.
- Evacuer de manière ecologique l'emballage et les pieces eventuellement changées ultérieurement (toutes les pieces de l'appareil) uniquement dans des conteneurs prévus à cet effet ou les apporter aux services compétents.
- Cet appeareil a ete controle et certifie suivant les normes EN 9571+2+4, H. La charge (=poids) maximale admise a ete fixe a 130 kg.
Profi Center de Luxe N° de commande 99881 Profi Center XL N° de commande 1153
a r c t e r i s t i q u e s t e n c i e s : V e r s i o n d u 01 / 03 / 2012
Station de forme physique a deux personnes. Formation individuelle et les exercice de forces des muscles avec beaucoup d'equipement.
Poids de 60Kg (12pieces. avec 5Kg)
La pression de mise a hors jeu
Courbures de jambe
Le steppeur avec le cylindre hydraulique
-
Barre de Latissimus et barre de courbure
-
Combinations de papillon
-
Différentes exercices de corde
Poignée de main et couroie de cheville
Approprié aux poids maximale de. 70 kilogrammes
- Tube en acier a section carre de50 x 50 millimétres
Poids de station : 140Kg
charge maximale 130kilogrammes
Espace approximativement requise : L 179, L 151, H 197 centimetres.
Après avoir ouvert l'emballage, veuillez contrôle s'il y a toutes les pieces conformément à la montage etape. Si c'est le cas, vous pouvez commencer l'assemblage.
Si une piece n'est pas correcte, s'il manque une piece ou si vous avez besoin d'une piece de rechange à l'avvenir, veuillez vous adresser à :
Profi Center de Luxe N° de commande 99881 Profi Center XL N° de commande 1153
Charactéristiques techniques: Version du 01/03/2012
Station de forme physique a deux personnes. Formation individuelle et les exercice de forces des muscles avec beaucoup d'equipement.
Poids de 60Kg (12pieces. avec 5Kg)
- La pression de mise a hors jeu
Courbures de jambe
Le steppeur avec le cylindre hydraulique
-
Barre de Latissimus et barre de courbure
-
Combinaisons de papillon
- Poignée de main et courroie de cheville
Approprié aux poids maximale de. 70 kilogrammes
- Tube en acier a section carre de50 x 50 millimétres
Poids de station : 140Kg
charge maximale 130kilogrammes
Espace approximativement requise : L 179, L 151, H 197 centimétres.

| Scheme Designation Dimensions Quantité Monté sur Num° en mm Unités schéma n° 99881 1153 | méro ET Numéro ET | |||||
| 44 Roulement | en acier 2 15 33-9988 | 24-SI | 33-9988-24-SI | |||
| 45 | Axe de papillon | 2 | 11+14 | 33-9988-25-SI | 33-9988-25-SI | |
| 46 | Le support du cylindre hydraulique | 2 | 21+24 | 33-9588-22-VZ | 33-9588-22-VZ | |
| 47 | Le plateau des pieds | 2 | 1 | 33-9188134-SW | 33-1153-34-WS | |
| 48 | Le plateau de reglage | 1 | 7 | 33-9188135-SW | 33-1153-35-WS | |
| 49 | La cale | 2 | 11+14 | 36-9988-07-BT | 36-9988-07-BT | |
| 50 | Rondelle | 29//50 | 1 | 38 | 36-9988-08-BT | 36-9988-08-BT |
| 51 | La barre de selection des poids | 1 | 40 | 36-9988-09-BT | 36-9988-09-BT | |
| 52 | Le long tige de securite | 1 | 15 | 36-9988-10-BT | 36-9988-10-BT | |
| 53 | Chaine 1 | 8 Glieder | 1 | 55(+28) | 36-9988-11-BT | 36-9988-11-BT |
| 54 | Chaine 2 | 22 Glieder | 1 | 55(+31) | 36-9788-03-BT | 36-9788-03-BT |
| 55 | Crocket | 5 | 36+53+54 | 36-9588-35-BT | 36-9588-35-BT | |
| 56 | Roulement en acier 2 | 6 | 4+21+24 | 36-9588-32-BT | 36-9588-32-BT | |
| 57 | Roulement en acier 3 | 10 | 5+9 | 36-9588-33-BT | 36-9588-33-BT | |
| 58 | Cylindre hydraulique | 2 | 22+46 | 36-9588-08-BT | 36-9588-08-BT | |
| 59 | Cable 5 | 1 | 21+24 | 36-9588-15-BT | 36-9588-15-BT | |
| 60 | Grande garniture arriere | 1 | 7 | 36-9188103-BT | 36-1153-03-BT | |
| 61 | Garniture d'avant bras | 2 | 25 | 36-9188104-BT | 36-1153-04-BT | |
| 62 | La petite garniture arriere | 1 | 25 | 36-9188105-BT | 36-1153-05-BT | |
| 63 | Rouleau en caoutchuc de mousse | 100//300 | 2 | 11+14 | 36-9988-12-BT | 36-9988-12-BT |
| 64 | Rouleau en caoutchuc de mousse | 100//180 | 2 | 18 | 36-9588-25-BT | 36-9588-25-BT |
| 65 | Roulaeu en caoutchuc de mousse | 100//180 | 2 | 18 | 36-9588-25-BT | 36-9588-25-BT |
| 66 | Le premier poid | 1 | 40 | 36-9988-13-BT | 36-9988-13-BT | |
| 67 | Le plateau de poid | 11 | 10 | 36-9988-14-BT | 36-9988-14-BT | |
| 68 | Le couvert de non-glissage links | 1 | 24 | 36-9988106-BT | 36-9988106-BT | |
| 69 | Boulon de poignee 1 | 1 | 15 | 36-9988-15-BT | 36-9988-15-BT | |
| 70 | Boulon de poignee 2 | 1 | 9 | 36-9988-16-BT | 36-9988-16-BT | |
| 71 | La mousse de poignee | 2 | 36 | 36-9988-17-BT | 36-9988-17-BT | |
| 72 | La poignee V | 1 | 55+26 | 36-9988-18-BT | 36-9988-18-BT | |
| 73 | La ceinture de pied | 1 | 55+31 | 36-9988-19-BT | 36-9988-19-BT | |
| 74 | Le bouton de fermeture | 1 | 12 | 36-9988-20-BT | 36-9988-20-BT | |
| 75 | L'ecrou de poignee | 2 | 46 | 36-9588-21-BT | 36-9588-21-BT | |
| 76 | L'enveloppe de poignee | 4 | 11+14+25 | 36-9588-19-BT | 36-9588-19-BT | |
| 77 | L'enveloppe de poignee | 6 | 11+14+36+37 | 36-9588-19-BT | 36-9588-19-BT | |
| 78 | L'amortisseur 1 | 26//56 | 2 | 10 | 36-9988-30-BT | 36-9988-30-BT |
| 79 | L'amortisseur 2 | 25x40 | 2 | 11+14 | 36-9988-21-BT | 36-9988-21-BT |
| 80 | La manche du tube plastique | 1 | 15 | 36-9988-22-BT | 36-9988-22-BT | |
| 81 | L'amortisseur plastique 1 | 1 | 12 | 36-9588-20-BT | 36-9588-20-BT | |
| 82 | L'amortisseur plastique 2 | 2 | 21+24 | 36-9588-38-BT | 36-9588-38-BT | |
| 83 | Cable de poulie | 13 | 5+84 | 36-9588-27-BT | 36-9588-27-BT | |
| 84 | L'enveloppe de cable de poulie | 24 | 83 | 36-9588-26-BT | 36-9588-26-BT | |
| 85 | Cale carree | 50x50 | 7 | 1+2+3+4 | 39-9841 | 39-9841 |
| 86 | Cale carree | 25x50x1.5 | 2 | 13 | 39-9842 | 39-9842 |
| Schéma Désignation Dimensions Quantité Monté n° en mm Unités schéma n° 99881 1153 | sur Numéro | ET Numéro | ET | |||
| 87 | Cale carree | 25x50x2 | 2 | 9 | 39-9842 | 39-9842 |
| 88 | Cale carree | 45x45 | 1 | 12 | 39-9845 | 39-9845 |
| 89 | Cale carree | 38x38 | 2 | 25 | 39-9840 | 39-9840 |
| 90 | Cale ronde | 50x1.5 | 2 | 11+14 | 36-9988-23-BT | 36-9988-23-BT |
| 91 | Cale ronde | 60x1.5 | 1 | 15 | 36-9988-24-BT | 36-9988-24-BT |
| 92 | Cale ronde | 25x1.5 | 2 | 11+14 | 36-9988-25-BT | 36-9988-25-BT |
| 93 | Cale ronde | 25x2 | 4 | 18 | 39-10146 | 39-10146 |
| 94 | Rondelle plastique de poulie | 15 | 2 | 5 | 36-9588-18-BT | 36-9588-18-BT |
| 95 | Rondelle plastique de poulie | 20 | 2 | 15 | 36-9988-26-BT | 36-9988-26-BT |
| 96 | Couvert plastique | 1 | 40 | 36-9988-27-BT | 36-9988-27-BT | |
| 97 | Visse philippe | M6x15 | 5 | 81+82 | 39-9911 | 39-9911 |
| 98 | Visse philippe | 4 | 39-10296-SW | 39-10296-SW | ||
| 99 | Visse ronde a tete trouee | M8x15 | 6 | 22+34+39 | 39-9888-CR | 39-9888-CR |
| 100 | Boulon hexagonal | M6x16 | 18 | 32+41+42+43 | 39-10120 | 39-10120 |
| 101 | Boulon hexagonal | M8x20 | 4 | 20+62 | 39-10095-CR | 39-10095-CR |
| 102 | Boulon hexagonal | M8x30 | 2 | 11+14+19 | 39-9906 | 39-9906 |
| 103 | Boulon hexagonal | M8x40 | 2 | 46 | 39-9817 | 39-9817 |
| 104 | Boulon hexagonal | M8x45 | 2 | 17 | 39-9914 | 39-9914 |
| 105 | Boulon hexagonal | M8x55 | 4 | 61 | 39-10056 | 39-10056 |
| 106 | Boulon hexagonal | M8x65 | 1 | 5+32 | 39-9814-CR | 39-9814-CR |
| 107 | Boulon hexagonal | M8x70 | 2 | 60 | 39-10157 | 39-10157 |
| 108 | Boulon hexagonal | M10x20 | 14 | 5+7+10+30+45 | 39-9974-CR | 39-9974-CR |
| 109 | Boulon hexagonal | M10x25 | 1 | 6 | 39-10025-CR | 39-10025-CR |
| 110 | Boulon hexagonal | M10x45 | 11 | 1+5+6+8+27+35 | 39-10131-CR | 39-10131-CR |
| 111 | Boulon hexagonal | M10x65 | 2 | 38 | 39-9982-CR | 39-9982-CR |
| 112 | Boulon hexagonal | M10x70 | 15 | 3+4+5+7+12+22 | 39-10148-CR | 39-10148-CR |
| 113 | Boulon hexagonal | M10x75 | 2 | 47 | 39-10186-CR | 39-10186-CR |
| 114 | Boulon hexagonal | M10x80 | 3 | 8+15 | 39-10055-CR | 39-10055-CR |
| 115 | Boulon hexagonal | M10x90 | 1 | 12 | 39-10015 | 39-10015 |
| 116 | Rondelle | 6/12 | 36 | 100 | 39-10007-CR | 39-10007-CR |
| 117 | Rondelle | 8/16 | 20 | 99+101-107 | 39-9917-CR | 39-9917-CR |
| 118 | Rondelle | 10/20 | 86 | 108-115 | 39-9989-VC | 39-9989-VC |
| 119 | Rondelle | 12/24 | 1 | 40(+26) | 39-9986-CR | 39-9986-CR |
| 120 | Rondelle | 10/38 | 5 | 70+75+99 | 39-10249-CR | 39-10249-CR |
| 121 | Rondelle | 8/28 | 4 | 99 | 39-10180-CR | 39-10180-CR |
| 122 | Rondelle a resort | pour M10 | 12 | 108 | 39-9995-CR | 39-9995-CR |
| 123 | Rondelle a resort | pour M8 | 20 | 99+101+102+104+105+107 | 39-9864-CR | 39-9864-CR |
| 124 | Ecrou a rondelle | M10 | 36 | 109-115 | 39-9981-CR | 39-9981-CR |
| 125 | Ecrou a rondelle | M8 | 3 | 103+106 | 39-9818-CR | 39-9818-CR |
| 126 | Ecrou a rondelle | M6 | 18 | 100 | 39-9816-VC | 39-9816-VC |
| 127 | Cale carree | 40x80 | 2 | 21+24 | 36-9988111-BT | 36-9988111-BT |
| 128 | Le couvert de non-glissage rechts | 1 | 21 | 36-9988110-BT | 36-9988110-BT | |
| 129 | Rondelle | 6/18 | 4 | 98 | 39-9993 | 39-9993 |
| 130 | Rondelle a resort | pour M6 | 4 | 98 | 39-9865-CR | 39-9865-CR |
| 131 | Bouchon | pour M10 | 80 | 36-9988108-BT | 36-9988108-BT | |
| 132 | Bouchon | pour M8 | 20 | 36-9988109-BT | 36-9988109-BT | |
| 133 | Boite a outils | 1 | 36-9988-28-BT | 36-9988-28-BT | ||
| 134 | Le plateau de reglage | 1 | 2 | 33-9988136-SW | 33-1153-36-WS | |
| 135 | Manuel d'instruction et de montage | 1 | 36-1153-06-BT | 36-1153-06-BT | ||
| 136 | Boulon | M10x40 | 1 | 12 | 39-10402 | 39-10402 |
Les instructions de montage
Avant de commencer le montage soyez sur d'observer nos recommandations et instructions de sureté. Sortez toutes les pieces des cartons et mettez les sur le plancher. Quelques pièces sont premontées
Étape 1:
Installation du pied avant (1), du pied arrêté (2) et des barres de guidage (10).
- Mettez le pied avant (1) et le pied arrirée (2) sur un plancher bien plat. (Respect : Selon la version de montage ou la unité de Dips et steppeur des gauche ou le droit si le pied dernier (2) doit être monté conformément.)
- Mettez les barres de guidage (10) (des extrémites avec des trous) dans la position appropriée du pied arrête (2) et vissez le pied avant (1), le pied arrrière (2) et les barres de guidage (10) et vissez hermetiquement la vis M10 X 70 (112), Le plateau de reglage (134), la rondelle 10//20 (118) et l'écrou a rondelle M10 (124). Assurez-vous que les vis sont mises par les trous des barres de guidage de sorte qu'elles soient bloquées en position inférieure.
- Puis, mettez les bouchons filtré pour M10 (131) sur tous les M10 vis et ecrou.
Étape 2:
Installation des plateaux de poids (66+67) aux barres de guidage (10).
- Gissez les appuis de poids (23) sur les barres de guidage (10).
- Mettez alors l'amortisseur en caoutchouc (78) sur les barres de guidage (10). (si vous achetiez l'options avec poids Art.-No régle d'options. 9388 vous doivent dessus les 2 poids de l'ensemble d'options au lieu des appuis de poids, mais avant tout vous doivent glisser sur les barres de guidage (10) l'amortisseur en caoutchouc (78))
-
Placez les 11 poids (67) sur les barres de guidage (10) comme vous pouvez voir sur la figure de l'objet 2.
-
Mettez la barre de disque de poids (40) dans les plateaux de poids (67) en commencerant par le plus petit plateaux.(66).
- Pour ajuster les poids charges utilisiez la barre sélectrice de poids (51) et mettez la dans la barre des disques de poids (40) en position désirée.
Étape 3:
Installation des appuis 1 + 2 (4+7) au niveau des pieds avant et arrriere (1 + 2) .
- Mettez l'appui 1 (4) dans la position appropriée du pied arrête (2) et vissez hermetiquement avec la vis M10 X 70 (112), la rondelle 10//20 (118) et I'ecrou a rondelleM10 (124).
- Mettez l'appui 2 (7) dans la position appropriée du pied avant (1) et serrez le fermement en utilisant les vis M10 X 70 (112), les rondelles 10//20 (118) et l'écrou a rondelle M10 (124).
- Puis, mettez les bouchons filé pour M10 (131) sur tous les M10 vis et ecrou.



Étape 4: Installation du support tabulaire de guide (3) et de la poutre transversale supérieure (5) aux appuis 1 + 2 (4 + 7) .
- Placez le support tabulaire de guidage (3) sur les extrémites des barres de guidage (10) et de l'appuis 1 (4).
- Vissez hermetiquement le support tabulaire de guidage (3) aux barres de guidage (10) à l'aide de la vis M 10x20 (108), les rondelles à ressort pour M10 (122) et les rondelles 10//20 (118). Vissez deux vis (108) avec les rondelles (118) à la decoration dans les trous de filtage du début de support tabulaire de guigage (3).
- Reliez l'extrémité de l'appui 1 (4)et au guide tabulaire I (3) vissez les ensemble en utilisant la vis M10 X 70 (112), la rondelle 10//20 (118) et l'écrou a rondelle M10 (124).
- Mettez la poutre transversale supérieure (5) dans la position appropriée sur l'appui 2 (7) et serrez-la fermement en employant la vis 10x20 (108), la rondelle à dessort pour M10 (122) et les rondelles 10//20 (118) à l'appui 2 (7).
- Vissez hermetiquement la poutre transversale supérieure (5) au support tabulaire de guidage (3) en employant la vis M 10x20 (108), la rondelle à dessort pour M10 (122) et les rondelle 10//20 (118).
- Puis, mettez les bouchons filtré pour M10 (131) sur tous les M10 vis et ecrou.

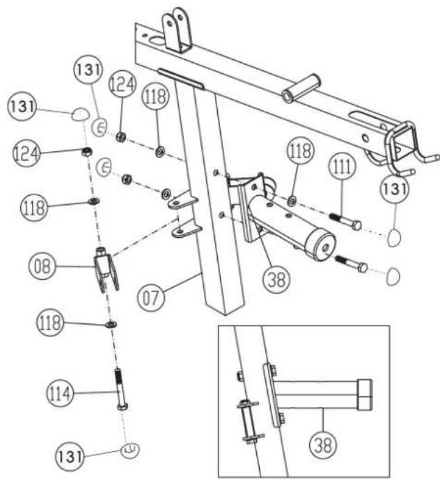
Étape 5: L'installation de l'appui de pression de mise hors jeu(38) et le support de poulie de cable 1 (8) à l'appui 2 (7).
- Placez l'appui de pression de mise hors jeu (38) dans la position appropriée à l'appui 2 (7) et vissez ces pieces ensemble en utilisant la vis M10 X 65 (111), les rondelles 10//20 (118) et I'ecrou a rondelle M10 (124).
- Mettez le support de cable de poulie 1 (8) dans le support à l'appui 2 (7) et vissez-les ensemble en utilisant la vis M10 X 80 (114), la rondelle 10//20 (118) et l'ecrou a rondelle M10 (124). Assurez -vous que le support de cable de poulie 1 (8) tourne facilement après le montage.
- Puis, mettez les bouchons filé pour M10 (131) sur tous les M10 vis et ecrou.

Étape 6: Installation de la poutre transversale (9) au support de bras de papillon d'en haut(5)
- Placez le support de bras de papillon (9)a la position approprie dans la poutre transversale (5), de sorte que les troughs avec les roulements en acier soient alignes et glissez l'axe 2 (39) par le support de bras de papillon (9) et la poutre transversale (5).
- Fixez l'axe 2 (39) en employant la vis M8x15 (99), les rondelles à ressort pour M8 (123) et les rondelles 8//28 (121) des deux côtes.
- Pour les exercices de papillon vous veez visser le boulon de poignée d'esprit du support de bras de papillon (9)avec le boulon des etreintes 2 (70) et la rondelle 10//38 (120) à l'appui de pression de mise hors jeu (38).

Étape 7: L'installation du bras a papillon (11+14) au support de bras a papillon (9) et au rouleau en caoutchouc de mousse (63) et aux poignées (19).
- Mettez les axes a papillon (45) dans le support du bras de papillon à gauche et à droite (11+14) et placez les bras de papillon (11+14) dans la bonne position dans le support approprié du support de papillon (9).
- Vissez hermetiquement les bras de papillon (11+14) au support de bras de papillon (9) en employant la vis M10x20 (108), la rondelle à ressort pour M10 (122) et la rondelle 10//20 (118) au fond et au côte supérieur.
- Glissez le rouleau en caoutchouc de mousse (63) avec l'aide d'un peu de l'eau savoneuse sur les bras de papillon (11+14).
- Placez les poignées (19) dans le support approprié du bras de papillon à gauche et à droite (11+14) et vissez-les hermetiquement en employant la vis M8x30 (102), la rondelle 8//16 (117) et la rondelle à dessort pour M8 (123).
- Pour les exercices de pression de mise hors jeu, fixez les bras de papillon gauche et droite (11+14) avec les cales de verrouillage (49) au support de papillon (9) et devissez le boulon de poignée 2 (70)a l'appui de pression de mise hors jeu(9).
- Pour les exercices a papillon securisez le support de bras a papillon(9) avec le boulon de poignée 2 (70) au niveau de l'appui de pression de mise hors jeu l'und (38) et sortez les cales de verrouillage (49) des bras a papillon (11+14).
- Puis, mettez les bouchons filtré pour M10 (131) sur tous les M10 vis et ecrou et les bouchons filtré pour M8 (132) sur tous les M8 vis et ecrou.
Étape 8: Installation de la garniture arrrière (60) et du support de bigoudi de jambe (12) à l'appui 2 (7).
- Ajustez la garniture arrête (60) sur l'appui 2 (15) de sorte que les trous filétés dans l'arrière de la garniture arrête (60) soient alignes avec les trous de l'appui 2 (7) et vissez hermetiquement en employant la vis M8 X 70 (107), la rondelle à ressort pour M 8 (123) et la rondelle 8//16 (117).
- Placez le support de bigoudi de jambe (12) a la position appropriée à l'appui 2 (7), de sorte que les trouss soient alignes et vissez hermetiquement en utilisant la vis M10x70 (112), (en ajustant le plateaux(48)), les rondelles 10//20 (118) et I'écrou a rondeille M 10 (124).
- Puis, mettez les bouchons filtré pour M10 (131) sur tous les M10 vis et ecrou et les bouchons filtré pour M8 (132) sur tous les M8 vis et ecrou.
Étape 9: Installation de la garniture de siège (17) et du support rond de garniture (18) à l'armature de soutien de siège (13).
- Ajustez la garniture de siege (17) sur l'armature de soutien de siege (13) de sorte que les trous filétés dans l'arrière de la garniture de siege (17) soient alignes avec l'armature de soutien de siege (13) et vissez les hermetiquement en employant la vis M8 X 45 (104), la rondelle à ressort pour M 8 (123) et la rondelle 8//16 (117).
- Glissez le support rond de garniture (18) dans l'armature de soutien de siege (13) au milieu.
- Glissez le rouleau noir en caoutchouc de mousse (64)aux extrémités du support rond de garniture (18).

Étape 10: Installation du cadre du siècle (13) à l'appui de bigoudi de jambe (12) et les plateaux (47) au pied avant(1).
- Glissez le cadre du siège (13) dans le support approprié du support de bigoudi de jambe (12) et fixez-la dans la position désirée en employant le bouton rapide de serrure (74). (note : pour serez le bouton de rapide de serrure (8), le trou filte dans l'appui de bigoudi de jambe (12) et un des trous dans le cadre du siège (13) doivent s'aligner. Le relgage du siège peut se faire plus tard au moment voulu. Pour ceci, le bouton rapide de serrure (8) doit être détached par seulement quelques révolutions, le chapeau de la serrure doit être écARTE et le siège ajusté. Securisez le nouveau relgage en serrer le bouton rapide de serrure (8).
- Placez les plateaux (47) devant le support du pied avant (1)et vissez les hermetiquement en utilisant la vis M10 X 75 (113), la rondelle 10//20 (118) et I'écrou a rondelle M10 (124).
- Puis, mettez les bouchons filtré pour M10 (131) sur tous les M10 vis et ecrou.
Étape 11: Installation du bigoudi de jambe (15) et de la garniture de courbure de bras (20) au support de bigoudi de jambe (12)
- Mettez le bigoudi de jambe (15) avec les roulements en acier prémontés 1 (44) dans le support approprié du support de bigoudi de jambe (12) et vissez hermetiquement en utilisant la vis M10 X 90 (115), la rondelle 10//20 (118) et l'écrou a rondelle M10 (124), Attention, le bigoudi de jambe (15) devrait tourner facilement après montage.
- Glissez le support rond de garniture (18) dans le support du bigoudi de jambe (15) a une position centrale et glissez les deux rouleaux rouges en caoutchouc de mousse (65) sur les extrémités du support rond de garniture (18).
- Ajustez la garniture de courbure de bras (20) sur le stand de courbure de bras (16) de sorte que les trou s filetés dans l'arriere de la garniture de courbure de bras (20) soient alignes avec le stand de courbure de bras (16) et vissez les hermetiquement en employant la vis M8 X 20 (101), la rondelle à ressort pour M 8 (123) et la rondelle 8/16 (117).
- Le stand de courbure de bras (16) avec la gamiture prémontée de courbure de bras (20) peuvent être montes et fixe dans la position désirée au bigoudi de jambe (15) en utilisant le boulon 1 (69) de poignée.
- Pour fixer la position du bigoudi de jambe (15) glissez s'il vous plait la longue parenthèse de sureté (52) par les trous alignés du support de courbure de jambe (12) et du bigoudi de jambe (15).
- Puis, mettez les bouchons fileté pour M10 (131) sur tous les M10 vis et ecrou et les bouchons filté pour M8 (132) sur tous les M8 vis et ecrou.
Étape 12: L'installation de la garniture d'avant-bras (61), la petite garniture arrête (62) et la poignée 2 (30) au niveau de la barre de plonger (25) et du support 1 (4).
- Ajustez la petite garniture arrirée (62) sur la barre de plonger (25) de sorte que les trous filétés dans l'arrêté de la petite garniture arrrière (62)soient alignes avec la barre de plonger (25) et vissez les hermetiquement en employant la vis M8x20 (101), la rondelle à ressort pour M8 (123) et la rondelle 8//16 (117).
- Ajustez la garniture d'avant-bras (61) sur la barre de plonger (25) de sorte que les trouss filétés dans l'arrière de la garniture d'avant-bras (61) soient alignes avec la barre de plonger (25) et vissez les hermetiquement en employant la vis M8x55 (105), la rondelle à ressort pour M8 (123) et la rondelle 8//16 (117).
- Placez les poignées (30) dans le support approprié de la barre de plonger (25) et vissez-les hermetiquement en employant la vis M10x20 (108), la rondelle à ressort pour M10 (122) et la rondelle 10//20 (118).
- Mettez la barre de plonger prémontée (25) dans le support approprié de l'appui 1 (4) et vissez les hermetiquement dans la position désirée en utilisant la vis M10 X 70 (112), la rondelle 10//20 (118) et l'écrou a rondelle M10 (124).
- Puis, mettez les bouchons filéte pour M10 (131) sur tous les M10 vis et ecrou et les bouchons filéte pour M8 (132) sur tous les M8 vis et ecrou.

Étape 13: Installation de steppeur et de la barre transversale (22) à l'appui 1 (4).
- Placez la barre transversale (22) dans la position appropriée à l'appui 1 (4) et le pied arriere (2), de sorte que les trouss soient alignes et vissez les hermetiquement en utilisant la vis M10x70 (112), les rondelles 10//20 (118) et l'écrou a rondelle M 10 (124). (note : Peut-être vous devez détacher le point de raccordement de l'appui 1 (4) pour élever (2) un peu la barre transversale facilement)
- Mettez les pédales gauche et droite (21+24) dans la bonne direction au support approprié à l'appui 1 (4), de sorte que les roulements d'acier s' alignent et laissent glisser l'axe 1 (34) facilement.. Fixez l'axe 1(34) en employant la vis M8x15 (99), la rondelle à ressort pour M8 (123) et la rondelle 8//38 (120) au niveau des deux extrémités de l'axe.
- Mettez le cylindre hydraulique (58) avec le côte supérieur sur le support de la barre transversale (22) et fixez le a cette position en employant la vis M8x15 (99), la rondelle à ressort pour M8 (123) et la rondelle 8/28 (121).
- Vissez l'extrémité inférieure du cylindre (58) au support du cylindre (46) en utilisant la vis M8x40 (103), la rondelle 8//16 (117) et l'écrou a rondelle M 8 (125). Assurez-vous que le cylindre (58) peut tourner légerement au support.
- Insérez le support du cylindre hydraulique (46) de la cuvette latérale supérieure des pédales gauche et droite (21 + 24) et reliez le support (46) dans la position désirée en employant l'écrou de poignée (75) et la rondelle 10/38 (120). Vous pouvez ajuster la résistance de pas au support (46) enCHOISIGANT DIFFÉRÊTES POSITIFS AUX PÉDALS GAUCHE ET DROITE (21 + 24)
- Remontez une unité de rouleau de cable comme indique à la figure nA^ , mettez l'excedent du cable 5 (59) la poulie (83) et reliez tout ceci au crochet du support de cable de poulie(35) de manière que le cable de poulie peut rouler facilement.
- Insérez le crochet du support de cable de poulie (35) dans le support soudé sur le côte inférieur de la barre transversale (22). reliez les extrémités du cable 5 (59) aux pédales gauche et droite (21 + 24) .
- Puis, mettez les bouchons filtré pour M10 (131) sur tous les M10 vis et ecrou et les bouchons filtré pour M8 (132) sur tous les M8 vis et ecrou.
Étape 14: Installation du cable 1 pour le latissimus (26) avec des unités de cable de poulie. Notez s'il vous plaît, la situation suivante concernant les unités de cable de poulie poulie:
Les cables doivent être montes sur les poulies (83) et doivent couvriè les deux cotés de poulie (84) de telle sorte que l'entrée et la sortie du cable soit plombées. Les unités de cable de poulie doivent être installes au même moment que les cables à la position. Appropriée
- Mettez le cable 1 (26) comme montre a l'etape 14 par la poutre transversale supérieure (5), vissez l'extrémité du cable 1(26) avec la rondelle 12//24 (119) dans la barre de disque de poids (40) et fixez la vis avec l'écrou.
- Prenez le cable 1 (26) et une unité de cable de poulie comme représenté sur la figure _nA^u (sans couverture de cable de poulie) avec la vis M10x70 (112),la rondelle 10//20 (118),la douille en plastique pour la poulie (94) et I'écrou M10 (124). Insérez la cable de poulie(83) dans la poutre transversale supérieure (5),place la douille en plastique (94) du côte externe de la poutre transversale supérieure (15) et vissez hermetiquement .
- Mettez une unité de rouleau de cable comme a la figure „B" ensemble avec la vis M10x45 (110), la rondelle (118) et l'écrou a rondelle (124), insèrent le cable 3 (26) et reliez cette poutre transversale en haut (5).
- Prenez le cable 1 (26) et une unité de cable de poulie comme représenté sur la figure „B" avec la vis M10x70 (112), la rondelle 10//20 (118), la douille en plastique pour la poulie (94) et l'écrou M10 (124) et attachez -les au support de cable de poulie 2 (6).
- Puis, mettez les bouchons filé pour M10 (131) sur tous les M10 vis et ecrou.
Étape 15: Installation du cable 3 pour le papillon (29) avec des unités de cable de poulie.
- Reliez les les deux extrémites du cable 3 (29) au support approprié aux bras de papillon gauche et droite (11+14).
- Mettez une unité de rouleau de cable comme a la figure „A" avec la vis M10x45 (110), la rondelle (118) et l'écrou a rondelle (124), inséréz le cable 3 (29) et reliez ceci au support 1(8)de telle sorte que le cable de poulie peut rouler facilement.
- Mettez une unité de rouleau de cable comme a la figure A^ avec la vis M10x45 (110), la rondelle (118) et I'écrou a rondelle (124), insèrez le cable 3 (29) et reliez ceci au support jumeau de cable de poulie(27) de manière que le cable de poulie puissee rouler facilement.
- Puis, mettez les bouchons filtré pour M10 (131) sur tous les M10 vis et ecrou.





Étape 16: Installation du cable 4 pour le bigoudi de jambe (31) avec des unités de cable de poulie.
-
Tirez le cable 4 (31) par le grand trou du bigoudi de jambe (15) et reliez l'extrémité du cable 4 (31) au support approprié du côte inférieur du support de bigoudi de jambe (12) en utilisant la vis M10x40 (136), la rondelle 10//20 (118) et l'écrou a rondelle M10 (124) comme représenté sur la figure „C".
-
Prenez le cable 4 (31) et une unité de cable de poulie comme représenté sur la figure „B" avec la vis M10x80 (114), la rondelle 10//20 (118), la douille en plastique pour la poulie (95) et l'écrou M10 (124). Insérez le cable de poulie(83) avec la couverture de cable de poulie (84) dans le bigoudi de jambe (15) et placez la douille en plastique (95) du côte externe du bigoudi de jambe (15).
-
Mettez une unité de rouleau de cable comme a la figure "A" avec la vis M10x45 (110), la rondelle (118) et l'écrou a rondelle (124), inséréz le cable 4 (31) et reliez ceci au support 1(8) de cable de poulie de manière que le cable de poulie peut rouler facilement.
-
Puis, mettez les bouchons filtré pour M10 (131) sur tous les M10 vis et ecrou.
Étape 17: Installation du cable 2 (28) avec des unités de cable de poulie.
-
Tirez le cable 2 (28) par le grand trou de l'appui 2 (7) et reliez l'extrémité du cable 2 (28) au support de cable de poulie 2 (6) en utilisant la vis M10x25 (109), la rondelle 10//20 (118) et l'écrou a rondelle M10 (124) comme représenté sur la figure „B".
-
Mettez l'unité de rouleau de deux cables comme à la figure „A" avec la vis M10x45 (110), la rondelle (118) et l'écrou a rondelle(124), inséréz le cable 2 (28) et installez ces unités au support du pied avant (1) de manière que le cable de poulie puisse rouler facilement.
-
Mettez une unité de rouleau de cable comme a la figure, "A" avec la vis M10x45 (110), la rondelle (118) et l'écrou a rondelle (124), inséréz le cable 2 (28) et reliez ceci au support jumeau de cable de poulie (27) de manière que le cable de poulie puisse rouler facilement.
-
Prenez le cable 2 (28) et agrandissez-la avec la chaine a 8 liens (53) et deux crochets de carbine (55) et reliez le cable 2 (28) au support de cable de poulie 2 (6), qui est premonté au cable 1(26).(notez : Pour obtenir un système coulissant doux de cable, vous pouvez ajuster le système de cable à la chaine a 8 liens (53) avec des crochets de carbine (55) en les plaçant dans une autre position.)
-
Puis, mettez les bouchons filtré pour M10 (131) sur tous les M10 vis et ecrou.
Étape 18: Installation de l'enveloppe de poids (41) avec l'appui d'enveloppe de poids (42) et les plateaux de recoumbement (43).
1.Reliez I'appui d'enveloppe de poids (42) et les plateaux de recouragement (43) à la position appropriée de I'enveloppe de poids (41) en utilisant la vis M6x16 (100), la rondelle 6//12 (116) et I'ecrou a rondelleM 6 (126).Notez, bien que I' appui d'enveloppe de poids (42) et les plateaux de recoumbement (43) doivent etre montes a la position appropriee comme au schema de I'etape 18.




Étape 19: Installation de l'enveloppe de poids (41) avec les appuis (42 + 43) au plateau L (32) et au pied arrêté (2).
-
Mettez l'enveloppe de poids (41) avec l'appui premonte d'enveloppe de poids (42) dans les trous du pied arriere (2). Obtenez l'extrimetre des appuis opposés d'enveloppopes de poids (42) et des plateaux de recoumbrement (43) ensemble et vissez les hermetiquement en utilisant la vis M6x16 (100), la rondelle 6/12 (116) et I'ecrou a rondelle M 6 (126) comme represente a la figure „A" de I'etape 19.
-
Mettez le plateau L(32) sous la poutre transversale supérieure (5) dans la position appropriée et vissez-les hermetiquement en utilisant la vis M8x65 (106), la rondelle 8//16 (117) et l'écrou a rondelle M 8 (125)
- Reliez le raccordement de recoumbement supérieur du plateau au plateau L (32) en employant la vis M6x16 (100), la rondelle 6//12 (116) et l'ecrou a rondelle M 6 (126).
- Puis, mettez les bouchons fileté pour M8 (132) sur tous le M8 ecrou.
Étape 20: Installation de la barre de latissimus (36) et de la barre de courbure (37).
- Reliez la barre de latissimus (36) au cable 1 (26) en utilisant le crochet de carbine (55). pour le stockage de la barre de latissimus (36) vous pouvez la mesure sur le support approprié devant la poutre transversale supérieure (5).
- Reliez la barre de courbure (37) au cable 4 (31) en utilisant la chaine a 22 liens (54) et les crochets de carbine (55). (quand vous utilisez le bigoudi de jambe pour vous exercer vous devriez enlever la barre de courbure (37) et la chaine (54).
- Selon l'exercice que vous faites vous pouvez employerer la poignée (72) au lieu de la barre de latissimus (36) ou la courroie de cheville au lieu de la barre de courbure (36).
Informations importantes de sécurité à utiliser le crochet.

Visser le crochet (55) et suspendez-les dans la chaîne (54).

Attacher l'extremité du cable (26 31) ou des tirants (36 37) dans le crochet (55).

Activer le crochet (55) et assurez-vous qu'il est correctement fermé.
S'il vous plaît notes: Avant chaque utilisation, assurez-vous que le crochet (55) sont fermés hermetiquement.
Etape 21: Contrôle
- Verifier si l'ensemble des assemblages et connections ont ete effectues enonne et due forme et fonctionnement adequatement.Le montage est maintainant terminé.
- Avant de commencer l'entrainment, vérifier si les écarts de sécurité recommendés à observer vis-à-vis d'autres objets ont bien été respectés. Pour pouvoir fixer une position déterminée de l'appareil, il est possible de fixer l'appareil au sol en faisant usage de vis et de chevilles à se procurer soi-même. A cet effet, les tubes, étant directement reliés au sol, ont été munis de trous de forage.
- Lors de l'utilisation de l'appareil, plus particulièrement des barres dips, veillez à porter un couvre-chef et une tenue appropriés. Ceuxci doivent évider que les cheveux ou vêtements restent accrochés qu'elle part ou que les cheveux ou vêtements s'accrochent à une piece en mouvement de l'appareil.
- Si tout est en ordre, se familiariser avec l'appareil en utilisant les poids légers.
- Les poids doivent fixer avec la barre sélectrice de poids (51). Charge maximale de poids : 70Kg.
Remarques:
Veuiliez conserver soigneusement le jeu d'outils ainsi que les instructions de montage dont vous aurez eventuellement besoin ultérieurement pour effectuer les réparations nécessaires et commander les pièces de rechange.



Recommendations pour l'entraînement
Les facteurs ci-après doivent être pris en compte pour la détermination de l'entrainment indispensable afin d'améliorer concrétement son physique et sa santé:
1. Intensité:
L'entrainment n'aura d'effets positifs que si les efforts déployés dépassent deux de la vie quotidienne, mais sans être hors d'haleine et/ou se sentir épuisé. Le pouls peut constituer un repère valable pour un entrainment efficace. Au cours de celui-ci le pouls devrait se situer entre 70% et 85% du pouls maximum (le déterminer et le calculer au moyen du tableau et de la formule). Pendant les premières semaines, le pouls devrait tourner autour de 70% du maximum. Pendant les semaines et les mois suivants, le pouls devrait augmenter lentement pour atteindre la limite supérieure, c.-à-d. 85% du pouls maximum. Plus la condition physique de la personne qui s'entraine est bonne, plus il faut accroître l'entrainment pour rester entre 70 et 85% du pouls maximum. On y arrive en allongeant la durée de l'entrainment et/ou en renforcant la difficulté de celui-ci.
Si la fréquence cardiaque n'est pas affichée sur le visuel de l'ordinateur ou si, pour des raisons de sécurité, vous souhaitez la contrôle, car elle aurait pu être incorrectement indiquée suite à des erreurs d'utilisation, etc., vous pouvez alors procéder comme suit:
a. Mesure de contrôle du pouls de manière classique (c.-à-d. en posant le pouce sur la veine du poignet et en comptant les battements en une minute).
b Mesure de contrôle du pouls au moyen d'un dispositif approprié (vendus dans un magasin spécialisé).
2. Fréquence
La majorité des experts recommendé de combiner une alimentation comme pour la santé, qui sera可以选择 en fonction de l'objet rechné par l'entrainment, et les exercices physiques trois ou quatre fois par semaine. Un adulte normal doit s'entraîner deux fois par semaine pour conserver la forme actuelle. Mais au moins trois fois par semaine pour améliorer et modifier son poids. Cinq fois par semaine étant idéal.
3. Programmation de l'entrainment
Chaque séance d'entrainment devrait comprendre trois phases: «phase d'échauffement», «phase d'entrainment» et «phase de ralentissement». La température du corps et l'absorption d'oxygène doivent augmenter lentement durant la phase «d'échauffement». Ce qui est possible en effectuant de la gymnastique pendant cinq à dix minutes.
L'entraînement proprement dit («phase d'entrainment») devant commencer ensuite. Choisir une faible résistance pendant quelques minutes puis accroître entre 15 et 30 minutes de sorte que le pouls se situe entre 70% et 85% de son maximum.
Afin de faciliter la circulation après la «phase d'entrainment» et d'éviter des courbatures ou des muscles noués, la «phase d'entrainment» doit être suivie d'une «phase de ralentissement». Celle-ci devrait englober des exercices d'élongation et/ou de la gymnastique sans forcer, et ce entre cinq et dix minutes.
Vous trouvez les autres informations au sujet exercices pour rechauffer, aux exercices de distension ou les exercices de gymnastique généraux dans notre domaine de téléchargement sous le www.christopeit-sport.com
4. Motivation
Un entrainment régulier est la cléf de la réussite de votre programme. Vous devriez prévoir toute entrainment à heures fixe chaque jour et vous y préparer mentalément. Il est primordial d'être de bonne humeur au moment de l'entrainment et de ne pas perdre l'objet visé. Jour après jour, en vous entrainant continulement, vous verrez les progrès accomplis et leur objectif se rapprocher progressivement.

Formules de calcul: Pouls maximum = 220 - age
90% du pouls maximum = (220 - âge) x 0,9
85% du pouls maximum = (220 - âge) x
70% du pouls maximum = (220 - âge) x 0,7
Notice Facile