Profi Center de Luxe - Fitnessgeräte Christopeit - Kostenlose Bedienungsanleitung
Finden Sie kostenlos die Bedienungsanleitung des Geräts Profi Center de Luxe Christopeit als PDF.
| Technische Merkmale | Multifunktionsgerät für Fitness, ermöglicht das Training verschiedener Muskelgruppen. |
|---|---|
| Abmessungen | Kompakte Abmessungen, geeignet für den Heimgebrauch. |
| Maximal unterstütztes Gewicht | Maximales Benutzergewicht: 120 kg. |
| Verwendung | Ideal für das Training zu Hause, geeignet für Benutzer aller Niveaus. |
| Wartung | Regelmäßig Kabel und bewegliche Teile überprüfen, bei Bedarf schmieren. |
| Sicherheit | Gerät auf einer ebenen Fläche verwenden, Gebrauchsanweisungen befolgen, um Verletzungen zu vermeiden. |
| Allgemeine Informationen | 2 Jahre Herstellergarantie, technischer Support verfügbar. |
Häufig gestellte Fragen - Profi Center de Luxe Christopeit
Benutzerfragen zu Profi Center de Luxe Christopeit
0 Frage zu diesem Gerät. Beantworten Sie die, die Sie kennen, oder stellen Sie Ihre eigene.
Eine neue Frage zu diesem Gerät stellen
Laden Sie die Anleitung für Ihr Fitnessgeräte kostenlos im PDF-Format! Finden Sie Ihr Handbuch Profi Center de Luxe - Christopeit und nehmen Sie Ihr elektronisches Gerät wieder in die Hand. Auf dieser Seite sind alle Dokumente veröffentlicht, die für die Verwendung Ihres Geräts notwendig sind. Profi Center de Luxe von der Marke Christopeit.
BEDIENUNGSANLEITUNG Profi Center de Luxe Christopeit
Montage- und Bedienungsanleitung für Bestell-Nr.
GB
- Wichtigte Empfehlungen und Sicherheitseinweise Seite 2
- Einzelteileübersicht Seite 3
- Stucklste Seite 4 - 6
- Montageanleitung mit Explosionsdarstellungen Seite 7 - 13
- Trainingsanleitung Seite 14
- Trainingsbezeichnungen Seite 15
Sehr geehrte Kundin, sehr geehrter Kunde
Wir gratulieren Ihnen zum Kauf dieser Heimssport-Trainingsgerätes und wünschen Ihnen viel Vergnügen damit.
Bitte beachten und befolgen Sie die Hinweise und Anweisungen dieser Montage- und Bedienungsanleitung.
Wenn Sie irgendwelche Fragen haben, konnen Sie sich selbstverständlich jederzeit an uns wenden.
Mit freundlichem Gruß
Top-Sports Gilles GmbH
GB
Contents
F
Sommaire Page 29
NL
Inhoudsopgave 41
RU
O63op coepkaHnA CTP. 53

Wichtige Empfehlungen und Sicherheitshinweise
Unsere Produkte sind grundsatzlich TÜV-GS geprüft und entsprechen damit dem aktuellen, hochsten Sicherheitsstandard. Diese Tatsache entbindet Sie aber nicht die nachfolgenden Grundsätze strikt zu befolgen.
- Bauen Sie das Gerät genau nach der Montageanleitung auf und verwenden Sie nur die, für den Aufbau des Gerätes beigeführten gerätespezifischen Einzelteile. Kontrollieren Sie vor dem eigentlichen Aufbau die Vollständigkeit der Lieferung anhand des Lieferscheins und die Vollständigkeit der Kartonverpackung anhand der Montage- und Bedienungsanleitung.
- Überprüfen Sie vor der ersten Benutzung und in regelmäßigen Abständen den festen Sitz aller Schrauben, Muttern und sonstiger Verbindungen, damit der sichere Betriebszustand Ihres Trainingsgerätes jederzeit gewährleistet ist. Dies gilt besonderss für das Seilsystem. Vor jedem Training sollenn Seite, Karabinerhaken und Zug-Zubehör auf ordnungsgemäß Befestigung und auf evtl. Abnutzungsscheinungen überprüft werden. Sollen Fehlstellungen, Verschleiß- oder Abnutzungspuren erkennbar sein ist umgehend ein Austausch der betroffenen Teile erforderlich. Dies gilt besonderss für das Seilsystem. Vor jedem Training sollenn Seite, Karabinerhaken und Zug-Zubehör auf ordnungsgemäß Befestigung und auf evtl. Abnutzungsscheinungen überprüft werden.
Sollten Fehlstellungen, Verschleib oder Abnutzungsspuren erkennbar sein ist umgehend ein Austausch der betroffenen Teile erforderlich. - Stellen Sie das Gerät an einem trockenen, ebenen Ort auf und schützen es vor Nasse und Feuchtigkeit. Sofern Sie den Aufstellortbesondere gegen Druckstellen, Verschmutzungen und ähnliches schützen wollen, empfehlen wir Ihnene eine geeignete, rutschfeste Unterlage (z.B. Gummimatte, Holzplatte o.a.) unter das Gerät zu legen.
- Tragen Sie immer Trainingskleidung und Schuhe, die für ein Fitness-Training geeignet sind, wenn Sie auf dem Gerättrainieren. Die Kleidung muß sobchaffen sein, daß diese nicht aufgrund ihrer Form (z.B. Länge) während des Trainings ergendwo hängen bleiben kann. Die Schuhe sollenn passend zum Trainingsgerät gewählt werden, grundsätzlich dem Fuß einen festen Halt geben und eine rutschfeste Sohle besitzen.
- Entfernen Sie alle Gegenstände in einem Umfeld von 2 Metern um das Gerät, bevor Sie mit dem Training beginnen.
- Grundsätzlich sollen den Sie sich vor der Aufnahme eines gezielten Trainings ihren Arzt konsultieren. Der kann Ihnen definitiv sagen welcher Belastung (Puls, Watt, Trainingsdauer u.s.w.) Sie sich maximal ausselzen sollen den und Ihnen auch
im Bezug auf die richtige Körperhaltung beim Training, Ihr Trainingsziel und Ernährungsfragenigeria Auskunftgegeben.
Es ist zu beachten, daß das Gerät nicht für therapeutische Zwecke geeignet ist. Trainieren Sie nie nach schweren Mahlzeiten.
7. Trainieren Sie nur auf dem Gerät wenn es einwandfrei Funktioniert. Verwenden Sie für eine eventuelle Reparatur nur Original-Ersatzteile.
8. Wenn es nicht ausdrücklich in der Anleitung genannt wird, damit das Gerät nur immer von einer Person zum Trainieren benutzt werden.
9. Wenn Sie Schwindelgebung, Übelkeit, Brutschmerzen oder andere abnormale Symptome versprüren, unterbrechen Sie das Training und wenden sich an ihren Arzt.
10. Generell gilt, daß Sportergezte kein Spielzeug sind. Sie dürfen dazu nur bestimmungsgemäß und von entsprechend informierten bzw. unterwiesenen Personen benutzt werden.
11. Personen wie Kinder, Invaliden und behinderte Menschen sollen das Gerät nur im Beisein einer weiteren Person, die eine Hilfestellung und Anleitung geben kann, benutzen.
12. Achten Sie darauf, daß Sie und andere Personen sich nimals mit irgendwelchen Körperteilen in den Bereich von sich noch bewegenden Teilen begeben oder befinden.
13. Beachten Sie bei der Einstellung von verstellbaren Teilen auf die richtige Position bzw. die markierte, maximale Einstellungposition.
14. Verwenden Sie zur Reinigung keine aggressiven Reinigungsmittel und zum Aufbau und für eventuelle Reparaturen nur die mitgelieferten bzw. geeignete eigene Werkzeuge.
15. Entsorgen Sie die von Ihnen eingesetzten Batterien im Sinne der Umwelt nicht mit Ihr dem Hausmull. Werfen Sie diese nur in entspruchend davon vorgesehene Sammelbehälter oder geben diese bei geeigneten Sammelstellen ab. Dieses gilt bereitsfalls für alle übrigen Teile desses Gerätes und dessen Verpackungen.
16. Dieses Gerät ist gemäss der EN 9571+2+4 „H, Heimbereich" geprüft und zertifiziert worden. Die zulässige maximale Belastung (=Körpergewicht) ist auf 130 kg festgelegt worden.

Stückliste - Ersatzteilliste Profi Center de Luxe Best.-Nr. 99881 Profi Center XL Best.-Nr. 1153
Technische Daten: Stand: 01.03.2012
60Kg Gewichtspaket (12 à 5Kg)
Bankrücken
Beincurlen
Latissimus- Trizepsübungen
Butterfly-Kombinationen
Verschiedene Seilzugübungen
Stepper mit Hydraulikzylinder
Dips-Station
Handgriff und Fußgelenkmanschette
Für Gewichte bis max. 70 kg Belastung geeignet
Vierkant Stahlrohr 50 x 50 mm
Gewicht der Station: ca. 140 Kg
Geeignet bis zu einem Körpergewicht von max. 130 kg
StellmaBe: ca. L 179 x B 151 x H 197 cm
Nach Offnen der Verpackungitte grob kontrollieren,ob alle Teile vorhanden sind. Ist dies der Fall, konnen Sie mit dem Zusammenbau beginnen.
Wenn ein Bauteil nicht in Ordnung ist oder fehl, oder wenn Sie in Zukunft ein Ersatzteil benöttigen, wenden Sie sichitte an:
Adresse: Top-Sports Gilles GmbH
Friedrichstraße 55
42551 Velbert
Telefon: +49 (0) 20 51 -6067- 0
Telefax: +49 (0) 20 51 -606744
info@christopeit-sport.com
www.christopeit-sport.com

| Abbildungs- Nr. | Bezeichnung Abmessung Menge Montiert an ET-Nummer mm | ET-Nummer Stück | Abbildungs Nr. | 99881 | 1153 |
| 1 | Vorderer Fuß | 1 | 2 | 33-9188101-SW | |
| 2 | Hinterer Fuß | 1 | 1 | 33-9188102-SW | |
| 3 | Führungsrohr-Aufnahme | 1 | 4+5 | 33-9188103-SW | |
| 4 | Stützrohr 1 | 1 | 2+3 | 33-9188104-SW | |
| 5 | Latissimusurohr | 1 | 3+7 | 33-9188105-SW | |
| 6 | Seilrollenhalter 2 | 2 | 55 | 33-9188106-SW | |
| 7 | Stützrohr 2 | 1 | 1+5 | 33-9188107-SW | |
| 8 | Seilrollenhalter 1 | 2 | 7 | 33-9188108-SW | |
| 9 | Butterflyarm-Aufnahme | 1 | 39 | 33-9188109-SW | |
| 10 | Führungsrohr | 2 | 2+3 | 33-9188110-SW | |
| 11 | Butterflyarm (rechts) | 1 | 9 | 33-9188111-SW | |
| 12 | Beincurler-Aufnahme | 1 | 7 | 33-9188112-SW | |
| 13 | Sitzaufnahme | 1 | 12 | 33-9188113-SW | |
| 14 | Butterflyarm (links) | 1 | 9 | 33-9188114-SW | |
| 15 | Beincurler | 1 | 12 | 33-9188115-SW | |
| 16 | Curlpult-Aufnahme | 1 | 20 | 33-9188116-SW | |
| 17 | Sitzpolster | 1 | 13 | 36-9188101-BT | |
| 18 | Rundpolster-Aufnahme | 2 | 13+15 | 33-9188117-SW | |
| 19 | Handgriff 1 | 2 | 11+14 | 33-9188118-SW | |
| 20 | Curlpult | 1 | 16 | 36-9188102-BT | |
| 21 | Pedal rechts | 1 | 34 | 33-9188119-SW | |
| 22 | Querstrebe | 1 | 2+4 | 33-9188120-SW | |
| 23 | Führungsrohr Hülsen | 2 | 10 | 33-9188121-SW | |
| 24 | Pedal links | 1 | 34 | 33-9188122-SW | |
| 25 | Dips-Barren | 1 | 4 | 33-9188123-SW | |
| 26 | Seil 1 | 2750mm | 1 | 5+40 | 36-9988-02-BT |
| 27 | Doppelseilrollenhalter versetzt | 1 | 83 | 33-9188124-SW | |
| 28 | Seil 2 | 1980mm | 1 | 6+53 | 36-9988-03-BT |
| 29 | Seil 3 | 2690mm | 1 | 11+14 | 36-9988-04-BT |
| 30 | Handgriff | 2 | 25 | 33-9188125-SW | |
| 31 | Seil 4 | 1190mm | 1 | 12+15 | 36-9988-05-BT |
| 32 | Metallwinkel | 1 | 5 | 33-9188126-SW | |
| 33 | Gummidämpfer | 1 | 50 | 36-9988-06-BT | |
| 34 | Achse 1 | 1 | 4 | 36-9588-03-BT | |
| 35 | Seilrollenhalter incl. Karabinerhaken | 1 | 22+83 | 33-9588-24-VZ | |
| 36 | Latissimusstange | 1 | 55 | 33-9188127-SW | |
| 37 | Curlstange | 1 | 55 | 33-9188128-SW | |
| 38 | Anschlag für Butterflyaufnahme | 1 | 7 | 33-9188129-SW | |
| 39 | Achse 2 | 1 | 9 | 36-9588-01-BT | |
| 40 | Gewichtsschlitten | 1 | 26 | 33-9188130-SW | |
| 41 | Gewichtsverkleidung | 2 | 42+43 | 33-9188131-SW | |
| 42 | Gewichtsverkleidung- Aufnahme 1 | 2 | 41 | 33-9188132-SW | |
| 43 | Gewichtsverkleidung- Aufnahme 2 | 4 | 41 | 33-9188133-SW |
Technische Daten: Stand: 01.03.2012
60Kg Gewichtspaket (12 à 5Kg)
Bankrücken
Beincurlen
Latissimus-Trizepsubungen
Butterfly-Kombinationen
Verschiedene Seilzugübungen
Stepper mit Hydraulikzylinder
Dips-Station
Handgriff und Fußgelenkmanschette
Für Gewichte bis max. 70 kg Belastung geeignet
Vierkant Stahlrohr 50 x 50 mm
Gewicht der Station: ca. 140 Kg
Geeignet bis zu einem Körpergewicht von max. 130 kg
StellmaBe: ca. L 179 x B 151 x H 197 cm

| Abbildungs- Nr. | Bezeichnung Abmessung Menge Montiertan ET-Nummer mm | ET-Nummer Stück | Abbildungs Nr. | 99881 | 1153 |
| 44 | Stahlager 1 | 2 | 15 | 33-9988-24-SI | |
| 45 | Butterfly-Achstück | 2 | 11+14 | 33-9988-25-SI | |
| 46 | Aufnahme für Hydralikzylinder | 2 | 21+24 | 33-9588-22-VZ | |
| 47 | Trittplatten | 2 | 1 | 33-9188134-SW | |
| 48 | Verständigungsblech | 1 | 7 | 33-9188135-SW | |
| 49 | Sicherungsstift 2 | 2 | 11+14 | 36-9988-07-BT | |
| 50 | Unterlegscheibe | 29//50 | 1 | 38 | 36-9988-08-BT |
| 51 | Sicherungsstift 1 | 1 | 40 | 36-9988-09-BT | |
| 52 | Sicherungsbügel | 1 | 15 | 36-9988-10-BT | |
| 53 | Kette 1 | 8 Glieder | 1 | 55(+28) | 36-9988-11-BT |
| 54 | Kette 2 | 22 Glieder | 1 | 55(+31) | 36-9788-03-BT |
| 55 | Karabinerhaken | 5 | 36+53+54 | 36-9588-35-BT | |
| 56 | Stahlager 2 | 6 | 4+21+24 | 36-9588-32-BT | |
| 57 | Stahlager 3 | 10 | 5+9 | 36-9588-33-BT | |
| 58 | Hydraulikzylinder | 2 | 22+46 | 36-9588-08-BT | |
| 59 | Seil 5 | 1 | 21+24 | 36-9588-15-BT | |
| 60 | Rückenpolster | 1 | 7 | 36-9188103-BT | |
| 61 | Unterarmpolster | 2 | 25 | 36-9188104-BT | |
| 62 | Dips-Rückenpolster | 1 | 25 | 36-9188105-BT | |
| 63 | Rundpolster groß | 100//300 | 2 | 11+14 | 36-9988-12-BT |
| 64 | Rundpolster | 100//180 | 2 | 18 | 36-9588-25-BT |
| 65 | Rundpolster | 100//180 | 2 | 18 | 36-9588-25-BT |
| 66 | Gewichtsplatte kein | 1 | 40 | 36-9988-13-BT | |
| 67 | Gewichtsplatte | 11 | 10 | 36-9988-14-BT | |
| 68 | Trittauflage Links | 1 | 24 | 36-9988106-BT | |
| 69 | Sterngriffschraube 1 | 1 | 15 | 36-9988-15-BT | |
| 70 | Sterngriffschraube 2 | 1 | 9 | 36-9988-16-BT | |
| 71 | Griffpolster | 2 | 36 | 36-9988-17-BT | |
| 72 | Handgriff | 1 | 55+26 | 36-9988-18-BT | |
| 73 | Fußmanschette | 1 | 55+31 | 36-9988-19-BT | |
| 74 | Sicherungs | 1 | 12 | 36-9988-20-BT | |
| 75 | Sterngriffmutter | 2 | 46 | 36-9588-21-BT | |
| 76 | Griffüberzug | 4 | 11+14+25 | 36-9588-19-BT | |
| 77 | Griffüberzug | 6 | 11+14+36+37 | 36-9588-19-BT | |
| 78 | Gummidämpfer 1 | 26//56 | 2 | 10 | 36-9988-30-BT |
| 79 | Gummidämpfer 2 | 25x40 | 2 | 11+14 | 36-9988-21-BT |
| 80 | Kunststoffeinsatz | 1 | 15 | 36-9988-22-BT | |
| 81 | Kunststofffanschlag 1 | 1 | 12 | 36-9588-20-BT | |
| 82 | Kunststofffanschlag 2 | 2 | 21+24 | 36-9588-38-BT | |
| 83 | Seilrolle | 13 | 5+84 | 36-9588-27-BT | |
| 84 | Seirolendeckel | 24 | 83 | 36-9588-26-BT | |
| 85 | Vierkantstopfen | 50x50 | 7 | 1+2+3+4 | 39-9841 |
| 86 | Vierkantstopfen | 25x50x1.5 | 2 | 13 | 39-9842 |
| Abbildungs- Nr. mm Stück Abbildungs Nr. 99881 1153 | ||||||
| Bezeichnung Abmessung Menge Montiert an ET-Nummer | ET-Nummer | |||||
| 87 | Vierkantstopfen | 25x50x2 | 2 | 9 | 39-9842 | 39-9842 |
| 88 | Vierkantstopfen | 45x45 | 1 | 12 | 39-9845 | 39-9845 |
| 89 | Vierkantstopfen | 38x38 | 2 | 25 | 39-9840 | 39-9840 |
| 90 | Rundstopfen | 50x1.5 | 2 | 11+14 | 36-9988-23-BT | 36-9988-23-BT |
| 91 | Rundstopfen | 60x1.5 | 1 | 15 | 36-9988-24-BT | 36-9988-24-BT |
| 92 | Rundstopfen | 25x1.5 | 2 | 11+14 | 36-9988-25-BT | 36-9988-25-BT |
| 93 | Rundstopfen | 25x2 | 4 | 18 | 39-10146 | 39-10146 |
| 94 | Kunststoffflager 1 | 15 | 2 | 5 | 36-9588-18-BT | 36-9588-18-BT |
| 95 | Kunststoffflager 2 | 20 | 2 | 15 | 36-9988-26-BT | 36-9988-26-BT |
| 96 | Endkappe | 1 | 40 | 36-9988-27-BT | 36-9988-27-BT | |
| 97 | Kreuzschlitzschraube | M6x15 | 5 | 81+82 | 39-9911 | 39-9911 |
| 98 | Kreuzschlitzschraube | 4 | 39-10296-SW | 39-10296-SW | ||
| 99 | Rundkopfschraube | M8x15 | 6 | 22+34+39 | 39-9888-CR | 39-9888-CR |
| 100 | Sechskantschraube | M6x16 | 18 | 32+41+42+43 | 39-10120 | 39-10120 |
| 101 | Sechskantschraube | M8x20 | 4 | 20+62 | 39-10095-CR | 39-10095-CR |
| 102 | Sechskantschraube | M8x30 | 2 | 11+14+19 | 39-9906 | 39-9906 |
| 103 | Sechskantschraube | M8x40 | 2 | 46 | 39-9817 | 39-9817 |
| 104 | Sechskantschraube | M8x45 | 2 | 17 | 39-9914 | 39-9914 |
| 105 | Sechskantschraube | M8x55 | 4 | 61 | 39-10056 | 39-10056 |
| 106 | Sechskantschraube | M8x65 | 1 | 5+32 | 39-9814-CR | 39-9814-CR |
| 107 | Sechskantschraube | M8x70 | 2 | 60 | 39-10157 | 39-10157 |
| 108 | Sechskantschraube | M10x20 | 14 | 5+7+10+30+45 | 39-9974-CR | 39-9974-CR |
| 109 | Sechskantschraube | M10x25 | 1 | 6 | 39-10025-CR | 39-10025-CR |
| 110 | Sechskantschraube | M10x45 | 11 | 1+5+6+8+27+35 | 39-10131-CR | 39-10131-CR |
| 111 | Sechskantschraube | M10x65 | 2 | 38 | 39-9982-CR | 39-9982-CR |
| 112 | Sechskantschraube | M10x70 | 15 | 3+4+5+7+12+22 | 39-10148-CR | 39-10148-CR |
| 113 | Sechskantschraube | M10x75 | 2 | 47 | 39-10186-CR | 39-10186-CR |
| 114 | Sechskantschraube | M10x80 | 3 | 8+15 | 39-10055-CR | 39-10055-CR |
| 115 | Sechskantschraube | M10x90 | 1 | 12 | 39-10015 | 39-10015 |
| 116 | Unterlegscheibe | 6//12 | 36 | 100 | 39-10007-CR | 39-10007-CR |
| 117 | Unterlegscheibe | 8//16 | 20 | 99+101-107 | 39-9917-CR | 39-9917-CR |
| 118 | Unterlegscheibe | 10//20 | 86 | 108-115 | 39-9989-VC | 39-9989-VC |
| 119 | Unterlegscheibe | 12//24 | 1 | 40(+26) | 39-9986-CR | 39-9986-CR |
| 120 | Unterlegscheibe | 10//38 | 5 | 70+75+99 | 39-10249-CR | 39-10249-CR |
| 121 | Unterlegscheibe | 8//28 | 4 | 99 | 39-10180-CR | 39-10180-CR |
| 122 | Federring | für M10 | 12 | 108 | 39-9995-CR | 39-9995-CR |
| 123 | Federring | für M8 | 20 | 99+101+102+104+105+107 | 39-9864-CR | 39-9864-CR |
| 124 | Selbstsichernde Mutter | M10 | 36 | 109-115 | 39-9981-CR | 39-9981-CR |
| 125 | Selbstsichernde Mutter | M8 | 3 | 103+106 | 39-9818-CR | 39-9818-CR |
| 126 | Selbstsichernde Mutter | M6 | 18 | 100 | 39-9816-VC | 39-9816-VC |
| 127 | Vierkantstopfen | 40x80 | 2 | 21+24 | 36-9988111-BT | 36-9988111-BT |
| 128 | Trittauflage Rechts | 1 | 21 | 36-9988110-BT | 36-9988110-BT | |
| 129 | Unterlegscheibe | 6//18 | 4 | 98 | 39-9993 | 39-9993 |
| 130 | Federring | für M6 | 4 | 98 | 39-9865-CR | 39-9865-CR |
| 131 | Kappe | für M10 | 80 | 36-9988108-BT | 36-9988108-BT | |
| 132 | Kappe | für M8 | 20 | 36-9988109-BT | 36-9988109-BT | |
| 133 | Werkzeug set | 1 | 36-9988-28-BT | 36-9988-28-BT | ||
| 134 | Verträkungsblech | 1 | 2 | 33-9988136-SW | 33-1153-36-WS | |
| 135 | Montageanleitung | 1 | 36-1153-06-BT | 36-1153-06-BT | ||
| 136 | Schraube | M10x40 | 1 | 12 | 39-10402 | 39-10402 |
Montageanleitung
Bevor Sie mit der Montage beginnen, unbedingt unsere Empfehlungen und Sicherheitshinweise beachten! Entnehmen Sie alle Einzelteile aus der Verpackung und legen Sie diese Übersichtlich auf den Boden. Einige Positionen sind bereits vormontiert.
SCHBITT 1:
Montage des vorderen FuBes (1), des hinteren FuBes (5) und der Führungsrohe (10).
- Legen Sie den vorderen FuB (1) auf eine ebene Fläche und führen Sie den hinteren FuB (2) zur passenden Aufnahme des vorderen FuB es (1). (Achtung: Je nach Montageversion ob Dips-/Steppereinheit Links oder Rechts muss derindhere FuB (2) entsprechend montiert werden.)
- Stecken Sie die Führungsrohe (10) nach einander (mit den seitlichen Bohrungen nach unter) in die Aufnahmen des hinteren Fußes (2) ein und schrauben Sie den vorderen und hinteren Fuß (1+2) mittels der Schrauben M10 x 70 (112), dem Verständungsblech (134) der Unterlegscheiben 10//20 (118) und der Selfbstsicherndem Muttern M10 (124) fest.itte achten Sie beim verschrauben darauf, dass die Schrauben (112) durch die seitlichen Bohrungen der Führungsrohe (10) im hinteren Fuß (2) durchgesteckt wurden.
- AnschlieBendie Schraubenkappe fur M10 (131) auf alle M 10-Schrauben und Muttern aufsetzen.
SCHRITT 2:
Montage der Gewichtsplatten (66 + 67) an den Führungsrohren (10).
- Schieberen Sie über die Führungsrohr (10) jeweils eine Führungsrohr Hülse (23).
- Schieben Sie dann jeweils einen Gummidämpfer (78) über die Führungsrohr (10) auf. (Sollten Sie über das Gewichtsset mit zwei zusätzlichen Gewichtsplatten Art.-Nr. 9388 verfügen, schieber Sie anstatt der Führungsrohr Hülsen die beiden Gewichtsscheiben auf. Dazu müssen zuerst die Gummidämpfer (78) und dann die zusätzlichen Gewichtsplatten aufgeschoben werden.)
- Schieben Sie danach über die Führungsrohr (10) die 11 Gewichtsplatten (67) wie in der nebenstehenden Zeichnung dargestellt auf.
- Stecken Sie den Gewichtsschlitten (40) in das Gewichtspaket ein und schiben Sie anschließend diekleinere Gewichtsplatte (66) auf.
- Der passende Sicherungsstift 1 (51) dient zur Einstellung der Gewichtsbelastung. Stecken Sie diesen in gewünschter Position in den Gewichtsschlitten (40) ein.(JeHigher der Sicherungsstift 1 (51)eingsteckt wird, destoniedriger ist die Gewichtsbelastung.)
SCHRITT 3:
Montage der Stützrohre 1 + 2 (4+7) am vorderen und hintern Fuß (1+2).
- Stecken Sie das Stützrohr 1 (4) in richtiger Position auf die passende Aufnahme des hinteren Fübes (2) und schrauben sie das Stützrohr 1 (4) mittels der Schrauben M10 x 70 (112), der Unterlegscheiben 10//20 (118) und der Selfbstsichernden Mattern M10 (124) fest.
- Stecken Sie das Stützrohr 2 (7) in richtiger Position auf die passende Aufnahme des vorderen Fußes (1) und schrauben sie das Stützrohr 2 (7) mittels der Schrauben M10 x 70 (112), der Unterlegscheiben 10//20 (118) und der Selfbsichernden Mattern M10 (124) fest.
- AnschlieBendie Schraubenkappe fur M10 (131) auf alle M 10-Schrauben und Muttern aufsetzen.

SCHRITT 4: Montage der Führungsrohraufnahme (3) und des Latissimusrohres (5) an den Stützrohren 1 + 2 (4 + 7) .
-
Setzen Sie die Führungsrohraufnahme (3) passend auf die oberen Enden der Führungsrohr (10) und dem Stützrohr 1 (4) auf.
-
Schrauben Sie die Führungsrohraufnahme (3) mittels der Schrauben M 10x20 (108), der Federringe für M10 (122) und der Unterlegscheiben 10//20 (118) an den Führungsrohren fest. Drehen Sie zwei Schrauben (108) mit den Unterlegscheiben (118) zur Dekoration in die Gewindelöcher der Führungsrohraufnahme (3) ein.
- Führer Sie das obere Ende des Stützrohres 1 (4) and die Führungsrohr Aufnahme (3) und schrauben Sie die beiden Teile mittels einer Schrauben M10 x 70 (112), der Unterlegscheiben 10//20 (118) und der Selfbstschiemden Mutter M10 (124) fest.
- Legen Sie das Latissimusurohr (5) passend auf das Stützrohr 2 (7) auf und schrauben sie das Latissimusurohr (5) mittels der Schrauben M 10x20 (108), der Federringe für M10 (122) und der Unterlegscheiben 10//20 (118) am Stützrohr 2 (7) fest.
- Schrauben Sie dann das Latissimusurohr (5) an der Führungsrohr Aufnahme (3) mittels der Schrauben M 10x20 (108), der Federringe für M10 (122) und der Unterlegscheiben 10//20 (118) fest.
- AnschlieBendie Schraubenkappe fur M10 (131) auf alle M 10-Schrauben und Muttern aufsetzen.

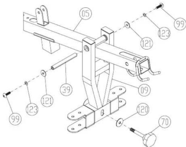
SCHRITT 5: Montage des Anschlages der Butterflylaufnahme (38) und der Seilrollerhalter 1 (8) am Stutzrohr 2 (7).
- Führn Sie den Anschlag für die Butterflyaufnahme (38) in richtiger Position an die passende Aufnahme am Stützrohr 2 (7) und schrauben Sie diese mittels der Schraube M10 x 65 (111), der Unterlegscheiben 10//20 (118) und der Selfbstsichernden Muttern M10 (124) fest.
- Setzen Sie die Seilrollenhalter 1 (8) in die Aufnahmen am Stützrohr 2 (7) ein und schrauben Sie diese mittels der Schrauben M10 x 80 (114), der Unterlegscheiben 10//20 (118) und der Selfbstschicsernden Mutter M10 (124) so fest, dass die Seilrollenhalter 1 (8) sich noch drehen können.
- AnschlieBend die Schraubenkappe für M10 (131) auf alle M 10-Schrauben und Muttern aufsetzen.

SCHRITT 6: Montage der Butterflyaufnahme (9) an dem Latissimusrohr (5).
- Führer Sie die Butterflylaufnahme (9) zur entsprechenden Aufnahme des Latissimusrohres (5), sodass die Bohrungen mit den Lager fluchen und schiben Sie die Achse 2 (39) durch die Butterflyarmaufnahme (9) und das Latissimusrohr (5) hindurch.
- Sichern Sie die Achse 2 (39) mittels der Schrauben M8x15 (99), der Federringe für M8 (123) und der Unterlegscheiben 8//28 (121) auf beiden Seiten.
- Sichern Sie zum Butterflytraining die Butterflyaufnahme (9) mit der Sterngriffschraube (70) und passender Unterlegscheibe 10//38 (120) am Butterflyanschlag (38).

SCHRITT 7: Montage der Butterflyarme (11+14) and der Butterflyaufnahme (9) und der Butterflypolster (63) und Handgriffe (19).
- Nehmen sie die Butterflyyarme Links und Rechts (11+14) zur Hand, legen Sie die Achsstücke (45) in die obere Aufnahme ein und führen Sie die Butterflyyarme (11+14) in entsprechender Einbaulage zur Butterflyyaufnahme (9).
- Schrauben Sie die Butterflyarme (11+14) mittels der Schrauben M10x20 (108), der Federringe für M10 (122) und der Unterlegscheiben 10//20 (118) an der Butterflyaufnahme (9) von Unten und Oben fest.
- Schiebern Sie die Butterflypolster (63) mit Hilfe etwas Seifenwassers auf die Butterflyarme Links und Rechts (11 + 14) auf.
- Stecken Sie die Handgriffe (19) in die entsprechende Aufnahme an den Butterflyarmen Links und Rechts (11+14) ein und schrauben Sie diese mittels der Schrauben M8x30 (102), Unterlegscheiben 8//16 (117) und Federringen für M8 (123) fest.
- Sichern Sie zum Bankrücken die Butterflyyarme Links und Rechts (11+14) mit den Sicherungsstiften 2 (49) an der Butterflyaufnahme (9) und schrauben Sie die Sterngriffschraube (70) aus dem Butterflyanschlag (9) hersus.
- Sichern Sie zum Butterflytraining die Butterflyaufnahme (9) mit der Sterngriffschraube (70) am Butterflyanschlag (38) und entfernen Sie die Sicherungsstifte 2 (49) aus den Butterflyarmen.
- AnschlieBend die Schraubenkappe für M10 (131) auf alle M 10-Schrauben und Muttern aufsetzen und die Schraubenkappen für M8 (132) auf die M8-Schrauben und Muttern aufsetzen.
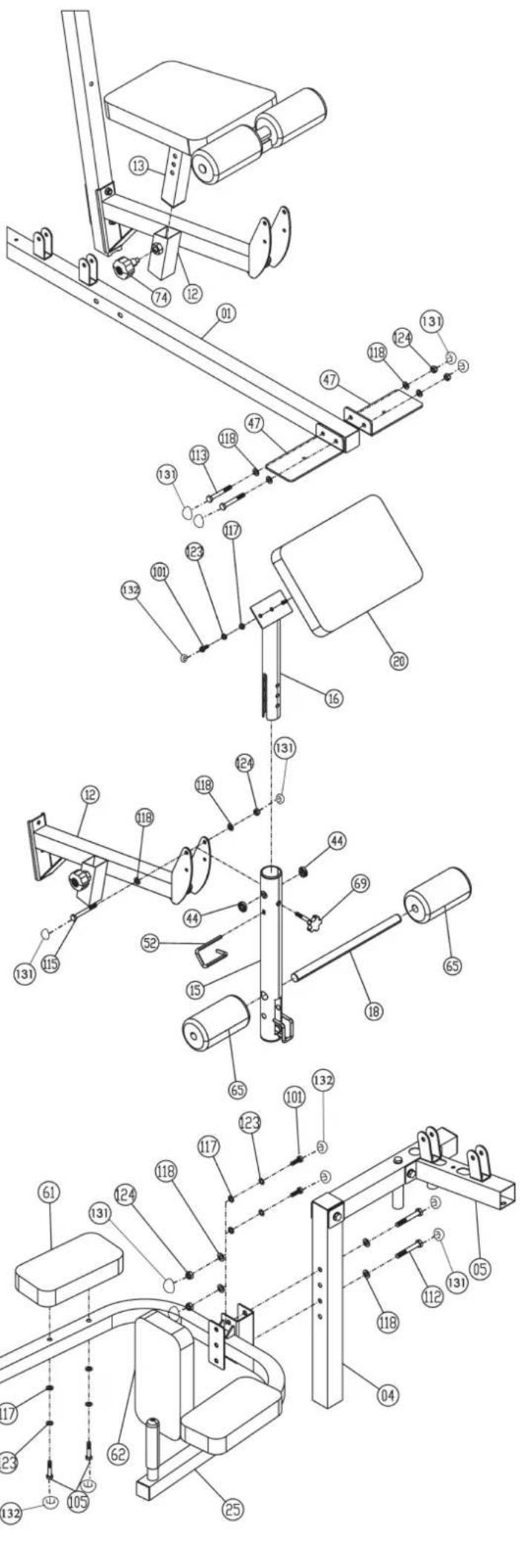
SCHRITT 8: Montage des Rückenpolsters (60) und der Beincurler Aufnahme (12) am Stützrohr 2 (7).
- Halten Sie das Rückenpolar (60) mit den auf der Rückseite befindlichen Gewindeeinsatzen gegen die Bohrungen der Stutzrohres 2 (7) und schrauben Sie dies mittels der Schrauben M8x70 (107), Unterlegscheiben 8//16 (117) und Federringen für M8 (123) fest.
- Führn Sie die Beincurleraufnahme (12) in entsprechender Lage an die Mittelstütze (7), sodass die Bohrungen fluchten und schrauben Sie diese mittels der Schrauben M10x70 (112), dem Verständungsblech (48), der Unterlegscheiben 10//20 (118) und der Selfbstsichernden Mutterm M 10 (124) fest.
- AnschlieBend die Schraubenkappe fur M10 (131) auf alle M 10-Schrauben und Muttern aufsetzen und die Schraubenkappen fur M8 (132) auf die M8-Schrauben und Muttern aufsetzen.
SCHRITT 9: Montage des Sitzpolsters (17) und der Rundposteraufnahme (18) am Sitzrahmen (13).
- Legen Sie das Sitzpolster (17) mit den auf der Rückseite befindlichen Gewindeeinsatzen auf die Bohrungen des Sitzrahmens (13) und schrauben Sie thises mittels der Schrauben M8x45 (104), Unterlegscheiben 8//16 (117) und Federringen fur M8 (123) fest.
- Schiebern Sie die Rundpolsteraufnahme (18) in die Aufnahme des Sitzrahmens (13) mittig ein.
- Schieben Sie beidseitig auf die Rundpolsteraufnahme (18) die Rundpolster (64) auf.

SCHRITT 10: Montage des Sitzrahmens (13) an der Beincurleraufnahme (12) und der Trittplatten (47) am vorderen Fuß (1).
- Schieben Sie den Sitzrahmen (13) in die entsprchende Aufnahme der Beincurleraufnahme (12) und sichern Sie die gewünschte Position mittels des Schnellverschlusses (74).
(Achtung! Zum Eindreten des Schnellverschlusses (74) muss das Gewinde-loch an der Beincurleraufnahme (12) und eines der LÖcher am Sitzrahmen (13) übereinander stehen. Die Einstellung kann später beliebig verändert werden, in dem man den Schnellverschluss (74) nur eine Umdrehungen losdrecht undihn dann zieht, den Sitzrahmen (13) in die neue Position bringt bis der Schnellverschluss einrastet undihn danach wieder festdreht.)
- Montieren Sie die Trittplatten (47) an entsprechender Stelle vorne am vorderen Fuß (1) mittels der Schrauben M10 x 75 (113), der Unterlegscheiben 10//20 (118) und der Selfbstsichernden Muttern M10 (124) fest.
- AnschlieBend die Schraubenkappe fur M10 (131) auf alle M 10-Schrauben und Muttern aufsetzen.
SCHRITT 11: Montage des Beincurlers (15) und des Curlpultes (20) an der BeincuIer Aufnahme (12).
- Setzen Sie den Beincurler (15) mit den eingelegten Stahllagemn 1 (44) in die entsprechende Aufnahme der Beincurler Aufnahme (12) ein und schrauben Sie diese mittels der Schraube M10 x 90 (115), der Unterlegscheiben 10//20 (118) und der Selfbstschiermden Mutter M10 (124) so fest, dass sich der Beincurler (15) noch leicht drehen latent.
- Schieben Sie die Rundpolsteraufnahme (18) in die untere Aufnahme des Beincurlers (15) mittig ein und schieben Sie beidseitig jeweils ein Rundpolster (65) auf.
- Legen Sie das Curlpult (20) mit den auf der Rückseite befindlichen Gewindeeinsatzen auf die Bohrungen der Curlpultaufnahme (16) und schrauben Sie diesen mittels der Schrauben M8x20 (101), Federringen fur M8 (123) und Unterlegscheiben 8//16 (117) fest.
- Das Curlpult (20) mit der Curlpultaufnahme (16) kann, je nach Art der Übung, in die Aufnahme des Beincurlers (15) in gewünschter Höhe eingesetzt und mittels der Sterngriffschraube 1 (69) gesichert werden.
- Um den Beincürler (15) festzustellen, schieben Sie den Sicherungsbügel (52) durch die fluchtenden Bohrungen von Beincürler Aufnahme (12) und Beincürler (15).
- AnschlieBendie Schraubenkappe fur M10 (131) auf alle M 10-Schrauben und Muttern aufsetzen und die Schraubenkappen fur M8 (132) auf die M8-Schrauben und Muttern aufsetzen.
SCHRITT 12: Montage der Polster (61+62) und Griffe (30) am Dipsbarren (25) und am Stutzrohr 1 (4).
- Legen Sie das Dips-Rückenpolster (62) mit den auf der Rückseite befindlichen Gewindeeinsätzen auf die Bohrungen des Dipsbarren (25) und schrauben Sie theseis mittels der Schrauben M8x20 (101), Federringen für M8 (123) und Unterlegscheiben 8//16 (117) fest.
- Legen Sie die Unterampolster (61) mit den auf der Rückseite befindlichen Gewindeeinsatzen auf die Bohrungen des Dipsbarren (25) und schrauben Sie theseis mittels der Schrauben M8x55 (105), Federringen fur M8 (123) und Unterlegscheiben 8//16 (117) fest.
- Stecken Sie die Handgriffe (30) in die entsprechende Aufnahme des Dipsbarren (25) ein und schrauben Sie diese mittels der Schrauben M10x20 (108), Federringen für M10 (122) und Unterlegscheiben 10//20 (118) fest.
- Führn Sie den vormontierten Dipsbarren (25) zur entsprechenden Aufnahme am Stützrohr 1 (4) und schrauben Sie diesen in gewünschter Höhe mittels der Schrauben M10 x 70 (112), des Unterlegscheiben 10//20 (118) und der Selfsichernden Mutter M10 (124) fest.
- AnschlieBend die Schraubenkappe fur M10 (131) auf alle M 10-Schrauben und Muttern aufsetzen und die Schraubenkappen fur M8 (132) auf die M8-Schrauben und Muttern aufsetzen.

SCHRITT 13: Montage des Steppers und der Querstrebe (22) am Stützrohr 1 (4).
- Führn Sie die Querstrebe (22) in entsprechender Lage an das Stützrohr 1 (4) und den hinteren Fuß (2), sodass die Bohrungen fluchen und schrauben Sie diese mittels der Schrauben M10x70 (112), der Unterlegscheiben 10//20 (118) und der Selfsicharnden Mutterm M 10 (124) fest. (Wenn nötig, lösen Sie die Verbindung vom Stützrohr 1 (4) und hinteren Fuß (2) kurzfristig, um die Querstrebe (22) zu montieren)
- Führer Sie die Pedalen Links und Rechts (21+24) in richtiger Einbaulage zur entsprechenden Aufnahme des Stützrohres 1 (4), sodass die Bohrungen mit den Lager fluchen und schiben Sie die Achse 1 (34) durch. Sichern Sie die Achse 1 (34) mittels der Schrauben M8x15 (99), der Federringe für M8 (123) und der Unterlegscheiben 8//38 (120) auf beiden Seiten.
- Stecken Sie die Hydraulikzylinder mit der oberen Aufnahme beidseit auf die Aufnahme der Querstrebe (22) und sichern Sie diese Position mittels der Schrauben M8x15 (99), der Federringe für M8 (123) und der Unterlegscheiben 8/28 (121).
- Schrauben Sie das unter Ende der Hydraulikzylinder (58) an den Aufnahmen für die Hydraulikzylinder (46) mittels der Schrauben M8x40 (103), der Unterlegscheiben 8//16 (117) und der Selfstisichernden Mutter M 8 (125) so fest, dass sich die Hydraulikzylinder (58) in den Aufnahmen (46) etwas bewegen setzen.
- Stecken Sie die Aufnahmen für die Hydraulikzylinder (46) von oben durch die Pedalen Links und Rechts (21+24) und befestigen Sie diese in gewünschter Position mittels der Sterngriffschraube (75) und der Unterleg-scheibe 10/38 (120). Durch die Einstellung der Aufnahme für die Hydraulikzylinder (46) beeinflussbar.
- Fugen Sie eine Seilrolleneinheit, "A" gemäß nebenstehender Zeichnung zusammen, legen Sie das Seil 5 (59) über die Rolle (83) und montieren Sie dies an den Seilrollenhalter mit Haken (35), so dass sich die Seilrolle kein drehen lasst.
- Hängen Sie den Seilrollehalter mit Haken (35) in die entsprechende Aufnahme unter der Querstrebe (22) ein und haken Sie die Enden des Seiles 5 (59) in die Pedalien Links und Rechts (21+24) ein.
- AnschlieBend die Schraubenkappe fur M10 (131) auf alle M 10-Schrauben und Muttern aufsetzen und die Schraubenkappen fur M8 (132) auf die M8-Schrauben und Muttern aufsetzen.
SCHRITT 14: Montage des Seiles 1 für Latissimus (26) mit Seilrolleneinheiten. Für alle Seilrolleneinheiten gilt folgenden:
Das Seil in die Seilrolle (83) einlagen und beidseitig mit Seilrollendeckel (84) abdecken, sodass der Ein- und Austritt des Seiles vom Seilrollendeckel gefuhr wird. (= 1 Seilrolleneinheit) Diese Seilrolle-inheiten werden generell mit den Seilen an den entsprechenden Positionen montiert.
- Führer Sie das Teil 1 (26) gemäß der nebenstehenden Abbildung durch das Latissimusurohr (5) und die Führungsrohraufnahme (3), schrauben Sie das Ende des Seiles 1 (26) mit einer Unterlegscheibe 12//24 (119) in den Gewichtsschlitten (40) ein und sichern Sie die Verbindung durch festziehen der Mutter.
- Nehmen Sie das Seil 1 (26) und die in Bild „A" gezeigte Seilrolleneinheit ohne Seilrollendeckel mit Schraube M10x70 (112), Unterlegscheibe 10//20 (118), Kunststoffflager 1 (94) und Mutter M10 (124) zur Hand. Setzen Sie die Seilrolle (83) in das Latissimusurohr (5) ein und die Kunststoffflager 1 (94) von außen ein und montieren Sie diese an entsprechender Stelle.
- Montieren Sie zwei der in Bild „B" gezeigte Seilrolleneinheiten mit Schraube M10x45 (110), Unterlegscheibe (118) und Mutter (124) mit dem Seil 1 (26) auf dem Latissimushröf (5).
- Nehmen Sie das Teil 1 (26) und die in Bild „B" gezeigte Seilrolleneinheit mit Schraube M10x45 (110), Unterlegscheibe (118) und Mutter (124) zur Hand und montieren Sie diese in den Seilrollenhalter 2 (6) in dargestelter Position ein.
- AnschlieBendie Schraubenkappe fur M10 (131) auf alle M 10-Schrauben und Muttern aufsetzen.
SCHRITT 15: Montage des Seiles 3 für den Butterfly (29) mit Seilrolleneinheiten.
- Haken Sie die beiden Seilenden von Seil 3 (29) an die entsprchende Position am rechten und linken Butterflyarm (11+14) hinter dem Stutzrohr 2 (7) gefuhrt mit den Ösen ein.
- Montieren Sie zwei der in Bild „A" gezeigte Seilrolleneinheiten mit Schraube M10x45 (110), Unterlegscheibe (118) und Mutter (124) mit dem Seil 3 (29) in die Seilrollenhalter 1 (8) ein.
- Nehmen Sie das Teil 3 (29) und die in Bild „A" gezeigte Seilrolleneinheit mit Schraube M10x45 (110), Unterlegscheibe (118) und Mutter (124) zur Hand und montieren Sie diese in den versetzen Seilrollenhalter (27) in dargestellter Position ein.
- AnschlieBend die Schraubenkappe fur M10 (131) auf alle M 10-Schrauben und Muttern aufsetzen.





SCHRITT 16: Montage des Seiles 4 für den Beincurler (31) mit Seilrolleneinheiten.
- Ziehen Sie das Teil 4 (31) durch die untere Öffnung des Beincurlers (15) und befestigen Sie das Seilende mit der Öse von unten an der Aufnahme des Beincurlers (12) mittels der Schraube M10x40 (136), der Unterlegscheiben 10//20 (118) und der Selfbstsichernden Mutter M10 (124) wie in Bild „C" dargestellt.
- Nehmen Sie das Seil 4 (31) und die in Bild „B" gezeigte Seilrolleneinheit mit Schraube M10x80 (114), Unterlegscheiben 10//20 (118), Kunststoffflager 2 (95) und Mutter M10 (124) zur Hand. Setzen Sie die Seilrolle (83) mit Seilrollenabdeckungen (84) in den Beincurler (15) ein und die Kunststoffflager 2 (95) von außen ein und montieren Sie diese an entsprechender Stelle.
- Nehmen Sie das Seil 4 (31) und die in Bild „A" gezeigte Seilrolleneinheit mit Schraube M10x45 (110), Unterlegscheiben (118) und Mutter (124) zur Hand und montieren Sie diese in den Seilrollenhalter 2 (6) in dargestelter Position ein.
- AnschlieBendie Schraubenkappe fur M10 (131) auf alle M 10-Schrauben und Muttern aufsetzen.
SCHRITT 17: Montage des Seiles 2 (28) mit Seilrolleneinheiten.
- Ziehen Sie das Seil (28) durch die untere Öffnung des Stützrohres 2 (7) und befestigen Sie das Seilende mit der Ose an den Seilrollhalter 2 (6) mittels der Schraube M10x25 (109), der Unterlegscheiben10//20 (118) und der selbstsichernden Mutter M10 (124) wie in Bild „B“ darestellt.
- Montieren Sie zwei der in Bild „A" gezeigte Seilrolleneinheiten mit Schraube M10x45 (110), Unterlegscheibe (118) und Mutter (124) mit dem Seil 2 (28) in die Aufnahmen des vordern FuBes (1) ein.
- Nehmen Sie das Seil 2 (28) und die in Bild _nA^n gezeigte Seilrolleneinheit mit Schraube M10x45 (110), Unterlegscheibe (118) und Mutter (124) zur Hand und montieren Sie diese in den versetzen Teillrollehalter 2 (27) in dargaestellter Position ein.
- Nehmen Sie das Seilende von Seil 2 (28) und verlangem Sie es auf entsprechende Länge mittels der 8 gliedriger Kette (53) und zwei Karabinerhaken (55) und verbinden Sie das Seil 2 (28) mit dem Seilrollenhalter 2 (6), welcher im Seil 1 (26) bereits montiert hangt. (Hinweis: Um das Seilsystem später evtl. nachzuspannen kann der Karabinerhaken (55) in einer tieferen Position der 8 gliedrigen Kette (53) eingehängt werden.)
- AnschlieBend die Schraubenkappe fur M10 (131) auf alle M 10-Schrauben und Muttern aufsetzen.
SCHRITT 18: Montage der Gewichtsverkleidung (41) mit den Aufnahmen 1+2 (42+43).
- Befestigen Sie die Gewichtsverkleidungsaufnahmen 1 + 2 (42 + 43) an entsprechender Stelle der Gewichtsverkleidungen (41) mittels der Schrauben M6x16 (100), der Unterlegscheiben 6//12 (116) und der Selfstsichernden Mattern M 6 (126).
Bitte achtten Sie darauf, dass die Gewichtsverkleidungsaufnahmen 1 +2 (42+43) in richtiger Position (siehe Bild A+B) montiert werden und die Gewichtsaufnahmen 1 (42) jeweils unter an den Gewichtsverkleidungen (41) befestigt werden.




SCHRITT 19: Montage der vormontierten Gewichtsverkleidung (41) mit den Aufnahmen 1 + 2 (42 + 43) am Metallwinkel (32) und hinteren FuB (2).
- Stecken Sie die beiden vormontierten Gewichtsverkleidung (41) mit den Aufnahmen 1 (42) in die Bohrungen an entsprechender Stelle auf dem Hinteren Fuß (2). Fügen Sie die sich gegenüberliegenden Aufnahmen 1 + 2 (42 + 43) zusammen und verschrauben Sie diese mittels der Schrauben M6x16 (100), der Unterlegscheiben 6/12 (116) und der Selfbsichernden Mattern M 6 (126) wie in Bild „A" dargestellt.
- Montieren Sie den Metallwinkel (32) unter das Latissimusrohr (5) mittels der Schraube M8x65 (106), Unterlegscheiben 8//16 (117) und der Selfbstsichernden Mutter M 8 (125).
- Verschrauben Sie die obere Gewichtsverkleidungsaufnahmen mit dem Metallwinkel mittels der Schraube M6x16 (100), der Unterlegscheiben 6//12 (116) und der Selfbstsichernden Mutter M 6 (126).
- AnschlieBend die Schraubenkappe fur M8 (132) auf die M 8 Mutter aufsetzen.
SCHRITT 20: Montage der Latissimusstange (36) und der Curlstange (37).
- Befestigen Sie die Latissimusstange (36) an dem Seil 1 (26) mittels des Karabinerhaken (55). (Die Latissimusstange (36) kann auf der vorne an dem Latissimusrohr (5) befindlichen Latissimusstangenaufnahme abgelegt werden.
- Befestigen Sie die Curlstange (37) an dem Seil 4 (31) mittels der 22 giedrigen Kette (54) und den Karabinerhaken (55). (Für Beincurl-Übungen sollen die Kette mit der Curlstange ausgehängt werden.)
- Je nach Art der Übung kann am Seil 4 (31) auch die Fußgelenkman-schette (73) und am Seil 1 (26) der Handgriff (72) mittels Karabinerhaken befestigt werden.
Wichtige-Sicherheitsinformation zur Benutzung der Karabinerhaken.

Schrauben Sie die Karabinerhaken (55) auf und hängen Sie diese in die Kette (54) ein.

Hängen Sie das Seilende (26+31) oder die Zugstangen (36+37) in die Ka - rabinerhaken (55) ein.

Drehen Sie den Karabinerhaken (55) zu und vergewissem Sie sich, dass dieser richtig geschlossen ist.
Achtung: Vor jeder Benutzung versichern Sie sich, dass die Karabinerhaken (55) fest verschlossen sind.
SCHRITT 21:
Kontrolle:
- Alle Verschraubungen, Einrastungen und Seile auf ordnungsgemäß Montage und Funktion prufen. Wenn alles in Ordnung ist, konnen Sie sich mit ihrem Trainingsgerät erst einmal mit leichten Gewichtsbelastungen vertraut machen.
- Vor dem Training darauf auf acht den die empfohlenen Sicherheitsabstande zu anderen Gegenständen eingehalten sind. Um eine bestimmte Position des Gerätes sichern zu konnen, kann das Gerät mittels selbst zu besorgender Schrauben und Dübel fest mit dem Boden verbunden werden. Dazu sind in die Rohre, die direkt Kontakt zum Boden haben, Bohrungen eingefegt worden.
- Beim Benutzen des Gerätes, im Besonderen beim Dips-Barren, darauf acht den, dass stets eine geeignete Kopfbedeckung und Kleidung getragen wird. Diese muss ausschreiben, dass mit den Haaren oder der Kleidung irgendwo hagen geblieben werden kann bzw. die Haare und die Kleidung in einen sich bewegenden Teil des Gerätes eingezogen werden konnen.
- Auflegen der Gewichte je nach Anforderung: Das Gerät ist bis max. 70 kg Belastung geeignet.
Absichern der Gewichte:
Ob ein oder mehrere Gewichte aufgelegt sind: Die Gewichte müssen immer gegen Herunterfallen geschichert sein. Das geschieht mit dem Sicherungsstatt 1 (51).



Trainingsanleitung
Um spürbare körperliche und gesundheitliche Verbesserungen zu erreichen, müssen für die Bestimmung des erforderlichen Trainingsaufwandes die folgenden Faktoren beachtet werden.
1. Intensität
Die Stufe der körperlichen Belastung beim Training muss den Punkt der normalen Belastung um mindestens 30% überschreiben, ohne damit den Punkt der Atemlosigkeit und/oder der Erschöpfung zu erreichen. Ein Richtwert für ein effektives Training ist bzw. der Puls. Dieser sollte in der Anfangsphase nicht an den Maximalpuls herankommen und bei einem fortgeschrittenuem Training zwischen 70% und 85% des Maximalpulses liegen. (Ermittlung und Berechnung siehe Tabelle und Formel). Wahlen Sie ein Gewicht zur Bestimmung der Intensität, das Sie max. 15 mal bewältigen konnen. Somit erreichen Sie ein Muskelwachstum (Hypertrophie). Wahlen Sie ein Gewicht zur Bestimmung der Intensität, das Sie max.7 mal bewältigen konnen und Sie erreichen max. Muskelwachstum (Maximalkraft). Wahlen Sie ein Gewicht zur Bestimmung der Intensität, das Sie max.25 mal bewältigen konnen und Sie erreichen Kraftausdauer. Trainieren Sie in 3 bis 5 Sätzen pro Muskelgruppe, wobei die Hauptmuskelgruppen immer intensiver trainiert werden müssen, da die Hilfsmuskeln sowieso immer mit trainiert werden und Schneller ermuden. Zur Unterstützung verwenden Sie ein Puls - Kontroll - Messgerät, dass Sie Fachhandel - Sanitätshandel besteht.
Ergometer haben eine Computeranzeige in der der Puls angezeigt wird. Steigern sie die Intensität zu Beginn des Trainings langsam und orientieren sich an Ihr Maximalpuls. Verändern Sie Ihr Training nach ca. 6 Wochen und erhöhen entweder leicht das Gewicht oder die Wiederholungszahl um einen neuen Trainingsreiz zu erlangen und um eine Steigerung zu erfahren, gerade für Anfänger ist darauf zu achten, dass der Anpassungsprozess nicht zu schnell gesteigert wird. Fortgeschrittene und Geüble, sollen den Parameter oder Felder Kraftausdauer - Hypertrophie - Maximalkraft in Reihenfolge einhalten, da sich hier die Anpassungsprozesse und Steigerungen langsam erstellen.
2. Häufigkeit
Experten empfehlen die Kombination einer gesundheitsbewussten Ernährung, die entsprechend dem Trainingsziel abgestimmt werden muss. Um die eigene körperliche Verfassung zu erhalten ist ein Training von 2 mal proWoche erforderlich. Um seine Kondition zu verbessern und sein Körpergewicht zu steigern, benötigt man mindestens drei Trainingsinheiten proWoche. Um maximale Erfolge zu erzielen besteht man mindestens 5 Trainingsinheiten proWoche und die entsprechenden Ruhephasen zur Regeneration, sowie eine ausgewogene Ernährung die ein Muskelwachstim zulässst.
3. Gestaltung des Trainings
Jede Trainingsinheit solle aus drei Phasen bestehen:
Aufwärmphase - Trainingsphase - Abkühlphase
In der Aufwärmphase soll die Muskulatur auf das TrainingVBbereitet werden, desweitern soll die Körpertemperatur um ein bis eineinhalb Grad erhoht werden, damit der Körper auf Belastungen eingestimm wird. Die Aufwärmphase richtet sich je nach Trainingsziel und dauer ca. 5 bis 15 Min.
Danach sollte das eigentliche Training erfolgen. Beginnen Sie mit ca. 30% Ihres Trainingsgewichtes und trainieren sie damit die ersten 3 Satze, danach steigern Sie sich zu ihrem eigentlichem Trainingsgewicht.
In der Abkuhlphase sollenn Sie leichte Dehnübungen durchführren, um Zerrun-gen und Blutstau zu vermeiden. Diese sollte je nach Trainingsintensität 5 bis 10 Minuten dauern.
4. Motivation
Der Schlüssel für ein erfolgreiches Training ist ein regelmäßiges Training mit kontinuierlicher langsamer Steigerung. Sie sollen den einen festen Zeitpunkt und ausreichend Zeit pro Trainingstag einrichten und sich auch geistig auf das TrainingVBereiten. Trainieren Sie nur im gutter körperlichen Zustand, nie im erschöpftem und halten Sie sich stets Ihr Ziel vor Augen. Bei kontinuierlichem Training werden Sie Schritt fur Schritt feststellen, wie Sie sich weiterentwickeln und ihrer personlichen Trainingsziel naher kommt. Hierbei werden Anfänger schneller Erfolge zu verzeichnen haben, als Fortgeschrittene, da bei ihren die Anpassungsprozesse schneller eintreten und sich Muskel schneller bildet. Stimmen Sie sich auf Ihr Training ein und lenken Sie sich auch während des Trainings nicht ab z.B. Fernseher oder Zeitschriften, sondern nutzen Sie die Pausen um sich zu erholen. Das erste Training findet im Kopf staat!
Die vollständige Trainingsanleitung mit über 45 Übungsbeseielen finden Sie in unserem Downloadbereich unter www.christopeit-sport.com
Trainingsanleitung Anfänger:
Kraftausdauer - Hypertrophie - Kraftausdauer - Hypertrophie - Maximalkraft - Kraftausdauer
Als Beispiel des Trainingsbeginns
Trainingsätze 3 - Wiederholungen 20 bis 25 - Pausen zwischen den Sätzen 30 Sek
Zu trainierende Muskelgruppen pro Training max. 3 bis 5 z.B. Großer Brust-muskel - Trizeps - Schulter oder Latissimus - Bizeps - Bauch
Trainingsanleitung für Fortgeschrittene:
Hypertrophie - Maximalkraft - Hypertrophie - Kraftausdauer - Hypertrophie - Maximalkraft
Als Beispiel des Trainingsbeginns
Trainingsätze 5 – Wiederholungen 10 – Pausen zwischen den Sätzen 60 Sek Zu trainierende Muskelgruppen pro Training 4 z.B. Brust – Trizeps – Bauch – Beine oder Latissimus – Bizeps – Deltamuskel – Stepper
Trainieren sie z.B. an folgenden Tagen - Montag - Mittwoch - Freitag - Sonntag - Dienstag Donnerstag - Samstag - Montag ....
Bewegungsausführung:
Hypertrophie: bewättigen Sie das Gewicht in 1 Sek aufwärts / senken Sie das Gewicht 3 Sek lang abwärts
Maximalkraft: bewältigen Sie das Gewicht explosiv nach oben / senken Sie das Gewicht 2-3 Sek lang abwarts
Kraftausdauer: bewältigen Sie das Gewicht 2 Sek lang nach oben / senken Sie das Gewicht 2 Sek lang abwärts
Griffvarianten Körperhaltungen
- Untergriff Grundstellung - Fuß parallel bis Hüft - Schulterbreit
- Obergriff Bauch und Gesäß fest angespannt
- Neutralgriff Schulternleitung nach hinten gebeugt
Kopf in Veränderung der Wirbelsäule
Blick frei gerade aus
Schnittstellung Sitzposition
Fuße Hüt bis Schulterbreit Beine leicht geöffnet
Knie leicht gebeugt FuBseenkrecht unter den Knien
Becken gerade Becken leicht gekippt
Bauch und Gesäß fest angespannt Brustkor aufrecht
Brustkorbleichterhoben
Kopf in Veränderung der Wirbelsäule
Blick frei gerade aus
Kopf in Veränderung der Wirbelsäule
Blick frei gerade aus

Berechnungsformeln: Maximalpuls = 220 -Alter
90% des Maximalpuls = (220 - Alter) x 0,9
85% des Maximalpuls = (220 - Alter) x 0,85
70% des Maximalpuls = (220 - Alter) x 0,7

1.Unterarmstrecker
2.Bizesps
3.Trizeps
4.Brustmuskel
5.Deltamuskel
6.Kapuzenmuskel
7.Breiter Ruckenmuskel
8.Sagemuskel
9.Schrange Bauchmuskulatur
10.Unterer Ruckenmuskel
11.Glatter Bauchmuskel
12.Gesamuskulatur
13-14.Quadrizeps Femoris (GroBer Beinmuskel)
15.Wadenmuskel
16.FuBspannmuskel
17.Huftmuskel
Vor dem Training sollen den Körper durch gezielte leichte Übungen mit Gewichen aufwärmen.
Dehnübungen sowie gymnastische Übungen sollen den Sie erst nach dem Training durchführren um den Muskelonus wieder zu verringern und um eine bessere Regeneration zu erlangen. Desweiteren sollen Sie die Hinweise und Sicherheitsempfehlungen in der Montage- und Bedienungs-anleitung beachten.
Die Übungen sollen so aufeinander abgestimmt sein, dass zwischen den einzelnen Sätzen, je nach Trainingswunsch (Hypertrophie - Maximalkrafttraining - Kraftausdauer) eine Pause von jeweils - (60Sek - 120Sek - 30Sek) eingelegt wird.
Uberschätzen Sie sich nicht und wahlen Sie ihre Gewichte nach ihrer körperlichen Verfassung.
Stigern Sie sich langsam und trainieren Sie, vor allen Dingen als Anfänger, nie bis zur Schmerzgrenze.
Wahlen Sie die Übungseinheiten nach den Abbildungen, Ihr körperslichen Bedarf und den Mänglichkeiten des zur Verügung stehenden Gerätes aus.
Eine Mindesttrainingsdauer von 45 bis 60Min und je nach Verfassung ist zu empfehlen. Wahlen Sie ihre Trainingstage vorher sorgfältig aus (Mo -Mi -Fr) und bereits Sie sich auch von der Einstellung her gut darauf vor. 3 Trainingstage pro Woche sind sehr zu empfehlen.
Somit erfahren Sie eine körperliche und muskuläre Steigerung. Desweiteren ist die Atmung von entscheidender Bedeutung, beim Training mit Gewichen sollen den Sie bei Belastung ausatmen z.B. beim Stemmen und Drücken von Lasten. Bei Entlastung immer einatmen. Achten Sie auf eine richtige Körperhaltung um Verletzungen zu vermeiden. Führten Sie nach dem Training ein Cooldown durch, um die Muskeln wieder zu entspannen,azo behmen Sie Dehnübungen der trainierten Muskelgruppen vor.
Ubung 1
Beinstrecker, Leg extension
Extension des jambes, Beenstrekken


Ubung 3
Top-Sports Gilles GmbH

Adresse: Top-Sports Gilles GmbH
Friedrichstraße 55
42551 Velbert
Telefon: +49 (0) 20 51 -6067- 0
Telefax: +49 (0) 20 51 -606744
info@christopeit-sport.com
www.christopeit-sport.com
Top-Sports Gilles GmbH

Adresse: Top-Sports Gilles GmbH
Friedrichstraße 55
42551 Velbert
Telefon: +49 (0) 20 51 -6067-0
Telefax: +49 (0) 20 51 -606744
info@christopeit-sport.com
www.christopeit-sport.com

| Schéma Designation Dimensions Quantité Monté sur Numéro ET Numéro ET | ||||||
| n° | en mm | Unités | schéma n° | 99881 | 1153 | |
| 1 | Pied avant | 1 | 2 | 33-9188101-SW | 33-1153-01-WS | |
| 2 | Pied arrêté | 1 | 1 | 33-9188102-SW | 33-1153-02-WS | |
| 3 | Le support tabulaire de guigage | 1 | 4+5 | 33-9188103-SW | 33-1153-03-WS | |
| 4 | Support 1 | 1 | 2+3 | 33-9188104-SW | 33-1153-04-WS | |
| 5 | La poutre transversale supérieure | 1 | 3+7 | 33-9188105-SW | 33-1153-05-WS | |
| 6 | Le support de poulie 2 | 2 | 55 | 33-9188106-SW | 33-1153-06-WS | |
| 7 | Support 2 | 1 | 1+5 | 33-9188107-SW | 33-1153-07-WS | |
| 8 | Le support de poulie 1 | 2 | 7 | 33-9188108-SW | 33-1153-08-WS | |
| 9 | Le support a bras de papillon | 1 | 39 | 33-9188109-SW | 33-1153-09-WS | |
| 10 | Barre de guidage | 2 | 2+3 | 33-9188110-SW | 33-1153-10-WS | |
| 11 | Bras de papillon droit | 1 | 9 | 33-9188111-SW | 33-1153-11-WS | |
| 12 | Le support de bigoudi de jambe | 1 | 7 | 33-9188112-SW | 33-1153-12-WS | |
| 13 | Le cadre du support siege | 1 | 12 | 33-9188113-SW | 33-1153-13-WS | |
| 14 | Le bras a papillon gauche | 1 | 9 | 33-9188114-SW | 33-1153-14-WS | |
| 15 | Le bigoudi de jambes | 1 | 12 | 33-9188115-SW | 33-1153-15-WS | |
| 16 | La courbure de bras du bigoudi | 1 | 20 | 33-9188116-SW | 33-1153-16-WS | |
| 17 | La garniture du siege | 1 | 13 | 36-9188101-BT | 36-1153-01-BT | |
| 18 | Le support rond de garniture | 2 | 13+15 | 33-9188117-SW | 33-1153-17-WS | |
| 19 | Le poingee | 2 | 11+14 | 33-9188118-SW | 33-1153-18-WS | |
| 20 | Le bigoudi de bras | 1 | 16 | 36-9188102-BT | 36-1153-02-BT | |
| 21 | Pedal rechts | 1 | 34 | 33-9188119-SW | 33-1153-19-WS | |
| 22 | La barre de traverse | 1 | 2+4 | 33-9188120-SW | 33-1153-20-WS | |
| 23 | Le support poid | 2 | 10 | 33-9188121-SW | 33-1153-21-WS | |
| 24 | La pedale gauche | 1 | 34 | 33-9188122-SW | 33-1153-22-WS | |
| 25 | Barre de plonger | 1 | 4 | 33-9188123-SW | 33-1153-23-WS | |
| 26 | Cable 1 | 2750mm | 1 | 5+40 | 36-9988-02-BT | 36-9988-02-BT |
| 27 | Support des cables jumeaux de poulie | 1 | 83 | 33-9188124-SW | 33-1153-24-WS | |
| 28 | Cable 2 | 1980mm | 1 | 6+53 | 36-9988-03-BT | 36-9988-03-BT |
| 29 | Cable 3 | 2690mm | 1 | 11+14 | 36-9988-04-BT | 36-9988-04-BT |
| 30 | Poignee 2 | 2 | 25 | 33-9188125-SW | 33-1153-25-WS | |
| 31 | Cable 4 | 1190mm | 1 | 12+15 | 36-9988-05-BT | 36-9988-05-BT |
| 32 | Plateau L | 1 | 5 | 33-9188126-SW | 33-1153-26-WS | |
| 33 | Case du pipe ronde | 1 | 50 | 36-9988-06-BT | 36-9988-06-BT | |
| 34 | Axe 1 | 1 | 4 | 36-9588-03-BT | 36-9588-03-BT | |
| 35 | L'appui de cable de poulie | 1 | 22+83 | 33-9588-24-VZ | 33-9588-24-VZ | |
| 36 | Barre de latissimus | 1 | 55 | 33-9188127-SW | 33-1153-27-WS | |
| 37 | Barre de bigoudi | 1 | 55 | 33-9188128-SW | 33-1153-28-WS | |
| 38 | L'appui de pression de mise hors jeu | 1 | 7 | 33-9188129-SW | 33-1153-29-WS | |
| 39 | Axe 2 | 1 | 9 | 36-9588-01-BT | 36-9588-01-BT | |
| 40 | La barre de disque de poids | 1 | 26 | 33-9188130-SW | 33-1153-30-WS | |
| 41 | L'enveloppe de poids | 2 | 42+43 | 33-9188131-SW | 33-1153-31-WS | |
| 42 | Le support de l'enveloppe de poids | 2 | 41 | 33-9188132-SW | 33-1153-32-WS | |
| 43 | Le plateau de courbure | 4 | 41 | 33-9188133-SW | 33-1153-33-WS | |
Top Sport Gilles GmbH

Adresse: Top-Sports Gilles GmbH
Friedrichstraße 55
42551 Velbert
Telefon: +49 (0) 20 51 -6067-0
Telefax: +49 (0) 20 51 -606744
info@christopeit-sport.com
www.christopeit-sport.com

| Afbeeldings- Nr. | Beschrijving Afmetingen Aantal Genomm | nonteerd aan ET-mmm | nummer ET-nummernstuks | afbeeldingsnr. | 99881 | 1153 |
| 1 | Voorvoet | 1 | 2 | 33-9188101-SW | 33-1153-01-WS | |
| 2 | Achtervoet | 1 | 1 | 33-9188102-SW | 33-1153-02-WS | |
| 3 | Tabellarische geleidingshouser | 1 | 4+5 | 33-9188103-SW | 33-1153-03-WS | |
| 4 | Ondersteuning 1 | 1 | 2+3 | 33-9188104-SW | 33-1153-04-WS | |
| 5 | Bovenste dwarsligger | 1 | 3+7 | 33-9188105-SW | 33-1153-05-WS | |
| 6 | Draaischijfhouser 2 | 2 | 55 | 33-9188106-SW | 33-1153-06-WS | |
| 7 | Ondersteuning 2 | 1 | 1+5 | 33-9188107-SW | 33-1153-07-WS | |
| 8 | Draaischijf houser 1 | 2 | 7 | 33-9188108-SW | 33-1153-08-WS | |
| 9 | Vlinderarm houser | 1 | 39 | 33-9188109-SW | 33-1153-09-WS | |
| 10 | Geleidings lat | 2 | 2+3 | 33-9188110-SW | 33-1153-10-WS | |
| 11 | Rechter vlinder arm | 1 | 9 | 33-9188111-SW | 33-1153-11-WS | |
| 12 | Beenbuig houser | 1 | 7 | 33-9188112-SW | 33-1153-12-WS | |
| 13 | Zit ondersteuningsframe | 1 | 12 | 33-9188113-SW | 33-1153-13-WS | |
| 14 | Linker vlinderarm | 1 | 9 | 33-9188114-SW | 33-1153-14-WS | |
| 15 | Been buiger | 1 | 12 | 33-9188115-SW | 33-1153-15-WS | |
| 16 | Arm buig standard | 1 | 20 | 33-9188116-SW | 33-1153-16-WS | |
| 17 | Zitkussen | 1 | 13 | 36-9188101-BT | 36-1153-01-BT | |
| 18 | Ronde kussenhouser | 2 | 13+15 | 33-9188117-SW | 33-1153-17-WS | |
| 19 | Handgreep 1 | 2 | 11+14 | 33-9188118-SW | 33-1153-18-WS | |
| 20 | Armbuig kussen | 1 | 16 | 36-9188102-BT | 36-1153-02-BT | |
| 21 | Rechter pedal | 1 | 34 | 33-9188119-SW | 33-1153-19-WS | |
| 22 | Dwarsligger | 1 | 2+4 | 33-9188120-SW | 33-1153-20-WS | |
| 23 | Gewichtsondersteuning | 2 | 10 | 33-9188121-SW | 33-1153-21-WS | |
| 24 | Linkerpedaal | 1 | 34 | 33-9188122-SW | 33-1153-22-WS | |
| 25 | Dipps lat | 1 | 4 | 33-9188123-SW | 33-1153-23-WS | |
| 26 | Kabel 1 | 2750mm | 1 | 5+40 | 36-9988-02-BT | 36-9988-02-BT |
| 27 | Dubbele draaischijfhouser | 1 | 83 | 33-9188124-SW | 33-1153-24-WS | |
| 28 | Kabel2 | 1980mm | 1 | 6+53 | 36-9988-03-BT | 36-9988-03-BT |
| 29 | Kabel 3 | 2690mm | 1 | 11+14 | 36-9988-04-BT | 36-9988-04-BT |
| 30 | Handgreep 2 | 2 | 25 | 33-9188125-SW | 33-1153-25-WS | |
| 31 | Kabel 4 | 1190mm | 1 | 12+15 | 36-9988-05-BT | 36-9988-05-BT |
| 32 | L plaat | 1 | 5 | 33-9188126-SW | 33-1153-26-WS | |
| 33 | Ronde pijp fitting | 1 | 50 | 36-9988-06-BT | 36-9988-06-BT | |
| 34 | Staaf 1 | 1 | 4 | 36-9588-03-BT | 36-9588-03-BT | |
| 35 | Draaischijf houser incl. haak | 1 | 22+83 | 33-9588-24-VZ | 33-9588-24-VZ | |
| 36 | Latissmus lat | 1 | 55 | 33-9188127-SW | 33-1153-27-WS | |
| 37 | Buiglat | 1 | 55 | 33-9188128-SW | 33-1153-28-WS | |
| 38 | Bankdruk ondersteuning | 1 | 7 | 33-9188129-SW | 33-1153-29-WS | |
| 39 | Staaf 2 | 1 | 9 | 36-9588-01-BT | 36-9588-01-BT | |
| 40 | Gewichtschijf lat | 1 | 26 | 33-9188130-SW | 33-1153-30-WS | |
| 41 | Gewichtsbehuiizing | 2 | 42+43 | 33-9188131-SW | 33-1153-31-WS | |
| 42 | Gewichtsbehuiizingondersteuning | 2 | 41 | 33-9188132-SW | 33-1153-32-WS | |
| 43 | Buigplaat | 4 | 41 | 33-9188133-SW | 33-1153-33-WS |
Top-Sports Gilles GmbH

PEKOMEHDAUIMI TEXHNABE3OJACHOCTN
Hactouee n3dne HteTnpoBaHO cornacho TUV-GS n COOTBeCTBye t cambim nocleHIM, XecTKM cTaHapTAM 6eONaCHOCTN. 3TO o6cToTeNbCTBO, Ondako, He 03hauaet, YTO Bbl MoKTe npHe6perat b CJeDyUOUMn npabunamn:
- C6epeIte TpeHaxep, coJIIOJDAHnCTpyKUHO no C6opKe, nCnoJIb3yra ToIbKO Te Yactu, KOtOpBle BXoAIT B KOMNKeKT N KOTOpBIE nepeucneHb I CnUCke CoCTaBbIX YacTe HMeHNO dIra 3TOrO TpeHaxepa. NepeH hauJAmC 6opKn y6eDntecb, CBepRcB CO CnICKOM,HTO BCE CoCTaBbIe Yactn IMEOTCR B HAJIHNN.
- PpeTe KAK NepBbI pa3 IcONb3OBAbT TpeHaKepe, npOBepbTe YpeE3 perynRbIe npomExyTKn BpEmHn, 7TO BCE KpeNlEHHa, 60NTbI INpyrHe CoedHHeHn HaDeXHo 3akpenHbI, nra Toro 7TO6b1 6bITyBEpeHbIM, 7TO BaWe TpeHnpOboHoe 6OpDIOBaHne 6ydet 6e3OnaHO HAdEHXo pa6OtaB BCE BpEMn. 3TO Oco6eHNo BEpHO dIn Ka6eHbOH cnCTeMbI. PpeK kaxDo TpeHnpOBkO DonJXHO BepeBKn, Kapa6uHbI n Akceccyapbl Noe3da npOBepHOTcH Ha npabINbHocTb yctAHOBKn I KaKx-Ni6o npns3NaKOB n3Hoca. Ecnn HpeOBhie, n3Hoc 6ydet cpa3y y3HaBaem Cneob O6MeHa nopaxeHHbx yacTKOB He Tpe6yETcA.
3TOOC6eHNOBepHOJNA6eJIbHOINCTEmbl.NpeE KAKdoTpeHNPOBKOI DOnJXHOBepeBKNiKapa6nHbI N Akceccyapbl noe3da npOBepaIOCTHaNpaBnIbHocTb yctAHOBKnIKaKnx-NIOBO np3HaKOBn3HOca.Ecnn HApOBHbIe, n3HOC 6ydet cpa3y y3Habaem Cneob O6MeHa npopaeHHbIX yuaactKOB He Tpe6yeTcR.
3. NomeCTne TpeHaepe B cyxom Mece n 3aunTne OT cbipoctnn Bnarn. Bby taKxe moXeTe 3aunTb NOBepXHOCTb NOI TpeHaKePOM OT nobpeXJeHm B pe3yNbTaTe DaBHeHr, a TaKxe rpa3n np..ДЯ HeRoMbI peKoMeHdyem NoCDTeENb Tb pe3HOBbMaT ININ DepeBHHbIM IInCT.
4. HaedeBaTe CneuaHbHbI TpeHnpOByHbIKoCTOM n ObyBb, NOxOaJIe Nn TpeHpOBOK H a TpeHaxKepe.KocTOM dONJKeH 6blTb TAKIM, YTO6bI He BbITINBAICB INPOUcCE TpeHnpOBKn (He TepnΦOpMy, DnHy n.T.d).OByBdoNJaH bSbTb yO6HoN Ia TpeHnpOBKn Ha TpeHaxKepe - DocTaOuHO NIOTHO CNDAUeHa HOE N He IMeIoUeckOJB3kyo NOoUBy.
5. Y6epnte BCE noCTOpOHHe npeDMetbHa paCCToHHe 2 MeTPOB nepeHaHAnOM TpeHIpOBKn.
6. PpokohcybItpnyTecb C BpaHOM nepeH hauanom ceJeBbIX TpeHnpOBOK. OH MOKET DaTb Bam onpeHeneHbIe peKoMeHdaun, KacAouHnecMakCmAmabHbIX Harpy30K (aactota nplbca, BaTTbl, npdoJXntelbHocTB TpeHnpOBKn I T.d.), KOtOpBe Bbl DoJIxHbI yCTaHOBNT DnI Ce6R, a TaKKe DaTb Bam noDpo6HyIO nHcOpMaunIO npabInbHomY noLoXeHNIO Tea BO BpEm TpeHnpOBOK, cENI BauNX TpeHnpOBOK IN BonPocam NITAHIN.
3TOT nyHKT He OTHOCINCTK TpeHnPOBkAM C TepaneBTNUeCKO CEJIbIO. He npctynaIte K TpeHnPOBkAM NocJe TOR, KaK Bbl nnotHO noenm.
- ПобODиTe TpeHnPOBKN Ha TpeHaxKepe, TOIbKO ecN OH HaxOДТСВ 6e3yIpneHOM pa6oHem CoCTOHRM. Ipi peMOHTe ICNoJb3yIte ToIbKO opuHaJIbHbIe 3aIacHbIe YAcTn.
- EcnB INHCTpyKuHn He CdeJahbI CneuaJIbHbIe OROBOPKn, TpeHaXep MOxET NIOJb3OBAbCra TOJbKO ODNHM YENOBekOM.
- Ecni y Bac noBnOcB roNoBokpyKeHne, TOnHOta, 6Oni B rpyDi nI IN DpyrIe OTKIOHeHnO T HopMaJIbHOrO cAmOyBCTBnI, PpeKpaTnte TpeHnpOBKn I o6pATNTecb K BpaCy.
- CnpTINBHOe O6pOIOBaHHe, He npTyIka. OHO DoJXHO HcONb3OBaTbCn IITaTex ueNei, DnKOTOpbIX OHO npeHa3NaYeHO, N TOJIbKO TEMN IIODbMn, KOToPbIe yMeIOT C HmO6paUaTbCn I O3HaKOMJeHbI C INCTpyKQnei.
- DeTN INHBAINDbI DOJXHbI NcNoIb3OBA TbpeHaXep TOnbKO B npNCyTCTBm DpyrNx IIOdei, KOToPbE MOrY Tn IpOnHCTpyKtnpOBa Tb n OKa3a Tb NOMOuB.
- BceIa obpaaatae BHMaHne Ha To, YTO6bBi BBy IIN npyRnJe JIOi He HaxoDInncB TECHOB 6bn3OCTN O DnBxuXxCa TcTeTpeHaKepe.
- KOrda BbI Denaete yCTaHOBky IINIIO6bIX peryIpyeMbIX qacteN, npOBepeTe npaBnIbHOCTb Bbl6paHHo N03uNN N OTMeTKy MAKcMaJIbHOY cTaHOBKn.
- He nCnoJb3yIte arpeccnBhIe pactBopbl ImaMbITb TpeHaKepe. Ipa peMOHTa nCnoJb3yIte ToIbKO noCTabJIeMbIe IHCTpyMeHtbl IIN anAHOuHbIe IM Baun co6CTBeHHbIe.
- IoxaIyIcTa, ynaKoOuHbM aTePnA uN IIO6bI cactN obOpyIOBaHN, KOToPbI Bbl 3aMeHaeTe, Bbl6paCbIaBNe TOIbKO B COOTBECTBYIOUme MyCOPHbI KOHTeHepbI, YTO6bI He 3acoprtb OkpyKaioUyO cpey.
- Tpehaxep npoewenncbtaHn cepTnKauuco nacHo Hopme EN 9571+2+4 H. Donyctmam MaKcmaJbHaar Harpy3ka (=Bec TeNa) ycTaHOBJIeHa B 130 Kr.
Cneunpkaua - Cnncok 3anacbix qacte Profi Center de Luxe Aptkyn No 99881 Profi Center XL Aptkyn No 1153
TexHmuecknex xapaKTepeNCTnKn
No COCTOARHNO Ha 01.03.2012
Ha 3ToI qHTHeCC-CTAHUM MOXHO BbINONHATb MHORO pa3NJHbX ynpaxHEH.
OndHOBpeMeHHoMOXeTNCNOb30BaTbCBAByMa3aHMaIOUIMMC
60 Kr Ha6op Becob (12 wT. no 5 Kr) c BO3MOXHOCTbIO dONONHeHn Da 70 Kr
CKAMBA
Cn6aHHe Hor
Top-Sports Gilles GmbH
Friedrichstr. 55
42551 Velbert
Telefon: +49 (0) 20 51 - 6 06 70
Telefax: +49 (0) 20 51 - 6 06 74 4
e-mail: info@christopeit-sport.com
www.christopeit-sport.com

| №.Hammer kapitunskii | Оваиме Размеры в мг Кал-bo Могтуретс на № ET-№ | ET-Ne штук | 99881 | 1153 | ||
| 1 | Пerepondа Stojka | 1 | 2 | 33-9188101-SW | 33-1153-01-WS | |
| 2 | Задnia Stojka | 1 | 1 | 33-9188102-SW | 33-1153-02-WS | |
| 3 | Креленide ведуший trубы | 1 | 4+5 | 33-9188103-SW | 33-1153-03-WS | |
| 4 | Опорнaya Trуба 1 | 1 | 2+3 | 33-9188104-SW | 33-1153-04-WS | |
| 5 | Стоялаточиуca | 1 | 3+7 | 33-9188105-SW | 33-1153-05-WS | |
| 6 | Креленide канathorpo相关内容 | 2 | 55 | 33-9188106-SW | 33-1153-06-WS | |
| 7 | Опорнaya Trуба 2 | 1 | 1+5 | 33-9188107-SW | 33-1153-07-WS | |
| 8 | Креленide канathorpo相关内容 | 2 | 7 | 33-9188108-SW | 33-1153-08-WS | |
| 9 | Дерхател рычагов сатерфлай | 1 | 39 | 33-9188109-SW | 33-1153-09-WS | |
| 10 | Нарравлиочи дд грузов | 2 | 2+3 | 33-9188110-SW | 33-1153-10-WS | |
| 11 | Правь рычаг сатерфлай | 1 | 9 | 33-9188111-SW | 33-1153-11-WS | |
| 12 | Дерхател дд трусы дд уразженьем | 1 | 7 | 33-9188112-SW | 33-1153-12-WS | |
| нам мышциbos Hor | ||||||
| 13 | Дерхател相关内容 | 1 | 12 | 33-9188113-SW | 33-1153-13-WS | |
| 14 | Левий рычаг相关内容 | 1 | 9 | 33-9188114-SW | 33-1153-14-WS | |
| 15 | Трува дд уразженьем на相关内容 | 1 | 12 | 33-9188115-SW | 33-1153-15-WS | |
| 16 | Креленide相关内容 dд相关内容 | 1 | 20 | 33-9188116-SW | 33-1153-16-WS | |
| 17 | Ситдениe | 1 | 13 | 36-9188101-BT | 36-1153-01-BT | |
| 18 | Креленide相关内容 краимо相关内容 | 2 | 13+15 | 33-9188117-SW | 33-1153-17-WS | |
| 19 | Руковские 1 | 2 | 11+14 | 33-9188118-SW | 33-1153-18-WS | |
| 20 | Па rtа相关内容 | 1 | 16 | 36-9188102-BT | 36-1153-02-BT | |
| 21 | Педал лраван | 1 | 34 | 33-9188119-SW | 33-1153-19-WS | |
| 22 | Порершина улобая | 1 | 2+4 | 33-9188120-SW | 33-1153-20-WS | |
| 23 | Втулка наразы相关内容 | 2 | 10 | 33-9188121-SW | 33-1153-21-WS | |
| 24 | Педал леван | 1 | 34 | 33-9188122-SW | 33-1153-22-WS | |
| 25 | Опор дд поотгован | 1 | 4 | 33-9188123-SW | 33-1153-23-WS | |
| 26 | Тroc 1 | 2750 MM | 1 | 5+40 | 36-9988-02-BT | |
| 27 | Двоюн држател相关内容 | 1 | 83 | 33-9188124-SW | 33-1153-24-WS | |
| 28 | Тroc 2 | 1980 MM | 1 | 6+53 | 36-9988-03-BT | 36-9988-03-BT |
| 29 | Тroc 3 | 2690 MM | 1 | 11+14 | 36-9988-04-BT | 36-9988-04-BT |
| 30 | Руковские | 2 | 25 | 33-9188125-SW | 33-1153-25-WS | |
| 31 | Тroc 4 | 1190 MM | 1 | 12+15 | 36-9988-05-BT | 36-9988-05-BT |
| 32 | Металлесенки相关内容 | 1 | 5 | 33-9188126-SW | 33-1153-26-WS | |
| 33 | Рezиновая相关内容 | 1 | 50 | 36-9988-06-BT | 36-9988-06-BT | |
| 34 | Оьь 1 | Dia 50 | 1 | 4 | 36-9588-03-BT | 36-9588-03-BT |
| 35 | Дерхател相关内容相关内容 | 1 | 22+83 | 33-9588-24-VZ | 33-9588-24-VZ | |
| 36 | Штанга паточи相关内容 | 1 | 55 | 33-9188127-SW | 33-1153-27-WS | |
| 37 | Штанга相关内容 | 1 | 55 | 33-9188128-SW | 33-1153-28-WS | |
| 38 | Уpop相关内容相关内容 | 1 | 7 | 33-9188129-SW | 33-1153-29-WS | |
| 39 | Оьь 2 | 1 | 9 | 36-9588-01-BT | 36-9588-01-BT | |
| 40 | Салakни相关内容相关内容 | 1 | 26 | 33-9188130-SW | 33-1153-30-WS | |
| 41 | Ошимь相关内容相关内容 | 2 | 42+43 | 33-9188131-SW | 33-1153-31-WS | |
| 42 | Креленide相关内容相关内容相关内容 | 2 | 41 | 33-9188132-SW | 33-1153-32-WS |
Cneunpkaua - Cnncok 3anacbix qacte Profi Center de Luxe Aptkyn No 99881 Profi Center XL Aptkyn No 1153
TexHmuecknex xapaKTepeNCTnKn
No COCTOARHNO Ha 01.03.2012
Ha 3ToI qHTHeCC-CTAHUM MOXHO BbINONHATb MHORO pa3nHbX ynpaxHEH.
OndHOBpeMeHHoMOXeTNCNOb30BaTbCBAByMa3aHMaIOUIMMC
60 Kr Ha6op Becob (12 wT. No 5 Kr) C BO3MOxHOCtBIO DOONHeHrdo 70 Kr
CKAMBA
Cn6aHHe Hor
Service / Hersteller
Bei Reklamationen, notwendigen Ersatzteilbestellungen oder Reparaturen wenden Sie sichitte an unsere Service Abteilung.

Top-Sports Gilles GmbH
Friedrichstrasse 55
D-42551 Velbert
info@christopeit-sport.com
http://www.christopeit-sport.com
Christopeit
Sport Germany
EinfachAnleitung