Concert IV - Système hifi SAMSON - Notice d'utilisation et mode d'emploi gratuit
Retrouvez gratuitement la notice de l'appareil Concert IV SAMSON au format PDF.
| Caractéristiques techniques | Système sans fil UHF, fréquence de 518 à 865 MHz, portée jusqu'à 100 mètres, bande passante de 30 Hz à 20 kHz. |
|---|---|
| Utilisation | Idéal pour les performances en direct, conférences, et présentations, avec une configuration rapide et facile. |
| Maintenance et réparation | Vérifier régulièrement les batteries, nettoyer les connecteurs et les antennes, et consulter le manuel pour les procédures de dépannage. |
| Sécurité | Utiliser uniquement des accessoires compatibles, éviter l'exposition à l'humidité et aux températures extrêmes. |
| Informations générales | Compatible avec divers microphones, garantie de 2 ans, support technique disponible. |
FOIRE AUX QUESTIONS - Concert IV SAMSON
Questions des utilisateurs sur Concert IV SAMSON
0 question sur cet appareil. Repondez a celles que vous connaissez ou posez la votre.
Poser une nouvelle question sur cet appareil
Téléchargez la notice de votre Système hifi au format PDF gratuitement ! Retrouvez votre notice Concert IV - SAMSON et reprennez votre appareil électronique en main. Sur cette page sont publiés tous les documents nécessaires à l'utilisation de votre appareil Concert IV de la marque SAMSON.
MODE D'EMPLOI Concert IV SAMSON
Parcours Guidé - Récepteur CR4 12
Parcours Guidé - Récepteur CRND 13
Parcours Guidé - CT4L/ CT4G Emetteur de ceinture 14
Parcours Guide - Micro - émetteur à main HT4 15
Installation et Utilisation du système Concert IV 16
Appendix A CT4L Guide de Cabbage 38
Félicitations pour votre acquisition du système VHF Samson Concert IV! Bien que ce produit ait été concu en vue d'une simplicité d'utilisation, nous vous recommendons de prendre le temps de dire ces quelques pages de manière à comprendre le nombre de caractéristiques-Uniques que nous avons introduit.
Chaque système VHF consiste d'au moins deux composants - un émetteur et un récepteur, chacun d'eux devant être accordé sur le même canal (à savoir, la même fréquence radio) afin de fonctionner correctement*. Le système sans fil Samson Concert IV dont vous venez de faire l'acquisition contient un récepteur de type CR4 ou CRND, ainsi qu'un des émetteurs suivants : le modele ceinture CT4L (applications avec micro Lavalier ou micro avec serre-tête), le modele guitare CT4G (pour instruments de musique) ou le microphone à main HT4.
L'émetteur de ceinture CT4L dispose d'une mini prise XLR Switchcraft P3 compatible avec plusieurs ensembles micro - casque et micro lavallières tels que: l'ensemble micro-casque Audio Technica ATM 75; le micro lavallière Audio Technica MT 350; l'ensemble micro-casque Audio Technica Pro-8HE; le micro lavallière Audio Technica 831H-7; l'ensemble micro-casque Countryman Isomax; l'ensemble micro-casque Crown CM 311 (E); le micro lavallière Foster ECM 40; les ensembles micro-casque Samson QV et Samson QE**; le micro lavallière Sennheiser MKE 2; les micros lavallières Sony ECM 44, Sony ECM 55 et Sony ECM 77. L'émetteur HT4 pour micros tenus à la main est disponible pour plusieurs modèles courants de capsules tels que: Electro Voice ND 757 A N/DYM dynamique; Electro Voice ND 857 N/DYM dynamique; Electro Voice BK 1 electrostatique; Samson Q MIC dynamique; Sennheiser MKE 4032 electrostatique; Shure SM58 dynamique; Shure SM85 electrostatique et Shure SM87 electrostatique.
Le récepteur CRND livre avec certains systèmes sans fil Concert IV fait appel à la technologie non Diversity et comprend une seule antenna, pour une facilité d'utilisation accrue et un prix minimal. Les systèmes équipés d'un récepteur CR4 utilisent une technologie brevetée réellement novatrice appelée "Microprocessor True Diversity"*** (système de conception Diversity veritable à microprocesseur) faisant appel à deux antennes (appeepees A et B) et un circuit de réception rasssemblés sur un chassinis unique. Un microprocesseur scanne continulement les signaux radios provenant des deux antennes et détermine lequel des deux signaux est le plus fort et le plus clair, automatiquement (et silencieusement) routant ce signal au récepteur. Cela vous permet une liaison radio couvrant un champ plus large que ce que vous obtiendriez avec un récepteur n'utilisant qu'une seule antennae, de plus cela élimine quasiment tout problème d'interfERENCE et d'annulation de phase. En addition, un circuit spécial "sample and hold" permet de garder une relation de phase correcte et constante, sans bruit ni "pops" au changement d'une antennae à l'autre. Le résultat en performance excède celui des systèmes conventionnels (true diversity) et assure la plus haute qualité de reproduction audio parmi tous les systèmes UHF disponibles actuellesment. Enfin, l'utilisation systématique du circuit de réduction du bruit Signetics® sur tous les systèmes Concert IV permet d'obtenir un son cristallin exempt de bruit de fond et de souffle.
Dans ce manuel, vous trouvez une description détaillée des caractéristiques du système Concert IV, ainsi qu'un parcours guidé de tous les composants, des instructions claires pourmettre en place et utiliser votre système avec toutes les specifications. Vous trouvez aussi une carte de garantie - n'oubliez pas de la replir et de la renvoyer! Cela vous permettra de receivevoir un support technique et nous donnera l'occasion de vous faire parvenir les dernières informations sur de nouveaux produits Samson avenir.
- Voiture recepteur et émetteur on été pré-reglés a l'usine sur le même canal.
Optimisé pour aerobics, cet ensemble micro - casque étanche est recommendé pour utilisation dans des environnements a haute humidité tels que les centres de gymnastique.
* "Microprocessor True Diversity"
Parcours Guidé - Récepteur CR4

1: Connecteurs d'Antenne A et B - Adaptez à ces connecteurs les antennes fournies. Les antennes provennant d'autres fournisseurs devraient être évitées- utilisez exclusivement les antennes fournies avec le CR4. Voir page 14 pour plus d'information sur l'installation et le positionnement des antennes.
2: Volume - Ce potentiemetre détermine le niveau de signal audio aux sorties symétriques et asymétriques à l'arrête du rack.
3: LEDs "A" /"B" - Lorsqu'un signal est reçu, l'une de ces LEDs s'allumera vous indiquant si le signal de l'antenne "A" ou "B" est actuellément utilisé. Un micro-processeur scanne continuellement les signaux radios provenant des deux antennes et détermine lequel des deux signaux est le plus fort et le plus clair. La transition "MTD" est totalement inaudible, élargit le champ de réception et réduit les problèmes d'interference et de relation de phase.
4: Indicateur de niveau AF - Cet indicateur de niveau (similaire au VU metre utilisé en équipement audio) montre la force du signal audio. Quand le segment 100% est allumé, le signal de sortie est optimal, quand le segment 125% est allumé, il y a surcharge de signal. Quand seul le segment 10% de gauche est allumé, le signal de sortie est a seulement 10% du niveau optimal. Si aucun segment n'est allumé, il n'y a peu ou pas de signal en sortie. Pour plus d'information, voir page 14 de ce manuel.
5: Contrôle de Squelch - Ce contrôle déterminé le champ d'action maximal avant perte de signal. Le réglage d'usine devrait être conservé. Pour plus d'information, voir page 14 de ce manuel.
6: Commutateur d'alimentation - Power - Utiliser pour allumer ou eteindre le recepteur.

7: Emplacement pour connecteurs d'antennes - Les antennes du CR4 (normalement montees sur la face avant du rack) peuvent, en option, etre montees a l'arriere. Contactez Samson ou voire distributeur local pour information sur le Kit de montage d'antenne a I'arriere.
8: Connecteur d'alimentation - Connectez ici l'alimentation fournie. ATTENTION: Ne pas utiliser d'autres alimentations au risque de provoquer de graves dommages et d'annuler votre garantie.
9: Sortie symétrique - Utilisez cette sortie XLR symétriqueasse impédance (600 Ohm) lorsque vous connectez le CR4 à l'entrée micro d'un équipement audio professionnel (-30dBm). Câblez comme suit Broche 1 masse;broche 2 chaud et broche 3 froid.
10: Sortie asymétrique - Utilisez cette sortie jack 1/4" asymétrique haute impédance (5K Ohm) lorsque vous connectez le CR4 à l'entrée micro d'un équipement audio semi-pro ou domestique (-10dBv). Pointe, sous tension; gaine, masse.
- Si nécessaire, les sorties asymétriques et symétriques peuvent être utilisées simultanément.
Parcours Guidé - Récepteur CRND
1: Montage de l'antenna - Fixez l'antenne fournie sur son support. N'utilisez enaucun cas une autre antenna que celle livree avec le recepteur CRND.Consultez la page 14 pour obtenir de plus amples renseignements sur I'installation de I'antenna et son positionnement.
2: Led "TX ON" - Ce témoin lumineux indique la réception par le CRND d'un signal de puissance suffisante.
3: Réglage de Squelch - Ce réglage déterminé le seuil minimal du signal reçu par le récepteur CRND avant coupure. Ce réglage doit en原則 rester dans sa position telle qu'à la sortie de nos usines. Pour obtenir de plus amples informations, veuillez consulter la section sur las mise en oeuvre et le reglage du système Concert IV en page 14 de ce manuel.
4: Led Peak - Ce têmoin s'ailume lorsque le signal de sortie du récepteur CRND arrive à écretage (c'est-à-dire à la limite de la distorsion). Si ce têmoin s'ailume lors de l'utilisation, éloignez le micro ou diminuèz le niveau de sortie de l'instrument ou de l'émetteur. Pour obtenir de plus amples informations, veuillez consulter la section sur las mise en œuvre et le réglage du système Concert IV en page 14 de ce manuel.
5: Volume - Ce réglage déterminé le niveau de sortie du signal audio present sur la prise de sortie asymétrique située en face arrière (Jack).
6: Temoin de mise sous tension - Cette Led s'allume lorsque le recepteur CRND est sous tension.
7: Prise d'antenne de face arrriere - L'antenne du récepteur CRND normalement située en façade peut être montee en face arrriere (en option). Contactez votre revendeur pour tout renseignement complémentaire concernant cette option.
8: Prise DC - Cette prise permet le branchement de l'adaptateur secteur. ATTENTION: Veillez à ne jamais utiliser un autre adaptateur secteur que celui fourni par nos soins, au risque de causeur de graves dommages à l'appareil. Cette situation annulerait automatiquement toute forme de garantie.
9: Sortie asymétrique - Utilisez cette prise Jack 6.35 mm asymétrique haute impédance (5 kOhms) pour brancher le récepteur CRND sur une entree micro de votre console de mixage. Le Jack est branché comme suit : Extrémité = point chaud, Corps = masse/blindage.
Montage en rack du récepteur CRND
Comme indiqué sur l'illustration ci-dessous, vous pouvez installer un, voire deux récepteurs CRND dans un rack 19 pouces 1 U grâce à l'adaptateur optionnel disponible chez votre revendeur.



Parcours Guidé - CT4L/ CT4G Emetteur de ceinture

1: Commutateur Mute on-off - Sur la position "Off", le signal audio est retransmis. Sur la position "On" le signal audio est interrompu. La qualite avancée du circuit du système Concert IV assure qu'aucun bruit ne sera entendu à la commutation. Notez que la commutation du signal ne signifie pas que le CT4L/CT4G n'est plus alimentete - cela est simplement un moyen d'interrompre temporairement la transmission du signal audio. Si vous songez a ne pas utiliser le CT4L/CT4G pour une longue période, utilisez le commutateur d'alimentation (power on-off, cf: #3 ci-dessous).
2: Témoin de pile - Cette LED est une indication de l' état de votre pile. A la mise en marche du CT4L/ CT4G cette LED va s'allumer pendant environ 2/10 de seconde (si votre pile le permets), et puis s' éteindre. Quand la puissance de la pile est faible, cette LED restera allumée pour vous indiquer que la pile doit être changée.
3: Commutateur d'Alimentation - Power on-off - Utiliser ce commutateur pourmettre en marche ou eteindre le CT4L/CT4G (assurez you de le laisser sur "off" quand you ne l'utilise pas afin de ne pas user la pile).
ATTENTION: Afin d'eviter un "pop", pensez a interrompre le signal audio à la table de mixage ou l'amplificateur avant d'eteindre le CT4L/CT4G.
4: Connecteur d'entrée - C'est ici que vous connectez le signal d'entrée. Le CT4L est disponible avec soit un micro lavallière ou un ensemble micro-casque (connecté à une mini prise XLR Switchcraft, comme montré dans l'illustration ci-dessus), alors que le CT4G est pourvu d'un cordon jack 1/4" rattaché en permanence.

5: Accès Pile - Acceder le compartment de la pile doit être effectué avec soin; reféréz vous à la section "Installation et Utilisation du système Concert IV" à la page 14 de ce manuel pour plus d'information.
6: Compartiment de la Pile - Insérez une pile alcaline standard 9 volts en vous assurant de respecter les polarités positives et négatives comme indiqué par les repères. Nous recommendons le modele Duracell MN 1604. Bien que les piles Ni-Cad rechargeables puissant être utilisées, elles ne peuvent délivrer un courant ajustat pendant plus de quatre heures. ATTENTION: Ne pas insérez la pile à l'envers; cela peut provoquer de graves dommages au CT4L/ CT4G et annulerait votre garantie.
7: Tournevis plastique - Spécialement concu pour régler les niveaux des émetteurs CT4L et CT4G (voir le paragraphe no. 8) et/ou le niveau de Squelch du récepteur (consultez les pages 10, 11 et 14 de ce manuel).
8: Contrôle de Gain Audio (trimpot) - Ce contrôle de gain d'entrée a été pré-reglé en usine de manière à assurer un niveau optimum en fonction du modele particulier de lavallière ou ensemble micro-casque utilisé (le CT4G ayant été pré-reglé pour un niveau d'instrument optimum), aussi nous vous recommendons d'eviter de le modifier manuellement. Malgré tout, si nécessaire, vous pourrez utiliser le tournevis plastique fourni pour augmenter ou réduire le niveau de gain du CT4L/CT4G. Voir page 14 de ce manuel pour plus d'information.

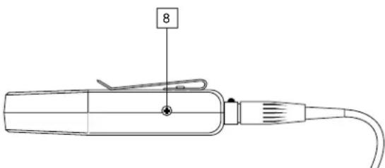
Parcours Guidé - Micro - émetteur à main HT4


1: Commutateur Audio on-off - Sur la position "On", le signal audio est retransmis. Sur la position "Off" le signal audio est interrompu. La qualité avancée du circuit du système Concert IV assure qu'aucun bruit ne sera entendu à la commutation. Notez que la commutation du signal ne signifie pas que le HT4 n'est plus alimenté - cela est simplement un moyen d'interr compromise temporairement la transmission du signal audio. Si vous songez à ne pas utiliser le HT4 pour une longue période, utilisez le commutateur d'alimentation (power on-off, cf: #3 ci-dessous).
2: Temoin de pile - Cette LED est une indication de l'etat de votre pile. A la mise en marche du HT4 cette LED va s'allumer pendant environ 2/10 de seconde (si votre pile le permets), et puis s'eteindre. Quand la puissance de la pile est faible, cette LED restera allumée pour vous indiquer que la pile doit être changée.
3: Commutateur d'Alimentation - Power on-off - Utilisez ce commutateur pourmettre en marche ou eteindre le HT4 (assurez vous de le laisser sur "Off" quand vous ne l'utilise pas afin de ne pas user la pile). ATTENTION: Afin d'eviter un "pop", pensez a interrompre le signal audio à la table de mixage ou l'amplificateur avant d'eteindre le HT4.
4: Contrôle de gain - Déterminé le niveau de sortie du HT4. Utilisez le tournevis plastique fourni pour régler le niveau de gain optimum du microphone. Voir "Installation et Utilisation du système Concert IV" à la page 14 de ce manuel pour plus d'information.
5: Compartiment de la Pile - Insérez une pile alcaline standard 9 volts en vous assurant de respecter les polarités positives et négatives comme indiqué par les repères. Nous recommendons le modele Duracell MN 1604. Bien que les piles Ni-Cad rechargeables puisent être utilisées, elles ne peuvent délivrer un courant ajustat pendant plus de deux heures. ATTENTION : Ne pas insérez la pile a l'envers; cela peut provoquer de graves dommages au HT4 et annulerait votre garantie.
Installation et Utilisation du système Concert IV
La procédure de base pourmettre en place etutiliservoire systèmeConcert IV ne prends en fait que quelques minutes:
- Afin que le système Concert IV fonctionne correctement, le recepteur et l'émetteur doivent être accordés sur le même canal. Retirez les éléments de leur embalige (veiliez à les conserver en cas de maintenance) et vérifie que l'émetteur et le recepteur utilisent le même canal H.F. (indiqué en façade du CR4 et du CRND, sur la pince du CT4L et CT4G et sur la partie interieure du HT4). Si ces canaux ne sont pas identiques contacter le service technique de Samson au 1-800-372-6766.
- Montez l'antenne fournie sur le récepteur (le CR4 possede deux antennes, le CRND une seule) en insérant la prise M dans l'embase et en vissant la bague extérieure jusqu'àu serrage. Commencez par placer au moins une des antennes en position verticale : cette configuration devrait suffire dans la majorité des cas. Insérez la clé Allen, fournie, dans chaque antenné et tourner dans le sens des aiguilles d'une montre pour verrouiller en position.
- Assurez you que le commutateur d'alimentation de I' émetteur CT4L/CT4G ou de I' émetteur HT4 est sur la position "Off".
- Si vous utilisez un émetteur CT4L/ CT4G, localiser la flèche "Open" à l'arrête de l'accès pile et appuyer en poussant vers l'avant (dans le sens opposé à l'attache ceinture), ensuite soulevez. L'accès de la pile est sur charnière et n'est pas supposé être détaché du boîtier de l'émetteur. Faites attention en ouvrant car trop de force casserait la charnière. Si vous utilisez un émetteur HT4, désvissez la base du microphone en tournant dans le sens contraire des aiguilles d'une montre et faites la glisser pour l'enlever.
- Placez une pile alcaline 9 volt neue dans le compartment de l'émetteur en vous assurant de respecter les polarités comme indiqué. Si vous utilisez un émetteur CT4L/ CT4G, replacez l'ouverture du compartment de manière à ce qu'elle soit parallèle à la face arrière et poussez doucement vers le haut en direction de l'attache ceinture. Quelque soit l'émetteur que vous utilisez attendez quelques instants avant de le metre en marche.
- Utilisez un cable audio pour raccorder la sortie du récepteur (dans le cas du CR4, vous pouvez utiliser indifféremment une ou les deux prises symétrique ou asymétrique) et l'entree micro de votre console. Si vous utilisez un récepteur CR4 avec un matériel travaillant à niveau professionnel (-30 dBm), nous给您illons d'utiliser la prise symétrique qui fournira un signal de toute valeur qualite. N'allumez pas l'amplificateur (et/ou mixeur) pour le moment.
- Tournez le bouton de volume au minimum (position "0"). Branchez l'adaptateur secteur dans la prise DC input située en face arrière puis branchez l'adaptateur dans votre prise secteur. Dans le cas du CR4, appuyez sur l'interrupteur de façade pourmettre l'appareil sous tension.
Notez que trois différents types de prises sont disponibles avec l'alimentation du Samson CR4 afin d'en permettre I'utilisation aux Etats Unis, Royaume Uni et autres pays européens.

Installation et Utilisation du système Concert IV
-
Allumez l'émetteur CT4L/ CT4G ou HT4 (utilisant le commutateur d'alimentation); le témoin de pile devrait s'allumer brievement si la pile est bonne. Si vous utilisez un émetteur HT4, replacez la section de base du microphone en la faisant glisser en place puis la revissantant. Une fois l'émetteur sous tension, la Led "TX ON" (cas du CRND) ou les Leds "A" ou "B" (cas du CR4) doivent s'allumer (pour indiquer l'antenna receivevant le signal le plus puissant).
-
Ajustons Maintenant les niveaux audio. Allumez l'amplificateur connecté et/ou le mixeur mais garder le volume au plus bas. Ensuite, assurez vous que le signal audio de I'emetteur n'est pas interrompu, de la manière suivante:
-
Si vous utilisez un émetteur CT4L ou CT4G, mettez le commutateur "Mute" sur la position "Off."
- Si vous utilisez un micro - émetteur HT4, mettez le commutateur "Audio" sur la position "On."
SI VOTRE SYSTEME EST EQUIRE D'UN RECEPTEUR CR4, SUIVEZ LES INSTRUCTIONS SUIVANTES: Si vous utilisez l'émetteur HT4 (ou si vous utilisez l'émetteur CT4L connecté à un micro lavallière ou un ensemble micro-casque), chantez ou parlez dans le micro à un niveau normal de performance tout en observant l'indicateur de niveau sur la face avant du CR4. Si vous utilisez l'émetteur CT4G avec un instrument, jouez cet instrument à un niveau normal de performance tout en observant l'indicateur de niveau sur la face avant du CR4. Si le segment 100% s'allume régulierement avec de rares excursions au niveau supérieur, le niveau est correct. Si cela n'est pas le cas, utiliser le tournevis plastique afin de doucement ajuster le contrôle de niveau du HT4, CT4L ou CT4G jusqu'à ce que le segment 100% s'allume régulierement (avec de rares excursions au niveau supérieur). Montez progressivement le volume du CR4 en position 2 heures (gain unitaire), puis règlez le volume de votre amplificateur/console jusqu'à obtenir le niveau souhaïte.
SI VOTRE SYSTEME EST EQUIP E D'UN RECEPTEUR CRND, SUIVEZ LES INSTRUCTIONS SUIVANTES: Commencez par regler votre amplificateur/console à bas volume. Si vous utilisez un émetteur HT4 (ou un émetteur CT4L équipé d'un micro Lavalier cu d'un micro serre-tête), parlez ou chantez dans le micro au volume qui sera utilisé pendant le spectacle et montez progressivement le volume en façade du CRND en position 2 heures (gain unitaire). Si vous utilisez l'émetteur CT4G branché sur un instrument de musique, jouez au volume que vous utilisé pendant le spectacle et montez progressivement le volume en façade du CRND en position 2 heures (gain unitaire). Ajustez enfin le volume de votre amplificateur/console en fonction de vos besoins.
LE PARAGRAPHE SUIVANT S'APPLIQUE A TOUS LES SYSTEMES SANS FIL CONCERT IV : Si vous

utilissez un émetteur de poche CT4L équipé d'un micro lavallière, notez qu'un placement correct du micro est essentiel à la qualité sonore. Nous vous recommandons de le placer comme suggéré dans l'illustration ci-contre - aussi presque possible de la bouche mais positionné sur le côte (afin d' éviter un son trop nasillard) sans être obstrué par le vétement. Gardez en tête que les micros omni (à savoir les micros qui réceptionne le signal venant de toutes les directions) seront plus sensibles a un effet Larsen que ceux qui sont uni-directionnels (cardioides ou super cardioides); en général vous pouvez éviter l'effet Larsen ennant garde de ne pas placer le micro directement en face d'un haut-parleur (si cela ne peut être éviter, utiliser un égaliseur pour vous débarrasser de ces haute et moyennes fréquences responsable du Larsen).
-
Si vous décelez un signal distordu lors de l'écoute (ou si l'afficheur de niveau du signal audio du CR4 indique liéquement 125% ), vérifie que les réglages de gain de votre chaine sonore sont bien configurés (consultez le manuel de votre console de mixage et/ou de votre amplificateur pour obtenir de plus amples details). Si la distorsion persististe, agissez comme suit:
-
Si vous utilisez un émetteur HT4, utilisez le tournevis plastique pour ajuster le contrôle de gain en tournant doucement dans le sens contraire des aiguilles d'une montre (vers la position "Min") jusqu'à ce que la distorsion disparaisse.
Installation et Utilisation du système Concert IV
- Si vous utilisez un émetteur CT4L connecté à un micro lavallière ou un ensemble micro-casque, le contrôle de gain a été pré-reglé à l'usine pour fournir un niveau optimum pour un modele particulier de micro lavallière ou d'ensemble micro-casque utilisé, aussiaucun ajustement ne devrait être nécessaire. Toute distorsion devrait, en conséquence, n'estre du qu'au micro étant trop pres de la bouche; essayez de I'éloigner. Si cela ne regle pas le problème, utilisez le tournevis plastique pour ajuster le contrôle de gain (trimpot) sur le CT4L en tournant doucement dans le sens contraire des aiguilles d'une montre (vers la position "Min") jusqu'à ce que la distorsion disparaisse.
- Si vous utilisez un émetteur CT4G avec un instrument tel que guitare ou BASSE, baissez le niveau de sortie de l'instrument jusqu'à ce que la distorsion disparaisse. Sinon, utilisez le tournevis plastique pour ajuster le contrôle de gain (trimpot) sur le CT4G en tournant doucement dans le sens contraire des aiguilles d'une montre jusqu'à ce que la distorsion disparaisse.
Notez que en suivant cette procEDURE de mise en oeuvre, vous avez toujours la possibilité de diminuer le volume du CR4 ou du CRND afin d'atténuer le niveau du signal de sortie.
- A l'inverse, si vous entendez un signal faible noyé dans le souffle ou dans le bruit de fond (ou si le niveau du signal audio du CR4 n'indique jamais 100%), vérifie également que les réglages de gain de votre chaine sonore sont bien configurés. Dans l'affirmative, et si le signal du récepteur reste faible et noyé, faites comme suit:
- Si vous utilisez un émetteur HT4, utilisez le tournevis plastique pour ajuster le contrôle de gain en tournant doucement dans le sens des aiguilles d'une montre (vers la position "Max") jusqu'à ce que le signal attigne un niveau acceptable.
- Si vous utilisez un émetteur CT4L connecté à un micro lavallière ou un ensemble micro-casque, le contrôle de gain a été pré-reglé à l'usine pour fournir un niveau optimum pour un modele particulier de micro lavallière ou d'ensemble micro-casque utilisé aussiaucenajustement ne dévrait être nécessaire. Toute faiblesse de signal devrait en conséquence n'estre du qu'a la distance micro/bouche; essayez de rapprocher le micro. Si cela ne regle pas le problème,utilisez le tournevis plastique pour ajuster le contrôle de gain (trimpot) sur le CT4L en tournant doucement dans le sens des aiguilles d'une montre jusqu'à ce que le signal attaigne un niveau acceptable.
- Si vous utilisez un émetteur CT4G avec un instrument tel qu'une guitare ou uneasse, augmentez le niveau de sortie de l'instrument jusqu' à obtention d'un signal correct. Sinon, utilisez le tournevis plastique pour ajuster le contrôle de gain (trimpot) sur le CT4G en tournant doucement dans le sens des aiguilles d'une montre jusqu' à ce que le signal attaigne un niveau acceptable.
Notez que en suivant cette procEDURE de mise en œuvre, vous avez toujours la possibilité d'augmenter le volume du CR4 ou du CRND afin de remonter le niveau du signal de sortie.
- Baissez temporairement votre amplificateur/console au minimum, placez l'émetteur (CT4L, CT4G ou HT4) hors tension. Seul le récepteur est sous-tension. Remettez le volume de votre système d'amplification ou vous l'aviez ajusté précédement. L'émetteur étant hors circuit, la sortie audio du récepteur doit être totalement silencieuse - si c'est le cas, passez au paragraphe suivant. Si vous entendez du bruit, réglez le seuil de Squelch en façade des récepteurs CR4 ou CRND. Quand le statut du contrôle de Squelch est minimum, le système Concert IV permets un champ maximal sans perte de signal; néanmoins, dépendant du milieu particulier dans lequel vous utilisez votre système, vous aurez peut être besoin de réduire ce champ afin d'éliminer tout bruit de bande quand l'émetteur est étant. Pour ce faire, utiliser le tournevis à disposition afin de runner à fond le contrôle de Squelch dans le sens contraire des aiguilles d'une montre, revenez lentement dans le sens des aiguilles d'une montre jusqu'à ce que le bruit de fond disparaisse. S'il n'y a aucun bruit de fond, à aucune position, laissez le sur la position "Min" en vue d'obtenir un champ d'action maximal.
Installation et Utilisation du système Concert IV
- Lorsque vous installez votre système Concert IV dans un nouvel environnement pour la première fois, il est conseilé de faire un tour du lieu afin de s'assurer que la transmission est correcte en tout point de l'aire de performance. Tout en maintainant le volume de votre amplificateur/console au minimum, placez à nouveau les émetteurs CT4L, CT4G ou HT4 sous tension ainsi que les récepteurs CR4 ou CRND. Ensuite, l'émetteur étant actif, après avoir remis le volume de votre système d'amplification, couvrez la totalité de l'aire de performance tout en parlant, chantant ou jouant de votre instrument. Dans le cas d'un récepteur CR4, notez que l'une ou l'autre des Leds "A" ou "B" situées en façade doit s'allumer, indiquant qu'elle antenna reçoit le signal le plus puissant. La règle de base pour tout système UHF est de minimiser la distance émetteur / récepteur et aussi d'essayer demaintirir une "ligne de visée" entre les deux (à savoir, la personne utilisant l'émetteur devrait être capable de voir les antennes du récepteur). L'idée est de s'assurer que le signal le plus fort est reçu de tous les points de transmission prévus. En installation fixe (applications audio/video, saile de conference, ou toute autre application longue portée ou l'émetteur et le récepteur sont éloignés de plus de 45 metres), il peut être préféable d'incliner les antennes différément de la position horizontale habituelle (utilisez la clef 8-pans fournie pour desserrer et resserrer la fixation), de les monter sur la face arrière du récepteur (à condition d'utiliser les prolongateurs d'axe et le kit de montage optionnel disponibles chez vos revendeur habitual), voire de déporter les antennes vers un point différent. Cette extension est possible si l'on utilise des connecteurs standard M-J et du cable coaxial à faible capacité (50 ohm ou moins) conseilé pour une bande de fréquence d'un maximum de 1 gigaHertz. Plus la capacité du cable est faible, plus vous pouvez rallonger les antennes.
Si vous avez encore des difficultés, appelez le Service Technique de Samson.
NOTE: Le système Concert IV a été concu pour remplacer le cable dans un système de micros câblés, provoquant un gain d'un rapport de 1:1.5. Par conséquent, utilisez les entrées micro basse impédance de votre console, si elle en est poursvue, plutôt que les entrées lignes haute impédance. Pour la même raison, voirlez à ne pas brancher directement la sortie du récepteur en entrée d'un processeur d'effets (niveau ligne). Pour appliquer des effets au signal issu du récepteur, utilisez les points d'insertion de la console.
Einleitung
Installation et Utilisation du système Concert IV
Installation et Utilisation du système Concert IV
Installation et Utilisation du système Concert IV
Câblage du connecteur CT4L: Dévissez le cache plastique 1 et passes le cable à travers 1 et 2. Soudez le cable à 3 après avoir 0té 4 (voir table ci-dessus). Reinserez 3 dans 4 le cable étant rattaché (suivre repères). Reconnectez 2 à 3 (suivre repères) et verrouillez le cable. Revissez le cache 1 à 4.
Receiver / Récepteur / Empfänger / Receptor (CR4 and CRND):
Receiving System
CR4
CRND
Frequency Range
Receiving Mode
Sensitivity
Selectivity
Squelch Sensitivity
IF
Notice Facile