AYT600 - Grille pain BESTRON - Notice d'utilisation et mode d'emploi gratuit
Retrouvez gratuitement la notice de l'appareil AYT600 BESTRON au format PDF.
| Caractéristiques | Détails |
|---|---|
| Type de produit | Grille-pain |
| Puissance | 800 W |
| Nombre de fentes | 2 fentes |
| Fonctionnalités | Réglage de la température, fonction décongélation, fonction réchauffage |
| Matériau | Acier inoxydable |
| Dimensions | 25 x 15 x 18 cm |
| Poids | 1,2 kg |
| Utilisation | Idéal pour griller du pain, bagels et autres produits de boulangerie |
| Maintenance | Nettoyage régulier de la fente à miettes, ne pas immerger dans l'eau |
| Sécurité | Protection contre la surchauffe, pieds antidérapants |
| Informations supplémentaires | Garantie de 2 ans, manuel d'utilisation inclus |
FOIRE AUX QUESTIONS - AYT600 BESTRON
Questions des utilisateurs sur AYT600 BESTRON
0 question sur cet appareil. Repondez a celles que vous connaissez ou posez la votre.
Poser une nouvelle question sur cet appareil
Téléchargez la notice de votre Grille pain au format PDF gratuitement ! Retrouvez votre notice AYT600 - BESTRON et reprennez votre appareil électronique en main. Sur cette page sont publiés tous les documents nécessaires à l'utilisation de votre appareil AYT600 de la marque BESTRON.
MODE D'EMPLOI AYT600 BESTRON
Mode d'emploi grille-pain
Nous vous félicitons pour votre achat!
Consignes de sécurité - généralités
- Lisez soigneusement le mode d'emploi et conservez-le précieusement.
- Utilisez cet appareil uniquement suivant les instructions décrites dans le mode d'emploi.
- Cet appareil ne peut être utilisé par des enfants ou des personnes avec des capacités physiques, mentales ou sensorielles limitées, manquant d'expérience ou de connaissance; à moins qu'elles n'aient eu des instructions et ne soient encadrées par des personnes responsables de leur sécurité.
- Cet appareil n'est pas un jouet. En présence d'enfants, il est important de s'assurer qu'ils ne jouent pas avec l'appareil.
- Faites effectuer les réparations par un technicien qualifié. Ne tentez jamais de réparer vous-même l'appareil.
Consignes de sécurité - électricité et chaleur
- Avant d'utiliser cet appareil, assurez-vous que la tension du réseau correspond à la tension du réseau indiquée sur la plaquette type de l'appareil. Assurez-vous que la prise sur laquelle vous branchez l'appareil est raccordée à la terre.
- Débranche toujours l'appareil lorsque vous ne l'utilisez pas. Lorsque vous débranchez la fiche, saisissez la fiche elle-même ; ne tirez pas sur le cordon.
- Vérifiez régulièrement que le cordon de l'appareil est intact. N'utilisez pas l'appareil si vous constatez que le cordon est endommagé. Faites remplacer le cordon endommagé par un service technique qualifié. Si vous utilisez une rallonge, assurez-vous qu'elle est complètement déroulée. Utilisez uniquement une rallonge agréée. Certaines parties de l'appareil peuvent s'échauffer fortement. Évitez de les toucher pour ne pas vous brûler. Pour éviter tout risque d'incendie, l'appareil doit pouvoir évacuer la chaleur produite. Laissez donc suffisamment d'espace autour de l'appareil et évitez tout contact avec des matériaux inflammables. L'appareil ne doit jamais être recouvert. Les prises d'air doivent toujours être dégagées.
- N'utilisez pas l'appareil à proximité de matières inflammables. Assurez-vous que ni l'appareil, ni le cordon n'entrent en contact avec une source de chaleur telle qu'une plaque électrique chaude ou une flamme. Assurez-vous que ni l'appareil, ni le cordon, ni la fiche n'entrent en contact avec de l'eau.

Certaines parties de cet appareil peuvent s'échauffer fortement. Ne les touchez pas pour ne pas vous brûler.
Consignes de sécurité - pendant l'utilisation
N'utilisez jamais l'appareil à l'extérieur. - Installez l'appareil sur une surface plane et stable, à un endroit où il ne risque pas de tomber. - Ne laissez pas le cordon PENDRE par-dessus le bord du plan de travail ou de la table. Assurez-vous que vos mains sont sèches avant de toucher l'appareil, le cordon ou la fiche. N'utilisez jamais l'appareil dans une pièce humide. - Éteignez l'appareil et débranchez la fiche en cas de problème durant l'utilisation, pour le nettoyage, et dès que vous avez fini de l'utiliser. Si l'appareil est tombé à l'eau, ne le rattrapez pas. Débranchez immédiatement la fiche. Cessez d'utiliser l'appareil. - Nettoyez soigneusement l'appareil après l'utilisation (voir 'Nettoyage et entretien'). N'immergez jamais l'appareil, le cordon ni la fiche dans l'eau ou tout autre liquide. - Les tranches de pain doivent être assez minces pour ne pas se coincer dans le grille-pain. Si vous faites griller le pain trop longtemps, il peut prendre feu. La ventilation doit toujours être suffisante - Cet appareil ne doit pas être utilisé avec un timer extérieur ou une télécommande.
Fonctionnement - généralités
Cet appareil est destiné uniquement à l'utilisation domestique, et non à l'usage professionnel.
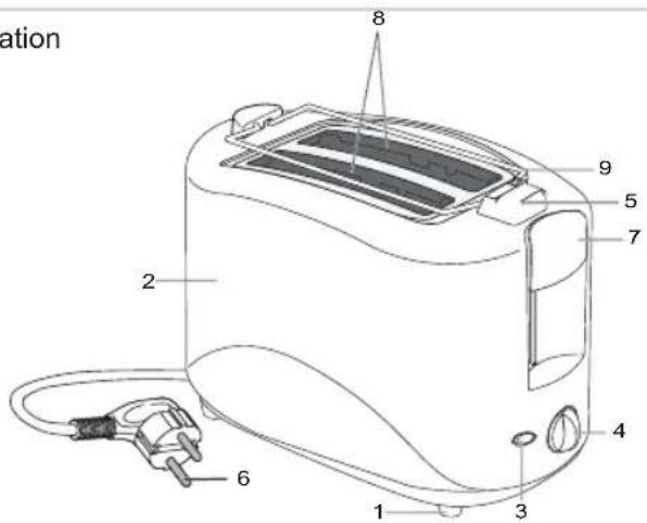
- Tiroir à miettes
- Exterieur
- Bouton d'arrêt
- Bouton de réglage de la température
- Bouton de support réchauffant
- Cordon et fiche
- Levier
- Grilles à pain
- Support réchauffant Figure 1

Avant la première utilisation
Faites d'abord fonctionner toute grille-pain plusieurs fois à la température maximale (position 5) et sans pain. Vous nettoyez ainsi les derniers restes du processus de fabrication. Une légère fumée peut se développer.
Utilisation
- Installe l'appareil sur une surface plane et stable.
- Branchez la fiche.
Utilisation - griller du pain
- Réglez la température et la durée au moyen du bouton de réglage de la température. (4) a. La position inférieure (1) commande la température la plus BASSE et la durée la plus brève. b. La position supérieure (5) commande la température la plus élevée et la durée la plus longue. c. En cas de doute, commencez par une position inférieure. d. Vous grillerez le pain rassis à une température plus BASSE que le pain frais. e. Vous grillerez le pain brun à une température plus élevée que le pain blanc.
- Mettez une seule tranche de pain sur chacune des grilles du grille-pain. (8)
- Enlevez les grilles au moyen du levier (6) jusqu'à ce que celui-ci se verrouille. L'appareil commence à griller, et quand il a fini, s'éteint automatiquement. Les grilles se relèvent alors automatiquement.
- Sortez le pain grillé du grille-pain.

Si la température est trop élevée, le pain dégagera de la fumée. Dans ce cas, appuyez sur le bouton d'arrêt (3) pour interrompre le fonctionnement du grille-pain.
Si une tranche de pain reste coincée dans le grille-pain, débranchez la prise (6) et laissez le grille-pain se refroidir. Sortez ensuite le pain grillé du grille-pain, avec précaution.
Utilisation - réchauffage de petits pains ou de baguette
- Posez les petits pains ou la baguette sur le toit réchauffeur. (9)
- Procédez comme pour griller du pain, mais sans mettre de tranches de pain sur les grilles.
Nettoyage et entretien
- Débranchez la fiche et laissez refroidir l'appareil.
- Retirez le tiroir à miettes (1) de l'appareil (voir la figure 3) et videz les miettes.
- Nettoyez l'extérieur (2) de l'appareil avec un chiffon humide et essuyez-le avec un chiffon sec. Ne laissez pas l'humidité pénétrer à l'intérieur de l'appareil.
- Remettez le tiroir à miettes à sa place.


N'immergez jamais l'appareil, le cordon ni la fiche dans l'eau. Ne mettez jamais l'appareil au lave-vaisselle.
N'utilisez pas de détergents agressifs ou décapants ni d'objets tranchants (tels que couteaux ou brosses dures) pour le nettoyage.
Données techniques
Type: AYT600
Puissance: 750 W
Tension réseau : 220-240 V ~ 50/60 Hz

- Jetez le matériel d'emballage, tel que le plastique et les boîtes, dans les conteneurs prévus à cet effet.
Lorsque l'appareil est usé, ne le mettez pas aux ordures ménagères, mais portez-le dans un centre de collecte agréé pour les appareils électriques et électroniques. Attention au symbole figurant sur le produit, le mode d'emploi ou l'emballage.
- Les matériaux peuvent être recyclés selon les indications. Votre collaboration au recyclage des appareils et/ou au retraitement des matériaux, sous quelle forme que ce soit, est une contribution précieuse à la sauvegarde de notre environnement.
- Les autorités de votre commune vous renseigneront sur le centre de collecte le plus proche.
À compter de la date d'achat de cet appareil, l'importateur donne, aux conditions suivantes, 60 mois de garantie couvrant tous les défauts consécutifs à des défauts de pièce et main d'oeuvre.
- Pendant la période de garantie, aucun frais ne sera facturé pour les pièces et la main d'oeuvre. Les réparations effectuées sous garantie ne prolongent pas le délai de garantie.
- En cas d'échange, les pièces défectueuses ou les appareils défectueux deviennent automatiquement la propriété de l'importateur.
- Toute demande de garantie doit être assortie de la preuve d'achat de l'entreprise.
- Toute demande de garantie doit être faite après du revendeur ou l'appareil a été acheté ou après de l'importateur.
- La garantie est uniquement valable pour le premier acheteur et ne peut être transférée.
- La garantie ne couvre pas les dommages causés par:
a. les accidents, l'utilisation impropre, l'usure et / ou la négligence ; b. l'installation incorpore et / ou une utilisation contraire aux normes de sécurité, aux normes techniques ou aux dispositions légales en vigueur ; c. le branchement sur un réseau d'une tension autre que celle figurant sur la plaquette type ; d. toute modification non autorisée ; e. toute réparation effectuée par des tiers ;
f. le transport sans précautions suffisantes, telles que la protection et l'emballage appropriés.
- Les présentes conditions de garantie ne peuvent pas être invoquées dans les cas suivants:
a. pertes survenues pendant le transport ; b. effacement ou modification du numéro de série de l'appareil.
- Les cordons, ampoules et pièces en verre ne sont pas couverts par la garantie.
- La garantie ne donne aucun droit d'indemnisation pour des dommages eventuels, autres que le remplacement ou la réparation de pièces défectueuses. L'importateur ne peut être tenu responsable d'aucun dommage indirect, ni d'aucune conséquence quelle qu'elle soit, causée par ou ayant un quelconque rapport avec l'appareil qu'il a fourni.
- Pour pouvoir faire appel à la garantie, vous pouvez vous adresser à votre revendeur. Bestron offre aussi la possibilité de faire réparer l'appareil directement par le service après-vente de Bestron. Toutefois, ne jouez jamais rien sans avoir reçu d'instructions au préalable. Le colis pourrait en effet être refusé et les frais éventuels seraient à votre charge. Prenez contact avec le service après-vente qui vous expliquera comment vous devez emballer et expédier l'appareil.
- L'appareil n'est pas destiné à l'usage professionnel.
Maintenance
Si, par malheur, une panne se produisait, veuillez contacter le service de maintenance de BESTRON:
New ETP BVBA Si le produit ne fonctionne pas comme
BESTRON SERVICE Il faut, contactez le distributeur ou un
Passtraat 121 centre de service autorisé.
V-9100 St. Niklaas
Tel.: 03-7768998
Télécopie: 03-7772611
Email: info@newetp.be
Internet: www.newetp.be
Declaration de conformite ce
Le présent produit correspond aux dispositions des directives européennes suivantes en matière de sécurité.
Directive EMC 2004/108/EC - Directive sur la tension 2006/95/EC
R. Neyman Contrôle de la qualité
Notice Facile