AYT600 - Broodrooster BESTRON - Gratis gebruiksaanwijzing en handleiding
Vind de handleiding van het apparaat gratis AYT600 BESTRON in PDF-formaat.
Gebruikersvragen over AYT600 BESTRON
0 vraag over dit apparaat. Beantwoord die u kent of stel uw eigen vraag.
Stel een nieuwe vraag over dit apparaat
Download de handleiding voor uw Broodrooster in PDF-formaat gratis! Vind uw handleiding AYT600 - BESTRON en neem uw elektronisch apparaat weer in handen. Op deze pagina staan alle documenten die nodig zijn voor het gebruik van uw apparaat. AYT600 van het merk BESTRON.
GEBRUIKSAANWIJZING AYT600 BESTRON
Gebruikershandleiding broodrooster
Deutsch
Gefeliciteerd met de aankoop van uw toaster.
VEILIGHEIDSVOORSCHRIFTEN - Algemeen
Lees de gebruiksaanwijzing goed door en bewaar deze zorgvuldig.
- Gebruik dit apparaat alleen zoals beschreiben in deze gebruiksaaanwijzing.
- Dit apparaat mag nicht gebrukt worden door kinderen en personen die door een lichamelijke, zintuiglijke of geestelijk beperking, of gebrek aan ervaring en kennis het apparaat Niet veilig hunnen gebruiken, tenzij ze instructies hebben gehad over het gebruik van het apparaat door een persoon die verantwoordelijk is voor hun veiligheid.
- Kinderen要去 in de gaten gehonden worden om er zeker van te zich dat ze Niet met het apparaat spelen.
- Laat reparations uityoeren door een gekwalificeerde monteur. Probeer nooit het apparaat te repareren.
VEILIGHEIDSVOORSCHRIFTEN - Elektriciteit en warmte
- Controller of de netspanning overeenkomt met de aangegeven netspanning op het typeplaatje van het apparatusaat, voordat u het apparatusaat gebruikt.
- Controller of de contactdoos waarup het apparaat aansluit geaard is.
Haal altiid de stekker uit het stopcontact wanner u het apparaat Niet gebruikt. - Als u de stekker uit het stopcontact neemt, trek dan aan de stekker zich, Niet aan het snoer.
- Controller regelmatig of het snoer van het apparaat nog intact is. Gebruik het apparaat Niet als het snoer beschadigingen vertoont. Laat een beschadigd snoer verrangen door een gekwalificeerde servicedienst.
Zorg er bij gebruik van een verlengsnoer voor dat dit volledig worden uitgerold. - Gebruik uitsluitend een goedgekeurd verlengsnoer.
- Bepaalde delen van het apparaat hunnen heet worden. Raak deze Niet aan om te voorkomen dat u zich verbrandt.
- Het apparaat要去 warmte kwijt hunen om brandgevaar te voorkomen. Zorg er dus voor dat het apparaat voldoende vrij is en Niet in contact kan komen met brandhaar materiaal. Het apparaat mag nicht worden bedekt. Zorgervoordat de luchtopeningen vrijন.
- Gebruik het apparaat Niet in de buurt van ontvlambare materialen.
Zorg ervoor dat het apparaat en het snoer Niet in aanraking komen met hittebronnen, zoals een hete ookplaat of open vuur.
Zorg ervoor dat het apparaat, het snoer en de stekker Niet in aanraking komen met water.

alde delen van het apparaat hunnen heet worden.
deze Niet aan om te voorkomen dat u zich verbrandt.
VEILIGHEIDSVOORSCHRIFTEN - Gebruik
- Gebruik het apparaat nooit buitenshuis.
- Plaats het apparaat op een stabiele en vlakke ondergrond, op een plaats waar hij nicht kan vallen.
- Laat het snoer Niet over de rand van het aanrecht, werkblad of een tafel hangen.
Zorg ervoor dat uw handen droog zich als u het apparaat, het snoer of de stekker aanraakt. - Gebruik het apparaat nooit in vochtige ruimten
Schakel het apparaat uit en verwijder de stekker uit het stopcontact als uijdens het gebruik storingen ondvindt, het apparaat gaat reinigen of klaar bent met het gebruik. - Pak het apparaat Niet op wonneer het in het water is gevallen. Trek direct de stekker uit het stopcontact. Gebruik het apparaat Nieteer.
Maak het apparaat na gebruik grondig schoon (zie 'Reiniging en onderhoud').
Dompel het apparaat, het snoer en de stekker nooit onder in water of een andere vloeistof. - Het toestel mag Niet in werkung worden gesteld door middel van een externe tijschakelaar, of dooreen afzonderlijk system met afstandsbediening.
WERKING - Algemeen
Het apparaat is alleen bedoeld voor huishoudelijkde doeleinden, Niet voor professioneel gebruik.
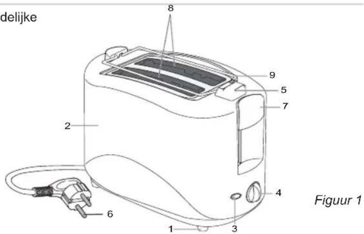
- Kruimellade
- Behuizing
- Stopknop
- Temperatuurregelknop
- Broodjesopzetknop
- Aansluitsnoor en stekker
- Hefboom
- Broodsledes
- Broodjesopzet

Figur 1
Laat de broodrooster eerst eenaar keer werken bij maximale temperatuur (stand 5) en zonder brood. Op deze manier worden de的那一 ste resten van het fabricageproces verwijderd. Er kan een lichte rook- en geurontwikkeling ontstaan.
GEBRUIK
- Zet het apparaat op een stabiele en vlakke ondergrund.
- Steek de stekker in het stopcontact.
GEBRUK - Brood roosteren
- Stel de temperatuur en de roostertijd in met de temperatuurregelknop. (4)
a. Bij de laagste stand (stand 1) is de temperatuur het laagst en de roostertijd het kortst.
b. Bij de hoogste stand (stand 5) is de temperatuur het hoogst en de roostertijd het langst.
c. Begin in twijfelgevalen altijd op een lage stand.
d. Oud brood moet u op een lagere stand roosteren dan vers brood.
e. Bruin brood moet u op een hogere stand roosteren dan wit brood. - Plaats een snede brood in elke broodslede (8) van de broodrooster.
- Druk de broodsledes omlaag met de hefboom (7) totdat deutsche vergrendelt. Het apparaat begint nu te roosteren en schakelt na het roosteren automatisch uit. De broodsledes komen dan automatisch omhoog.
- Verwijder het groosterde brood uit de broodrooster.

Is de temperatuur te hoog ingesteld, dan gaat het brood roken. Druk in dit geval op de stopknop(3) om het roosteren voortijdig te onderbreken.
- Blijft er brood in de broodrooster steken, trek dan de stekker (6)uit het stopcontact en LAST de broodrooster afkoelen. Verwijder verrolgens het brood voorzichtiguit de broodrooster.
GEBRUIK - Broodjes of stokbrood opwarmen
- Leg de broodjes of het stokbrood op de broodjesopzet.(9)
- Volg de procedure voor het roosteren van brood, zonder smeden brood in de broodsledes teplaatsen.
REINIGING EN ONDERHOUD
- Neem de stekker uit het stopcontact en LAST het apparaat afkoelen.
- Trek de kruimellade (1) uit het apparaat (zie figuur 3) en verwijder achtergebleven kruimels.
- Reinig de buitenkant (2) van het apparaat met een vochtige doek en veeg het na met een droge doek. Zorg ervoor dat er geen vocht binnenin het apparaat komt.
- Schuif de kruimellade wee terug in het apparaat.

Figur 3

Dompel het apparaat, de stekker en het snoer nooit onder in water. Zet het apparaat nooit in een afwasmachine.
- Gebruik geen agressieve of schurenchoonmaakmiddelen of scherpe voorwerpen (zoals messen of harde borstels) bij het reinigen.
TECHNISCHE GEGEVENS
Type: AYT600
Vermogen: 750 W
Netspanning: 220-240 V ~50/60 Hz
MILIEU

Werp verpakkingsmaterial zoals plastic en dozens in de waarvoort bestemde containers.
Dit product aan het eind van de gebruiksduur Niet inleven als normal haishoudelijkkafal, maar bij een inzamelpunt voor hergebruik van elektrische en elektronische apparatuur. Let op het symbool op het product, de gebruiksaanwijzing of de verpakking.
De materialen können hergebruikt worden zoals aangegeven. Door uw hulp bij hergebruik, de verwerking van de materialien of ander vormen van de benutting van oude apparatuur levert u een belangrijke bijdrage aan de bescherming van ons milieu.
- Informeer bij de gemeente maar het juiste inzamelpunt bij u in de buurt.
GARANTIEBEPALINGEN
De importeur geeft onder de volgende voorwaarden 60 maanden na aankoopdatum garantie op deze apparatuur gegen defecten die zijn ontstaan door fabricage- en/of materiaalfouten.
- In de genoemde garantieperiode zullen geen kosten worden berekend voor arbeidsloon en materiaal. De onder garantie uitgevoerde reparatie verlengt de garantietermijn Niet.
- Defecte onderdelen of bij remplace (omruiling) de defecte apparaten zelf, worden automatisch eigendom van de importeur.
- Elke aanspraak op garantie dient vergezeld te gaan van het aankoopbewijs van de firma.
- Aanspraken op garantie moeten worden gedaan bij de dealer waar het apparaat is gekocht of bij de importeur.
- De garantie is uitsluitend geldig voor de eerste koper en Niet overdraagbaar.
- De garantie is nicht geldig voor schade die is ontstaan door:
a. ongevallen, verkeerd gebruik, slijtage en/of verwaarlozing;
b. foulieve installmente en/of gebruik op een manier die in strijd is met de geldende wettelijkte, technische of veiligheidsnormen;
c. aansluiting op een andere netspanning dan die op het typeplaatje staat vermeld;
d. een ongeautoriseerde wijziging;
e. een reparatie die is uitgevoerd door derden;
f. een onzorgvuldige transportwijze zonder geschikte verpakking respectievelijk bescherming. - Op deze garantiebepalingen zal geen aanspraak gemaakt konnen worden bij:
a. verliezen die zichijdens het transport voordoen;
b. het verwijderen of wijzigen van het seriENUMmer van het apparaat. - Uitgezonderd van garantie+zijn snoeren, lampen en glazen onderdelen.
- De garantie geeft geen enkelrecht op vergoeding van eventuele schade, buiten de verranging respectievelijk reparatie van de defecte onderdelen. De importeur kan nooit aansprakelijk gesteld worden voor eventuele verwolgschade of enigerlei andere consequenties die door of in relatie met de door hem geleverde apparatuur zich ontstaan.
- Om aanssprak te make op garantie kunt u zich wenden tot uw winkelier. Bestron biedt ook de mogelijkheid om het apparaatrechtstreeks ter reparatie aan te bieden aan de Bestron Service Dienst. Stuur darüber nooit zomaar ie's op. Het pakket kan dan namelijk geweigerd worden en eventuele kosten zijn voor uw rekening. Neem contact op met de Service Dienst en zij zullen u vertellen hoe u het apparaat要去 inpakken en verzenden.
- Het apparaat is Niet voor professioneel gebruik geschikt.
SERVICE
Mocht zich onverhoopt een storing voordoen, dan kurz u zich in verbinding stellen met de BESTRON servicedienst:
NEDERLAND:
BESTRON NEDERLAND BV
BESTRON SERVICE
Moeskampweg 20
5222 AW's-Hertogenbosch
Tel: 073-623 11 21
Fax: 073-621 2396
Email: info@bestron.com
Internet: www.bestron.com
BELGIE:
NEW ETP BVBA
BESTRON SERVICE
Passstraat 121
B-9100 St. Niklaas
Tel: 03-7768998
Fax: 03-7772611
Email: info@newetp.be
Internet: www.newetp.be
CE-CONFORMITEITSVERKLARING
Dit product voldoet aan de bepalingen in de volgende Europese richtlijnen op het gebied van veiligheid:
EMC-richtlijn
2004/108/EC
Laagspanningsrichtlijn 2006/95/EC

SimpelGids