AYT600 - Toaster BESTRON - Kostenlose Bedienungsanleitung
Finden Sie kostenlos die Bedienungsanleitung des Geräts AYT600 BESTRON als PDF.
Benutzerfragen zu AYT600 BESTRON
0 Frage zu diesem Gerät. Beantworten Sie die, die Sie kennen, oder stellen Sie Ihre eigene.
Eine neue Frage zu diesem Gerät stellen
Laden Sie die Anleitung für Ihr Toaster kostenlos im PDF-Format! Finden Sie Ihr Handbuch AYT600 - BESTRON und nehmen Sie Ihr elektronisches Gerät wieder in die Hand. Auf dieser Seite sind alle Dokumente veröffentlicht, die für die Verwendung Ihres Geräts notwendig sind. AYT600 von der Marke BESTRON.
BEDIENUNGSANLEITUNG AYT600 BESTRON
Gebrauchsanweisung Toaster
Français
VOOR HET EERSTE GEBRUIK
Wir gratulieren Ihnen zum Kauf theses Toasters.
SICHERHEITSBESTIMMUNGEN - Allgemein
- Lesen Sie die Bedienungsanleitung gut durch und bewahren. Sie diese sorgfältig auf.
- Verwenden Sie these Gerät nur so wie in dieser Bedienungsanleitung beschrieben.
- Kinder oder Personen, denen es an Wissen oder Erfahrung im Umgang mit dem Gerät mangelt, oder die in ihren körperlichen, sensorischen oder geistigen Fähigkeiten eingeschrankt sind, freiend das Gerät nicht ohne Aufsicht oder Anleitung durch eine für ihre Sicherheit verantwortliche Person benutzen.
- Kinder mussen beaufsichtigt werden, damit sie nicht mit dem Gerät speilen.
- Lassen Sie Reparaturen von einem qualifizierten Mechaniker ausführten. Versuchen Sie nie, das Gerät selbst zu reparieren.
SICHERHEITSBESTIMMUNGEN - Elektrizität und Wärme
- Bevor Sie das Gerät verwenden, prüfen Sie, ob die Netzspannung mit der auf dem Typenschild des Gerats angegebenen Stromstände übereinstimmt.
- Kontrollieren Sie, ob die Steckdose, an die Sie das Gerät anschließen, geerdet ist.
Ziehen Sie immer den Stecker aus der Steckdose, wenn Sie das Gerät nicht benutzen.
Ziehen Sie beim Entfernen des Steckers aus der Steckdose am Stecker und nicht am Kabel. - Überprüfen Sie regelmäßig, ob das Gerätekabel noch intakt ist. Benutzen Sie das Gerät nicht, wenn das Kabel beschädigt ist. Lassen Sie ein beschädigtes Kabel von einem qualifizierten Wartungs Dienst ersetzen.
Sorgen Sie bei der Benutzung eines Verlangerungskabels davon, dass these komplett ausgerollt wird. - Verwenden Sie ausschließlich zugelassene Veränderungskabel.
Bestimmte Teile des Gerats konnen heis werden. Um Verbrennungen zu vermeiden, sollen den sie dieser nicht berühren.
Um Brandgefahr zu verhindern, muss das Gerät seine Wärme abgeben konnen. Sorgen Sie also davon, dass das Gerät ausreichend frei stehen und nicht in Kontakt mit brenbarem Material kommt kann. Das Gerät darf nicht abgedeckt werden. Sorgen Sie davon, dass die Luftöffnungen frei sind. - Benutzen Sie das Gerät nicht in der Höhe von entzündlichen Materialien.
Sorgen Sie damit, dass das Gerät und das Kabel nicht mit Hitzequellen wieHEYen Kochplatten oder offenem Feuer in Berührung kommt.
Sorgen Sie davon, dass das Gerät, das Kabel und der Stecker nicht mit Wasser in Berührung kommt.

hmte Teile des Gerats konnen heiB werden.
Verbrennungen zu vermeiden, sollen den sie diese nicht berühren.
SICHERHEITSBESTIMMUNGEN - Verwendung
Benutzen Sie das Gerät nie im Freien.
- Stellen Sie das Gerät auf einen stabilen und ebenen Untergrund und an eine Stelle, wo es nicht herunterfallen kann.
- Lassen Sie das Kabel nicht über den Rand der Anrichte, der Arbeitsplatte oder eines Tisches hangen.
Sorgen Sie damit, dass ihre Hände trocken sind, wenn Sie das Gerät, das Kabel oder den Stecker berühren.
Benutzen Sie das Gerat nie in feuchten Räumen.
Schalten Sie das Gerät aus undziehen Sie den Stecker aus der Steckdose, wenn bei der Benutzung Störungen auftreten, Sie das Gerät reinigen oder es nicht mehr benutzen.
- Nehmen Sie das Gerät nicht auf, wenn es ins Wasser gefallen ist. Ziehen Sie sofort den Stecker aus der Steckdose. Benutzen Sie das Gerät nicht mehr.
- Reinigen Sie das Gerät nach der Benutzung gründlich (siehe "Reinigung und Wartung").
- Tauchen Sie das Gerät, das Kabel und den Stecker nie in Wasser oder andere Flüssigkeiten.
- Verwenden Sie keine dicken Brotscheiben, da diese ansonsten im Toaster feststecken. Wird das Brot zu lange getoastet, kann es Feuer fangen.
Sorgen Sie fur ausreichende Beluftung.
- Verwenden Sie das Gerät nicht mit externen Zeitschaltuhren o.ä.
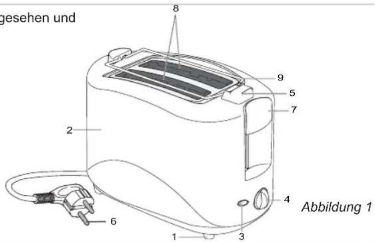
FUNKTION -Allgemein
Das Gerät ist nur für den Hausgebrauch vorgesehen und nicht für die professionelle Verwendung.
- Krümelschublade
- Gehäuse
- Stoppaste
- Temperaturregelknopf
- Brotchenaufsatzknopf
- Anschlusskabel und Stecker
- Hebel
- Brotschlitten
- Brotchenaufsatz
VOR DER ERSTEN VERWENDUNG

Lassen Sie den Toaster erst einige Male bei maximaler Temperatur toasten (Einstellung 5) und ohne Brot. So werden die letzte Reste des Herstellungsprozesses entfernt. Es kann eine leichte Rauch- und Geruchsentwicklung entstehen.
BENUTZUNG
- Stellen Sie das Gerät auf eine stabile und ebene Fläche.
- Stecken Sie den Stecker in die Steckdose.
BENUTZUNG - Brot toasten
- Stellen Sie die Temperatur und die Rostzeit mit dem Temperaturregelknopf ein. (4)
a. Bei der niedrigsten Einstellung (Einstellung 1) ist die Temperatur am niedrigsten und die Rostzeit am kürzesten.
b. Bei der hochsten Einstellung (Einstellung 5) ist die Temperatur am hochsten und die Rostzeit am langsten.
c. Beginnen Sie im Zweifelsfall immer mit der niedrigsten Einstellung.
d. Altes Brot müssen Sie auf einer niedrigeren Einstellung rosten als frisches Brot.
e. Weizenvollkornbrot mussen Sie auf einer higheren Einstellung rosten als Weilbrot.
- Legen Sie eine Scheibe Brot in jeder Brotschlitten (8) des Toasters.
- Drucken Sie mit dem Hebel den Brotschlitten (6) nach unten, bis dieser einrastet. Das Gerät beginnt jetzt mit dem Toasten und schaltet sich danach automatisch aus. Die Brotschlitten kommt dann automatisch nach oben.
- Nehmen Sie das getoastete Brot aus dem Toaster.

-
Ist die Temperatur zu hoch eingestellt, beginnt das Brot zu riechen. Drucken Sie in thisem Fall auf die Stoptaste (3), um den Toastvorgang vorzeitig zu unterbrechen.
-
Bleibt das Brot im Toaster stecken,ziehen Sie dann den Stecker (6) aus der Steckdose und lassen Sie den Toaster abkühlen. Nehmen Sie danach das Brot vorsichtig aus dem Toaster.
BENUTZUNG - Brotchen oder Baguette aufwärmen
- Legen Sie die Brotchen oder das Baguette auf den Brotchinaaufsatz. (9)
- Befolgen Sie die Vorgehensweise für das Toasten von Brot, ohne Brotscheiben in die Brotschlitten zu legen.
REINIGUNG UND WARTUNG
-
Ziehen Sie den Stecker aus der Steckdose und halten Sie das Gerät abkühlen.
-
Ziehen Sie die Krümelschublade (1) aus dem Gerät (siehe Abbildung 3) und entfern den Sie zurückgebliebene Krümel.
-
Reinigen Sie die Außenkante (2) des Geräts mit einem feuchten Tuch und wischen Sie es mit einem trockenen Tuch ab. Achten Sie darauf, dass keine Feuchtigkeit ins Innere des Geräts gelamt.
-
Schieberen Sie die Krümelschublade wieder zurück ins Gerät. Figuur 3


-
Tauchen Sie das Gerät, den Stecker und das Kabel nie ins Wasser. Stellen Sie das Gerät keinesfalls in einen Geschirrspüller.
-
Verwenden Sie zur Reinigung keine aggressiven Reinigungs- oder Scheuermittel oder scharfen Gegenstände (wie Messer oder harte Bürsten).
TECHNISCHE DATEN
Type: AYT600
Leistung: 750 W
Netzspannung: 220-240 V ~50/60 Hz
UMWELT

- Werfen Sie Verpackungsmaterial wie Kunststoff und Kartons in die damit vorgesehenen Container. Geben Sie这点 Produkt am Ende der Nutzungsdauer nicht als normalen Haushaltsabfall ab, sondern bei einem Sammelpunkt für die Wiederverwendung elektrischer und elektronischer Geräte. Achten Sie auf das Symbol auf dem Produkt, der Gebrauchsanweisung oder der Verpackung.
Die Materialien konnen wie angegeben wiederverwendet werden. Durch ihre Hilfe bei der Wiederverwendung, der Verarbeitung der Materialien oder anderen Formen der Benutzung alter Geräte liefern Sie einen wichtigen Beitrag zum Schutz unserer Umwelt.
- Erkundigen Sie sich bei den Stadtverwaltungen nach dem richtigen Sammelpunkt in ihrer Höhe.
GARANTIEBESTIMMUNGEN
Der Importeur gewährt für diese Gerät unter den folgenden Bedingungen 60 Monate Garantie ab Kaufdatum auf Schäden, die aufgrund von Herstellungs- und/oder Materialfehlern entstanden sind.
- Innerhalb der genannten Garantiefrist werden keine Kosten für Arbeitslohn und Material berechnet. Die Garantiefrist wird durch die unter Garantie ausgeführte Reparatur nicht verlangert.
- Schadhafte Teile oder, im Falle eines Umtauschs, die schadhaften Geräte selbst werden automatisch Eigentum des Importeurs.
- Bei jedem Garantieanspruch muss ein Kaufbeleg der Firma vorgelegt werden.
- Garantieansprüche müssen entweder beim Handler, bei dem das Gerat gekauft wurde, geltend gemacht werden oder beim Importeur.
- Die Garantie gilt nur fur den ersten Kaufer und ist nicht übertragbar.
- Die Garantie gilt nicht für Schäden, die entstanden sind durch:
a. Unfälle, verkehrte Benutzung, Abnutzung und/oder Verwahrlosung
b. falsche Montage und/oder Benutzung, die gegen die einschlädigen gesetzlichen und technischen Normen oder gegen Sicherheitsnormen verstöhst
c. Anschluss an eine andere Netzspannung als die auf dem Typenschild angegebene
d. eine ungenehmigte Veränderung
e. eine Reparatur, die durch Dritte ausgeführrt wurde
f. nachlässigen Transport ohne geeignete Verpackung bzw. ohne geeigneten Schutz
- Auf diese Garantiebestimmungen kann kein Anspruch erhoben werden im Falle von:
a. Verlusten, die während des Transports auftreten
b. Entfernung oder Änderung der Geräteseriennummer
- Ausgenommen von der Garantie sind Kabel, Lampen und Glasteile.
- Außer einem Ersatz bzw. einer Reparatur der schadhaften Teile räumt die Garantie kein Recht auf Erstattung eines eventuellen Schadens ein. Der Importeur kann in keinem Fall für eventuelle Folgeschäden oder irgendwelche anderen Folgen haftbar gemacht werden, die durch das von ihm gelieferte oder in Verbindung mit dem von ihm gelieferten Gerät entstanden sind.
- Um Garantieleistungen in Anspruch zunehmen, wenden Sie sich direkt an ihren Handlcr. Bestron bietet auch die Mochlichkeit direkt mit dem Werkskundendienst abzuwickeln. Voraussetzung hierfür
ist, dass Sie sich zunachst Telefonisch, per Fax oder Mail an den Werkskundendienst wenden.itte schicken Sie keine Geräte unaufgefordert. Insbesondere dürfen Pakete niemals unfrei eingesendet werden. Sprechen Sie daher zuerst mit uns. Wir sagen Ihnen wie Sie Ihr Gerät an uns einsenden sollen.
- Das Gerät eignet sich nicht für die professionelle Verwendung.
KUNDENDIENST
Solle unerwartet eine Störung auftreten dann konnen Sie sich mit dem BESTRON-Kundendienst in Verbindung setzen:
DEUTSCHLAND:
SERVICE CENTER FRENZ
BESTRON SERVICE
Kleikstraße 94-96
52134 Herzogenrath
Tel: 02406 97 999 15
Fax: 02406 97 999 13
E-mail: info@bestron-service.de
Internet: www.bestron.com
CE-KONFORMITÄTSERKLÄRUNG
Dieses Produkt entspricht auf dem Gebiet der Sicherheit den Bestimmungen der folgenden europäischen Richtlinien:
EMC-Richtlinie 2004/108/EC
Niederspannungsrichtlinie 2006/95/EC.

R. Neyman
Qualitätskontrolle
EinfachAnleitung