AYT600 - Toaster BESTRON - Free user manual and instructions
Find the device manual for free AYT600 BESTRON in PDF.
User questions about AYT600 BESTRON
0 question about this device. Answer the ones you know or ask your own.
Ask a new question about this device
Download the instructions for your Toaster in PDF format for free! Find your manual AYT600 - BESTRON and take your electronic device back in hand. On this page are published all the documents necessary for the use of your device. AYT600 by BESTRON.
USER MANUAL AYT600 BESTRON
Instruction manual toaster
Italiano
CONDITIONS DE GARANTIE
Congratulations with your purchase of this toaster.
SAFETY INSTRUCTIONS - General
- Please read these instructions carefully and retain them for reference.
- Use this appliance solely in accordance with these instructions.
This appliance is not intended for use by persons (including children) with reduced physical, sensory or mental capabilities, or lack of experience and knowledge, unless they have been given supervision or instruction concerning use of the appliance by a person responsible for their safety.
Children should be supervised to ensure that they do not play with the appliance. - Have any repairs carried out solely by a qualified electrician. Never try to repair the appliance yourself.
SAFETY INSTRUCTIONS - Electricity and heat
- Verify that the mains voltage is the same as that indicated on the type plate on the appliance before use.
- Make sure that you always use an earthed wall socket to connect the appliance.
Always remove the plug from the socket when the appliance is not in use. - Remove the plug from the wall socket by pulling the plug, not the power cord.
- Check the appliance's power cord regularly to make sure it is not damaged. Do not use the appliance if the power cord is damaged. Have a damaged power cord replaced by a qualified repair service.
- When using an extension lead always make sure that the entire cable is unwound from the reel.
- Use solely approved extension leads.
Certain parts of the appliance may get hot. Do not touch these parts to prevent burning yourself. - The appliance needs space to allow heat to escape, thereby preventing the risk of fire. Make sure that the appliance has sufficient space around it, and does not come in contact with flammable material. The appliance must not be covered. Make sure the air vents are not covered or blocked.
- Never use the appliance in the vicinity of flammable materials.
- Make sure that the appliance, the power cord or the plug do not make contact with hot surfaces, such as a hot hob or naked flame.
- Make sure that the appliance, the power cord and plug do not make contact with water.

In parts of the appliance may get hot.
It touch these parts to prevent burning yourself.
SAFETY INSTRUCTIONS - During use
- Never use the appliance outdoors.
- Place the appliance on a flat, stable surface where it cannot fall.
- Never allow the power cord to hang over the edge of the draining board, worktop or table.
- Make sure that your hands are dry before touching the appliance, power cord or plug.
- Never use the appliance in a humid room.
- Switch off the appliance and remove the plug from the wall socket in the event of a malfunction during use, and before cleaning the appliance or storing it after use.
- Do not pick up the appliance if it falls into water. Remove the plug from the wall socket immediately. Do not use the appliance any more.
- Clean the appliance thoroughly after use (see 'Cleaning and maintenance').
- Never immerse the appliance, the plug or the power cord in water or other liquid.
- Do not toast slices of bread that are too thick; they could jam in the toaster. Bread toasted for too long can catch fire.
- Make sure the appliance has sufficient ventilation.
- This appliance may not be used through an external timer or by means of a remote control.
OPERATION - General
The appliance is intended only for domestic use, not for professional use.
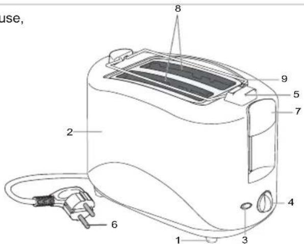
- Crumb tray
- Housing
- Stop button
- Temperature-control dial
- Roll holder button
- Power cord and plug
- Lever
- Bread carriages
- Roll holder Figure 1
BEFORE FIRST USE

Operate the toaster a couple of times, without bread, at the maximum temperature (setting 5). This will remove the last traces from the manufacturing process. A little smoke and odour may be emitted by the toaster when it is used for the first time.
USE
- Put the appliance on a stable and flat surface.
- Put the plug into the wall socket.
USE - Toasting bread
- Adjust the temperature and the toasting time with the temperature-control dial. (4)
a. The temperature is lowest at setting 1, and the toasting time is the shortest.
b. The temperature is highest at setting 5, and the toasting time is the longest.
c. In the event of doubt, always begin at a lower setting.
d. Older bread will need to be toasted at a lower setting than fresh bread.
e. Brown bread will need to be toasted at a higher setting than white bread. - Put one slice of bread on each of the toaster's bread carriages. (8)
- Lower the slices of bread by pressing the lever (6) downwards until it locks into place. The appliance will now start toasting the bread; it will automatically switch off once the toast is ready. The slices of toast will rise automatically.
- Remove the toast from the toaster.

The bread will emit smoke if the temperature is adjusted to too high a setting. If this happens, press the stop button (3) to stop toasting the bread.
- If toast remains caught in the toaster, then you should remove the plug (6) from the wall socket and allow the toaster to cool. You can now carefully remove the toast from the toaster.
USE - Heating rolls or French bread
- Lay the rolls or the French bread on the roll holder. (9)
- Use the same procedure as for toasting bread, but without putting slices of bread on the bread carriages.
CLEANING AND MAINTENANCE
- Remove the plug from the wall socket, and allow the appliance to cool.
- Take the crumb tray (1) out of the appliance (see Figure 3), and remove any breadcrumbs.
- Clean the exterior (2) of the appliance with a damp cloth, and dry with a clean cloth. Make sure no moisture gets into the appliance.
- Slide the crumb tray back into the appliance.

Figur 3

-
Never immerse the appliance, plug or power cord in water. Never put the appliance in a dishwasher.
-
Never use corrosive or scouring cleaning agents or sharp objects (such as knives or hard brushes) to clean the appliance.
TECHNICAL INFORMATION
Type: AYT600
Output: 750 W
Power supply: 220-240 V ~50/60 Hz
THE ENVIRONMENT

- Dispose of packaging material, such as plastic and boxes, in the appropriate waste containers.
When this product reaches the end of its useful life do not dispose of it by putting it in a dustbin; hand it in at a collection point for the reuse of electrical and electronic equipment. Please refer to the symbols on the product, the user's instructions or the packaging.
- The materials can be re-used as indicated. Your help in the re-use, recycling or other means of making use of old electrical equipment will make an important contribution to the protection of the environment.
- Contact your municipality for the address of the appropriate collection point in your neighbourhood.
GUARANTEE TERMS
The importer guarantees the appliance against defects caused by manufacturing and/or material faults for 60 months from the date of purchase, subject to the following conditions.
- No charges will be made for labour costs or materials during the warranty period. Any repairs carried out during the warranty period do not extend the warranty period.
- The importer automatically becomes the owner of any faulty parts that he replaces or a faulty appliance (in the event of replacement of the appliance).
- All claims submitted under warranty must be accompanied by the original bill of sale.
- Claims under warranty must be submitted to the dealer where the appliance was purchased or to the importer.
- The warranty is issued solely to the first purchaser and cannot be transferred.
- The warranty does not cover damage caused by:
a. Accidents, incorrect use, wear and/or neglect.
b. Faulty installation and/or use in a manner contravening the prevailing legal, technical or safety regulations.
c. Connection to a mains voltage other than the voltage specified on the type plate.
d. Unauthorized modifications.
e. Repairs carried out by third parties.
f. Careless transport, i.e. without suitable packaging materials or protection.
- No claims may be made under this warranty for:
a. Losses incurred during transport.
b. The removal or changing of the appliance's serial number.
- The guarantee does not cover power cords, lamps or glass parts.
- No claims can be submitted under this warranty for damage other than the repair or replacement of faulty parts. The importer can never be held responsible for any consequential loss or damage or any other consequences, resulting either directly or indirectly from the appliance supplied by the importer.
- In case of claims under guarantee you can contact your dealer where the appliance is purchased. Bestron offers you also the possibility to send the appliance directly to our Service Department. Do not send your appliance without consulting us. The package may be refused and any any costs will be for your account. Please contact the Service Department and they will tell you how to pack and send the appliance.
- This appliance is not suitable for professional use.
SERVICE
If a fault should occur please contact the BESTRON service department:
THE NETHERLANDS:
BESTRON NEDERLAND BV
Bestron Service
Moeskampweg 20
5222 AW 's-Hertogenbosch
Tel: +31 (0) 73 - 623 11 21
Fax: +31 (0) 73 - 621 23 96
Email: info@bestron.com
Internet: www.bestron.com
CE DECLARATION OF CONFORMITY
This product conforms to the essential requirements of the following EU safety directives:
EMC Directive 2004/108/EC
Low Voltage Directive 2006/95/EC

EasyManual