Microbar AD - Machine à café NUOVA SIMONELLI - Notice d'utilisation et mode d'emploi gratuit
Retrouvez gratuitement la notice de l'appareil Microbar AD NUOVA SIMONELLI au format PDF.
| Caractéristiques | Détails |
|---|---|
| Type de machine | Machine à café professionnelle |
| Capacité de la chaudière | 1,5 L |
| Pression de la pompe | 9 bars |
| Matériau de la chaudière | Acier inoxydable |
| Dimensions (L x P x H) | 30 x 40 x 40 cm |
| Poids | 20 kg |
| Alimentation électrique | 230 V / 50 Hz |
| Utilisation | Conçue pour un usage intensif dans les cafés et restaurants |
| Entretien | Nettoyage régulier des filtres et détartrage recommandé tous les 3 mois |
| Sécurité | Équipée d'un système de protection contre la surchauffe |
| Accessoires inclus | Portafilter, tamper, et brosse de nettoyage |
| Garantie | 2 ans sur les pièces et la main-d'œuvre |
FOIRE AUX QUESTIONS - Microbar AD NUOVA SIMONELLI
Questions des utilisateurs sur Microbar AD NUOVA SIMONELLI
0 question sur cet appareil. Repondez a celles que vous connaissez ou posez la votre.
Poser une nouvelle question sur cet appareil
Téléchargez la notice de votre Machine à café au format PDF gratuitement ! Retrouvez votre notice Microbar AD - NUOVA SIMONELLI et reprennez votre appareil électronique en main. Sur cette page sont publiés tous les documents nécessaires à l'utilisation de votre appareil Microbar AD de la marque NUOVA SIMONELLI.
MODE D'EMPLOI Microbar AD NUOVA SIMONELLI
En choisissant le modele MICROBAR, vous avez fait un excellent achat.
Vouys disposez en effet a present non seulement d'un simple distributeur a cafe, mais d'une veritable machine pour cafe express, entierement automatique et gerée par microprocesseur, garantie de fiabilité et d'une extrème facilité d'emploi.
Nous sommes certains que notre modele MICROBAR augmentera votre confiance envers Nuova Simonelli et que vous conseillerez à vos amis l'achat de cette machine à café, car le modele MICROBAR a été concu pour augmenter la rentabilité du service cafeteoria, optimisant au plus degré les coûts de service.
Cette machine a ete fabriquee conformement aux normes CEE 89/392, CEE 89/336, CEE 73/23, CEE 89/109 et modifications successives.
Bien cordialement,
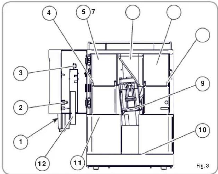
1 Couvercle d'accès au réservoir à café en grains
2 Tableau de commande
3 Porte antérieure
4 Bec Vapeur / Bec Eau chaude
5 Grille du bac de récapuration des gouttes
6 Tiroirs à march
7 Distributeurs de café
8 Bec distributeur lait / cappuccino (Version Cappuccino uniquement)
9 Clé Ouverture / Fermetre portillon des com
mandes
10 Couvercle d'acces au convoyeur de café moulu
11 Tube d'aspiration lait (Version Cappuccino uniquement)
12 Robinet de réglage du flux de lait (Version Cappuccino uniquement)
13 Couvercle d'acces aux réservoirs d'eau
14 Interrupteur général (ON / OFF)
15 Fiche de connexion au réseau
16 Bac de récapération des gouttes d'eau
1.1 DESCRIPTION CLAVIER (Configuration standard)

Fig. 2
1.2 DESCRIPTION INTERNE MICROBAR

LEGENDE
1 Touche 1 Express
2 Touche 2 Express
3 Touche 1 Café
4 Touche 2 Café
5 Touche Deuxieme Moulin, Decaféiné, Cycle Lavage
6 Touche 1 Café lait
7 Touche Eau Chaude
8 Touche Vapeur
9 Affichage LCD
LEGENDE
1 Clé - Serrure porte
2 Microcontact ouverture porte
3 Reglage du Générateur de mousse
4 Vis de réglage mouture café en grains moulin à café de gauche
5 Récipient café en grains moulin à café de gauche
6 Convoyeur café moulu
7 Récipient café en grains moulin à café de croite
8 Vis de réglage mouture café en grains moulin à café de droite
9 Groupe de distribution
10 Bac de récapération des gouttes
11 Tiroir marcs
12 Générateur de mousse
2. PRESCRIPTIONS

Ce manuel est partie intégrante et essentielle du produit et doit par conséquent être remis à l'utilisateur. Lire attentivement les conseils qu'il contient car ils fournissent des indications particulièrement importantes sur la sécurité de l'installation, son utilisation et son entretien.
Conserver ce manuel avec soin de façon à pouvoir le consulter si nécessaire.

Après avoir retire la machine de son emballage, contrôle que l'appareil soit en parfait état. En cas du moindre doute, ne pas l'utiliser et s'adresser à un technicien qualifié. Les éléments de l'emballage (sacs plastique, polystyrene expansé, clous, etc.) ne doivent pas être laissés à la portée des enfants car ils peuvent être dangereux. Ne pas repandre ces éléments dans l'environnement.


RISQUE DE POLLUTION

La machine peut etre installee dans des ambiances telles que les aires de service, pour le personnel, pres de magasins, de bureaux et autres ambiances de travail, dans les espaces pour clients aprres des hotels, des motelels, des chambres d'hotes et autres milieux residentiels.

Avant de brancher l'appareil, veillez à ce que les données indiquées sur la plaquette correspondant à celles du réseau électrique. La plaquette est située au dos de la machine, en bas à gauche. L'installation doit être réalisée dans le respect des normes en vigueur, suivant les instructions fournies par le fabricant et par un technicien qualifié. Le fabricant ne pourra enaucun cas être retenu responsable des évventuels dommages causés par une
DE SECURITE
absence de mise à la terre de l'installation. Pour la sécurité électrique de cet apparéil, il est obligatoire de prévoir une installation de mise à la terre, en s'adressant à un elektricien qualifié et dûment autorisé à cet effet, afin qu'il vérifie que la portée électrique de l'installation soit bien appropriée à la puissance maximum de l' apparéil indiquée sur la plaquette.

Fig. 5

En particulier, l'électricien devra s'assurer que la section des cables de l'installation soit bien adaptée à la puissance absorbée par l'appareil. L'emploi d'adaptateurs de même que de prises multiples et de rallonges est interdit. Si leur usage s'avere indispensable, il faut absolument s'adresser à un electricien dûment autorisé à cet effet.

Durant l'installation du dispositif, utiliser les composants et les matériaux fournis en notation avec le dispositif. Si l'utilisation de composants supplémentaires s'avere nécessaire, l'installateur doit vérifier l'adéquation de ces derniers pour un employe au contact de l'eau pour la consommation humaine.

La machine doit être installée conformément aux normes en vigueur, en matière de santé, pour les installations hydrauliques. faut donc que l'installation hydraulique soit réalisée par un technicien autorisé.

L'alimentation du dispositif doit être effectue avec de l'eau ajusté pour la consommation humaine conformément aux dispositions en vigueur dans le pays d'installation. L'installeur doit recevoir de la part du propriété/gerant de l'installation, une confirmation écrite indiquant que l'eau respecte les caractéristiques susmentionnées.

Cet apparéil devra être destiné uniquement à l'utilisation décrit expressesment dans cette notice. Le fabricant ne pourra enaucun cas être retenu responsable desdommages eventuels causés par une mauvaise ou déraisonnable utilisation.

Au terme de l'installation, le dispositif doit être actionné jusqu'à ce qu'il attaigne la condition nominale de travail en le laissant en condition de "préts au fonctionnement".
Eteindre ensuite le dispositif et vider enti-rement le circuit hydraulique de sa première eau afin d'éliminer toute impureté évientuelle. Le dispositif doit être ensuite à nouveau charge et actionné jusqu'àux conditions nominales de fonctionnement. Lorsqu'on atteint la condition "préts au fonctionnement", effectuer les distributions suivantes:
-
100% du circuit café à travers le distributeur de café (pour plusieurs distributeurs, diviser en mesures égales);
-
100% du circuit eau chaude à travers le distributeur d'eau (pour plusieurs distributeurs, diviser en mesures égales);
- ouverture de chaque sortie vapeur pendant 1 minute.
Au terme de l'installation, il serait préférale de rédiger un rapport des opérations effectuees.

L'utilisation de tout apparéil électrique entraine le respect de certaines règes fondamentales.
Et notamment:
- ne pas toucher l'appareil avec les mains ou les pieds mouillés ou humides;

ATTENTION RISQUE DE DECHARGE ELECTRIQUE

-
ne pas utiliser l'appareil pieds nus;
-
ne pas employerer de rallonges dans des locaux utilisés comme salle de bain ou douche;
- ne pas tirer le cable d'alimentation pour débrancher l'appareil du réseau électrique;

- ne pas laisser l'appareil exposé aux agents atmosphériques (pluie, soleil, etc.);
- ne pas permettre l'utilisation de l'appareil de la part d'enfants ou de personnes non autorisées et n'avant pas lu ni bien compris le contenu de cette notice.

Avant de proceder à toute opération d'entretien, le technicien autorisé devra déconnecté l'appareil du réseau électrique en débranchant la fiche ou en éteignant l'interrupteur de l'appareil.


Pour les opérations de nettoyage, veuillesmettre I'appareil a I'etat energetique "O",a savoir "INTERRUPTEUR APPAREIL ETEINT ET FICHE DEBRANCHEE" et nesuivre que les instructions contenuedans cette notice.

En cas de panne ou de mauvais fonctionnement de l'appareil, eteignez-le. Il est strictement d'intervenir. Adressez-vous uniquement au personnel qualifié.
La réparation eventuelle des produits ne devra être effectue que par la Maison Constructrice ou par un centre de service après vente dûment autorisé, en utilisant uniquement des pieces détachées originales.
L'inobservance de ces indications pourrait comprometter la sécurité de l'appareil.

Lors de l'installation, l'électricien autorisé devra prévoir un disjoncteur omnipolaire conforme aux normes en vigueur qui prévoient que les contacts aient un espace d'ouverture égal ou supérieur à 3 mm.

Afin d'eviter des surchauffes dangereuses, il est conseilé de bien dérouler sur toute la longueur le cable d'alimentation.

Ne pas obstruer les grilles d'aspiration et/ou de dissipation et plus particulièrement celles du chauffe-tasses.

Fig. 9

La cable d'alimentation de cet apparéil ne doit pas être remplaced par l'utilitaire. En cas d'endommagement du cable, éteindre l' apparéil et le faire replacer uniquement par un technicien qualifié.

Si vous decide de ne plus utiliser cet apparéil, il est vivement conseillé de le rendre inefficace en coupant le cable d'alimentation, après avoir débranché le cable du réseau d'alimentation électrique.

ATTENTION
RISQUE DE POLLUTION

Ne jamais abandonner l'appareil dans l'environnement: pour son élimination totale, s'adresser à un centre autorisé ou contacter le fabricant afin de receivevoir les instructions à ce sujet.


Pour favoriser l'aération de l'appareil, positionner ce dernier à une distance de 15 cm (5,9 in) du mur ou d'autres appareils qui se trouvent du côte de l'aération.

Après avoir commencé le cycle de lavage de l'appareil, veiller à ne pas l'interr compromise car autrement il est possible que des résidus de détermagent demeurent à l'intérieur de groupe de distribution.

ATTENTION
RISQUE D'INTOXICATION

Lors de l'utilisation du bec à vapeur, ne jamais exposer les mains à la vapeur. Ne jamais toucher le bec tout de suite après son utilisation.


ATTENTION
RISQUE DE BRULURES

Pour effectuer toute opération relative à l'installation, l'entretien, le déchargement et la mise au point, l'opérateur qualifié devra toujours porter ses gants de travail et ses chaussures de protection.

ATTENTION
RISQUE DE CISAILLEMENT

Lors du remplissage du recipient à café, l'opérateur ne doit jamais y introduire les mains.

ATTENTION DANGER MECANIQUE

Ne pas frapper et/ou tirer l'interrupteur de sécurité.

Fig. 12

ATTENTION

RENSEIGNEMENT AUX UTILISATEURS
Aux sens de l'art. 13 du Decret Legislatif du 25 juillet 2005, n. 151 "Réalisation des Directives 2002/95/CE, 2002/96/ CE et 2003/108/CE, relatives à la réduction de l'utilisation des substances dangereuses dans
les apparueillages electriques et electroniques, ainsi qu'à l'enlèvement des ordures".
Le symbole de la poubelle barrée reporté sur l'appareillage indique que le produit, à la fin de
sa propre vie utile, doit être recueilli séparément d'autres ordures. L 'utilisateur devra, donc, transmettre l'appareillage arrivé à la fin de sa vie aux centres aptes à la récolte différenciée des déchets électroniques et techniques, ou le rendre au détaillant au moment de l'achat d'un nouvel apparcreillage de même type, à raison d'échange un à un. La récolte différenciée propre pour le départ successif de l' apparcreillage laissé au recyclage, auTraitement et à l'enlèvement compatible d'un point de vue de l'environnement, contribue à éviter de possibles effets négatifs sur le milieu et sur la santé et il favorise le recyclage des matériels dont l'appareillage se compose. L'enlèvement illégal du produit de la part de l'utilisateur compte I 'application des sanctions administratives dont au D.Lgs.n. 22/1997" (article 50 et suivants du D.Lgs.n.22/1997).
Pour toute communication avec le fabricant Nuova Simonelli, indiquer toujours le numéro de série qui est celui figurant dans ce manuel.

3.2 TRANSPORT
La machine est transportée sur des palettes avec d'autres machines et à l'intérieur de cartons; le tout étant fixé aux palettes au moyen des courroies appropriées.
Avant de proceser a toute operation de transport ou de déplacement, l'opérateur doit:
- mesure des gants et des chaussures de protection ainsi qu'une salopette munie d'élastiques aux extrémités.
Le transport des palettes doit etre effectue au moyen d'un apparéil de soulevement approprié du type chariot élevateur à fourches).
3.3 DEPLACEMENT

Lors des opérations de déplacement, l'opérateur doit s'assurer qu'aucune personne, chose ou objet ne se trouve dans la zone d'opération.
Soulever doucement la palette à 30 cm (11.8 in) environ de terre et rejoindre la zone de chargeMENT.
Une FIS atteinte la zone de chargement et après avoir vérifié l'absence d'obstacles, de choses ou de personnes, poser la palette à terre toujours au moyen d'un apparéil de levage approprié (par exemple, un chariot élévateur à fourches), puis la déplacer en la boulevant à 30 cm (11.8 in) environ de terre jusqu'à la zone de stockage.

ATTENTION RISQUE D'IMPACT OU D'ECRASEMENT
Avant de procéder à l'opération décrite ci-après, s'assurer que le matériel charge soit bien positionné et qu'il ne tombe pas après la coupure des courroies.
Pour couper les courroies et stocker le produit, l'opérateur doit toujours être muni de gants et de chaussures de protection; pour effectuer cette opération, consulter les caractéristiques techniques du produit afin de contrôler le poids de la machine devant être emmagasinée et de pouvoir agir en conséquence.

ATTENTION RISQUE DE POLLUTION

4. INSTALLATION ET OPERATIONS PRELIMINAIRES

Ne pas abandonner l'emballage dans l'environnement.

Avant d'effectuer toute installation ou réglage, dire attentivement les PRESCRIPIONS DE SECURITE containues dans cette notice.
L'entreprise ne répond d'aucun dommage aux personnes ou aux choses dérivant de l'inobservance des prescriptions de sécurité, d'installation et d'entretien containues dans cette notice.

Positionner la machine sur une surface horizontally afin d'eviter toute anomalie de fonctionnement.

Ne pas installer la machine dans des ambiances qui peuvent l'exposer aux jets d'eau.

La machine est indiquée pour un usage avec les aliments suivants:
- Café en grains
- Café décaféiné en poudre
- Lait (non en poudre)
Tout usage de la machine avec des alimentés différents de ceux indiqués ci'avant peut endom-mager gravement la machines.

La machine est prédisposée pour un range de température allant de +5^ à +40^ (41°F - 104°F).

Avant de brancher la machine au réseau électrique, vérifier la correspondance entre le voltage pour lequel elle a eté prédisposée et celui de l'installation.
REMARQUE: En début de journée et en cas de pauses dépassant les 8 heures, il est nécessaire de procéder à la vidange complète de l'eau (100%) contenu dans les circuits, à travers les distributeurs respectifs.
REMARQUE: Pour les exercices ou le service est continu, effectuer les vidanges sus-mentationnes au moins une fois parSEMaine.
4.1 INSTALLATION MACHINE VERSION AVEC RESERVOIR

Eteindre la machine avant de replir ou d'extraire le réservoir.
Après avoir sorti la machine de son emballage, suivre les instructions suivantes:
1 Positionner la machine sur un plan horizontal.
2 Ouvrir le portillon.
3 Extraire le réservoir d'eau en le soulevant vers le haut.

4 Surtout la première fois, laver le réservoir avec de l'eau et du savon et rincer soigneusement en prénant soin d'éliminer tout résidu de savon.
5 Remplir le réserve d'eau.
6 S'assurer que l'extérieur du réservoir soit sec.
7 Remetre le réservoir d'eau à sa place.

8 Refermer le portillon.

La durée de l'eau doit être inférieure à 4^ - 6^ fr (degrés français).
Sous peine de déchéance des conditions de Garantie de la machine.
4.2 INSTALLATION MACHINE VERSION A BRANCHEMENT DIRECT
Après avoir extrait la machine de son emballage, procéder comme indiqué ci-après:
1 Positionner la machine sur une surface horizontally.
2 Extraire le tube avec prise de 3 / 4 du portillon qui se trouve sur la partie supérieure de la machine.


3 Relier une extrémité du tube au raccord de 3/4 situé derrière la machine.
4 Relier l'autre extrémité du tube au réseau hydrique.

La durée de l'eau doit être inférieure à 4^ - 6^ fr (degrés français).
Sous peine de déchéance des conditions de Garantie de la machine.
L'appareil doit être installé selon les normes sanitaires locales en vigueur concernant les installations hydrauliques. Par conséquent, pour l'installation hydraulique, veuillez vous adresser à un technicien dûment autorisé à cet effet.
1 Soulever le couvercle du recipient du café en grains.

Ne verser dans le réservoir QUE du café en grains torrefiés. Tout autre type de café, par exemple du café moulu, peut endommager le moulin à café. Ne pas verser de café en grains préalablement traité avec du caramel, du sucre ou autre, ni du café instantané ou d'autres boissons contenant du sucre car cela endommagerait la machine.
2 Verser les grains de café torrefié dans le réservoir sans le replir entierement de façon a permettre la fermeture du couvercle.

3 Refermer le couvercle.
4.4 MISE EN MARCHE
REMARQUE: Si la série indiquée ci-dessus ne se vérifie pas, consulter le Chapitre "ANOMALIES ET SOLUTIONS".
Après avoir terminé les Opérations Préliminaires d'Installation:
1 Frapper l'interrupteur général de la machine en le positionnant sur "ON".

L'affichage LCD s'allume et visualise le message suivant:
Machine OFF Jour Heur
Pour allumer définitivement la machine, frapper la touche "ENTER":

La machine recharge directement l'eau dans la chaudière et commence la phase de rechauffement.
Lorsque la température programme est atteinte, le message suivant s'affiche:
Machine Prete Jour Heur
REMARQUE: Le temps initial est de 3 minutes environ.
REMARQUE: La machine est munie d'un dispositif de sécurité qui, au bout d'une minute et demie de fonctionnement continu de la pompe, arrête la machine (afin d'eviter la surchauffe de la pompe). Dans ce cas, eteindre la machine au moyen de l'interrupteur général, puis la rallumer.
La préparation de la machine est terminée et cette dernière est prête pour l'utilisation.

ATTENTION
LORS DE LA PREMIÈRE INSTALLATION, OU APRES L'ENTRETIEN DU GROUPE CHAUDIERE, AVANT DE DISTRIBUTER LES CAFES, FRAPPER LA TOUCHE DE DISTRIBUTION D'EAU CHAUBE, PLUSIEURS FOIS SI NECESSAIRE, JUSQU'A CE QUE L'ON OBTIENNE UN FLUX REGULIER DE LA LANCE.
4.5 ARRET
Pour eteindre la machine, proceder comme suit:
- Lorsque la machine est allumée, maintainir la touche "ENTER" appuyée pendant 5 secondes:

L'affichage LCD visualise le message suivant:
Machine OFF Jour Heur
- Pour arrêter complètement la machine, frapper l'interrupteur général et le positionner sur "OFF".

Les réglages enumerated ci-dessous doivent être effectuels EXCLUSIVEMENT par un Technicien Spécialisé.
Nuova Simonelli ne répond pas des dommages aux choses ou aux personnes dérivant de la non observation des prescriptions de sécurité décrites dans ce manuel.
5.1 REGLAGE DU DEGRE DEMOUTURE

La procédure de réglage de la mouture doit être effectuee avec le moulin a café en fonction.
REMARQUE: Opération possible même avec la machine allumée.
- Introduire la clé dans la serrure relative.
- Tourner la clé d'ouverture du portillon des commandes dans le sens inverse aux aiguilles d'une montre.
- Ouvrir le portillon des commandes pour acceder à la bague de réglage de la mouture. En suivant le sens indiqué par les flèches, il est possible d'obtenir une mouture plus GROSSE (sens inverse aux aiguilles d'une montre) ou plus FINE (sens des aiguilles d'une montre) des grains de café, en agissant sur la clé hexagonale 3 mm (0.12 in).
- Refermer le portillon en le fermant à clé.

5.2 REGLAGE AIR GENERATEUR DEMOUSSE POUR CAPPUCCINO
REMARQUE: Cette opération peut etre effectuee meme avec la machine allumee.
- Introduire la clé dans la serrure relative.
Tournier la clé d'ouverture du portillon des com
mandes dans le sens inverse aux aiguilles d'une montre.
- Ouvrir le portillon des commandes pour acceder à la vis de réglage.
Pour modifier la quantité d'air dans le groupe à cappuccino, et donc la quantité de mousse, agir sur la vis de réglage comme indiqué en figure, de façon à augmenter / diminuer l'air dans le groupe à cappuccino.

5.3 REGLAGE DU FLUX DE LAIT (Réglage Température)

REMARQUE: Opération possible même avec la machine allumée.
Pour modifier le flux de lait aspiré, et donc la température du lait distribué, agir sur le robinet de réglage relatif comme suit:
- Tourner le robinet d'aspiration du lait vers LA DROITE / GAUCHE pour AUGMENTER / DIMINUER le flux d'aspiration du lait et donc pour DIMINUER / AUGMENTER la température.
- Agir sur le robinet jusqu'à ce que la température désirée du lait distribué soit atteinte.
6. UTILISATION
Avant d'utiliser la machine, l'opérateur doit s'assurer d'avoir lu et bien compris les prescriptions de sécurité contenues dans cette notice.

Si l'autodiagnostic indique des anomalies ou des pannes, appeler le centre d'assistance car l'opérateur ne doit enaucun cas effectuer lui-même les interventions.
6.1 MISE EN MARCHE
REMARQUE: Si la séquence indiquée ci-dessous ne se vérifie pas, consulter le Chapitre "ANOMALIES ET SOLUTIONS".
- Frapper l'interrupteur machine: l'affichage LCD s'allume et visualise le message suivant:
Machine OFF Jour Heur
- Pour allumer définitivement la machine, frapper la touche "ENTER":

- La machine recharge automatiquement l'eau dans la chaudière et commence la phase de réchauffement.
Lorsque la température programmée est atteinte, le message suivant s'affiche:
Machine Prete Jour Heur
REMARQUE: Le temps initial est de 3 minutes environ.
REMARQUE: La machine est munie d'un dispositif de sécurité qui, au bout d'une minute et demie de fonctionnement continu de la pompe, arrête la machine (afin d'eviter la surchauffe de la pompe). Dans ce cas, eteindre la machine au moyen de l'interrupteur général, puis la rallumer.
La préparation de la machine est terminée et cette dernière est prête pour l'utilisation.
6.2 ARRET
Pour eteindre la machine, proceder comme suit:
- Lorsque la machine est allumée, maintainir la touche "ENTER" appuyée pendant 5 secondes.
L'affichage LCD visualise le message suivant:

- Pour arrêté complètement la machine, frapper

l'interrupteur général et le positionner sur "OFF".

6.3 CONFIGURATION STANDARD
LEGENDE TOUCHES

Décaféiné Cycle Lavage
Eau chaude

Vapeur
IMPORTANT: Il est possible d'attribuer aux touches n^1 - 2 - 3 - 4 - 6 (voir description relative "AFFICHAGE") une boisson différente selon son propre goût ou selon les habitudes du pays (voir chapitre PROGRAMMATION et paragraphe CONFIGURATION SELECTIONS).
6.4 CONFIGURATION DES SELECTIONS
Programmer la fonction désirée sur les touches à disposition n^1 - 2 - 3 - 4 - 6 du clavier (voir chapitre "AFFICHAGE"), à travers les procédures de programmation (voir Chapitre Programmation).
Les touches 1 - 2 peuvent être configurées seulement avec les boissons café; les touches 2 - 4 - 6 peuvent être configurées avec toutes les boissons.
Appliquer ensuite l'étiquette spéciale fournie avec la machine.

LEGENDE TOUCHES
La modalité de préparation est la même pour le café express et pour le café léger.
- Positionner une tasse sous les becs distributeurs de café.
Les boissons sortent toujours simultanément des deux becs distributeurs.

- Frapper une fois la touche de distribution du café désiré.


Le café est en préparation.
L'affichage visualise un message différent selon le type de café seLECTIONné.

Laisser la tasse sous les becs distributeurs jusqu'à ce que les messages s'effacent.
REMARQUE: Les becs distributeurs de café peuvent etre reglés sur la hauteur afin de les adapter à chaque type de tasse.
Positionner délicatement les becs distributeurs dans la position désirée de façon à limiter la distance entre la tasse et le bec distributeur.

6.6 PREPARATION 2 CAFES
- Positionner une tasse sous chaque bec distribu-. teur.

- Frapper une fois la touche de distribution du café désiré.


Le café est en préparation.
- L'affichage visualise un message différent selon le type de café sélectionné.
2 Express
2 Cafes
Laisser la tasse sous les becs distributeurs jusqu'à ce que les messages s'effacent.
6.7 PREPARATION
CAFE CAFE
SERRE Creme




Pour la réalisation, suivre les procédures pour le Café expresso et pour le Café léger (voir paragraphe CAFE EXPRESSO - CAFE LEGER).
- Position un réipient contenant du lait à côte de la machine.
- Plonger le tube d'aspiration du lait à l'intérieur du récipient.

- Positionner la tasse où sera verser le café au lait.
- Regler, au moyen du robinet situé le long du tube, la quantité de lait désirée.
- Frapper une fois la touche de distribution du café au lait.

Le café au lait est en préparation.
L'affichage indique:
Cafe Lait
Laisser les deux tasses sous les becs distribu-. teurs jusqu'a ce que les messages s'effacent.
6.9 PREPARATION CAPPUCCINO ET BIG CAPPUCCINO


Pour obtenir un cappuccino, suivre les procédures indiquées pour le CAFE AU LAIT (voir paragraphe CAFE AU LAIT).
6.10 CAFE AVEC NUAGE DE LAIT (3 couches: lait / café / lait)

Pour obtenir un café avec un nuage de lait, suivre les procédures indiquées pour le CAFE AU LAIT (voir paragraphe CAFE AU LAIT).
6.11 LAIT CHAUD

Pour obtenir le lait chaud, suivre les procédures indiquées pour le CAFE AU LAIT (voir paragraphe CAFE AU LAIT).
6.12 PREPARATION CAFE DECAFEINE EN PoudRE
- Ouvrir le couvercle d'accès au convoyeur de café moulu.

ATTENTION
Ne verser dans le convoyeur que du café moulu. Tout autre type de café peut endommager la machine.
Ne pas verser de café en grains préalablement traité avec du caramel, du sucre ou autre, ni d'autres boissons contenant du sucre car cela endommagerait la machine.
- Introduire à l'intérieur du convoyeur une seule dose de café décaféiné moulu.

- Frapper une fois la touche. (Frapper deux fois pour la version avec double moulin à café).

L'affichage indique:
Decafine Jour Heur
- Frapper la touche relative au type de café désiré en suivant la procédure du paragraphe "CAFE EXPRESS - CAFE LEGER".
Le café est en préparation.
L'affichage indique (exemple):
Decaffeine Express
Laisser la tasse sous les becs distributeurs jusqu'à ce que les messages s'effacent.
6.13 UTILISATION SEUXIEMMOULIN A CAFE (UNIQUEMENT sur Version avec double moulin)

ATTENTION
Ne pas verser de café en grains préalablement traité avec du caramel, du sucre ou autre, ni d'autres boissons contenant du sucre car cela endommagerait la machine.
- Frapper une fois la touche suivante:

- Le message suivant s'affiche:
Moulin 2 Jour Heur
- Frapper la touche correspondant à la boisson désirée.
- Par exemple, en frappant la touche correspondant au café expresso, le message suivant s'affiche:
Moulin 2 Express
6.14 EAU CHAUBE

ATTENTION
Avant d'effectuer l'opération suivante, s'assurer qu'il y ait de l'eau à l'intérieur du réservoir. En cas contraire, replir le réservoir.
Permet la distribution d'eau chaude pour la préparation du thé, de camomilles ou de tisanes.
Positionner sous le bec à vapeur / eau chaude un recipient approprié (une tasse).
- Frapper une fois la touche de distribution Eau Chaude.

- De l'eau chaude sort du bec à vapeur.

L'affichage indique:
Machine Prete The
- Lorsque la quantité désirée est obtenu, frapper à nouveau la touche de distribution Eau Chaude pour interrompre l'écoulement du liquide.
6.15 VAPEUR

ATTENTION
Lors de la distribution de la vapeur, ne pastoucher avec les parties du corps le bec de distribution, ni metre les mains dessous; le bec doit toujours être incliné vers le bas sur la grille ont sont positionnées les tasses.
Permet la distribution de vapeur pour émulsionner le lait, ou pour rechauffer d'autres liquides.
- Frapper une fois la touche de distribution vapeur.

- Le bec se vide de l'eau de condensation résiduelle puis, lorsque la vapeur commence à être distribuée, utilisez-la pendant le temps nécessaire.
L'affichage indique (exemple):
Vapeur
- Frapper à nouveau une fois la touche "VAPEUR" pour interrompree la distribution de vapeur.
IMPORTANT: Au terme de chaque distribution, nettoyer soigneusement le bec à vapeur à l'aide d'un chiffon humide.
REMARQUE: L'utilisation de la lance vapeur doit être precedée d'une purgege d'au moins 2 secondes de l'eau de condensation ou selon les instructions du constructeur.
7.PROGRAMMATION
7.1 LEGENDE

Fig. 34
1 Touche ENTER: pour acceder au menu et/ou pour confirmer les valeurs et passer à la phase successive.
2 Touche CURSORI: pour faire defiler les menus et pour incre-menter / déprémemter les valeurs.
3 Touche RESET: pour confirmer et pour revenir à la phase précédente
LISTES DES FONCTIONS PROGRAMMABLES
Fonctions accessibles depuis la modalité UTILISATEUR et la modalité TECHNICIEN
(uniquement sur version avec double moulin)
- DOSE LAIT
-
JOUR/HEURE
-
PROGRAM. ON/OFF
- ECONOMIE ENERGIE
Fonctions accessibles UNIQUEMENT depuis la modalité TECHNICIEN.

Opération autorisée UNIQUEMENT aux Techniciens Qualifiés.
Le réglage de la part de Techniciens NON qualifiés ou d'autres personnes peut exclure la Garantie.
Les fonctions supplémentaires auxquelles il est possible d'acceder en modalite TECHNICIEN sont les suivantes:
- PRE-INFUSION
- PRESSAGE
- QUANTITE MARCS
- ALARME LAV. LAIT
- ALARME LAVAGE
- REGLAGE GROUPE 1
- REGLAGE GROUPE 2
- REGLAGE MOULIN
- TEMPS CAFE
- TEMP. VAPEUR
- COMPTAGE TOTAL
(seulement version à double moulin)
- COMPTAGE TOTAL 2
(seulement version à double moulin) - COMPTAGE TOTAL
(toutes les versions)
23.MOT DE PASSE
24. SMART CARD
25. FiltRE EAU
26. DECALCIFICATION
7.2 PROGRAMMATION
En entrant dans la programmation, on accede à toutes les fonctions de la modalité UTILISATEUR et de la modalité TECHNICIEN.
Pour entrer dans les ambiances de programmation, proceeder comme suit:
REMARQUE: opération possible même avec la machine allumée.
- Introduire la clé dans la serrure relative.
- Tourner la clé d'ouverture du portillon des commandes dans le sens inverse aux aiguilles d'une montre.
- Ouvrir le portillon des commandes; l'affichage indique:
Machine OFF Porte Ouverte
- Frapper la touche ENTER, fermer le portillon machine; l'affichage indique:
Attendre Merci Chauffage
- Une fois le cycle d'expulsion terminé, le groupe se positionné en phase de repos et l'affichage visualisé la première option du menu de programmation:
LANGUAGE
FONCTIONS TOUCHES
: Défilament Liège Fonctions Programmables et/ou déprérent / incrément valeurs.
ENTER: Entrée Menu / Sous-menus et confirmation données.
RESET: Déplacement au niveau précédent et confirmation des données.
7.3 QITTER LA PROGRAMMATION
Pour quitter les ambiances de programmation, proceder comme suit:
REMARQUE: Opération possible même avec la machine allumée et à partir de toutes les fonctions visuaisées.
- Introduire la clé dans la serrure relative.
- Tourner la clé d'ouverture du portillon des commandes dans le sens inverse aux aiguilles d'une montre.
- Ouvrir le portillon des commandes; l'affichage indique:
Machine OFF Porte Ouverte
- Refermer le portillon machine et tourner la clé dans le sens des aiguilles d'une montre; l'affchage indique:
Machine OFF Jour Heur
Pour allumer définitivement la machine, frapper la touche "ENTER":

- En alternative, il est possible de faire défiler toutes les fonctions à l'aide de la touche ♦ jusqu'à ce que le message suivant s'affiche.
Machine Prete Jour Heur
7.4 CYCLE DE PROGRAMMATION MODALITE UTILISATEUR
1. LANGUE
En frappant la touche ENTER il est possible d'acceder au sous-menqui permet de programmer la langue de l'interface, entre la machine et I'opérateur, qui s'affiche sur I'écran.
Touches ▲▼ pour sélectionner la langue désirée. Les langues sélectionnables sont les suivantes: Italien, Anglais, Espagnol, Allemand, Français, Hollandais, Suédois, Danois, Finlandais, Norvégien, Russe et Japonnais.
Touches RESET pour quitter le sous-menu et returner au menu principal avec confirmation de la donnée programmée
2. NOM DU PRODUIT:
En frappant la touche ENTER il est possible d'acceder au sous-menu. Une boisson est attribuée à chaque touche. Exemple:
Nom Produit: Express
Dans ce cas, la boisson "Express" a ete attribuée a la touche.
Touches visualise les noms des boissons disponibles pour la touche.
Touche RESET pour quitter le sous-menu. La touche ENTER confirme le type de boisson pour la touche en programmation, et on passé à la sélection de la boisson pour la touche successive. Les touches programmables sont les suivantes:
12346
Une fois la programmation de la dernière touche terminée, on passé à l'option de menu successive.
REMARQUE: I Les touches 2 4 6 sont programmables comme boissons a base de lait et comme boisson cafe.
Les touches 13 sont programmables uniquement comme boissons cafe.
NOTE: Il est possible d'attribuer à chaque touche la fonction DISABLE et dans ce cas la touche résultat exclue.
3. PROG. DOSES
En frappant la touche ENTER il est possible d'acceder au sous-menu.
Programmation des doses d'eau utilisées pour chaque boisson.
1 Progr. Dose café Café Serré
2 Progr. Dose café 2 Cafés Serré
3 Progr. Dose café Express
4 Progr. Dose café 2 Express
5 Progr. Dose café Café
6 Progr. Dose café 2 Café
7 Progr. Dose café Café crème
8 Progr. Dose café Café au lait
9 Progr. Dose café avec nuage de lait
10 Progr. Dose café Cappuccino
11 Progr. Dose café Big Cappuccino
12 Progr. Dose café The
13 Temps maximum vapeur
Touches ▲▼ increment / déprérent de la quantité d'eau utilisée pour la réalisation de la boisson relative. Touche RESET pour quitter le sous-menu et returner au menu principal avec confirmation de la valeur établie.
Touche ENTER pour faire défiler chaque option du sous-menu et confirmer la valeur programmée.
4.PROG.MOULIN1S
En frappant la touche ENTER il est possible d'acceder au sous-menu.
Il est possible de programmer les temps de mouture pour chaque boisson relativement au moulin à café de croite (sec.).
1 Temps Mouture Café serré
2 Temps Mouture 2 Cafés serrés
3 Temps Mouture Express
4 Temps Mouture 2 Express
5 Temps Mouture Café
6 Temps Mouture 2 Cafes
7 Temps Mouture Café crème
8 Temps Mouture Café au lait
9 Temps Mouture Café avec nuage de lait
10 Temps Mouture Cappuccino
11 Temps Mouture Big Cappuccino
Touches ▲▼ increment / déprérent du temps de mouture utilisé pour la réalisation de la boisson relative. Touche RESET pour quitter le sous-menu et returner au menu principal avec confirmation de la valeur établie.
Touche ENTER pour faire défiler chaque option du sous-menu et confirmer la valeur programmée.
5. PROG. MOULIN 2 S (uniquement sur version avec double moulin)
En frappant la touche ENTER il est possible d'acceder au sous-menu.
Il est possible de programmer les temps de mou-ture pour chaque boisson relativement au moulin à café de gauche (sec.)
1 Temps Mouture Café serré
2 Temps Mouture 2 Cafés serrés
3 Temps Mouture Express
4 Temps Mouture 2 Express
5 Temps Mouture Café
6 Temps Mouture 2 Cafes
7 Temps Mouture Café crème
8 Temps Mouture Café au lait
9 Temps Mouture Café avec nuage de lait
10 Temps Mouture Cappuccino
11 Temps Mouture Big Cappuccino
Touches ▲▼ incrément / déprément du temps de mouture utilisé pour la réalisation de la boisson relative.
Touches RESET pour quitter le sous-menu et returner au menu principal avec confirmation de la valeur établie.
Touche ENTER pour faire défilier chaque option du sous-menu et confirmer la valeur programmée.
N. B.: Sur la version avec double moulin à café, en programmant le paramètre sur 0, on autorise le moulin de gauche.
6. DOSE LAIT
En frappant la touche ENTER il est possible d'acceder au sous-menu.
Programmation du temps de distribution du lait (sec.).
1 Lait
2 Café au lait
3 Nuage de lait
4 Cappuccino
5 Big Cappuccino
Touches ▲▼ incrément / déprérent du temps de distribution du lait utilisé pour la réalisation de la boisson relative.
Touche RESET pour quitter le sous-menu et returner au menu principal avec confirmation de la valeur établie.
Touche ENTER pour faire défilier chaque option du sous-menu et confirmer la valeur programmée.
7. JOUR/HAURE
En frappant la touche ENTER il est possible d'acceder au sous-menu.
Le jour, l'heure et les minutes sont programmés et ils apparaissent sur l'affichage de la machine.
1 Jour
2 Heure
3 Minutes
Touches ▲▼ increment / déprérent du temps de mouture utilisé pour la réalisation de la boisson relative. Touche RESET pour quitter le sous-menu et returner au menu principal avec confirmation de la valeur établie.
Touche ENTER pour faire défiler chaque option du sous-menu et confirmer la valeur programmée.
Après avoir programmé le jour, on revient sur le menu principal.
8. PROGRAM. ON/OFF
Le ON/OFF automatique de la machine estprogramme (mise en marche/arrêt) seulement si l'interrupteur de la machine est sur ON.
Par défaut, la machine est programmée avec tous les jours de la semaine régles sur la modalité "REPOS", par conséquent pour allumer / êtreindre la machine, il faut utiliser l'interrupteur général.
En frappant la touche ENTER il est possible d'acceder aux sous-menus et le message suivant s'affiche:
Dimanche ON07:30 OFF23:30
En frappant il est possible d'afficher les programmes de tous les jours de la semaine.
Frapper la touche RESET pour programmerme le DIMANCHE comme jour de repos hebdomadaire, en excluant la mise en marche et l'arrêt automatique. Le message suivant s'affiche:
Dimanche Ropos Hebdo
Pour réactiver la mise en marche / arrêt automatique, frapper la touche ENTER.
Pour confirmer la programmation, frapper la touche ▲ pour passer à l'affichage des programmes du jour suivant. En frappant la touche ENTER l'heure de mise en marche se met à clignoter; utiliser les touches ▲▼ pour augmenter / diminuer l'heure.
Après avoir programmes l'heure désirée, frapper ENTER pour programmermer le jour suivant. Àpres le SAMEDI en frappant la touche on returne au menu principal.
9. ECONOMIE ENERGIE
Le temps après lequel la machine active le dispositif d'économie énergétique se programme en maintainant toute fois la chaudière à la température de service:
En frappant la touche ENTER il est possible d'acceder au sous-menu.
1 Heure:Minutes
Touches ▲▼ augmenter / diminuer de 30 minutes en 30 minutes le temps au-delà duquel la fonction ECONOMIE ENERGIE est activée
Si on laïsse le compteur à zéro, la fonction est exclue. Touche RESET pour quitter le sous-menu et returner au menu principal avec confirmation de la valeur programmée.
7.5 CYCLE DE PROGRAMMATION MODALITE TECHNICIEN
Pour acceder aux fonctions programmables uniquement dans la MODALITE TECHNICIEN, parcourir toutes les fonctions accessibles dans la MODALITE UTILISATEUR jusqu'à ce que le message suivant s'affiche:
Password
Entrer le mot de passer correct pour acceder à la première option du menu de programmation accessible dans la MODALITE TECHNICIEN.
REMARQUE: Le mot de passer standard programme est:

Par conséquent, pour avoir accès aux fonctions réservées au technicien, dans le cas d'un premier accès ou si le mot de passer n'a pas été modifié, il est nécessaire de frappe-cinq fois de suite sur la touche du tableau à toussoirs de la machine.
10. PRE-INFUSION
En frappant la touche ENTER il est possible d'acceder au sous-menu.
Programmation, pour chaque boisson, de la possibilité d'effectuer la pré-infusion de la pastille de café (OUI ou NON).
1 Pré-infusion Café serré
2 Pré-infusion 2 Cafés serrés
3 Pré-infusion Express
4 Pre-infusion 2 Express
5 Pré-infusion Café
6 Pré-infusion 2 Cafés
7 Pré-infusion Café crème
8 Pré-infusion Café au lait
9 Pré-infusion Nuage de lait
10 Pré-infusion Cappuccino
11 Pre-infusion Big Cappuccino
Touches confirmation / annulation de la preinfusion de la pastille.
Touche RESET pour quitter le sous-menu et returner au menu principal avec confirmation de la valeur établie.
Touche ENTER pour faire défiler chaque option du sous-menu et confirmer la valeur programmée
11. PRESSAGE
En frappant la touche ENTER il est possible d'acceder au sous-menu.
Programmation, pour chaque boisson, de la compression de la pastille (OUI ou NON).
1 Pressage Café serre
2 Pressage 2 Cafés serrés
3 Pressage Express
4 Pressage 2 Express
5 Pressage Café
6 Pressage 2 Cafés
7 Pressage Café crème
8 Pressage Café au lait
9 Pressage Nuage de lait
10 Pressage Cappuccino
11 Pressage Big Cappuccino
Touches confirmation / annulation compression de la pastille pour la réalisation de la boisson relative.
Touches RESET pour quitter le sous-menu et returner au menu principal avec confirmation de la valeur établie.
Touche ENTER pour faire défilier chaque option du sous-menu et confirmer la valeur programmée.
12. QUANTITE MARCS
En frappant la touche ENTER il est possible d'acceder au sous-menu.
Programmation du nombre de marcs de café au-delà duquel l'affichage visualise le message conseillant de vider le tiroir des marcs et la machine se bloque pour permettre l'opération en toute sécurité.
Touches ▲▼ augmenter / diminuer le nombre de marcs pour procéder à l'opération de vidage du tiroir des marcs de café.
Touche RESET pour quitter le sous-menu et returner au menu principal avec confirmation de la valeur établie.
Touche ENTER invalidée.
13. ALARME LAV. LAIT
En frappant la touche ENTER il est possible d'acceder au sous-menu.
Programmation du nombre d'heures, depuis la derniere distribution de lait, au-delà duquel l'affichage visualise l'avis de nettoyage du générateur de mousse pour cappuccino.
Touches ▲▼ augmenter / diminuer le nombre d'heures pour la visualisation du message de nettoyage du générateur de mousse.
Touches RESET pour quitter le sous-menu et returner au menu principal avec confirmation de la valeur etablie. Touche ENTER invalidée.
14. ALARME LAVAGE
En frappant la touche ENTER il est possible d'acceder au sous-menu.
Programmation du temps de repositionnement du groupe.
Touches ▲▼ augmenter / diminuier le temps de remontée du moteur.
Touche RESET pour quitter le sous-menu et returner au menu principal avec confirmation de la valeur établie. Touche ENTER invalidée.
Il est possible, en frappant la touche ENTER, d'acceder au sous-menu.
Le nombre d'impulsions de l'ENCODER est programmé pour que la chambre d'infusion attaigne la position de stand-by.
Touches augmenter/diminuer le nombre d'impulsions de l'ENCODER.
Touches RESET quitter le sous-menu et revenir sur le menu principal avec confirmation de la valeur programmée.
Touche ENTER exclusion.
NOTE: Il est recommandé de modifier la programmation seulement si le motoréducteur original est remplace avec un motoréducteur de type différent.
Il est possible, en frappant la touche ENTER, d'acceder au sous-menu.
Le nombre d'impulsions de l'ENCODER estprogramme pour que la chambre d'infusion atteignela position supérieure (chambre fermée).
Touches augmenter/diminuer le nombre d'impulsions de l'ENCODER.
Touches RESET quitter le sous-menu et revenir sur le menu principal avec confirmation de la valeur programmée.
Touche ENTER exclusion.
NOTE: Il est recommandé de modifier la programmation seulement si le motoréducteur original est remplace avec un motoréducteur de type différent.
17. REGLAGE MOULIN
En frappant la touche ENTER il est possible d'acceder au sous-menu.
Programmation de la possibilité d'incrementer les temps de mouture de 0.1 sec tous les 250 - 1000 débits.
En programmant ce paramètre sur 0, la fonction est invalidée.
Touches ▲▼ augmenter / diminuer le nombre de débits au-delà duquel on obtient l'increment du temps de mouture.
Les valeurs selectionnables sont 0, 250, 500, 750, 1000. Touche RESET pour quitter le sous-menu et returner au menu principal avec confirmation de la valeur établie.
Touche ENTER invalidée.
18. TEMP.CAFE
En frappant la touche ENTER il est possible d'acceder au sous-menu.
Programmation de la température de la chaudière café.
Touches ▲▼ augmenter / diminuier la température de la chaudière café.
La température maximum programmable est 105^ (221^) . Touche RESET pour quitter le sous-menu et returner au menu principal avec confirmation de la valeur établie. Touche ENTER invalidée.
19. TEMP. VAPEUR
En frappant la touche ENTER il est possible d'acceder au sous-menu.
Programmation de la température de la chaudière vapeur.
Touches ▲▼ augmenter / diminuer la température de la chaudière vapeur.
La température maximum calculable est 130^ (266^)
Touche RESET pour quitter le sous-menu et returner au menu principal avec confirmation de la valeur établie.
Touche ENTER invalidée.della caldaia vapore.
20. COMPTAGE TOTAL 1 (seulement version à double moulin)
Il est possible, en frappant la touche ENTER, d'acceder au sous-menu.
L'affichage visualise le nombre de cycles effectués par chaque touche boisson après l'utilisation du moulin à café de croite.
Les touches permettent de faire defiler les différences totaux des cycles associés à chaque touche utilisée.
La touche RESET permet de revenir sur le menu precedent.
Sur la première position, en maintainant la touche appuyée, l'affichage visualise le total absolu des doses produites par la machine, en utilisant le moulin à café de croite.
Ex.
En frappant une fois la touche 1Expresso et une fois la touche 2Expresso, on peut dire sur l'affichage:



Pour remetre à zéro les comptages des différents cycles, frapper simultanément les touches ▲▼. L'afficheur visualise le message "Counters Reset".
21. COMPTAGE TOTAL 2 (seulement version à double moulin)
Il est possible, en frappant la touche ENTER, d'acceder au sous-menu.
L'affichage visualise le nombre de cycles effectués par chaque touche boisson après l'utilisation du moulin à café de gauche.
Les touches permettent de faire defiler les différences totaux des cycles associés à chaque touche utilisée.
La touche RESET permet de revenir sur le menu precedent.
Sur la première position, en maintainant la touche appuyée, l'affichage visualise le total absolu des doses produites par la machine, en utilisant le moulin à café de gauche.
Pour remetre a zéro les comptages des différents cycles, frapper simultanément les touches . L'afficheur visualise le message "Counters Reset".
22. COMPTAGE TOTAL (Toutes les versions)
Il est possible, en frappant la touche ENTER, d'acceder au sous-menu. L'afficheur visualise:
- Le nombre de cycle effectuels par chaque touche boisson après l'utilisation du moulin à café de croite et de gauche.
Total decaféiné
Total Cycles de lavage
Total Vapeur
Total Eau Chaude
Total litres d'Eau
Touches ▲▼ permet de faire défilier les différents totaux.
La touche RESET permet de revenir sur le menu precedent.
Sur la première position, en maintainant la touche appuyee, l'affichage visualise le total absolut des doses produites par la machine.
Pour remetre à zéro les comptages des différents cycles et les totaux de caféiné, vapeur, eau chaude, frapper simultanément les touches ▲▼. L'afficheur visualise le message "Counters Reset".
23. MOT DE PASSE

En frappant la touche ENTER il est possible d'acceder au sous-menu qui permet de programme le nouveau mot de passer d'acces aux fonctions programmables dans la MODALITE TECHNICIEN.
Taper une combinaison de 5 touches (parmi les 8 à disposition sur le clavier) et programmer le nouveau mot de passer désiré.
Touche RESET pour quitter le sous-menu et returner au menu principal avec confirmation de la valeur établie. Touche ENTER pour confirmier la donnée programmée.
24. SMART CARD
En frappant la touche ENTER il est possible d'acceder au sous-menu qui permet de programmeur la validation du lecteur SMART CARD.
En mettant le paramètre sur « SI», la fonction est validée.
Touches ▲▼ pour valider (SI) / exclure (NO) le lecteur SMART CARD.
25. Filtre EAU L
En frappant la touche ENTER il est possible d'acceder au sous-menu.
Programmation du nombre de litres d'eau distribuée au-delà duquel l'affichage visualise l'avis de nettoyage du filtré de l'eau.
Touches ▲▼ augmenter / diminuer le nombre de litres d'eau distribuée pour la visualisation du message de nettoyage du filtré de l'eau.
Touche RESET pour quitter le sous-menu et returner au menu principal avec confirmation de la valeur établie. Touche ENTER invalidée.
26. DECALCIFICATION

(Uniquement sur Microbar avec version à réservoir)
En frappant la touche ENTER il est possible d'acceder au sous-menu.
Le premier message qui s'affiche est relatif à la possibilité de pouvoir programmer la durée de l'eau:
A l'aide de la touche il est possible d'acceder au cycle de décalcification à proprement parlé.
Durete Eau°Fr
Les touches permettent de selectionner l'une des deux fonctions.
Décalcification
Début Cycle?
La touche ENTER permet d'effectuer la fonction selectionnée.
La touche RESET permet de returner sur un niveau de menu précédent.
26.1 PROGRAMMATION DURETE DE L'EAU
Il est possible de programmer la durée de l'eau en degrés français, puis l'alarme pour l'execution du cycle de décalcification.
Lorsque le message suivant s'affiche:
Durete Eau°Fr
En frappant la touche ENTER il est possible d'acceder à la fonction.
L'écran affiche:
Durete Eau °Fr 00
Les touches permettent de programmer (augmenter/diminuer) le paramètre de durée de l'eau.
En frappant la touche ENTER on returne sur le menu principal en enregistrant la donnée programmée.
En frappant la touche RESET on returne sur le menu principal sans enregistrer la donnée programmée.
Le tableau suivant permet de localiser la correspondance entre la durée programme et le nombre de litres d'eau consommée au-delà desquels l'écran affiche le message “EFFECTUER DECALCIFICATION”.
| DURETE EAU °FR | LITRES EAU |
| 1-7 1500 | |
| 8-30 1000 | |
| 31 | 500 |
| 00 | Alarme exclue |
REMARQUE:
L'alarme "EFFECTUER DECALCIFICATION" n'interrrompt pas le fonctionnement de la machine, et elle se rétablit après avoir effectuer le cycle de décalcification, en même temps que le compteur des litres.
Si la valeur programmée est "00" l'alarme est exclue.
26.2 CYCLE DE DECALCIFICATION
Exécution du cycle de décalcification des chaudières de la machine.
Lorsque I'ecran affiche le message
Décalcification
Début Cycle?
En frappant la touche ENTER on commande le lancement du cycle de décalcification.
OPERATIONS:
- Avant d'entamer le cycle de décalcification, remplir le réservoir avec la solution d'eau et de produit décalcifiant.
REMARQUE: Utiliser au moins 2 litres (0.52 gal) desolution.
Lorsque le message suivant s'affiche:
Décalcification Début Cycle?
- Frapper la touche ENTER;
- La machine commence à prélever la solution dans le réservoir tout en expulsant simultanément de l'eau chaude à travers la lance.
La machine affiche:
Decalcification Attendre Merci
Lorsque le premier litre de solution a eté aspiré, la machine s'arrête pendant 5 minutes, avant de recommencer à aspirer un autre litre de solution.
Au terme de l'attente, I'écran affiche le message:
- Rincer le réservoir et le replir à nouveau avec de l'eau propre (sans éteindre la machine).
REMARQUE: utiliser au moins 4 litres (1,06 gal) de solution, autrement i faut relancer le cycle.
- Attendre ensuite environ 5 minutes.
- Au terme de l'attente, l'affichage visualise:
Rincage Presser Enter
- En frappant la touche ENTER, la machine entame le cycle de rinceage, en prélevant 2 litres d'eau dans le réservoir et en l'expulsant à travers la lance.
- Pendant cette phase, la machine affiche:
Rincage Attendre Merci
- Au terme des 2 litres d'eau prélevés dans le réservevoir, la machine affiche à nouveau:
Rincage Presser Enter
En frappant à nouveau la touche ENTER la machine entame la seconde phase du cycle de rincage, en prélevant 2 autres litres dans le réservoir, et elle affiche le message:
Rincage Attendre Merci
Au terme de la phase de rincege, la machine affiche le message:
Chauffage Attendre Merci
Attendre le rechauffement de la machine pendant quelques minutes, après quoi la machine se repositionne sur l'etat de machine prete.

ATTENTION
Pendant la phase de rechauffement, il est possible que quelques gouttes d'eau ou de vapeur sortent de la lance de l'eau chaude.

ATTENTION
Au terme du cycle de décalcification, il est conseillé d'actionner la vapeur pendant quelques minutes.
8. FONCTIONS SPECIALES MISE AU POINT MACHINE
8.1 REMISE A ZERO COMPTEUR LITRES EPURATEUR
Cette fonction permet de remettre a zéro le nombre total de litres d'eau consommés. La procEDURE se fait de la façon suivante:
- Couper la tension électrique à la machine en agissant sur l'interrupteur général (OFF).
- Alimenter la machine en agissant sur l'interrupteur général (ON), en maintainant la touche:
7
appuyée jusqu'à ce que l'affichage visualise le message:
Reset Filter Eau Attendre Merci
8.2 REMISE A ZERO CYCLE LAVAGE
Cette fonction permet de remettre a zéro le nombre totale des cycles de lavage effectués. La Procedure est la suivante:
- Couper la tension electrique à la machine en agissant sur l'interrupteur général (OFF).
- Alimenter la machine en agissant sur l'interrupeur général (ON), en maintainant la touche:
5
appuyée jusqu'à ce que l'affichage visualise le message:
Reset Lavage Attendre Merci
8.3 REMISE A ZERO PARAMETRES
Cette fonction permet d'éliminer les données de fonctionnement erronées et revenir aux valeurs de Programmation Standard (voir tableau VALEURS DE PRESET). La méthode est la suivante:
- Couper la tension électrique à la machine en agissant sur l'interrupteur général (OFF).
- Alimenter la machine en agissant sur l'interrupeur général (ON), en appuyant en même temps les touches:
ENTER
1
; 3
e RESET
I'affichage indique:
Attendre Merci
Preselect Date
8.4 DEPLACEMENT MANUEL GROUPE DE DISTRIBUTION CAFE
Cette fonction permet d'actionner manuellement le moteur constituant l'automatisation du groupe de distribution café. La procEDURE est la suivante:
- Couper la tension électrique à la machine en agissant sur l'interrupteur général (OFF).
- Alimenter la machine en agissant sur l'interrupeur général (ON), en appuyant en même temps
les touches 2 l'affichage indique:
e 4
Manuel Mouvement
IMPORTANT: Lors de la mise en marche de la machine, par le fait que l'on utilise la touche pour acceder à cette ambiance de programmation, le déplacement piston se met en marche automatiquement vers le bas.
- Frapper la touche pour déplacer le piston vers le BAS.
Frapper la touche 2 pour deplacer le piston vers le HAUT.
Puis ré-alimenter la machine au moyen de l'inter-rupteur général pour terminer la procédure.
9. NETTOYAGE ET ENTRETIEN

ATTENTION
Ne JAMAIS utiliser de jets d'eau pour le nettoyage de la machine.
Durant l'entretien/réparation, les composants utilisés doivent garantir le maintain des conditions d'hygiene et de sécurité prévues pour le dispositif. Les pieces de rechange originales fournissent cette garantie.
Après une réparation ou une substitution de composants qui concernent des parties qui sont en contact avec l'eau et les alimentés, il faut effectuer la procédure de lavage ou suivre les procédures indiquées par le constructeur.
9.1 NETTOYAGE DE LA CARROSSERIE
Avant d'effectuer toute opération de nettoyage, il est nécessaire demettre la machine à l'état énergétique "O" (à savoir, interrupteur machine eteint et fiche débranchée).


ATTENTION
Ne jamais utiliser de solvants, de produits à base de chlore ou d'abrasifs.
Nettoyage de la zone de service: retarder le plan de travail en boulevant la partie antérieure et en la faisant glisser; retarder le plateau sous-jacent de récapération de l'eau et nettoyer le tout avec de l'eau chaude et du détergent.
Nettoyage de la structure exter: pour le nettoyage des panneaux, utiliser un chiffon humide et souse
9.2
NETTOYAGE GROUPE DE DISTRIBUTION ET GENERATEUR DE MOUSSE POUR CAPPUCCINO
REMARQUE: Suivre également les instructions reportées sur l'étiquette appliquée à
l'intérieur du volet antérieur.

Fig. 36
REMARQUE: Avant d'effectuer le cycle de lavage, il est conseillé de contrôle et de rétablin le niveau d'eau à l'intérieur du réservoi.
La machine est prédisposée pour effectuer le nettoyage du groupe de distribution au moyen de pastilles et le nettoyage du circuit du lait au moyen d'un liquide détergent
La machine entamera le cycle de lavage qui consiste dans la distribution d'eau chaude interrompue par des intervalles de temps mort; le cycle a une durée totale d'environ 4 minutes.
Il est recommandé d'effecteur le LAVAGE au moins une fois par jour avec les détergents appropriés.

ATTENTION RISQUE D'INTOXICATION
Lorsqu'un cycle de lavage avec des pastilles détergentes a démarre, nous rappelons de ne pas l'interrompre afin d'éviter que des résidus de pastille ne demeurent à l'intérieur de la machine. Pour effectuer le lavage, procéder comme suit:
- Position un recipient avec de l'eau pres de la machine.
- Introduire à l'intérieur le tube d'aspiration.
- Ajouter le produit spécifique pour le nettoyage (20 ml [0.005 Gal] de Puly Milk).

4. Ffapppeataouche:

- Maintainir la touche appuyee pendant environ 5 secondes jusqu'à l'affichage du message suivant:
Lavage Detergent
- Ouvrir le couvercle d'accès au café moulu.
- Introduire la pastille de détergent (Puly Caff) et refermer le couvercle.

- Frapper la touche:

L'affichage indique:
Lavage

ATTENTION
Si la touche "DECAFEINE" n'a pas ete frappee, la machine pourvoit, après environ 20 secondes, a poursuivre automatiquement le cycle de lavage.
REMARQUE: Pendant le lavage, les touches doses sont invalidées.
A la fin du cycle de lavage, l'affichage visualise:
Rincage Presser ENTER
Repositionner un réseau ne contenant que de l'eau, et frapper la touche ENTER: la machine exe-cute le cycle de rincage et l'affichage visualise:
Rincage
REMARQUE: Pendant la phase de rincege, placer un
récipient sous le groupe de distribution ou vider le bac de récapération des gouttes au terme du cycle de lavage et de rincege.
9.3
REPRISE LAVAGE
D'UN IN
INTERROMPL
- Si le cycle de lavage s'interrompt, parce que l'on a coupé l'alimentation électrique, lors de l'allumage successif le groupe se positionne en phase de repos et l'affichage indique:
Demarrer Lavage
- Frapper à nouveau la touche "DECAFEINE" de façon à répéter les procédures à peine décrites au paragraphe "NETTOYAGE DU GROUPE DE DISTRIBUTION ET DU GENERATUR DE MOUSSE POUR CAPPUCCINO".
9.4
NETTOYAGE RECIPIENT ET CONVOYEUR DU CAFE

ATTENTION RISQUE DE BRULURES
- Mettre la machine à l'état énergétique "O".
- Introduire la clé dans la serrure relative.
- Tourner la clé d'ouverture du portillon des commandes dans le sens inverse aux aiguilles d'une montre.
- Ouvrir le portillon des commandes.

Fig. 39
- Eliminer les évventuels résidus de café déposés sur les parois du convoyeur.

Fig. 40
9.5 NETTOYAGE BECA VAPEUR
Nettoyer le bec à vapeur à chaque fois qu'on l'utilise pour rechauffer les boissons.

ATTENTION RISQUE DE BRULURES
Si le nettoyage est effectué alors que le bec à vapeur est encore chaud, éviter le contact direct avec les mains non protégées.
Utiliser un chiffon légarement imbibé d'eau chaude et/ou de détergent neutre.

9.6 NETTOYAGE GRILLE DU BAC DE RECUPERATION DES GOUTTES
- Nettoyer la grille avec de l'eau chaude et du savon en utilisant une brosse.

9.7 NETTOYAGE BAC DE RECUPERATION DES GOUTTES
- Nettoyer le bac de récapération des gouttes avec de l'eau chaude et du savon en utilisant au besoin une Brosse.
REMARQUE: Le bac de récapération des gouttes peut être nettoyé en lave-vaisse.


ATTENTION
Ne jamais utiliser aucun type de solvant.
9.8 NETTOYAGE RESERVOIR EAU

ATTENTION
Eteindre la machine avant de replir ou d'extraire le réservoir.
- Nettoyer le réservoir avec de l'eau chaude et du savon en utilisant eventuellesment un goupillon.

REMARQUE: Rincer soigneusement de façon à évier la dépose de résidus au fond du réservoir.
9.9 NETTOYAGE GARNITURE DU GROUPE
- A l'aide d'une Brosse, nettoyer les incrustations ou les résidus de café sur le piston et dans la chambre du groupe de distribution, ainsi que toutes les parties sales de café.

9.10 NETTOYAGE GENERATEUR DEMOUSSE POUR CAPPUCCINO
REMARQUE: Suivre les instructions reportées sur l'étiquette appliquée à l'intérieur du volet antérieur.

- Mettre la machine à l'etat énergétique "O".
- Introduire la clé dans la serrure relative.
- Tourner la clé d'ouverture du portillon des commandes dans le sens inverse aux aiguilles d'une montre.
- Ouvrir le portillon des commandes

IMPORTANT: Proceder avec grande attention.
- Extraire tout le groupe de distribution avec le générateur de mousse en le tirant vers soi.
- Extraire le générateur de mousse du groupe de distribution, en le glissant vers le haut.

Fig. 48
- Debrancher tous les tubes qui y sont reliés.
- Demonter le générateur de mousse et le laver soigneusement.

Fig. 49
REMARQUE: Pour des intervalles de temps entre un cappuccino et un autre supérieurs à une heures, il est conseilé d'effectuer un nettoyage du générateur de mousse en plongeant le tube d'aspiration du lait dans l'eau chaude只想 que dans le lait.
- Pour le remontage, proceder dans le sens inverse en faisant attention à la connexion des tubes du générateur de mousse.
REMARQUE: Pour facilitier le remontage, une éti-quette d'instructions a eté appliquée à l'intérieur du volet antérieur:
- Effectuer le nettoyage du bac de récapération des gouttes (voir paragraphe "NETTOYAGE BAC DE RECAPULATION DES GOUTTES).
10. TABLEAU DES DONNEEES DE PROGRAMMATIONS STANDARD
| BOISSONS | DOSE | TEMPS | DOSE | PRE-INFUSION | PRESSAGE | |
| CAFE (cc) | MOUTURE (sec) | URE (sec) | ||||
| Café serré | 40 | 7 | Non | Oui | ||
| 2 Cafés serrés | 80 | 9 | Non | Non | ||
| Express | 50 | 7 | Non | Oui | ||
| 2 Express | 100 | 9 | Non | No | ||
| Café | 60 | 7 | Non | Oui | ||
| 2 Cafés | 120 | 9 | Non | Non | ||
| Café crème | 100 | 7 | Non | Non | ||
| 2 Cafés crème | 200 | 9 | Non | Non | ||
| Cappuccino | 50 | 7 | 12 | Non | Oui | |
| Big Cappuccino | 60 | 7 | 15 | Non | Oui | |
| Nuage de lait | 50 | 7 | 12 | Non | Oui | |
| Café au lait | 60 | 7 | 12 | Non | Oui | |
| Lait | 15 | |||||
| Eau chaude | 20 | |||||
| Vapeur | 55 | |||||
| Nombre de marcs | 20 | |||||
| Alarmé lavage lait | 00 | |||||
| Alarmé lavage | 00 | |||||
| Réglage groupe 1 | 275 | |||||
| Réglage groupe 2 | 540 | |||||
| Température café | 98 (°C) | |||||
| Température vapeur | 125 (°C) | |||||
| Filtre eau | 00 | |||||
| Réglage moulin à café | 00 | |||||
| Lavage fin de service | ON | |||||
| Mot de passage | NON | |||||
| Smart Card | 00 | |||||
| Economie d'énergie | 00 | |||||
| Dureté Eau °Fr | 00 | |||||
NOMBI
11.-messages fonctions MACHINE
| INDICATION AFFICHAGE | CAUSE | EFFET | SOLUTION | REMARQUE |
| TIROIR MARCS PLEIN PLEINMachine PreteTiroir Plein | Le tiroir àmarc est plein. Le nombre dermcés de cafécontenus dans letiroir a atteint la valeur maximumprogrammée enphase de pro-grammation. | Blocage des touches de dis-tribution des boissons à base de café. | Extraire le tiroir àmarc et le vider dans un réseau de récu-pération des déchets.Remétre le tiroir en place si l'affichage indique le message:Machine PreteTiroir Ouvert | |
| TIROIR MARCS NON ENPLACEMachine PreteTiroir Ouvert | Le tiroir à marcn'est pas à sa place. | Blocage des touches de distribution des boissons à base de café. | Introduire le tiroir àmarcdans son logement.Si cette alarmé se mani-festependant l'exécutiond'une boisson à base dedcafé: · jusqu'à l'infusion, l'alarme est visua-lisée sur l'affichage mais la boisson est distribuée; · après l'infusion, le cycle en cours est interrompu. Seulement lorsque le tiroir aura été remis en place, le cycle café reprend avec la phase d'expulsion.Si cette alarmé se mani-festependant une phase de reset du mouvement groupe: · le mouvement du groupe est interrom-pu.Lorsque le tiroir est remis en place, le cycle de reset groupe se répêteset. | |
| POSITION PORTILONMACHINEMachine OFFPorte Ouverte | Portillon ouvert. | Blocage des fonctions machi-ne. | Fermer le portillon machine. | |
| NECESSITE D'ÉFFECTUER LE CYCLE DE LAVAGE | Le nombre de cycles programmé, au-delà duquel il est nécessaire d'effectuer le nettoyage du groupe, a été dépassé | Le message est affché mais la machine continue à distribuer les boissons. | Effectuer un cycle de lavage (voir paragraphe relatif "NETTOYAGE DU GROUPE DE DISTRIBUTION ET DU GENERATEUR DEMOUSSEPOUR CAPPUCCINO"). | |
| Alarm Lavo. Lait | Le nombre d'heures pro-grammè depuis la dernière distribution de boisson à base de lait au-delà duquel il est nécessaire d'effectuer le nettoyage du circuit du lait a été dépassé. | Le message est affché mais la machine continue à distribuer les boissons. | Effectuer un cycle de lavage uniquement du générateur de mousse pour cappuccino. Comme pour le lavage complet, il est nécessaire de main-tenir la touche appuyée pendant 5 secondes, mais sans devoir introduire les pastilles détergentes pour le nettoyage du groupe. (voir les points 1, 2, 3, 4 du paragrophe "NETTOYAGE DU GROUPE DE DISTRIBUTION ET DU GENERATEUR DE MOUSSE POUR CAPPUCCINO") | |
| LAVAGE FIN DE SERVICE | Le lavage de fin de service du groupe distribuéur de boisson a été programmé en phase de programmation. | Il est nécessaire d'effectuer le lavage de fin de service avant d'éteindre la machine. | Frapper la touche ENTER comme indiqué sur l'affiche. La machine effectue automatique le lavage de fin de service en distribuant environ 50cc d'eau et s'accête. | |
| LavageFinJourneye Press Enter | ||||
| NECESSITE D'ÉFFECTUER LE CYCLE DE DECALCIFICATION | Dépassemmentdu nombre de litres au-delà duquel il est nécessaire d'effectuer le cycle de décal-cification. | Le message est affché mais la machine continue à distribuer les boissons. | Effectuer le cycle de décalcification (VOIR paragraphe "DECALCIFICATION") | |
| Decalcification S.U.P. |
12. MESSAGES D'ALARME BLOCAGES MACHINE
| INDICATION AFFICHAGE | CAUSE | EFFET | SOLUTION | REMARQUE |
| ALARME GROUPE MOTEURPISTONSUPERIEUR | Pendant la phase de déplacement du groupe, le piston supérieur à dépassé le tempsmaximumprogrammé de 10 secondes avant la détection de pointemotor. | L'unitéde contrôlebloque l'éventuelcycle en cours,en éteignant lesactionneurs quigérant le déplacement ainsi queles actionneursdestinés à ladistribution desboissons, l'opérateur ne peutpas effectuer desélections sur leclavier. | Ouvrir puis reférer le portillonmachine. | Si l'alarmeapparait une seconde fois,contacter leTechnicienQualifié. |
| XxxxxErreur Groupe | ||||
| ALARME REMPLISSAGCHAUDIERE | La phase de rem-plissagechaudière à dépassé le temps maximumde 3 minutes ; lasonde de niveauest découverte. | La machine s'ar-réte. | Si l'alarmeparrait une seconde fois,contacter leTechnicienQualifié. | |
| Niveau | ||||
| ALARME TURBINELorsque l'alarme est détectée,l'unité de contrôle-alternes surl'affichage le message relat à laboisson en cours de préparationet le message d'erreur associé à cette fonction. Par exemple : | Le compteur volumétrique n'envoie pasd'impulsions àla centrale pen-dant 5 secondes. | La distributionde boisson continu pendant 60seconds oujusà la pres-sion d'une touchequelconquese associée à uneboisson à base de café. | Ouvrir puis reférer le portillonmachine.L'unité de contro-le repête la procédure de remiseen marche de la machine. | Si la condi-tion d'alarmepersisté, lamachinpeut être utilisée comme unem a c h i n e manuelle.Frapper latouche dési-rieepour actionner ladose;Frapper cettemèmetouchepour arrêtert la doseen cours,une fois que la dosest dans la tasse.Contacterle ServiceTechnique. |
| Erreur Doseur | ||||
| ALARME RESERVOIR VIDE | Le réservoir d'eau est vide. | Le café n'est pas distribué et la dose en cours est interrompue. | Remplir le réservoir d'eau. | Utiliser la touche Eau Chaude pour éliminer les évventuelles bulles d'air. |
| Reservoir | ||||
| ALARME EPURATEUR | Le compteur volumétrique a atteint le nombre de litres d'eau pouvant être distribués, établi lors de la pro-grammation. | Le café n'est pas distribué, la dose n'est pas interrompue ou est variable. | Renouveler les sels de l'épu-rateur. Pour annuler l'alarme, voir paragraphe "REMISE A ZERO COM PTEUR L I T R E S EPURATEUR". | Cette alarme ne bloque pas les distribu-tions. Il est possible d'éliminer l'alarme épurateur en pro-grammant la valeur des litres à zéro (voir paragraphe relatif "PPROGRAMMATION") |
| Filtre D'eau 1.28 | ||||
| ALARME SONDE TEMPERATURE ENDOMMAGEE | Rupture de l'une des deux sondes de température. | Le café n'est pas distribué. | Remplacer la sonde endomma-gée. | Cette alarme bloque les distributions. |
| Error Temp Cafe | ||||
| Err. Temp Vapeur | ||||
| ALARME QUANTITE DE CAFE | Trop de café dans la cham-bre. | Le café n'est pas distribué, et un cycle d'expulsion est effectué. | Réduire la quantité de café. | |
| Err.Quant.Cafe |
Notice Facile