Microbar AD - Maquina de cafe NUOVA SIMONELLI - Manual de uso y guía de instrucciones gratis
Encuentra gratis el manual del aparato Microbar AD NUOVA SIMONELLI en formato PDF.
Preguntas de los usuarios sobre Microbar AD NUOVA SIMONELLI
0 pregunta sobre este aparato. Responde a las que conoces o haz la tuya.
Hacer una nueva pregunta sobre este aparato
Descarga las instrucciones para tu Maquina de cafe en formato PDF gratis! Encuentra tus instrucciones Microbar AD - NUOVA SIMONELLI y toma tu dispositivo electrónico nuevamente en la mano. En esta página están publicados todos los documentos necesarios para el uso de su dispositivo. Microbar AD de la marca NUOVA SIMONELLI.
MANUAL DE USUARIO Microbar AD NUOVA SIMONELLI
CAPPUCCINO BIG CAPPUCCINO


INSTRUCCIONES DE MANEJO
Con la compra del modelo MICROBAR usted ha hecho una optima elección.
Es por thiso que usted ahora noiene un simple erogador de café, sino una verdadera y propia maidena para cafe expresso completeness automatica y enteramente dirigida por un microprocesador. Esto quere decir extremada fiabilitad y calidad de uso.
Estamos seguros que nuestro modelo MICROBAR aumento la confianza hacla La Nuova Simonelli y Usted seguramente aconsejará aothers la adquisión de estaquina de café, desde el momento que el modelo MICROBAR ha sido elegido para augmentar la rentabilidad del service cafeteria optimizando al mayoros los costes del ejercicio.
Estaquina ha sido construida siguiendo las directivas CEE 89/392, CEE 89/336, CEE 89/109 y suscesivasmericanas.
Cordialmente
(Confugración estandar) 79
1.2 DESCRIPCION INTERNA MICROBAR 79
- PRESCRIPCIONES DE
SEGURIDAD 81
- TRANSPORTE Y GESTION
3.1 IDENTIFICACION MAQUINA 85
3.2 TRANSPORTE 85
3.3 GESTION 85
- INSTALLACION Y OPERACIONES
PRELIMINARES 86
4.1 INSTALLACION MAQUINA VERSION
CON TANQUE 86
4.2 INSTALLACION MAQUINA VERSION CON
CONEXION DIRECTA 37
4.3 LLENADO CONTENEDOR CAFÉ
4.4 ENCENDIDO 88
4.5 ENCENDIDO 88
- REGULACION DEL TECNICO
CUALIFICADO 89
5.1 REGULACION DEL GRADO DE MOLIENDA...89
5.2 REGULACION AIRE CAPUCHINADOR 89
5.3 REGULACION FLUJO DE LA LECHE 89
- UTILIZACION 90
6.1 ENCENDIDO 90
6.2 APAGADO 90
6.3 CONFIGURACION ESTANDAR 90
6.4 CONFIGURACION SELECTION 91
6.5 PREPARACION CAFE 91
6.6 PREPARACION 2 CAFES 92
6.7 PREPARACION CAFÉ CORTO CAFÉ CREMA.92
6.8 PREPARACION CAFE LECHE 92
6.9 PREPARACION CAPUCHINO,
CAPUCHINO GRANDE 92
6.10 MANCHADO (3 capas:leche/café/leche) 93
6.11 LECHE CALIENTE 93
6.12 PREPARACION CAFÉ DESCAFEINADO
EN POLVO 93
6.13 USO SEGUNDO MOLINILLO
(SOLO version con doble molino) 93
6.14 AGUA CALIENTE 94
6.15 VAPOR 94
7.PROGRAMACION 95
7.1 LEYENDA 90
7.2 PROGRAMACION 95
7.3 SALIDA DE LA PROGRAMACION 96
7.4 CICLO DE PROGRAMACION MODO USUARIO .. 96
7.5 CICLO DE PROGRAMACION
MODO TECNICO 99
- FUNCIONES ESPECIALES CALIBRADOS MAQUINA 104
8.1 PONER A CERO EL CONTADOR LITROS
DEPURADOR 105
8.2 PONER A CERO LOS CICLOS DE LAVADO.. 105
8.3 PONER A CERO PARÁMETROS MAQUINA..105
8.4 GESTION MANUAL
GRUPO EROGACION CAFE 105
- LIMPIEZA Y MANTENIMIENTO 105
9.1 LIMPIEZA DE LA ESTRUCTURA 105
9.2 LIMPIEZA DEL GRUPO EROGADOR Y
CAPUCHINADOR 105
1 Tapa acceso contentedor café en granos
2 Panel comandos
3 Puerta delantera
4 Lanza vapor/Lanza agua caliente
5 Rejilla conteditor recipientede goteo
6 Cajon posos
7 Erogadores café
8 Salida erogacion leche/capuchino
9 Llave Apertura/Cierre puerta de commando
10 Ventanilla acceso transporte cafemolido
11 Tubo aspiración leche
12 Grifo regulación flujo leche
13 Ventanilla acceso tanque agua
14 Interruptor general (ON/OFF)
15 Enchufe de connexion a la red
16 Conteditor recipiente de goteo agua
1.1 DESCRIPCION TECLADO (Configuracion estandar)

LEYENDA
1 Tecla 1 Expreso
2 Tecla 2 Expressos
3 Tecla 1 Café
4 Tecla 2 Café
5 Botón Segundo Molinillo, Descafeinado, Ciclo Lavado
6 Tecla 1 Café leche
7 Tecla Agua Caliente
8 Tecla Vapor
9 Display LCD
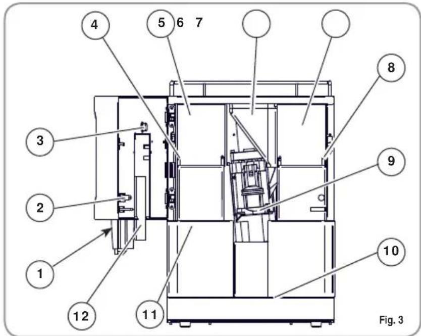
1.2 DESCRIPCION MICROBAR

LEYENDA
1 Llave - Cerradura puerta
2 Micro aperture puerta
3 Regulación aire capuchinador
4 Tornillo regulación molienda café en grano molinillo izquierdo
5 Conteditor café en grano molinillo izquierdo
6 Rampa caida café molido
7 Conteditor café en grano molinillo derechocho
8 Tornillo regulación molienda café en grano molinillo derechocho
9 Grupo erogador
10 Conteditor recipientede goteo
11 Cajon fondos
12 Capuchinador
2. PRESCRIPCIONES DE SEGURIDAD

El presente manual constituya parte integrante y esencial del producto y tendrá que ser entrega al usuario. Leer atentamente las advertencias containidas en el presentemanual ya que proportionsionan importantesindicacionesreferidas a la seguridad de instalacion,de uso y mantenimiento. Conservar con cuidado este libro de instrucciones paraequalquierulterior consulta.

Después de haber quitado el embalaje asegurar de la integridad del aparato. En caso de duda no usar el aparato y dirigirse al personal profesionalmenteriallicido. Los elementos de embalaje (saquitos de plástico, poliespan, clavos, etc.) no se deben estar al alcance de los niños ya que son poteciales fuentes de peligro, ni ser abandonados en el medio ambiente.



Laquina esADEUADA parainstalarla en ambientes comoareas de serviceo para el personal de tiendas,oficinas yotros ambientes de trabajo, en casas rurales, en espacios para clientes en hoteles, motiles,bed and breakfast yotros ambientes residencias.

Antes de conectar el aparato asegurarse que los datos de la placar correspondan a aquellos de la red de distribución electrica. La placar se encuentra en la parte posterior de laquina, abajo y a la izquierda. La instalacioniene que ser efectuada de acuerdo con las normas vigentes, segun las instrucciones del constructor y del personalriallicado.
El constructor no se可以选择 considerar responsable por eventuales daños causados por la falta de la toma de tierra en la instalación.
Para la seguridad electrica de este aparato es obligatorio predisponer la instalacion de toma de tierra, dirigiendose a un electricista autorizzato, que&Tra quecomprobar que el alcanceeletrico de la instalacion sea adecuado a la potencia maxima del aparato indicada en la placacdecharacteristicas identificadora

Fig. 5

En particular tendrá que asegurarse que la selección de los cables de la instalación sea adecuada a la potencia absorbida por el aparato.
Esta prohibido el uso de adaptadores, tomas multiples y prolongadores. En caso de que su uso sea indispensable es necesario llamar a un electricista autorizzato.

Durante la instalación del dispositivo se Tiene que usar los componentes y los materiales en dotación con el本身就是 dispositivo.
Si fuera necessario emplearthers componentes, el instaladoriene que verificar la idoneidad de los mismos para utiliserlos en contacto con el agua para consumo humano.

El instalador debe realizar las lineas hidráulicas respetando las normas de higiene y seguridad hidráulica a la protección del medio ambiente vigentes en el lugar de instalación. Por tanto paraarlo es必須o llamar a un先进技术 autorizzato.

La alimentación del dispositivo se Tiene que efectuar con agua idonea para el consumo humano conforme a las dispositionses vigentes en el lugar de instalación. El instalador tiene que adquirir del propietario/gestor del sistema confirmación de que el agua respete los requisitos arriba Mentionados.

Este aparato tendrá que ser destinado sólo al uso descririto en este manual. El constructor no se可以选择 responsibilizar de eventuales danios causados por usos inadequados, erroneos e irrationables.

Alabar la instalacion, el dispositivo es activado ylovado hasta la condidion nominal de trabajo deandolo en condiiones de "liste para el funcionajo.
Sucesivamente el dispositivo es apagado y todo el circuito hidráulico es vaciado de la prima agua introducida para eliminar eventuales impurezas iniciales.
A continuación el dispositivo es de nuevo不曾ado y llegado hasta las conditiones nominales de funciona.
Después de alcanzar el estado de “listo para el funciona” se efectuan las siguientes erogaciones:
- 100% del circuito café atramés del erogador café (para mas erogadores hay que dividir en igual medida);
- 100% del circuito agua caliente a工程技术 del erogador agua (para más erogadores hay que dividir en igual medida);
- abertura de cada una de las salidas vapor durante 1 minuto
Al acabar la instalación está una buena forma redactar un informe de todo lo efectuado.

El uso de cadaquier aparato electrico conlleva el cumplimiento de todas reglasfundamentales.
En particular:
- no tocar el aparato con manos o pies mojados;

ATENCION PELIGRO DE DESCARGA ELECTRICA

no食用 el aparato con los pies descal-zos;
-
no usar, prolongadores en locales destinados al bazo o ducha;
-
no estar el cable de alimentación, para desconectar el aparato de la red electrica;

- noURTAR expuesto el aparato a agen-tes atmosalfricos (lluvia, sol, etc.);
- noURTAR que el aparato lo usesn los niños, o personas no autorizadas y que no hayan leido y compendio estemanual.

El先进技术 autorizado debe,antes de efectuar cualquier operacion demaintenance,desconectar el enchufe de laquina.


Para las operaciones de limpiezalearvar laquina a estado energetico 0" eskaar, "INTERRUPTOR MAQUINA APAGADO Y ENCHUFE DESCONECTADO" y atenerse exclusivamente a cuando está previsto en el presente manual.

En caso de avería o de mal funciona del aparato, apagarlo. Está severamente prohibido intervenir. Dirigirse exclusivamente al personal professionnelmenterialificado.
La eventual reparación de los products tendrá que ser efectuada solamente por la casa constructora o por un centro de asistencia
Autorizado utilizing exclusivamente recambios originales.
El no respetar las normas Mentionadas precedentesmente pueda compenser la calidad del aparato.

En la instalación, el electricista autorizada tendrá que haber previsto un interruptor omnipolar como está previsto por la normativa de seguridad vigente con distancia de aperture de los contratos igual o superior a 3 mm.

Para evaporar sobrecalentimientos peligrosos se&aconseja desenrollar en toda su longuitud el cable de alimentacion.

No obstruir las rejillas de aspiracion y/o de disipacion en particular del calientatas.


El cable de alimentacion de este aparato no tiene que ser sustituido por el usuario. En caso de que se haya danado, apagar el aparato y para su sustitución dirigirse exclusivamente al personal profesionalmenteriallicado.

Cuando se decide no usar más un aparato de este tipo se aconseja hacerlo inoperante, después de haber desconectado el enchufe, cortando el cable de alimentación.

ATENCLON PELIGRO DE CONTAMINACION

Noalar abandonada la maquina en el medio ambiente:para deshacerse de la maquina dirigirse a un centro autorizzato ocontactar al constructor que daradiconciones al respecto.


Para favorecer la aireacion de laquina posiconarla a 15 cm (5.9 in) del muro o de otheras maquinas por la parte de la aireacion.

Para favorecer la aireacion de laquina posicionarla a 15 cm. del muro o de otheras maquinas por la parte de la aireacion.

ATENCLON PELIGRO DE INTOXICACION

Una vez iniziado el lavado de laquina, no interrupirlo, pueda quedar residuos de detergente en el interior del grupo de erogacion.


ATENCLON PELIGRO DE QUEMADURAS

Recordar que antes de efectuar cualquier operación de instalación, manutencion, descarga, regulacion, el usuario综合素质 tiene que ponserse los guantes de trabajo y los zapatos contra los accidentes.

ATENCION PELIGRO DE CORTE

El usuario en el momento de la incorp-. racion del cafe, noiene que meter las manos en el interior del contentedor.

ATENCLON PELIGRO MECANICO

No apretar y/o estar el interruptor de seguidad.

Fig. 12

ATENCLON

INFORMACION PARA LOS USUARIOS
Bajo los sentidos del art. 13 del Decreto Ley del 25 de julio de 2005, n. 151 "realizacion de las Normas 2002/95/CE, 2002/96/ CE y 2003/108/CE, relativas a la reduccion del uso de sustancias peligrosas en los aparatos elec
tricos y electrónicos, adelmas del vaciado de los residuos y desechos".
El símbolo del contentedor lista, indicado sobre la instrumentación, indica que el producto al final de su vidaLEGALmente que ser recogido
separamente de los demas residuos o desechos. El usuario deben, por tanto,entarla instrumen-tacion junta al fin vida a los idoneos centros de recogida selectiva de residuos electronicos y electrotecnicos, o bien recobrarla al detallista almomento del adquiero de unanea instrumentacion de tipo equivalente, enrzon de unao uno.La adecuada recogida selectiva para el envio singularde la instrumentacion cesada al reciclaje, al trato y al vaciado ecologicamente compatible contribuye a evaporar posibles efectos negativos sobre el entorno y sobre la salute y favorece el reciclaje de los materiales que componen la instrumentacion.El vaciado abusivo del producto por parte del usuario compor-ta la aplicacion de las saniones administrativas establecidos por Decreto Ley .22/1997" (art. 50 y seguales del Decreto Ley n.22/1997.
3. TRANSPORTE Y GESTION
3.1 IDENTIFICACION MAQUINA
Para cualquier communicator con el constructor Nuova Simonelli, citing siempre el número de plac de caracteristicas de laquina.

3.2 TRANSPORTE
Laquina se tranporta en palés con más máquinas bajo de cajas aseguradas al pale conunasCNTAS.
Antes de proceder conrialquier operacion de transporte o movimiento, el usuario debe:
- ponerse guantes y zapatos contra los accidentes y un mono con gomas en los extremos.
El transporte en palés debe ser efectuado con un medio de elevación adecuado (como carretilla elevadora).
3.3 GESTION

ATENCLON
PELIGRO DE CHOQUE
O APLASTAMENTO
El encargado durante todo el proceso de movimiento, ha de poder atencion en que no haya personas,erras u objetos en el area de trabajo. Levantar lentamente el pale aproximadamente 30~cm (11.8 in) desde el suelo e ir a la zona de carga.Despues de haber comprobado que no haya obstaculos,erras o personas,proceder con la carga.
Una vez llegados al destino, siempre con un medio de elevación adecuado (como carretilla elevadora), después de haberse assegurar que no haya cosas o personas en el área de descarga,learvar el pale al sueyo yleararlo aapproxiadamente 30~cm 11.8 in del sueyo, hasta el area dealmacenacimiento.

ATENCLON
Antes de lasuma operationecomprobar que la carga este bien yque con el corte de las cintas no se caiga.
El encargado con guantes y zapatos contra los accidentes, tiene que proceder al corte de lasCNTAS y alalmacenacimiento del producto,para esta operacion consultar lascharacteristicas tecnicas del producto para ver el peso de la maquina que hay que almacenar y poder regularse en consecuencia.

ATENCLON
PELIGRO DE CONTAMINACION

4. INSTALLACION Y OPERACIONES PRELIMINARES

No abandonar el embalaje en el medio ambiente.

Antes de proceder con cualquier operación de instalación y regulación, se Tienen que leery comprender bien las PRESCRICIONES DE SEGURIDAD de este manual.
La Empresa no responde denardanao acosa o persona derivado de una falta de cumplimiento de las prescripcionedeseguidad,instalacion y manutencion, de este manual.

Colocar laquina sobre un plano horizontal para evaporarrialquierposiblenaciondefectuoso.

No instalar laquina en ambientes en los quecoulda entrada en contacto con chorros de agua.

Laquina es idonea para trabajo los siguiertes alimentos:
- Café en grano
- Café descafeinado en polvo
- Leche (no en polvo)
Cualquier empleo de laquina con alimentos differentes de los nombrados precedentamente能把 provocar graves daños a la mesmaquina.

Laquina está preparada para trabajo en un Campo de temperatura +5^ + 40^ (41^ - 104^) .

Antes de conectar laquina a la red electrica, verificar que exista correspondencia entre el voltaje para el qual aquella ha sido predispuesta y el de la instalacion.
NOTA: Al principio de la activités diaria y de todas forme en el caso en que haya paumas mayores de 8 horas hay que proceder a efectuar el recambio del 100% del agua contentida en los circuitos utilizingo los erogadores adjudicados.
NOTA: En el caso de ejercicios en que el service es continuado efectuar los recambios de arriba descritos por lo menos con fecuencia semanal.
4.1 INSTALLACION MAQUINA VERSION CON TANQUE

Apagar laquina antes de llenar o extraer el tanque.
Una vez sacada laquina del embalaje comportarse como se describe a continuación:
1 Posicionarla en un plano horizontal.
2 Abrir la puertecilla.
3 Extraer el tanque del agua tirando hacía arriba.

4 Especially la prima vez, lavar con agua y jabon elismo tanque y enjuagar@cuidadosamenteponiendo atencion en qutar todos los residuos dejabon.
5 Llenar de agua el tanque.
6 Asegurarse que el exterior del tanque este seco.
7 Volver a meter el tanque del agua en el propio alojamento.


8 Cerrar la puertecilla.
La dureza del agua tiene que ser inferior a 4^ - 6^ fr (grados franceses).
Por el counterparto se extinguirán las conditiones de Garantía de laquina.
4.2 INSTALLACION MAQUIN VERSION CON CONEXION DIRECTA
Una vez sacada laquina del embalaje hacer lo que a continuacion se dice:
1 Situarla en una superficie horizontal.
2 Extraer el tubo con connexion de 3 / 4'' por la puertecita en la parte superior de laquina.

3 Conectar una extremidad del tubo al racor de 3/4" situado en la parte posterior de laquina.

4 Conectar la otra extremidad del tubo a la red hídrica.

La dureza del agua tiene que ser inferior a 4^ - 6^ fr (Grados franceses).
De lo contrario se extinguirán las conditiones de la Garantía de laquina.
Laquina tiene que ser instalada de acuerdo con las normativas sanitarias locales vigentes para las instalaciones hidrálicas. De este modo para la instalación hidrálica dirigirse a un technician autorizado.
4.3 LLENADO CONTENEDOR CAFÉ
- Quitar la tapa acceso contentedor café en grano.

Echar en el contentedor SOLO café en gran tostado. Cualquier除外 tipo de café, por exemple molido, perjudica al molinillo de café.
No echar café en grano previamente tratado con caramelo, azucar o similares, café instantaneeu或其他bebidas que contengan azucar, ya que perjudican a laquina.
2 Echar el café tostado en grano en el contenedor sin alcancar la maxima capacité de modo que permita el cierre de la tapa.

3 Cerrar la tapa.
4.4 ENCENDIDO
NOTA: En el caso de que la secuencia describa a continuación no se verifique, consultar el Capitulo "ANOMALIAS Y SOLUCIONES".
Después de haber terminado las Operaciones Preliminares de Instalación:
1 Apretar el interruptor general de laquina yningerlo a la posicion"ON".

Sucesivamente la pantalla electrònica LCD se enciende y se pueda ver el(letrero:itta:
Maquina Off Dia Hora
Para encender definitivamente laquina antes el botón "ENTER":

Laquina cargo automatistically el agua en la caldera y empieza a calendar. Cuando se alcanza la temperatura establisha la pantalla electrónicamostatra el(letrero:
Maquina Lista Dia Hora
NOTA: El tiempo inicial es deapproximadamente 3 horas.
NOTA: Laquina está dotada con un sistema de seguidad, que despues de aproximadamente 1,5 horas de funciona el sobrecalentamento de la misma bomba). En este caso, apagar laquina con el interruptor general y volver a encenderla.
La preparación de laquina ha acabado y está lista para el uso.

ATencion
SI SE TRATA DE LA PRIMERA INSTALACION O SUCESIVAMENTA A LA MANUTENCION DEL GRUPO CALDERAS, ANTES DE EROGAR BEBIDAS CAFÉ, APRETAR EL BOTON EROGACIONAGUACALIENTE, SIESNECESARIO MÁS VECES, HASTA QUE SE OBTenga UN FLUJO REGULAR DEL LANZADOR.
4.5 APAGADO
Si se decideja apagar laquina hacer lo que a continuacion se describe:
- Con laquina encendida, mantener apretado durante 5segundos el boton "ENTER":

- La pantalla electrónica LCD做不到 el letrero:
Maquina Off Dia Hora
- Para parar Completely laquina apretar el botón general yningerlo a la posicón "OFF".

5. REGULACION DEL TECNICO CUALIFICADO

Las regulaciones enumeradas a continuación tienen que ser efectuadas SOLO por el Técnico Especializzato.
La Nueva Simonelli no se hace responsable de ningún día a cosas o personas, a causa de incumplimiento de las prescrições de seguidad, descritas en este manual.
5.1 REGULACION DEL GRADO DE MOLIENDA

Realizar el procedimiento de graduación de la molienda con el molino en funciona.
NOTA: Operación realizable también con máquina encendida.
- Introducir la llave en la cerradura adecuada.
- Girar la llave aperture puertecilla de commando en sentido contrario a las agujas del reloj.
- Abrir la puertecilla de commando, para acceder al tornillo de regulacion de la molienda. Siguiendo la direccion de las flechas se possible regular mas GRUESA (sentido contrario a las agujas del reloj) o más FINA (sentido de las agujas del reloj) la molienda del café en grano actuando con una llave de tuerca 3 mm (0.12 in).
- Cerrar la Puertecilla, cerrando con llave.

5.2 REGULACION AIRE CAPUCHINADOR
NOTA: Operación realizable también con la máquina encendida.
- Introducir la llave en la cerradura adecuada.
Girar la llave aperture puertecilla de commando en sentido contrario a las agujas del reloj. - Abrir la puertecilla de commando, para acceder al tornillo de regulacion.
Para modifier la cantidad de aire del capuchinador, y la cantidad de espuma, mover el tornillo de regulacion como se indica en la figura paraacular / disminuir el aire del capuchinador.

5.3 REGULACION FLUJOS DE LA LECHE (Regulacion Temperatura)

NOTA: Operación que se pueda realizar también con laquina encendida.
Para modifier el flujo de la leche aspirada, y por lo tanto la temperatura de la leche erogada, actuar sobre el grifo adecuado de regulacion como se describe a continuacion:
- Girar el grifo aspiración leche en sentido de las agujas del reloj/ en sentido contrario a las agujas del reloj para AUMENTAR / DISMINUIR el flujo de aspiración de la leche y其中之一 DISMINUIR / AUMENTAR la temperatura.
- Actuar sobre el grifo hasta cuando no se alcance la temperatura deseada de la leche erogada.
6. UTILIZACION
El usuario tiene que, antes de起初ar la elaboración, asegurarse de haber leido y comprendido bien las prescrições de seguridad de este manual.

En el caso enque la autodiagnosis indique anomalas o averias, llamar al centro de asistencia, el usuario no tiene que intervenir.
6.1 ENCENDIDO
NOTA: En el caso de que la secuencia describa a continuación no se verifique, consultar el Capitulo "ANOMALIAS Y SOLUCIONES".
- Apretar el interruptorística y sucesivamente la pantalla electrónica LCD se enciende y se ve el(letrero:

- Para encender definitivement laquina apretar el botón "ENTER":

- Laquina cargo automatistically el agua en la caldera y empieza a calendar. Alcanzada la temperatura establecida la pantalla electrònica做不到 el letrero:

NOTA: El tiempo inicial es aproximadamente 3 horas.
NOTA: laquina está dotada con un sistemas de seguridad, que después de aproximamente 1,5 horas de funciona bajo el mequina (para poder el sobrecalentamento de la misma bomba). En este caso, apagar laquina con el interruptor general y volver a encenderla.
La preparación de laquina ha acabado y está lista para el uso.
6.2 APAGADO
Si se desea apagar laquina hacer lo que a continuacion se describe:
- Con laquina encendida,mantener apretado durante 5segundos el boton "ENTER":

- La pantalla electrónica LCD做不到 el letrero:

- Para parar Completely laquina apretar el interruptor general yningerlo a la posicion "OFF".

6.3 CONFIGURACION ESTANDAR
LEYENDA BOTONES
(Configuración estandar)

1 Expres

2 Exprésos

1 Café

2 Café
IMPORTANTE: En los botones n° 1-2-3-4-6 (ver relacion descriptiva "DISPLAY"), es possible attribuir unabebida diferente según el gusto personal y las costumbres del propio pais (ver capitulo PROGRAMACION y párafo CONFIGURación SELECTIONS).
6.4 CONFIGURACION SELECTIONS
Establecer la funciona deseada en los botones a disposicion ^o 1-2-3-4-6 del teclado (ver capitulo "DISPLAY"),tramite los procedimientos de programacion (ver Capitulo Programacion).
Los botones 1-2 se peuvent configurar solo como bebidas cafe; Los botones 2 - 4 - 6 se pueda configurar con todas las bebidas.
Aplicar afterwards el adhesivo espécífico en dotación.

LEYENDABOTONES
(Configuración selecciones)

Capuchino

Manchado


1 Café corto
1 Cafécrema


Capuchino grande
Leche


2 Cafés cortos
2 Cafés crema
6.5 PREPARACION CAFE


La modalidad de preparación es la misma para café expresso que para café largo.
- Poner una taza debajo de los erogadores de café.
Las bebidas salen siempre contemporáneamente poramble doserogadores.

- Pulsar una vez en el botón ergación del café deseado.


-
El café se está preparando.
-
El display muestra una frase según el tipo de café selectionado.

Dejar la taza bajo de los erogadores hasta que no desaparezca la frase en el display.
NOTA: Los erogadores café pueda ser regulados en alta para adaptarse arialquier tipo de taza.
Posicionar los erogadores con cuidado en la posi- ción deseada de modo que se limite el espacio entre taza y erogador.

6.6 PREPARACION 2 CAFES
- Poner una taza debajo de cada erogador.

- El café se está preparando.
- Pulsar una vez en el botón erogación del café deseado.


- El display muestra la frase según el tipo de café selectionado.
2 Cafes
2 Cafes
Dejar las dos tacitas bajo de los erogadores hasta que desaparezcan las frases en el display.
6.7 PREPARACION
CAFÉ CAFÉ
CORTOCREMA




Para la realizacion, atenerse al procedimiento para el cafe expreso y Cafe largo (ver párafo CAFÉ EXPRESO - CAFÉ LARGO).
6.8 PREPARACION CAFÉ LECHE
- Situar un contentedor con leche al lado de laquina.
- Sumergir el tubo aspiracion de leche en el inferior del recipient.

- Situar la taza que contendra el café con leche.
- Regular por medio del grifo colocado a lo largo del tubo, la cantidad de leche deseada.
- Pulsar una vez en el botón ergación café leche.

- El café leche se está preparando.
- El display muestra laARRY frase:
Cafe Leche
Dejar la taza bajo de los erogadores hasta que desaparezca la frase en el display.
6.9 PREPARACION CAPUCHINO CAPUCHINO


GRANDE
Para la elaboración, atenerse al procedimiento del CAFÉ LECHE (ver párafo CAFÉ LECHE).
6.10 MANCHADO (3 capas: leche / café / leche)

Para la elaboración, atenerse al procedimiento del café con leche (ver párafo café con leche).
6.11 LECHE CALIENTE

Para la elaboración, atenerse al procedimiento del CAFÉ LECHE (ver párafo CAFÉ LECHE).
6.12 PREPARACION CAFÉ DESCAFEINADO EN POLVO
- Abrir la puertecilla de acceso a la rampa para café molido.

ATENCLON
Verter en el transporte solo café molido. Cualquier除外 tipo de café perjudica a laquina.
No verte por典型案例 en grano previamente tratado con caramelo, azucar o similares, café instantanéo u otheras bebidas que contengan azúcar, ya que perjudican a laquina.
- Introducir en su interior solo 1 dosis de café descafeinado molido.

- Pulsar una vez en el botón.
(Apretar dos veces en el caso de la versionisable molinillo).

- En el display aparecerá:

- Deseado viguiendo el procedimiento del párrafo "CAFÉ EXPRESO-CAFÉ LARGO".
- El café se está preparando.
- El display muestra lasuma frase (ejemplo):

Dejar la tacita bajo de los erogadores hasta que desaparezca la frase en el display.
6.13 USO DEL SEGUNDO MOLINILLO (SÓLO Version con doble molinillo)

ATENCLON
No verte por典型案例 en grano previamente tratado con caramelo, azúcar o similares, café instantáneo u otheras bebidas que contengan azúcar, ya que perjudican a laquina.
- Apretar una vez elsignificanto boton:

- Apretar el botón relativo a labebida deseada.
- Apretando por exemple el botón relativo al expreso, la pantalla electrónica做不到.

6.14
AGUA CALIENTE

ATENCION
Antes de efectuar lasuma operatione asegurar que haya agua en el interior del tanque. En caso contrario procurar el restablecimiento.
Permitte la erogacion de agua caliente para preparar the, manzanilla y tisanas.
Colocar problemas de la lanza vapor/agua caliente, un recipiente apropiado (una taza).
- Pulsar una vez en el botón erogación Agua Caliente.

- Por el lanza vapor sale Agua Caliente.

- El display muestra lasuma frase:
Maquina Lista The
- Cuando se alcanza el volumen desrado, pulsar de nuevo una vez el botón erogación agua caliente de modo que se interruppa la caía de agua caliente.
6.15
VAPOR

ATENCION
Durante la erogación del vapor no tocar la lanza, ni poner las manos debajo de él, mantenerlo siempre dirigido hacía abajo sobre la rejilla apoya tazas.
Ejecuta la erogacion de vapor para emulsionar la leche, o bien para calentarOthers liquidos.
- Pulsar una vez en el botón ergación Vapor:

-
Por la lanza vapor sale el agua de condensacion residual y en cuando salga por el erogador el vapor, utilizingo durante el tiempo deseado.
-
El display muestra lasuma frase (ejemplo):
Vapor
- Pulsar de nuevo una vez en el botón "VAPOR" para interrupir la erogación de vape.
IMPORTANTE: Al terminar cada erogacion limpiar cuidadosamente la lanza vapor con un paño humedo.
NOTA: Elemple del lanzador vapor tiene que ser siempre preceding por la operation de purga de la condensacion durante al menos 2segundos o siguiendo las instrucciones del fabricante.
7. PROGRAMACION
7.1 LEYENDA

1 Botón ENTER para entrada en el menu y/o confirmar los valores yasar al punto sucesivo.
2 Boton CURSORES:recorro de los menues e incremento/decremento valores. 4
3 Boton RESET: para confirmar y volver al paso precedente.
LISTA FUNCIONES PROGRAMABLES
Funciones accesibles desde el modo USUARIO y desde el modo TECNICO.
- IDIOMA
- NOMBRE PRODUCTO
- PROG. DOSIS
- PROG. MOLINILLO 1 S
- PROG. MOLINILLO 2 S (sólo version con doble molinillo)
-
DOSIS LECHE 7. DIA/HORA
-
PROGRAMA ON/OFF
- AHORRO ENERGIA
Funciones accesibles desde“SOLA”modalidad TECNICO.

Operación que debe efectuar SOLO por un Técnico Especializzato. La regulación por parte de Téncicos NO提供优质 os de outras pessoas, podía invalidate la Garantía.
Lasmericanos: Lasencias de las aplicaciones en el mode TECNICO. Lasencias de las aplicaciones en el mode TECNICO. Lasencias de las aplicaciones en el mode TECNICO. Lasencias de las aplicaciones en el mode TECNICO. Lasencias de las aplicaciones en el mode TECNICO. Lasencias de las aplicaciones en el mode TECNICO. Lasencias de las aplicaciones en el mode TECNICO. Lasencias de las aplicaciones en el mode TECNICO. Lasrientes: Lascentes, Loscentes, Loscentes, Loscentes, Loscentes, Loscentes, Loscentes, Loscentes, Loscentes, Loscentes, Loscentes, Loscentes, Loscentes, Loscentes, Loscentes, Loscentes, Loscentes, Loscentes, Loscentes, Loscentes, Loscentes, Loscentes, Loscentes, Loscentes, Loscentes, Loscentes,
- PRE-INFUSION
- PRENSADO
- NUMERO FONDOS
- ALA. LAVADO LECHE
- ALARMA LAVADO
- REGULACION GRUPO 1
- REGULACION GRUPO 2
- REGULACION MOLINO
- TEMPERATURA CAFE
- TEMPERATURA VAPOR
- CUENTA TOTAL (sólo version con doble molir
- CUENTA TOTAL 2 (sólo version con doble molinillo)
- CUENTA TOTAL (todas las versiones)
- CONTRASENA 24. SMART CARD
- Filtro AGUA L
- DESCALCIFICACION
7.2 PROGRAMACION
Entrando en programacion seiene acceso a todas las functions de la modalidad USUARIO y en el modo TECNICO.
Paraentar en los menus de programacion,proceder como se describe:
NOTA: Operación a efectuar conmaids encendida.
- Introducir la llave en la cerradura apropiada.
- Girar la llave aperture puertecilla de commando en sentido contrario a las agujas del reloj.
- Abrir la puertecilla de commando, el display muestra:
Maquina OFF Puerta Abierta
- Pulsar el botón ENTER, cerrar la puertecillaquina, el display muestra:
Esperar Gracias Calefaction
- Acabad el ciclo de expulsion, el grupo se posiciona en fase de reposo y el display muestra la primera linea del menu de programacion:
LANGUAGE
FUNCTIONALIDAD BOTONES
: Recorro Redo Vista Funciones Programables y/o decremento/incremento valores.
ENTER: Entrada Menu/Submenu y confirmación datos.
RESET: Desplazamente al nivel precedente y confirmación datos.
7.3 SALIDA DE LA PROGRAMACION
Para salir de los menus de programación, actuar como se describe:
NOTA: Operación que se pueda efectuar con laquina encendida y desde cualquier funciona visualizada.
- Introducir la llave en la cerradura adecuada.
- Girar la llave aperture puertecilla de commando en sentido contrario a las agujas del reloi.
- Abrir la puertecilla de commando, el display muestra:
Maquina OFF Puerta Abierta
- Cerrar la puertecillaística y girar la llave en sentido de las agujas del reloj, el display muestra:
Maquina OFF Dia Hora
Para encender definitivement laquina antes el boton "ENTER":

- Como alternatively hacer pagar todas las unidades mediante el botón 🚨 hasta ver:
Maquina Liga Dia Hora
7.4 CICLO DE PROGRAMACION MODE USUARIO
1. IDIOMA
Apretando el botón ENTER es possibleentar en el menu secundario.
Se establoce el idioma de interfaz, entre laquina y el usuario, visualizo por la pantalla electrònica.
Los idiomas que se pueda selectionar son los seguidentes: Italiano, Inglés, Espanol, Aleman, Francés, Holandés, Sueco, Danés, Finlandés, Noriego, Ruso y Japonés.
Boton RESET sale del menu secundario vuelve al menu principal con confirmacion del valor establecido.
2. NOMBRE PRODUCTO:
Pulsando el botón ENTER es posible entrada en el submenu. A cadabebida le correspondá un botón individual.
Ejemplo:
NombreProducto:1 Expreso
Al botón 1 en este caso se le ha asignado la bebida "Expreso".
Botones recorren los nombres de las bebidas del botón disponibles en la libreria.
Botón RESET salute del submenu.
El botón ENTER confirma el tipo de bebida de el botón n.
Los botones que se pueda programar son los siguentes:
1 2 3 4 6
Acabada la programacion delultimate boton seoca a la linea de menu sucesiva.
NOTA:Los botones 246
se pueda programar como bebidas a base de leche y como bebidas cafe.
Los botones 1 3
se puede programar solo como bebidas café.
NOTA: Se pueda asignar a cada tecla la funciona DISABLE y en este caso la tecla resultara inhabitidad.
3. PROG. DOSIS
Pulsando el botón ENTER es possible entrada en el submenu.
Se programarán las dosis de agua realizadas de cadabebida en particular.
1 Prog Dosis café Corto
2 Prog Dosis café 2 Cortos
3 Prog Dosis café Expreso
4 Prog Dosis café 2 Exprés
5 Prog Dosis café Café
6 Prog Dosis café 2 Cafés
7 Prog Dosis café Café Crema
8 Prog Dosis café con leche
9 Prog Dosis café Manchado
10 Prog Dosis café Capuchino
11 Prog Dosis café Capuchino grande
12 Prog Dosis café The
13 Tiempo máximo vapor
Botones incremento/decremento de la cantidad de agua realizada de la elaboracion de labebida elegida.
Tasto RESET salir del submenú y regreso al menu principal con confirmación del valor preestablecido.
Tasto ENTER recorre cada linea individual del submenú y confirmación del valor preestablecido.
4. PROG. MOLINILLO 1 S
Pulsando el botón ENTER es possible entrada en el submenu.
Es possible establercer los tiempos de molienda para cadabebida relativamente al molinillo derecho (segundos).
1 Tiempo Molienda Corto
2 Tiempo Molienda 2 Cortos
3 Tiempo Molienda Expreso
4 Tiempo Molienda 2 Expres
5 Tiempo Molienda Café
6 Tiempo Molienda 2 Cafés
7 Tiempo Molienda Café Crema
8 Tiempo Molienda café con leche
9 Tiempo Molienda s. Manchado
10 Tiempo Molienda s. Capuchino
11 Tiempo Molienda s. Capuchino grande
Botones consistent incremento/decremento del tiempo de molienda utilizado de la realizacion de la relativa bebida.
Botón RESET saluter del submenu y volver al menu principal con confirmación del valor preestablecido.
Botón ENTER recorre cada linea individual del submenu y confirmación del valor preestablecido
NOTA: En la version con doble molinillo poniendo el parametro a 0 se habilita el molinillo izquierdo.
5. PROG. MOLINILLO 2 S (sólo version con doble molinillo)
Pulsando el botón ENTER es posibble entrada en el submenu.
Es possible establercer los tiempos de molienda para cadabebida relativamente al molinillo izquierdo (segundos).
1 Tiempo Molienda Certo
2 Tiempo Molienda 2 Cortos
3 Tiempo Molienda Expreso
4 Tiempo Molienda 2 Expres
5 Tiempo Molienda Café
6 Tiempo Molienda 2 Cafés
7 Tiempo Molienda Café Crema
8 Tiempo Molienda café con leche
9 Tiempo Molienda s. Manchado
10 Tiempo Molienda s. Capuchino
11 Tiempo Molienda s. Capuchino grande
Botones consistent incremento/decremento del tiempo de molienda utilizado de la realizacion de la relativa bebida.
Botón RESET salute del submenu y volver al menu principal con confirmación del valor preestablecido.
Botón ENTER recorre cada linea individual del sub-menú y confirmación del valor preestablecido.
6. DOSIS LECHE
Pulsando el botón ENTER es posibleentar en el submenu.
Se preestablece el tiempo de erogación de la leche (segundos).
1 Leche
2 Café con leche
3 Manchado
4 Capuchino
5 Capuchino grande
Botones incremento/decremento tiempo de erogación de la leche realizada de la elaboración de la relativa bebida.
Botón RESET saluterdelsubmuyvolveralmenu principalcon confirmationdelvalor preestablecido.
Botón ENTER recorre cada linea individual del sub-menú y confirmación del valor preestablecido.
7. DIA/HORA
Pulsando el botón ENTER es posibbleentar en el submenu.
Se programa el día, la hora y los Minutes que做不到ar la pantalla electrónica de laquina.
1 Dia
2 Hora
3 Minutos
Botones ▼▲ augmentar/ disminuir los values de la relativa funciona.
Boton RESET salute del menu secundario y volver al menu principal sin confirmar los values existecidos.
Botón ENTERonga cada nombre del menu secundario y confirma del valor establisho.
Una vez establecido el día se vuye al menu principal.
8. PROGRAM. ON/OFF
Se programa el ON/OFF (encendido / apagado) automatico de laquina, sol con el interruptor de laquina en posicion ON.
Por defecto laquina está regulada con todos los días de la semana establecidos en el modo "DESCANSO", de este modo para encender / apagar laquina, usar el botón general.
Apretando ENTER es possible entrada en el menu secundario, y la pantalla electrónica做不到 lo que el paciente pueda leer.

Apretando es possible ver las regulaciones de todos los días de lapell.
Apretar RESET para establecer el DOMINGO como dia de descanso seminal inhabilitando el encendido y el apagado automatico.
La pantalla electrónica做不到 elsignificante mensaje:

Si se desea reactivar el encendido / apagado automatico, aplrear ENTER.
Si se desea confirmar la regulacion, apretar el boton para pagar a la visualizacion de las regulaciones del dia?sigue.
Apretar ENTER el reloj de encendido empieza a destellear; usable los botones para aumento / disminuir el horario.
Establecida la hora deseada,apurar ENTER para establecer el dia?sigue.
Després del día SABADOcomings el boton se vuelte al menu precedente.
9. AHORRO ENERGÍA
Se programa el tiempo después delrialmaquina activaeldispositivodeahorroenergetico,manteniendo de todas formas la caldera a temperatura deejercicio
Apretando el botón ENTER es possibleentar en el menu secundario.
1 Hora:Minutos
Botones ▼▲ ↑ aumentar / disminuir de 30 horas en 30 horas el tiempo a partir delrial la funciona AHORRO ENERGIA se activa.
Dejando el contador a cero la funciona se desactiva.
Botón RESET sale del menu secundario y vuelte al menu principal con confirmación del valor establecido.
7.5
CICLO DE PROGRAMACION MODETÉCNICO
Para acceder a las functions programables solo en el MODO TECNICO pagar todas las functions accesibles del MODO USUARIO hasta que la pantalla electrónica mueste el mensaje:
Password
\*\*\*\*\*
Introducir la contraseña correcta para acceder al primer nombre del menu de programación accesible en el MODO TÉCNICO.
NOTA: La contraseña estándar establecida es:

Para tener acceso a las functions reservadas al先进技术 en el caso que se entrea la prima vez o en el caso en que la contraseña no haya sido enviada es necesario aplarretrepidadenteincoveceselboton

del teclado de laquina.
Si se introdujera una contraseña equivocada, laquina saldra automatistically de la programación, presentándose en estado dequina lista.
10. PRE-INFUSION
Pulsando el botón ENTER es posible entrada en el submenu.
Se programa, de cadabebida individualmente, con posibiliadefectuar la pre-infusion de la pastilla del cafe (SI o NO).
1 Pre-infusión Corto
2 Pre-infusión 2 Cortos
3 Pre-infusión Expreso
4 Pre-infusión 2 Exprés
5 Pre-infusion Café
6 Pre-infusión 2 Cafés
7 Pre-infusión Café Crema
8 Pre-infusion café con leche
9 Pre-infusión Manchado
10 Pre-infusión Capuchino
11 Pre-infusión Capuchino grande
Botones confirmación/cancelación de la preinfusión de la pastilla.
Botón RESET salute del submenu y volver al menu principal con confirmación del valor preestablecido.
Botón ENTER recorre cada linea individual del sub-menú y confirmación del valor preestablecido.
11. PRENSADO

Pulsando el botón ENTER es possible entrada en el submenu.
Se programa asi, de cada bebida individualmente, la compresion pastilla (SI o NO).
1 Prensado corto
2 Prensado 2 Corto
3 Prensado Expreso
4 Prensado 2 Expres
5 Prensado Café
6 Prensado 2 Cafés
7 Prensado Café Crema
8 Prensado Café Leche
9 Prensado Manchado
10 Prensado Capuchino
11 Prensado Capuchino Grande
Botones confirmación/cancelación compresión pastilla de la elaboración de la relativa bebida.
Botón RESET salute del submenu y volver al menu principal con confirmación del valor preestablecido.
Botón ENTER recorre cada linea individual del sub-menú y confirmación del valor preestablecido.
12. NUMERO FONDOS
Pulsando el botón ENTER es possible entrada en el submenu.
Se programa asi el número de fondos, alcanzado elrial se visualizael mensaje de vaciar el cajon fondos y laquina se bloquea de permitir el procedimiento con total seguidad.
Botones augmentar/disminuir el numero de fondos de partir al procedimiento de vaciado del cajon fondos.
Botón RESET salute del submenu y volver al menu principal con confirmación del valor preestablecido.
Botón ENTER está deshabilitado.
13. ALA. LAVADO LECHE

Pulsando el botón ENTER es possible entrada en el submenu.
Se programa el número de horas, desde la ultima erogacionbebida leche,despuesde la cui se visualiza el avis limpieza capuchinador.
Botones ↑ ↑ augmentar/disminuir el número de horas de la visualización del mensaje de limpieza capuchinador.
Botón RESET salute del submenu y volver al menu principal con confirmación del valor preestablecido.
Botón ENTER está deshabilitado.
14. ALARMA LAVADO
Pulsando el botón ENTER es possible entrada en el submenu.
Se programa el número de ciclos después del caso se visualiza el avis de limpieza grupo.
Botones augmentar/disminuir el número de cicloles de la visualización del mensaje de limpieza grupo.
Botón RESET salute del submenu y volver al menu principal con confirmación del valor preestablecido.
Botón ENTER está deshabilitado.
15. REGULAC. GRUPO 1
Apretando la tecla ENTER podemosentar en el submenu.
Es programado el número de impulsos del ENCODER para que la CAMERA de infusión alcance la posicion de stand-by.
Teclas augmentar/disminuir el numero de impullos del ENCODER.
Tecla RESET sale del submenu y vuelte al menu principal con confirmacion del valor establisho.
Tecla ENTER inhabitada.
NOTA: Se aconseja variar el ajuste solo en el caso en que en moto-reductor original se sustituya con uno de tipo diferente.
16. REGULAC. GRUPO 2
Apretando la tecla ENTER podemosentar en el submenu.
Es programado el número de impulsos del ENCODER para que la CAMERA de infusión alcance la posicion superior (camera cerrada).
Teclas augmentar/disminuir el numero de impullos del ENCODER.
Tecla RESET sale del submenu y vuelte al menu principal con confirmacion del valor establisho.
Tecla ENTER inhabitada.
NOTA: Se aconseja variar el ajuste solo en el caso en que en moto-reductor original se sustituya con uno de tipo diferente.
17. REGULACION MOLINO
Pulsando el botón ENTER es possible entrada en el submenu.
Se programa la posibiliad de incrementar los tiempos de molienda de 0,1segundo cada 250-1000 erogaciones.
Poniendo el parámetro a 0, la función está deshabilitada.
Botones augmentar/disminuir el numero de ergaciones antes de las cuales, se obtiene el incremento del tiempo de molienda.
Los valores que se pueda selectionar son 0, 250, 500, 750, 1000
Botón RESET salute del submenu y volver al menu principal con confirmación del valor preestablecido.
Botón ENTER está deshabilitado.
18. TEMPERATURA CAFÉ
Pulsando el botón ENTER es possible entrada en el submenu.
Se programa la temperatura de la caldera café.
Botones augmentar/disminuir la temperatura de la caldera cafe.
La temperatura maxima que se pueda establercer es 105^ (221°F).
Botón RESET salute del submenu y volver al menu principal con cofirmañon del valor preestablecido.
Boton ENTER está deshabilitado.
19. TEMPERATURA VAPOR
Pulsando el botón ENTER es possible entrada en el submenu.
Se programa la temperatura del calentador vapor.
Botones augmentar/disminuir la temperatura del calentador vapor.
La temperatura maxima que se pueda establecer es 130^ (266°F).
Botón RESET salute del submenu y volver al menu principal con confirmación del valor preestablecido.
Boton ENTER está deshabilitado.
20. CUENTA TORAL 1
(sólo version con doble molinillo)
Apretando la tecla ENTER podemosentar en el submenu.
Se muestra el numero de ciclos efectuados por cada tecla de bebida antes del empleo del molinillo derecho.
Teclas muestran los differentes totales de los ciclo asociados a cada tecla realizada.
La tecla RESET vuelve al menu precedente.
En la primera posicion manteniendo apretada la tecla se muestra el total absoluto de las dosis producidas por laquina utilizingo el molinillo decrecho.
Ej.
Apretando una vez la tecla 1 Express y una vez la tecla 2 Expressos se podra leer:
Total ciclo 1 Express=1
Total ciclos 2 Express=1
Total absoluto dosis=3
Para poder a cerras lasCNTENESclicos,apretar contemporaneamente las teclas .En la pantalla electrònica se muestra el mensaje "Counters Reset".
21. CUENTA TOTAL 2 (sólo version con doble molinillo)
Apretando la tecla ENTER se pueda entrada en el submenu.
Se muestra el número de ciclos efectuados por cada tecla de bebida antes del empleo del molinillo izquierdo.
Las teclas mueñas los various totales de los ciclos asociados a cada tecla realizada.
La tecla RESET vuelve al menu precedente.
En la prima posicion Maintainiendo apretada la tecla se maeya el total absoluto de las dosis producidas por laMQauna utilizing el molinillo izquierdo.
Para poder a cero lasCNTas de los varios ciclos, apretar contemporaneamente las teclas .En la pantalla electrònica se maestro el mensaje "Counters Reset".
22. CUENTA TOTAL (Todas las versiones)
Apretando la tecla ENTER se pueda entrada en el submenu. Se muestra:
- El numero de ciclos efectuados por cada tecla de bebida antes del emploe del
molinillo derecho o izquierdo.
Total descafeinado
Total Ciclos de lavado
Total Vapor
Total Agua caliente
Total litres de Agua
Teclas muestran los various totales.
La tecla RESET vuelve al menu precedente.
En la prima posicion Maintainendo apretada la tecla se muestra el total absoluto de las dosis produidas por la maquina.
Para poder a cero lasCNTas de los various ciclos y los totales descafeinado, vapor, agua caliente, apretar contemporaneamente las teclas .En la pantalla electrònica se mastra el mensaje "Counters Reset".
23. CONTRASEÑA
Apretando el botón ENTER se pueda entrada en el menu secundario.
Se pueda programar la nuevo contraseña de acceso a las functions programables en el MODO TÉCNICO.
Digitar una combinación de 5 botones (de los 8 a disposición del teclado) y establisher la nuevo restración desirable.
Botón RESET sale del menu secundario y vuelte al menu principal sin confirmar el valor establecido.
Botón ENTER confirma el valor establecido.
24. SMART CARD
Apretando el botón ENTER es possibleentar en el menu secundario.
Se programa la habitacion del lector SMART CARD.
Poniendo el parámetro en SI, la función está habitada.
Botones para habilitar (SI) / inhabititar (NO) el lector SMART CARD.
25. Filtro AGUA
Pulsando el botón ENTER es possible entrada en el submenu.
Se programa el número de litres de agua erogada de la visualización del mensaje limpieza bajo agua.
Botones augmentar/disminuir el numero de litres de agua erogada de la visualizacion del mensaje limpieza bajo agua.
Botón RESET salute del submenu y volver al menu principal con confirmación del valor preestablecido. Botón ENTER está deshabilitado.
26. DESCALCIFICACION (Sólo Microbar con version Tanque)
Apretando el botón ENTER es possible entrada en el menu secundario.
Se realiza el ciclo automatico de descalcification de las calderas de laquina dell'acqua: Mediente el boton es possible acceder al ciclo de descalcification propiamente.
Dureza del agua
Los botones permitted selectionar una de las dos sistemas.
Dureza del agua
°Fr 00
El botón ENTER permite realizar la función selecciónada.
El botón RESET permite volver a un niveau de menu precedente.
26.1 AJUSTE ALCALINIDAD AGUA
Es posible ajustar la alcalinidad del agua en grados franceses, y por lo tanto la alarma para la realizacion del ciclo de descalcificacion.
- Cuando aparece el mensaje:
Dureza del agua
Apretando el botón ENTER es posible entrada en la función.
En la pantalla electrónica aparecerá:
Dureza del agua
°Fr 08
Mediante los botones se pueda ajustar (aumentar/disminuir) el parametro alcalidad agua.
Apretando el botón ENTER se vuye al menu principal guardando el dato establisho.
Apretando el botón RESET se vuye al menu principal sin guardar el dato establisho.
En lasuma table se pueda individuar la correspondencia entre la alcalinidad establecida y el numero de litros de agua consumidos a partir delrial aparecerel mensaje "EFECTUAR DESCALCIFICACION".
| DUREZA DEL AGUA °FR | LITROS AGUA |
| 1-7 1500 | |
| 8-30 1000 | |
| 31 | 500 |
| 00 | Alarma desactivada |
NOTA: La alarma "EFECTUAR DESCALCIFICACION" no interruppe el funciona de laquina, y se borra antes de haber efectuado el ciclo de descalcificacion jusqu al contactor de litros.
Si el valor establecido es "00" la alarma está desactivada.
26.2 CICLO DE DESCALCIFICACION
Se efectúa el ciclo automatico de descalcificacion de las calderas de laquina.
- Cuando aparece el mensaje:
Decalcisión Empezar Ciculo?
Apretando el botón ENTER comienza el ciclo de descalcificación.
OPERATIVAMENTE:
- Antes de empezar el ciclo de descalcificacion, llenar el tanque con la solución de agua y producto descalcificador.
NOTA: Utilizar por lo menos 2 litres (0.52 gal) de该如何?.
Con el mensaje:
Decalcisión Empezar Ciculo?
-
Apretar el botón ENTER;
-
Laquina empezará a absorber la solución del tanque expulsando al mesmo tiempo agua caliente desde el lanzador.
-
Laquinawhelming:
Decalcification Esperar Gracias
Cuando seACA de absorber el primerlitro de solu cion laquina se pararadurante 5 min.y empezara a absorber otherlito de solution.
- Al final de la espera en la pantalla electrónica aparecerá:
Decalcification Llenar tanque
- Enjuagar el tanque y llenarlo de nuevo con agua limpia (sin apagar laquina).
NOTA: Utilizar por lo menos 4 litros (1,06 gal) deResolution, si no hay que volver a起初 el ciclo.
- Esperar despues aproximamente 5 Minutes.
- Al final de la espera la pantalla electrónica要加强:
Aclarado Press ENTER
- Apretando el botón ENTER de nuevo laquina empezará la SECONDA fase del ciclo de aclarado tomandoOthers2It.
- De agua del deposito yestrar:
Alcarado Esperar Gracias
- Al final de los 2 lt de agua tomos del deposito en laquina aparecerá de nuevo:
Aclarado Press ENTER
Apretando el botón ENTER de nuevo laquina empezará la SECONDa fase del ciclo de aclarado tomandoOthers 2 lt de agua del deposito yazorra:
Alcarado Esperar Gracias
- Al final de la fase de aclarado en laquina aparecerá el mensaje:
Calefaction Esperar Gracias
Esperar a que laquina se caliente durante uno horas, al final de los cuales laquina volverá al estado dequina lista.

ATENCLON
Durante la fase de calentimiento, se podran observar gotas de agua y vapor藓 por el lanzador del agua caliente.

ATENCIón
Al final del ciclo de descalcificacion, se?aconseja actionar durante某个 minuto el vapor.
8. FUNCIONES ESPECIALES CALIBRADO MAQUINA
8.1 PONER A CERO EL CONTADOR LITROS DEPURADOR
Mediante esta funciona es possibleponer a cero el numero total de litres de agua consumidos.
El procedimiento se realiza delCEEiue mode:
- Quitar tension a laquina actuando sobre el interruptor general (OFF).
- Dar tension a laquina actuando sobre el interruptor general (ON), manteniendo apretado el botón:
hasta que el display muestre el mensaje:
ResetFiltro Agua Esperar Gracias
8.2 PONER A CERO LOS CICLOS DE LAVADO
Mediante esta funciona es possibleponer a cero el
nromo total de ciclo de lavado efectuados.
El procedimiento se realiza del suiviente modo:
- Quitar tension a laquina actuando sobre el interruptor general (OFF).
- Dar tension a laquina actuando sobre el interruptor general (ON), manteniendo apretado el botón:
hasta cuando el display muestre el mensaje:
Reset Lavado Esperar Gracias
8.3 PONER A CERO PARÁMETROS MAQUINA
Mediante esta funciona es possible cancelar datos de configuracion incorrectos y落户 de nuevo a los values de Programacion Estandar (ver tabla VALORES DE PRESELEC.). El procedimiento se realiza del suiviente modo:
- Quitar tension a laquina actuando sobre el interruptor general (OFF).
- Dar tension a laquina actuando sobre el interruptor general (ON), manteniendocretados contemporaneamente los botones
ENTER

e RESET

el displaymostatá:
Esperar Gracias Preselec Fecha
8.4 GESTIón MANUAL GRUPO EROGACION CAFÉ
Mediante esta funciona es possible activar manualmente el motor que constituya el automatismo del grupo de erogacion cafe. El procedimiento se realiza del singularmente modo:
- Qitar tensión a laquina actuando sobre el interruptor general (OFF).
- Dar tension a laquina actuando sobre el interruptor general (ON), manteniendo apretados contemporaneamente.
los botones 2 y △ El displaymostatra:
Gestion Manual Grupo
IMPORTANTE: Cuando se encienda laquina, a causa del hecho que se usa el botón de acceder a este ambiente, inicia automatically el movimiento pistón hacía abajo.
Pulsar el boton 4 de mover el pistón hacía ABAJO.
- Pulsar el botón 2 de mover el pistón hacía ARRIBA.
- Quitar y volver a dar la tension a laquina por medio del interruptor general, de conclusir el procedimiento.
9. LIMPIEZA Y MANTENIMIENTO

ATENCLON
NUNCA hay que utilizear chorros de agua para limpar laquina.
Durante el mantenimiento/reparación los componentes realizados tienen que garantizarmantener los requisitos de higiene y seguridad previstos por el dispositivo. Los recambios originales dan esta garantía.
Después de una reparación o una sustitución de componentes que afectan partes en contacto con agua y alimentos, seiene que efectuar el procedimiento de lavado o siguiendo los procedimientos indicados por el fabricante.
9.1 LIMPIEZA DE LA ESTRUCTURA
Antes de efectuar cualquier operation de limpieza, hay que落户a estado energetico 0^ (es decir, interruptor apagado y enchufe quitado).


ATENCLON
No utiliser disolventes, productos a base de cloro, abrasivos.
Limpieza zona de trabajo: Limpieza zona de trabajo: quitar la superficie de trabajo levantándolo en la parte delantera hacía arriba y deslizándolo, quitar el Plato recogedor de agua que hay debajo y lipiar todo con agua caliente y detergente.
Limpieza estructura exterior: de limpiar los paneles utilizar un paño suave y humedo.
9.2 LIMPIEZA DEL EROGADOR Y CAPUCHINADOR
NOTA: Seguir también las instrucciones referidas en el adhesivo aplicado en el interior de la puerta delantera.

Fig. 36
NOTA: Antes de realizar el ciclo de lavado es una buena regla controlar y restablecer el nivel de agua en el interior del tanque.
Laquina está predispuesta de el lavado del grupo erogación tramite pastillas y del circuito leche tramite el liquido detergente (sólo en la version Capuchino). Laquina empezará el ciclo de limpieza que en la erogación de agua caliente con intervalos de un tiempo de esper, el ciclo completo tiene una duración de aproximamente 4关键时刻.
Se aconseja efectuar el LAVADO por lo menos una vez al dia con los detergentes adecuados.

ATENCLON PELIGRO DE INTOXICACION
Recordamos que no hay que interruprir el lavado con pastillas detergentes una vez que haya iniciado, pueda quedar restos de pastillas en laquina.
De realizar el procedimiento de lavado proceder como sigue:
- Colocar un recipiente con agua al lado de laquina.
- Meter en su interior el tubo de aspiracion.
- Añadir el producto spécifique de la limpieza (20 ml [0.005 Gal] de Puly Milk).

- Pulsar elARRYe boton:

- Manteniendo presado durante aproximadamente 5segundos hasta hasta que se muestre el.),這是 the answer to the question of how many people in a country are there?
Lavado Detergente
- Abrir la puertecilla acceso café molido.
- Introducir en su interior la pastilla de detergente (Puly Caff) y cerrar la puertecilla.

- Pulsar el soguiente botón:

El displaymostatra:
Lavado

ATENCLON
En el caso en que no se prese el botón "DESCAFEINADO" laquina prevee了很久 de un tiempo de aproximadamente 20segundos proseguir el ciclo de lavado automatistically.
NOTA: Durante el lavado los botones dosis estan deshabilitados.
- Al acabar el ciclo de lavado la pantalla electrónica做不到:
Aclarado Press ENTER
Volver a colocar un recipiente solo con agua, y aparecer el botón ENTER, laquina efectuáré el ciclo de aclarado y la pantalla electrónica做不到.
Aclarado
NOTA: Durante la fase de lavado y aclarado es
aconsejableponerunrecipientedebajo delGrupo erogador,obien,vaciarel contentedorrecojejogotas al final del ciclo de lavado y aclarado.
9.3
RESTABLECIMIENTO DE UN LAVADO INTERRUMPIDO
- En el caso en que se interruppa el lavado, quitando la alimentación a laquina, en el encendido sucesivo el grupo se situará en fase de reposo y el display做不到:
Effectuar Lavado
- Pulsar de nuevo el botón "DESCAFEINADO" de modo que se repita el procedimiento que seaca ba de describir en el párrafo "LIMPIEZA DEL GRUPO EROGADOR Y CAPUCHINADOR".
9.4
LIMPIEZA DEL CONTENEDOR Y DEL TRANSPORTADOR DEL CAFÉ

ATENCLON PELIGRO DE QUEMADURAS
- Poner laquina en estado energetico "0".
- Introducir la llave en la cerradura adecuada.
- Girar la llave aperture puertecilla de commando en sentido contrario a las agujas del reloj.
- Abrir la puertecilla de commando.

- Quitar el posible residuo de café depositado en las paredes del rampa trasportadora.

9.5 LIMPIEZA DE LA LANZA VAPOR
Limpiar la lanza vapor cada vez que se utilizes de calentar bebidas.

ATENCLON PELIGRO DE QUEMADURAS
Si la limpieza se realiza con el lanza vapor caliente, evaporar el contacto con manos desprotegidas.
Utilizar un paño ligéramente mojado con agua caliente y/o detergente neutro.

9.6 LIMPIEZA DE LA REJILLA RECIPIENTE DE GOTEO
- Limpiar la rejilla con agua caliente y jabón utilizando un cepillo.

9.7 LIMPIEZA DEL RECIPIENTE DE GOTEO
- Limpiar el recipiente de goteo con agua caliente y jabon utilizando eventualmente un cepillo.
NOTA: El recipiente de goteo se pueda lavar utilizingo el lavavajillas.


ATENCLON
Apagar laquina antes de llenar o extraer el tanque.
- Limpiar el tanque con agua caliente y jabón utilizingo en todo caso una escobilla.

NOTA: Aclarar cuidadosamente de modo de evitar que se depositen residuos no deseados en el fondo del tanque.
9.9 LIMPIEZA GRUPO
GUARNICION
- Con el uso de un cepillito limpiar las incrustaciones y restos de café en el pistón y en la-camera del grupo erogador, y todas aquellas partes susidas de café.

9.10 LIMPIEZA CAPUCHINADOR
NOTA: Seguir las instrucciones signaladas en el adhesivo aplicado en el interior de la puerta delantera.

- Poner laquina en estado energetico "0".
- Introducir la llave en la cerradura adecuada.
Girar la llave aperture puertecilla de commando en sentido contrario a las agujas del reloi. - Abrir la puertecilla de commando.

IMPORTANTE: Proceder con precaución.
- Extraer todo el grupo erogador incluido el capuchinador estirando hacía nosotros mismos.
- Extraer el capuchinador del grupo erogacion, deslizandolo hacia arriba.

- Desconectar todos los tubos conectados a el.
- Desmontar el capuchinador y lavarlo cuidadosamente.

Fig. 49
NOTA: De intervalos de tiempo entre un capuchino y除外 superiores a una hora, se aconseja efectuar un lavado del capuchinador hacerdo sumergir el tubo de aspiracion de la leche en el agua caliente en vez de en la leche.
- De el montaje proceder en sentido contrario poniendo atencion a la conexion de los tubos del capuchinador.
NOTA: De fácilar el montaje ha sido aplicado un adhesivo explicativo en el interior de la puerta delantera:
- Pasar a la limpieza del recipiente de goteo (ver párrafo "LIMPIEZA RECIPIENTE DE GOTEO").
10. TABLA DATOS PREDISPACES ESTANDAR
| INDICACION DISPLAY | CAUSA EFFECTO SOLUÇON NOTA | ||
| CAJón FONDOS LLENO | Cajón fondos lleno. El número de fondos café presentes en el cajón ha alcan- zado el valor preestablecido en fase de pro- gramación. | Bloqueo de las erogaciones botones a base café. | Extraer el cajón fon- dos y vaciarlo en el interior de un conte- nedor de la basura. Volver a introducir el mismo cuando el displau muestre el sigúiente mensaje: |
| Maquina Lista Cajon lleno | |||
| CAJón FONDOS FUERA DEL SITIO | Cajón fondos fuera del situ. | Bloqueo de las erogacio- nes botones a base café. | Introducir el cajón fon- dos en el hueco ade- cuado. Si estaalarma se mani- fiesta durante la reali- zación de unabebida a base de café: · haya la infusiónla alarma se muestra en el display, pero labebida se hace; ·性和 de infusión el ciclo en curso se suspende. Sólo con el resta- blecimiento del cajón el ciclo café continua con la fase de expulsion. Si estaalarma se mani- fiesta durante una fase de reprogr. Gestión grupo: ·la gestiónse sus- pende. ·Con el restableci- miento del cajón el ciclo de reprogr. Grupo se repite. ripetuto. |
| Maquina Lista Cajon abierto | |||
| POSICION PUERTECILLA MÁQUINA | Puertecilla abier- ta.. | Alineación de las functiones máquina. | Cerrar la puertecilla máquina. |
| Maquina OFF Puerta Abierta | |||
| INDICACION DISPLAY | CAUSA EFECACTO SOLUCION | ON NOTA | |
| NECESITA EFFECTUAR EL CICLO DE LAVADO | Se ha superado el número de ciclos prestedecas. pues del qual es必須o efectuargla limpiezadel Grupo. | Se visualiza elmensaje pero laquina conti-nua erogando labebida. | Efectuar un ciclo de lavado (ver relativo párrafo "LIMPIEZA DEL GRUPO EROGADOR Y CAPUCHINADOR"). |
| Alarma Lavado | |||
| NECESIDAD DE LIMPIAR EL CIRCUito LECHE | Ha sido supe-rado el número de horas prestedecido desdela ultima ero-gacion de unabebida a base de leche des-pués de lo quales必須o ellavado del cir-cuito leche. | Se visualiza elmensaje pero laquina conti-nua erogando lasbebidas. | Efectuar un ciclo de lavado solo del capuchinador. Como en el caso del lavado completee sespecarrio tener pre-sado el botónduringe 5 segundos sin tener que intro-ducir las pastillas detergentes de la limpieza delGrupo.(ver 1,2,3,4 del párrafo "LIMPIEZA DEL GRUPO EROGADOR Y CAPUCHINADOR"). |
| Ala.lavado leche | |||
| LAVADO FINAL SERVICIO | Ha sido programado el lavado de final service del grupo ero-gador en fase de programa-ción. | Hay que realizar el lavado de final service antes deapagar lamaids. | Apretar el botónENTER como se indica en la panta-lla electrónica. Laquina realizaráautomáticalemente el lavado de final service erogandoapproximamente50cc de agua y seapagará. |
| Shutdown Clean Press Enter | |||
| NECESIDAD DE REALIZAR EL CICLO DE DESCALCIFICACION | Ha sido supe-rado el número de litros des-pués del qual hay que realizarel ciclo de descentalcificacion. | Aparece elmensaje pero laquina continúa erogandobebidas. | Efectuarciclodesdescalcificio (VER párrafocorrespondiente"DESCALCIFICACION") |
| Effectuar Decalcification |
12. MENSAJES ALARMA BLOQUEO MAQUINA
| INDICACION DISPLAY | CAUSA EFECA | TO SOLUCION | NOTA | |
| ALARMA GRUPO MOTOR PISTON SUPERIOR | Durante la fase de gestión Grupo el pistón superior ha superado el tiempo máximo preestablecido de 10 segun-dos antes del Reconocimiento punto de partida motor. | La�性 de controlBloquea el possible ciclo en bajo, apa-gando los accio-nadores que dirig- gen la gestión, el usuario no pueda efectuar selecciones en el teclado. | Abrir y cerrar la puertecilla mayu-na. | Si laALARma aparece una发展机遇a vez, con tactar al Técnico Cualificado. |
| Xxxxxxx Error Grupo | ||||
| ALARMA LLENADO CALDERA Nivel | La fase de lleno caldera ha superado el tiempo máximo de 3 minuto; la sonda nivel está descubierta. | La mayquina se de. | Si laALARma vuelve a sonar por发展机遇a vez, contactar al Técnico Cualificado. | |
| ALARMA TURBINA Cuando se activa algo alarma la�性 de control alterna en la pantalla electrónica el mensaje relativo al bebida que se está realizando con el mensaje de error asociado a esta función. Por example: Err.Dosificador | El contagador volumétrico no envia impulsos a la centrali-ta durante un tiempo de 5segundos. | La erogación continua hasta que pasan 60segundos o haya que se presaessler quiber botón a base café. | Abrir y cerrar la puertecilla mayu-na. La�性 de control repite el procedimiento devoltar a encenderla mayquina. | En caso deque las condi- ciones de alar- ma persistan,la mayquina = puede ser uti- lizada como si se actuará con una mayquina manual. •Pulsar el botón desea-do de起初 la dosis; •Pulsar el misismo botón de der la dosis en* cursor, una vez compro- bada la dosis de la taza. Llamar al Servicio Técnico. |
| INDICACION DISPLAY | CAUSA EFECTION | TO SOLUCION | ON NOTE | |
| ALARMA TANQUE VACIO | El tanque del agua está vacio. | No se eroga el café y se interrupme la dosis en bajo. | Llenar el tanque del agua. | Utilizar el botón Agua Caliente para eliminar posibles burujas de aire. |
| Llenar tanque | ||||
| ALARMA DEPURADOR | El contador volumétrico ha alcanzado el número de litros de agua erogables, determinado en programación. | No se eroga el café, no se interrupme la dosis o esta es variable. | Regenerar las sales del depura-dor. De anular laalarma ver párrafó "PONER A CERO COUNTER DE RADIUS DEPURADOR". | Estaalarma no blo-quea la ergación. Es possible eliminar laalarma depura-dor programando el valor de litros a cero (ver relativo párrafó "PROGRAMACION"). |
| Filtro Agua 1.28 | ||||
| ALARMA SONDA TEMPERATUREA AVERIADA | Rotura de una de las dos son-das de tempera-tura. | No se eroga el café. | Sustituir la sonda averiada. | EstaalarmaBloquea las ergacionesi. |
| Error Temp Café | ||||
| Error temp vapor | ||||
| ALARMA CANTIDAD CAFÉ | Demasiado café en laamera. | No se eroga el café, y se efec-tua un ciclo de expulsion. | Reducir la calidad de café. | |
| Err.Cantid.Cafe |
ManualFácil