Kid Tab 9 - Tablette Trevi - Notice d'utilisation et mode d'emploi gratuit
Retrouvez gratuitement la notice de l'appareil Kid Tab 9 Trevi au format PDF.
| Caractéristiques techniques | Écran 9 pouces, résolution 1024 x 600 pixels, processeur Quad-Core, 1 Go de RAM, 16 Go de stockage interne extensible via microSD. |
|---|---|
| Système d'exploitation | Android 10 Go Edition, optimisé pour une utilisation fluide sur des appareils avec des ressources limitées. |
| Connectivité | Wi-Fi, Bluetooth 4.0, port micro USB, prise casque 3,5 mm. |
| Utilisation | Conçue pour les enfants, avec un accès à des applications éducatives et des contrôles parentaux intégrés. |
| Autonomie | Batterie de 3000 mAh, autonomie d'environ 4 à 6 heures selon l'utilisation. |
| Maintenance et réparation | Nettoyage régulier de l'écran avec un chiffon doux, mise à jour du système d'exploitation recommandée. |
| Sécurité | Contrôles parentaux pour limiter le temps d'écran et les contenus accessibles. |
| Informations générales | Poids léger, design robuste, idéal pour une utilisation par des enfants, garantie de 2 ans. |
FOIRE AUX QUESTIONS - Kid Tab 9 Trevi
Questions des utilisateurs sur Kid Tab 9 Trevi
0 question sur cet appareil. Repondez a celles que vous connaissez ou posez la votre.
Poser une nouvelle question sur cet appareil
Téléchargez la notice de votre Tablette au format PDF gratuitement ! Retrouvez votre notice Kid Tab 9 - Trevi et reprennez votre appareil électronique en main. Sur cette page sont publiés tous les documents nécessaires à l'utilisation de votre appareil Kid Tab 9 de la marque Trevi.
MODE D'EMPLOI Kid Tab 9 Trevi
- Mettre l'appareil
- Dans la page d'accueil, sélectionnez "AVVIO APPLICATIONS" et l'icone pour toutes les applications
- Sélectionez l'icone "IMPOSTAZIONI"
- Faites défilier la liste et sélectionnez l'icone - LINGUA
-
Selectionnez "LINGUA" et à couver leur proper langue parmi celles disponibles.
-
Pour plus d'informations et pour obtenir des mises à jour sur ce produit, consultez : www.trevi.it
IHRE SPRACHE GERÄT EIN:
Nous vous remercions d'avoir acheté ce KIDTAB 9 Trevi. Grâce à son système d'exploitation Google Android et au logiciel spécifique MF kids, cet apparéil peut être employé aussi bien par des adultes que par des enfants. Le logiciel MF kids a été développé pour permettre aux enfants de s'amuser et apprendre en utilisant une interface graphique simple et amusante, en outre, grâce à sa connexion Wi-Fi, vous pouvez vous connecter librement à internet, accéder à plusieurs contenus et télécharger des applications/des yeux utiles et amusants. Pour vous offrir une plus grande protection, KIDTAB 9 est doté d'une coque de protection aux angles renforcés pour le protégger en cas de chutes accidentelles.
Avant d'utiliser cet apparéil, veuillez litre attentivement le présente manuel d'utilisation.
CONTENU DE LA BOITE:
Éléments présents dans la boîte :
- Apparel
Coque de protection en caoutchouc - Alimentateur AC/DC
- Câble USB pour connexion avec l'ordinateur
- Manuel d'instructions
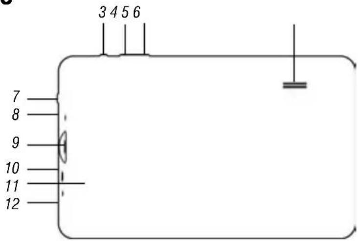
DESCRIPTION DES COMMANDES

- Caméra frontale.
- Affichage.
- Pas de fonction.
- Vol Key.
- Bouton VOL +.
- Président.
- Touche marche / arrêt et de verrouillage / Débloquez Affichage: Pour éteindre l'appareil l'unité et le bloc / bloc Affichage.

- 3,5 mm jack de sortie casque.
- Fente de carte micro SD.
- Prise Micro USB / hote: pour connecter ou connecter l'ordinateur à votre ordinateur des dispositifs externes.
- Remetre
- Jack DC: branchez l'adaptateur 5V.
AFFICHEUR TACTILE
L'afficheur à technologie tactile est un dispositif permettant à l'utilisateur de sélectionner/ d'activer les différentes applications d'un simple contact du doigt sur l'afficheur. Cet apparéil est doté d'un afficheur de type Capacitif. Par conséquent, il n'est PAS NÉCESSAIRE d'appuyer sur la façade ou d'utiliser un stylet: il suffit d'effleurer l'Afficheur avec le doigt.
- N'utilisez pas d'objets tranchants, susceptibles de rayer ou d'endommager l'Afficheur.
- Evitez tout contact de l'afficheur avec l'eau.
- Nettoyez l'Afficheur avec un chiffon doux, sans ajouter de détergent/solvant.
L'écran tactile est contrôle comme suit :
- Contact unique du doigt : pour sélectionner ou lancer une application.
- Contact et maintain du doigt sur la touche : en touchant et gardant appuyée la touche pendant 2 secondes, un Menu « Options » apparait.
- Double contact du doigt : touchez rapidement l'afficheur deux fois pour agrandir ou réduire l'affichage des pages Web.
- Glissement : faites glisser le doigt vers la droite, la gauche, le haut ou le bas pour naviguer dans les différentes directions.
- Glissement d'un élément : touchez et gardez appuyé un élément pendant 2 secondes; l'élement grossit légarement. Faites ensuite glisser votre doigt pour déplacer l'élement et, une fois la position souhaïée atteinte, retirez votre doigt de la façade.
- Lorsque vous regardez une video ou écoutez de la musique, vous pouvez vous déplacer directement vers un point spécifique, en touchant simplement la barre de progression ou, avec le doigt, en faisant glisser le curseur de la barre de progression sur un point spécifique.

- Lors de l'exploration des dossiers (Fichiers, Musique, Videos, Photos, etc.), vous pouvez faire glisser votre doigt de bas en haut ou vice-versa pour parcourir la liste des dossiers.

- Lors de la navigation Internet, vous pouvez vous déplacer vers le haut ou vers le bas en touchant simplement la page et en la faisant glisser vers le haut ou vers le bas. Pour agrandir la page, touchez rapidement deux fois l'écran, ou utilisez les iconônes en forme de loupe qui apparaissent en bas à droite de l'écran.
- Touchez un lien pour ouvrir la page.
Rotation des images
Cet apparéil est équipé à l'intérieur d'un capteur de mouvement (capteur G) qui déetect automatiquement l'orientation du dispositif.
En cas de rotation du dispositif, l'image tourne automatiquement en fonction de la nouvelle orientation. Pour activer ou désactiver cette fonction, consultez la section 15. Réglages, « Audio et Afficheur »
UTILISATION DU CLAVIER VIRTUEL
Un clavier virtuel apparait en cas d'effleurement des fenêtres de texte à l'écran, vous pouze ainsi saisir des adresses Web ou écrite du texte.
Chiffres et Symboles
Touchez la commande pour passer au mode clavier

ALIMENTATION PAR BATTERIE ET RECHARGEMENT
Ce dispositif utilise une batterie interne rechargeable au lithium. Une fois la batterie rechargée, il est possible d'utiliser l'appareil sans qu'il soit connecté à une prise d'alimentation.
Rechargement de la batterie au moyen d'un alimentateur externe.
A Branchez le dispositif eteint a l'adaptateur reseau inclus dans la boite a I'aide de la pris d'alimentation (12).
B L'appareil affiche pendant quelques secondes, l'icone de la batterie et la phase de rechargement.
À tout moment, en appuyant légèrement sur la commande Power, vous pouvez vérifier l'état de chargement en contrôle l'indicateur graphique.
C Lorsque l'icone de la batterie ne rouge plus (l'indication interne sera complètement verte), débranchez le dispositif de l'alimentation.
INTRODUCTION D'UNE MÉMOIRE EXTERNE MICRO SD
Pour augmenter sa mémoire et ainsi stocker un plus grand nombre de fichiers, ce dispositif est doté d'une fente (9) pouvant accueillir une mémoire externe de type micro SD.
- Insérez la carte micro SD en gardant la surface avec les contacts électriques orientés vers le haut (côté écran), insérez délicatement la carte jusqu'à entendre un clic, la barre d'etat au bas afficheraMAINANT le message « Préparation carte SD »
- Pour-retirer la carte mémoire en toute sécurité, allez à RÉGLAGES - MÉMOIRE et Sélectionnez DEMONTAGE CARTE SD. Retirez la carte micro SD en appuyant dessus et en la relachant.
Remarque: N'insérez ou ne retirez pas la mémoire lorsque l'appareil lit des fichiers ou transfère des données. Cela peut provoquer des erreurs. L'introduction de la mémoire doit se faire uniquement lorsque le TAB est étant et débranché de l'ordinateur. Pour-retirer la carte, passez toujours par le « retrait en toute sécurité »

CONNEXION À UN ORDINATEUR ET TRANSFERT DE FICHIERS
Gréace au cable USB-micro USB fourni, vous pouvez brancher votre KIDTAB 9 à un ordinateur afin de procéder au transfert de fichiers; ces opérations doivent être effectuées lorsque l'appareil est étèint. Si votre ordinateur utilise le système d'exploitation XP, il est conseillé dinstaller Windows Media Player 11, parce que Android 4.2 requiert le support de ce dernier.
- Branchez la prise micro USB du cable fourni à la prise micro USB du KIDTAB 9 (10).
- Branchez la prise USB du cable fourni à une prise USB de votre ordinateur ; une fois le branchement terminé attendez quelques secondes, il apparait ensuite sur l'afficheur de la TABLETTE un nouveau écran, sélectionnez l'icone « Activation archive USB » .

Le système d'exploitation reconnaît automatiquement l'appareil en tant que dispositif de mémoire et permet d'explorer et de transférer des fichiers grâce aux opérations de copier/coller classiques.
Si une mémoire externe micro SD est présente, le système d'exploitation détecte deux dispos-sitifs de mémoire (la mémoire interne de la Tablette et la mémoire externe), qui peuvent être gérés de manière indépendante. Les fichiers peuvent être enregistrrés librement dans la mémoire de la TABLETTE et/ou organisés en dossiers (par exemple, Musique pour les fichiers audio, Livres pour les livres numériques, etc.) créés par l'utilisateur. Il est recommandé de ne pas effacer d'eventuels dossiers ou fichiers système dans le dispositif, afin de ne pas affecter le fonctionnement correct de l'appareil.
- Avant de débrancher l'appareil de la prise USB, touchez l'icone « Désactivation Archive USB » sur l'afficheur du KIDTAB 9. Via l'ordinateur, utilisez ensuite la fonction « Retirer le péripérisque en toute sécurité » pour éviter des problèmes eventuels, comme la perte de données ou des défaillances de communication entre le KIDTAB 9 et l'ordinateur.
OPÉRATIONS DE BASE
Marche et arrêt.
- Pour allumer l'appareil, appuyez et gardez la touche Marche / Arrêt (7) appuyée pendant 4 secondes. Lorsque vous voyagez la page d'accueil, faites glisser le curseur en dehors du cercle jusqu'à ce que l'icone de déblocage s'affiche:
- Glissez-le vers la droite pour entrer directement dans la page d'accueil.
- Glissez-le vers la gauche pour aller directement aux fonctions tenues ouvertes avant l'arrêt.
- Pour éteindre l'appareil, appuyez et gardez la touche marche/arrêt appuyée (2) pendant quelques secondes, jusqu'à ce que la fenêtre «arrêt» s'affiche, à ce stade, confirmez en appuyant sur la commande «OK».
Blocage/déblocage de l'Afficheur (mode veille).
Pour prolonger la durée de vie de la batterie, il est possible demettre l'appareil en veille en désactivant I'Afficheur LCD. Pour ce faire, appuyez sur la touche de marche/arrêt (7) et relâchez-la immédiatement. Repétez l'opération pour réactiver I'Afficheur et afficher le blocage de l'écran.
DESCRIPTION DE LA PAGE PRINCIPALE OS ANDROID (écran d'accueil)
Le blocage de l'appareil effectué, une fenêtre s'affiche et elle vous demande de compléter
l'action, à savoirCHOISIR de demarrer le systeme d'exploitation ANDROID (Demarrage des Applications) ou MF Kid. Sélectionnez «Démarrage des Applications»
Dans la page-écran principale, il est possible de replir l'espace avec de différentes combinaisons de connexions

- Retour à la page précédente.
- Retour à la page principale Home.
- List des cartes ouvertes.
- Commande diminution du volume.
-
Commande augmentation du volume.
-
Sous-menu/biais.
- Icône Connexion à la prise USB.
- Heure.
- Icône état de chargement de la batterie.
10.Accès à la page des applications.
CONNEXION AUX RÉSEaux
Sans fil et réseaux
La connexion Wi-Fi peut être utilisée avec un point d'accès Wi-Fi Access Point (AP) ou avec une connexion Wi-Fi sans protection hotspot. Sélectionner cette option permet d'acceder aux réglages sans fil et au réseau. Pour acceder à Internet, il convient tout d'abord de configurer un réseau sans fil. Pour ce faire, il est nécessaire de se couver dans une zone Wi-Fi. Chaque fois que vous vous trouvez dans une zone Wi-Fi précédemment configurée, le dispositifcherche à se connecter automatiquement (si la fonction Wi-Fi est activée).
Activation / désactivation du Wi-Fi :
- Sur la page des Applications, identifiez l'icone « Wi-Fi», et selectionnez ensuite ON

- Pour désactiver la connexion Wi-Fi, Sélectionnez la commande OFF.

REMARQUE: Pour augmenter la durée de vie de la batterie, il est conseillé de désactiver la connexion Wi-Fi lorsqu'elle n'est pas utilisé.
Recherche et connexion à un réseau Wi-Fi :
- Une fois sélectionnée la commande ON, la Tablette active automatiquement une recherche des réseaux Wi-Fi disponibles et une liste apparait du côté droit de l'écran. Si vous poulez effectuer une nouvelle recherche, touchez l'option « Balayage » dans la partie supérieure de l'écran.
- Sélectionnez le réseau souhaité. Si celui-ci est protégé, saisissez le mot de passer en touchant la fenêtre encadrée en orange et en utilisant le clavier virtuel (voir section 4. « Utilisation du clavier virtuel »).
- Appuyez sur la touche « Connexion » et attendez que le symboliste s'affiche sur la barre d'etat.
- Il est également possible de configurer manuellement un réseau lorsque le SSID du réseau est connu. Touchez simplement l'option « Ajouter réseau » et saisissez l'adresse SSID au moyen du clayier virtuel.
- Il est possible d'effectuer des connexions même à travers des réseaux VPN et Hotspot portable en configurant simplement ces connexions.
NAVIGATION INTERNET
Avant de vous connecter en réseau, assurez-vous que la connexion Wi-Fi est active.
- Sur la page principale, touchez la commande de recherche de Google

Le clavier virtuel d'Android apparait; il est alors possible de saisir l'adresse Internet du site ou d'effectuer une recherche au moyen du moteur de recherche.
ou touchez l'icone pour ouvrir le navigateur.
Pendant la navigation touchez l'icone pour afficher les réglages et les sous-menus: Le système d'exploitation Android 4.2 prend en charge Adobe Flash Player 11. Cela signifie qu'il est possible d'afficher des videos directement depuis des sites Internet, sans avoir à télécharger une application supplémentaire.
La TABLETTE est fournie avec un certain nombre d'applications déjàChargees, mais elle peut également prendre en charge des applications fierces.
Installer une application depuis Play Store :
- Sur la page des applications sélectionnez l'icone «Play Store»
- Suivez pas à pas les écrons pour creer un compte e-mail sous GMail ou accédez directement si vous avez déjà un compte sous GMail.
- Connectez-vous à Play Store et cherchez l'application souhaitation.
Déinstaller une application :
- Sélectionnez le Menu « RÉGLAGES - APPLICATIONS »
- Sélectionnez l'application à désinstaller.
- Touchez la commande « DESINSTALLER » pour désinstaller définitivement l'application.
Une fois allumé le dispositif et débloquées les commandes (glissez le curseur en dehors du cercle), activez la connexion Wi-Fi avec navigation internet. Une fois la connexion Internet établie, appuyez sur l'icone HOME; une fenêtre apparait et elle vous demande si vous foulez demarrer le système d'exploitation ANDROID (Démarrage des Applications) ou MOFING UX (plateforme educative).
Sélectionnez « MOFING UX » et la page-écran suivante apparait :

Lors de la première utilisation de la plateforme educative il est nécessaire de télécha et activer les contenus.
Cette opération doit être effectuee par un adulte; si I'on n'effectue pas cette operation, la seule application disponible est Dino Adventure dans l'ile Game Island.
Pour télécharger et activer des applications ultérieures procedede comme il suit:
- Sélectionnez n'importe chaque Île thématique (si l'on sélectionné LANGUAGE, il faut
sLECTIONner aussi l'activité et la langue souhaitatione). Une fenetre comme celle qui suit s'affiche :

- Sélectionnez le symbole du chariot avec le signe + ; le téléchargement automatique de la plateforme MOFING KIDS (Fig. 1 ci-après) commence, dans l'écran de confirmation d'installation, appuyez sur l'icone INSTALLER (Fig. 2 ci-après).

Fig.1 Fig.2 Fig.3


- Attende z'installation de l'application et appuyez sur OUVRIR (Fig.3) ; il est possible maintainant de naviguer dans les applications educatives presents dans la plateforme MORFING UX.
- Une fois可以选择 l'application de votre intérêt, vous pouvez la sélectionner, une page de description de l'application s'affiche. Pour l'installer, appuyez sur l'icone LIBRE (gratuite):

- Il est nécessaire (seulument une fois lors de la première installation) de s'enregistrer à la plateforme, lorsque la fenêtre ENTRER (Fig. 4 ci-après) s'affiche, sélectionnez le message ENREGISTREMENT pour commencer la procédure :


Fig.4 Fig.5
- Une fois可以选择 l'application de votre intérêt, vous pouvez la sélectionner, une page de description de l'application s'affiche. Pour l'installer, appuyez sur l'icone LIBRE (gratuite):
Dans la page d'enregistrement (ENREGISTREMENT Fig. 5) insérez :
- une adresse e-mail valable et personnelle dans le champ EMAIL
- mot de passer et confirmation du mot de passer que l'on peut utiliser pour acceder à la plateforme (le mot de passer doit avoir de 6 à 16 caractères)
- le sobriquet (pseudonyme) à utiliser pendant l'accès à la plateforme
- Le sexe (homme ou femme) de l'utilisateur
Confirmez les données en appuyant sur l'icone ENREGISTREMENT et attendez, la fenêtre

préciédente (ENTRER, Fig.4) s'ouvre de nouveau et vous pouvez y insérer email et mot de passer.
Attendez quelques secondes pour acceder aux applications prsentes et pour installer celles que vous souhaitez.
Pour installer une application accededz à la plateforme educative, inserez email et mot de passage s'ils sont demandés et choisissez l'application souhaitation ; les application disponible sont indiquées avec le message LIBRE. Une fois selectionnée l'application, selectionnez LIBRE pour démarrer le téléchargement (il faut activer la connexion internet). A la fin du téléchargement, confirmez l'installation et attendez, lorsque l'icône Ouvrir s'affiche, il est possible d'utiliser l'application.
Selon l'ile thématique désisie, il y a de différentes applications disponibles (contes, yeux, contenus éducatifs) qui, une fois installées, seront disponibles sur le tableau d'affichage de l'ile même, pour les démarrer il suffit de sélectionner l'icone correspondante.
MF KIDS - UTILISATION DE LA PLATEFORME EDUCATIVE
Allumez l'appareil en gardant la touche Marche/Arrêt (7) appuyée pendant 4 secondes.
Lorsque la page d'accueil Home apparait, faites glisser le curseur hors du cercle.
Le déblocage de l'appareil effectué, une fenêtre s'affiche et elle vous demande de compléter l'action, à savoir désir de démarrer le système d'exploitation ANDROID (Démarrage des Applications) ou MF Kids. Sélectionnez « MF Kids » et la page d'accueil suivante apparait:

La page d'accueil permet d'acceder à 6 catégories principales (iles) et à 6 fonctions de base :
a. Musique: Pour écouter votre musique.
b. Video: Pour voir vosVIDEOS.
c. Photo: Pour afficher vos photos.
d. Nuage: non actif.
e. Contrôle parental: Réglages généraux de l'appareil par les parents pour l'utilisation et le contrôle de l'unité.
CATÉGORIES
FRANÇAIS
f. Storyland: Pour tire des livres et écouter des livres audio.
g. Language: Pour apprendre une nouvelle langue (anglais, espagnol...)
h. Zoo island: Découvrir et jouer avec les animaux.
i. Creativity: Pour s'amuser à jour et à creer vos livres ou albums photographiques.
j. Game island: Pour jouer avec plusieurs jours amusants.
k. Education: Apprendre en s'amusant (fiches de cours,leaseducatifs...).
MARKET, TÉLECHARGER/DéINSTALLER LES APPLICATIONS
Dans les 6 catégories, il faut télécharger les applications que l'on souhaite directement du market.
Télécharger une application :
Dans chaque catégorie l'icone du chariot est presente, en l'appuyant vous vous connectez directement au market (Wi-Fi activé).
Effectuez l'identification si demandée, il suffit d'écrire l'adresse e-mail indiquée pendant l'enregistrement et insérer le mot de passer correspondant (voir le chapitre 15 de ce manuel). Appuyez ensuite sur « ENTRER »
Le jeu sera télécharge automatiquement.
Déinstaller une application :
- Si l'on souhaite désinstaller une application, il faut appuyer sur l'icone de la poubelle

qui se trouve dans chaque catégorie.
- Une petite croix rouge apparait dans la partie supérieure de chaque application, selectionnez l'application que vous pouze désinstaller et confirmez.
Le market de chaque catégorie est mis à jour automatique. Lorsque une mise à jour est disponible, un message s'affiche automatique, il faut seulement confirmer en appuyant sur « Mettre à jour »
LECTURE DE FICHIERS MULTIMÉDIA
Musique
Téléchargez vous dossier Musique dans les "Musickids" (si elle est copieedans d'autres dossiers fichiers ne seront pas affichés).
Après avoir chargé votre Musique sur le TAB, touchez le nuage « a » dans la partie supérieure de la page d'accueil. Vous pouvez alors désir parmi les options Artiste, Morceaux ou Play


Après la sélection, un lecteur multimédia permettant deGERER les morceaux et d'afficher la pochette de l'album (si celle-ci est disponible dans le fichier) s'ouvre.

a- Chanson précédente: pour revenir au morceau précédent.
b- Chanson suivante: pour passer au morceau suivant.
c- Play/Pause: sélection pour reproductive oumettre en pause le morceau.
d- Repétition/ Lecture aléatoire: Sélectionnez la commande pour repêter le morceau/ Sélectionnez pour réproduire des morceaux selon une succession aléatoire.
e- Sélectionnez la commande pour creer une Playlist.
Véos
Téléchargez vous dossier Videos dans les "Videokids" (si elle est copieed dans d'autres dossiers fichiers ne seront pas affichés)
Vous pouvez afficher des videos enregistrées dans la mémoire interne ou sur carte micro SD. Touchez le nuage «b» dans la partie supérieure de la page d'accueil.

Selectionnez la video souhaitatione parmi celles qui sont disponibles.

a- Touchez cette commande pour voir la video en plein écran.
b- Faites glisser le curseur pour avancer la reproduction.
c- Play / Pause : Lorsqu'une video est en mode lecture, pour le selectionner il faut lemettre en pause. Appuyez de nouveau pour le restaurer.
d- Volume: Touchez pour baiser le volume.
e- Volume: Touchez pour augmenter le volume.
f- Sélectionnez pour défiler en arrête.
Images
Téléchargez votre dossier Images dans les "Photo_kids" (si elle est copieedans d'autres dossiers fichiers ne seront pas affichés)
Pour ouvrir la section photo, touche le nuage «c» dans la partie supérieure de la page d'accueil. Pour afficher des images, il suffit de déplacer le doigt sur l'écran de droite à ga pour procéder dans l'affichage des images, ou de gauche à droite pour défiler en arrêt.

Pour éliminer une photo:
- Touchez l'image lorsqu'elle est en plein écran, dans la partie inférieure une poubelle s'affiche.
- Touchez la poubelle et confirmez l'élimination en sélectionnant la commande « OK »
CATÉGORIES
Story Land
Sélectionnez l'ile « Storyland » (f) qui se trouve dans la page d'accueil.

a- Pour télécharger un livre, Sélectionnez l'icone du Chariot. Sélectionnez ensuite ce que vous souhaitez.
b- Si vous voulez éliminer l'un des livres, il suffit de le faire glisser dans la poubelle.
Language
Selectionnez l'ile « Language » (g) qui se trouve dans la Page d'Accueil.

a- Choisissez l'une des 3 catégories disponibles: « Learn Words » (Apprendre des mots), « Dictionaries » (Dictionnaires), « Listen & Watch » (Écoutez et regardez).
b- Sélectionnez la langue souhaïée.
c- Sélectionnez le Chariot, sélectionnez et téléchargez les applications souhaitées qui concernnent la catégorie sélectionnee.
d-Si vous poulez eliminer l'une des applications, il suffit de la selectionner et la faire glisser dans la poubelle.
Zoo island
Selectionnez l'ile « Zoo Island » (h) qui se trouve dans la Page d'Accueil.

Dans cette catégorie il est possible de télécharger des applications amusantes avec des animaux.
a- Pour télécharger les applications, Sélectionnez l'icone du Chariot. Sélectionnez ensuite ce que vous poulez télécharger.
b- Si vous poulez éliminer une application, il suffit de la sélectionner et la faire glisser dans la poubelle.
Game island
Selectionnez l'ile « Game Island » (j) qui se trouve dans la Page d'Accueil.

Dans cette catégorie il est possible de télécharger plusieurs yeux amusants.
a- Pour télécharger les jours, sélectionnez l'icone du Chariot. Sélectionnez ensuite le jeu souhaité pour le télécharger.
b- Si vous poulez éliminer un jeu, il suffit de le selectionner et le faire glisser dans la poubelle.
Creativity
Selectionnez l'ile « Creativity » (i) qui se trouve dans la Page d'Accueil.

Vouss pouvez telecharger ici des applications pour creer des livres, des puzzles et des dessins.
a- Pour télécharger les applications, sélectionnez l'icone du Chariot. Sélectionnéz ensuite ce que vous poulez télécharger.
b- Si vous poulez éliminer une application, il suffit de la sélectionner et la faire glisser dans la poubelle.
Education
Sélectionnez l'ile « Education » (k) qui se trouve dans la Page d'Accueil.

Voutrouverez ici des exercices pour votre enfant subdivisés en plusieurs champs : langues, géographie, mathématique, sciences et histoire.
Dans la partie inférieure de l'écran, il y a 5 icones qui correspondent aux différents champs :
a-Langues
b-Geographie
c-Mathématique
d- Sciences
e-Histoire
1- Pour télécharger les applications, sélectionnez l'icone du Chariot. Sélectionnéz ensuite ce que vous poulez télécharger.
2- Si vous poulez éliminer une application, il suffit de la sélectionner et la faire glisser dans la poubelle.
RAZ DE L'ENVIRONNEMENT ANDROID MOFING UX (MF KIDS)
Si la tablette est prét à être activé par l'application et MF KIDS ‘necessité d'effectuer la procédure suivante pour rétablier le fonctionnement normal de l'environnement Android:
- Dans l'environnement de cloud KIDS MF selectionnez Contrôle parental
- Sélectionnez Paramètres
- Faites défilier les paramètres de la liste et Sélectionnez APPLICATIONS
- Sélectionnez l'objet ALL
- Faites défilier la liste des applications et Sélectionnez MOFING UX
- Faites défiler jusqu'à démarre pas par défaut et sélectionnez EFFACER DEFAULT
- Appuyez sur HOME, puis selectionnez APPLICATIONS DE DEPART
NOTE D'INFORMATION RELATIVE À L'ENLÈVEMENT ET À L'ELIMINATION DE LA BATTERIE
Attention : Cette opération doit être effectuee uniquement par des opérateurs qualifiés ! La batterie rechargeable présente dans cette apparéil ne peut pas'être remplacée par l'utilisateur.
- Retirez l'étui arrêté de l'appareil, en faisant levier vers le haut entre la partie avant et la partie arrêté ;
- Identifiez la batterie
- Debranchez-la pour l'enlever.
Tout type de batterie épuisée ne doit pas etre elimine avec les déchets domestiques, ou jetedans le feu ou I'eau. Tout type de batterie épuisée doit etre recyclé ou remis aux déchargesspecialisées de collecte.
SPECIFICATIONS TECHNIQUES
AFFICHEUR. 9-inch TFT LCD, Capacitif (Ecran tactile)
RÉSOLUTION 800 X 480 (16:9)
Recommandations pour l'elimination correcte du produit.
Le symbole figurant sur l'appareil indique que le produit fait l'objet d'une "collecte séparée". C'est pourquoit, le produit ne doit pas être éliminé avec les déchets urbains.
L'utilisateur doit remettre le produit auprès de " décharges spécialisées de collecte séparée" prévues par les autorités locales, ou bien le rendre au revendeur quand il achètera un nouvel apparéil équivalent.
La collecte séparée du produit et les opérations successives de traitement, recyclage et élimination favorisent la production d'appareils composés par des matériaux recyclés ainsi que permettent d'éviter des effets négatifs sur l'environnement et sur la santé des personnes suite à une gestion impropre du déchet.
Toute élimination abusive du produit entraîne l'application de sanctions administratives.

kidTab 9

treui
Trevi S.p.A.
Strada Consolare Rimini-San Marino, 62
47924 RIMINI (RN) Italy
Tel. 0541/756420 - Fax 0541/756430
www.trevi.it - E-mail: info@trevi.it
C€0700!


Notice Facile