RU280BT - Autoradio ROADSTAR - Notice d'utilisation et mode d'emploi gratuit
Retrouvez gratuitement la notice de l'appareil RU280BT ROADSTAR au format PDF.
| Caractéristiques | Détails |
|---|---|
| Type d'appareil | Autoradio |
| Connectivité Bluetooth | Oui, pour la diffusion audio sans fil et les appels mains libres |
| Compatibilité audio | MP3, WMA, WAV |
| Entrées | USB, AUX |
| Puissance de sortie | 4 x 50 Watts |
| Écran | Affichage LCD |
| Fonctionnalités supplémentaires | Radio FM/AM, égaliseur audio, pré-réglages de stations |
| Installation | Installation standard 1 DIN |
| Maintenance | Nettoyer régulièrement les connecteurs et l'écran |
| Sécurité | Protection contre les surcharges et les courts-circuits |
| Informations utiles | Vérifiez la compatibilité avec votre véhicule avant l'achat |
FOIRE AUX QUESTIONS - RU280BT ROADSTAR
Questions des utilisateurs sur RU280BT ROADSTAR
0 question sur cet appareil. Repondez a celles que vous connaissez ou posez la votre.
Poser une nouvelle question sur cet appareil
Téléchargez la notice de votre Autoradio au format PDF gratuitement ! Retrouvez votre notice RU280BT - ROADSTAR et reprennez votre appareil électronique en main. Sur cette page sont publiés tous les documents nécessaires à l'utilisation de votre appareil RU280BT de la marque ROADSTAR.
MODE D'EMPLOI RU280BT ROADSTAR
Se produit répond aux critères minima prévus par la directive 89/336/CEE et il a été construit conformément aux normes EN50013, EN50020.
Manuel d'instructions
- Voiture nouvel appellé à été fabriqué et monté en étant soumis aux nombreaux tests ROADSTAR. Nous espèrons que cet appellé nous donnera entière satisfaction. Avant de vous adnommer à ces activités, veuillez dire attentivement ce manuel d'instructions. Conservez-le à portée de main à fin de reference ultérieure.
Le symbole "point d'exclamation" à l'intérieur d'un triangle avertit l'utilisateur que d'importantes instructions d'utilisation et de maintenance sont contenu dans le mode d'emploi.

Le symbole "éclair" à l'intérieur d'un triangle sert à avertir l'utiliser de la présence du courant à l'intérieur de l'appeil qui pourrait constituer un risque.

Afin de minimiser les risques, ne pas ouvir le boilier ni oTER le dos de l'appareil. En cas de panne, faites appel au techniciens qualifiés pour les réparations. L'apparile ne renferme aucune-piece réparable par l'utilisateur.

Un rayonnement laser invisible est present lorsque l'appareil est ouvert ou le verrouillage de sécurité est inopportérant. Eviter toute exposition directe au rayon laser. L'utilisation des commandes, réglages ou procédés autres que ceux stipulés dans le present mode d'emploi sont dangereux.

L'appareil ne doit pas etre expeia a l'humidite ou a la plue.

L'appareil doit être garde dans un endroit suffisamment ventile.

L'appareil ne doit pas etre exposé à la lumière directe du soleil ou a des sources de chaleur.

Autoradio FM Stereo Digitale PLL avec lecteur de USB / SD / MMC /MP3, Syntoniseur système Radio Data System avec EON et PTY, Façade frontale détaschable et Bluetooth.
MODED'EMPLOI
Veuiliez tire attentivement ce mode d'emploi, afin de familiariser avec votre nouvel apparéel avant de l'utiliser pour la première fois. Veuiliez s'il vous plait garder ce mode d'emploi comme reference pour le futur.
TABLE DES MATIERES
- Emplacement des Commandes
- Caracteristiques
- Installation
- Précautions et Entretien
- Connexions
- Operations
- Spécifications
EMPLACEMENT DES COMMANDES
- TOUCHE MARCHE/ARRET + SELECTEUR MODE (RADIO/USB/SD/AUX-IN)
- TOUCHE SELECTION LOUDNESS / DSP / DX-LOC/STEREO-MONO / TA / PI / BEEP
- VOLUME BAS/HAUT (+ REGLAGE BAS/AIGUS/BALANCE/FADER)
- TOUCHES DE PRESELECTION RADIO (1,2,3,4,5,6)
- TOUCHEMP3+10
- TOUCHE PLAY/PAUSE
- TOUCHE INTRO
- TOUCHE DE REPETITION USB / SD (MP3 REPEAT)
- TOUCHE RANDOM (LECTURE ALEATOIRE USB / SD)
- TOUCHE BANDE + BLUETOOTH
11.SYNTONIE AUTOMATIQUE OU MANUELLE (HAUT TUN>>/BAS TUN<< /SAUT/USB/SD/MMC(MP3) - TOUCHEMUTE + HOROLOGE
13.AFFICHEUR LCD - TOUCHERELACHEMENT FAÇADE
-
USB PORT
-
SD CARD SLOT IN
17.ENTREE AUDIO EXTERNE - TOUCHEMP3-10
CHARACTERISTIQUES
Cette autoradio douée de façade amovible, FM/FM stéréo, lecteur USB-SD/MP3 a les suivantes caractéristiques :
- Contrôle électronique Volume, Aigus, Bas, Balancement, Fader
- Syntonie électronique de précision douée de circuit PLL.
18 stations mémorisables (6FM1 + 6FM2 + 6FM3)
Loudness - Interrupteur Marche/Arrêt illumine
- Contrôle syntonie Manuelle/Automatique Haut/Bas
- Sélecteur Bande pour la sélection de FM1, FM2 ou FM3
- Contrôle display (Fréquence, Nom station, Type de programme)
- Fonction horloge en RDS
- Fonction Répartition USB / SD / MMC
- Lecteur et fichiers MP3 enregistrés sur de USB / SD / MMC
- Prise de sortie PRE (type RCA) pour la connexion à l'amplificateur
- Façade amovible qui fonctionne d'antivol
- Système d'illumination
- Fonctions RDS : PI (Identification Programme) TA (Announce Trafic)
PS (Service Nom Programme) PTY (Type Programme)
AF (Liste Frequences Alternatives)
TP (Progamme Traffic)
INSTALLATION
PRECAUTIONS
- Choisir l'emplacement du montage en veillant a ce que l'appareil ne gène pas le conducteur au volant.
- Eviter d'installer l'appareil dans un endroit exposé à des températures élevées, comme les rayons directs du soleil ou l'air chaud de l'installation de chauffage ou
bien dans un endroit exposé à la poussière, saleté ou a de fortes vibrations. - Ne se servir que des outils de montages foumis pour effectuer une installation sère
S-assurer d'avoir ete la facade extractible avant dinstaller l'appareil.
FrancaisFra
EXAMPLE DEMONTAGE
Installation dans le tableau de bord



Si il le faul, plier ces griffes.

Note: Garder la clé de déblocage dans un endroit sur pour vous permettre, le cas échéant, d'extraire l'appareil de l'auto.
Comment placer et enlever la façade.
La façade peut être enlevée de façon à éviter que l'appareil puisse être volé.
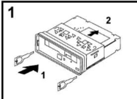
COMMENTENLEVERLAFACADE
Avant tout, s'assurer d'avoir pressé le bouton PWR (eteint) (1). Presser ensuite le bouton
RELEASE (14) et la retirer en tirant vers soi comme le montre le dessin.
COMMENTREMETTRELAFACADE
Portez la partie B de la façade à la zone A de l'appareil comme le montre la figure et pressez tant que vous n'entendez pas un déclic.
Faibles attention à ne pas exercer aucune pression sur le display et sur les autres touches.

CONNECTEUR ISO "BUILD-IN" (INTEGRE)

Prise RCA Line Out (Arriere) -
Gris: Rouge (droit)
: Blanc (gauche)
CONNECTEURA
- MEMOIRE + 12V PERMANENT
5.SORTIEANTENNEAUTOMATIQUE - +12V (ALACLEFDIGNITION)
- MASSE
FrancaisFr
N.B.:
Le fil +12V N°7 du connecteur A, doit être connecté sous cléf de démarriage pour éviter que la batterie de la voiture se décharge lorsque cette dernière n'est pas utilisée pendant longtemps.
CONNECTEURB
- HAUT-PARLEUR ARRIERE DROIT (+)
- HAUT-PARLEUR ARRIERE DROIT (-)
- HAUT-PARLEURAVANT DROIT (+)
- HAUT-PARLEUR AVANTDROIT (-)
5.HAUT-PARLEURAVANTGAUCHE (+)
6.HAUT-PARLEURAVANTGAUCHE(-) - HAUT-PARLEUR ARRIERE GAUCHE (+)
- HAUT-PARLEUR ARRIERE GAUCHE (-)
Si un fusible est grillé, contrôler la connexion électrique et replacer le fusible. Si le fusible se grille même après avoir été replacé, il se peut qu'il y ait un mauvais fonctionnement à l'intérieur. Dans ce cas, consultez le revendur le plus proche.
Attention
Utiliser des fusible ayant l'amperege specifie pour chaque cable. L'emploi de fusibles possedant un amperege supérieur pourrait provoquer de graves dommages.
OPERATIONS
ALLUMAGE/COUPAGE(1)(PWR)
Insérez la façade amovible dans l'appareil et pressez la touche PWR pourmettre en fonction l'autoradio.
Pour eteindre l'autoradio, pressez encore la touche PWR, puis pressez la touche RELACHEMENT (14) pour extraire la facade.
Faites attention à ne pas extraire la façade lorsqu'autoradio est allumée.
SELECTION(2)/VOLUME(3)
Le contrôle VOLUME régie la sortie du son. Pour seLECTIONner les autres fonctions pressée, légarant la touche SEL (2) jusqu'à ce que la fonction可以选择 est visualissée sur l'affector.
Employer les touches du VOLUME pour modifier les autres fonctions. La figure 1 montre la seLECTION des fonctions.
- VOLUME (tourner)
- SELECT(ION) (pousser)
3.GRAVES - AIGUS
5.BALANCE
6.FADER - LOUDNESS
- DSP (ROCK-POP-CLASS-DSP OFF)
9.TAVOLUME
10.REGIONAL ON/OFF
11 DX/LOC
12.STEREOMONO
Contrôle VOLUME(3).
Augmentation ou diminution du volume en tournant le contrôle VOLUME. Ce bouton peut ettre utilisé pour ajuster la tonalités BASSES, AIGUES, BALANCE et FADER.
Il peut être utilisé aussi pour désirir les options des fonctions RDS/SDK.
AFON/OFF
Pour permettre ou désactiver la fonction AF (Alternative Frequency).
PTYON/OFF
Pour permettre ou désactiver la fonction PTY (Program Type).
RECEHERCHETA/ALARMETA(2)
Pressez la touche "SEL" (2) pendant plus de 2 secondes pour selectionner les fonctions suivantes en tournant la contrôle Volume:
Mode RECHERCHE TA ou le mode ALARMTE TA
-Mode Recherche TA:
Quand une station symonisee ne recoit pas d'informations TP pendant 5 secondes, la radio passa a la station suivante qui n'a pas la meme (PI) que la derniere station, mais qui a les informations TP.
Si vous selectionnez ce système, quand il n'y a pas le signal TP, la radio ne recherche
FrancaisFra
aucune station alternative mais elle émet un signal (ALARME) pour signaler l'absence du signal TP.
TONALITE PI/MUTE PI
-TONALITE PI
Lorsqu'une voiture roule dans une aire spéciale ayant un code PT mais le même AF, on entend une tonalité PI (DIP) de temps en temps. On peut entendre le son DIP pendant au moins 1 seconde.
-MUTEPI
Dans les mêmes conditions que nous venons de voir, la tonality est mise à zéro pendant au moins 1 seconde.
(C) RESYNTONISATION L / RESYNTONISATION S
Le temps initialede recherche automatique TA ou de recherche PI est selectionne.
Lorsque l'information PI n'est pas trouvee pendant le temps de resytonisation, la radio commence la resytonisation a la prochaine station PI. Lorsque la meme station PI n'est pas trouvee dans la premiere recherche cyclique, la radio va a la meme station et elle attendpend 4-5 minutes jusqu'a ce que le code PI soit requ.
- Syntonie L: selectionnee comme 90 secondes.
- Syntonie S: selectionnee comme 30 secondes.
MODE BEEP(2)
Pressez la touche "SEL" (2) pendant plus de 2 secondes pour selectionner:
BEEP ON: Le signal sonore "BIP" est audible quand vous appuyez sur toutes les touches
BEEP OFF: Le signal sonore "BIP" est désactivé.
4.PRESELECTIONS(1,2,3,4,5,6)
(A) MODALITE RADIO:
Si appuyees légarement, ces touches permettent de sélectionner directement une station préselectionnée.
(B)MODALITELECTEURMP3
1.PAUSE 2.BALAYAGE 3.REPETITION 4.CASUEL
LA FONCTION RDS. QU'EST-CEQUELESYSTEMERDS?
RDS (Radio Data System) est un système d'informations numériques radio développé et introduit par l'EBU (European Broadcasting Union). Transmis sur le canal des émissions normales FM.
Le RDS offre une variété d'informations telles le nom des stations, le programme et les informations sur le traffic, ainsi que des fonctions utiles comme la syntonisation automatique des salariés signaux disponibles dans le programme choisi.
-Fonction 'AF/REG' (FREQUENCESALTERNATIVES)
Une légère pression sur cette touche permet de sélectionner la modalité AF/REG.
Lorsque la modalité AF/REG est sélectionnée, la radio contrôle continuellement le niveau du signal AF. L'appuié sur cette touche pendant plus de 2 secondes active la modalité BRANCHE/DEBRANCHÉ Régional.
-Modalité Régionale BRANCHEE:
La commutation AF ou la Recherche PI SEEK est effectue dans toutes les stations ayant le même code PI que la station actuelle. L'inscription REG s'affiche.
-Modalité Régionale DEBRANCHES
Le code Régional dans le format PI est ignorer lorsqu'on effectue la commutation AF ou la Recherche PI SEEK.
-Fonction TA' (ANNONCE STRAFIC)
Une légère pression sur cette touche permet de brancher ou de débrancher la modalité TA.
Lorsque la modalité TA est sélectionnée et uneannounce sur le traffic est transmise
-
Lorsque l'appareil est en modalité CD/MP3, elle commutera temporairement sur la modalité radio.
-
Si le niveau du volume était sous le seuil bien audible, le niveau bien audible augmentera.
- Lorsqu'on recoit une station TP, l'inscription TP s'affiche.
Un appui plus long active la modalite TA LOCAL / TA DISTANCE est selectionnee.
-Modalité TA LOCAL
Lorsque le signal de branché est sous le seuil de réception, la radio ne commute pas sur cette station et l'auditeur n'entend pas les parasites. "TA LO" s'affiche pendant quelques secondes.
-Modalite EON TA DISTANCE
La commutation TA essaie de développer l'information de la station actuelle. "TADX" s'affiche pendant quelques secondes.
Si appuyees tegerement, ces touches permectent de selectionner directement une station
FrancaisFra
préselectionné. L'appui sur ces touches pendant plus de 1 seconde mémorie la station actuellément symponiée. Lorsqu'on sélectionna la modalité PTY,la touche PTY est partagée de la maniere suivante:
PTY groupe musique -PTY groupe parle -ETEINT
MUSIQUE PARLE
1.Musique POP, Musique ROCK 1.JOURNAL PARLE, AFFAIRS, INFOS
2.Musique EASY, Musique LEGERE 2.SPORT, EDUCATION, PIECES
3.Classique, AUTRE Musique 3.CULTURE, SCIENCES, DIVERS
4.JAZZ, COUNTRY 4. PREVISIONS DUTEMPS, FINANCES, ENFANTS
5.NATIONM,OLDIES5.SOCIAL,RELIGION,TELEPHONE
6.Musique FOLK 6.VOYAGES,DIVERTISSEMENT,DOCUMENTaires
(B)MODALITELECTEURMP3
1.PAUSE 2.BALAYAGE 3.REPETITION 4.CASUEL
-TOUCHEON/OFF-MODE
L'appui sur cette touche permet à l'utilisateur de Sélectionner
Modalité RADIO ou Modalité Lecteur USB-SD/MP3 ou AUX-IN
Chaque bande est commutée en appuyant l'une après l'autre sur les touches FM1-FM2-FM3.
-SYNTONISATION AUTOMATIQUE OUMANUELLE (FREQHAUT>>OUFREQBAS<<) (A)MODALITE RADIO
Si appuyees tegerement, ces touches font fonction de Recherche Manuelle.
Une pression de plus de 1 seconde active la Recherche Automatique.
(B)MODALITELECTEURUSB-SD/MP3
Si appuyes tegement, ces touches font fonction de SAUT MORCEAU HAUT ou BAS.
TOUCHEMUTE
Pousser la touche MUTE pour annuler le volume. Pousser de nouveau pour reporter le volume au niveau précédent.
-AFFICHEURLCD
L'afficheur à cristaux liquides illustré l'etat actuel de reception des opérations.
CONTROLESLECTEUR MP3(USB/SD/MMC)
-PORTEUSB
16.SLOTSD/MMC
- Presser (14) pour abaisser le panneau frontal.
- Introduire la Card SD/MMC dans l'entree pour Card.
- Fixer le panneau frontal au poste principal de nouveau. La lecture commence automatiquement.
-TOUCHE PAUSE
Durant la lecture, appuyer sur la touche PAUSE (17) 'PAUSE' pour arreter momentanément la lecture. Appuyer de nouveau pour returner à la lecture normale.
- TOUCHE INTRO (Balayage de tous les morceaux)
L'appui sur cette touche affiche l'indication 'SCN' et effectue la reproduction des 10 premières secondes de chaque morceau.
-TOUCHEREPEAT'REPEAT
L'appui sur cette touche affiche l'indication 'RPT' et la lecture du morceau actuel est repétée jusqu'à ce que le mode répétition soit effacé en appuyant à nouveau sur la touche 'RPT'.
L'appui sur cette touche affiche l'indication 'SHF' et chaque morceau du disque est lu dans un ordre casuel et non dans la sequence normale. Pour effacer le mode Casuel, appuyer a nouveau sur la touche 'SHUFFLE' (20).
ID3 Tag
Si le document MP3 est fournin de ID3 TAG, l'information comme suivant:
TITRE CHANSON > ARTISTE> TITRE ALBUM > ANNEE> COMMENTaires
à l'afficheur. Le nom et le nombre du document passeront en continuation sur l'afficher pendant la lecture.
COMMENTUTILISERLEBLUETOOTHDANSVOTREAUTORADIO
Comment accoupler le téléphone à l'autoradio
Avant de pouvoir faire des appeals par voite autoradio, on doit réaliser l'accouplement entre le téléphone et l'autoradio. L'accouplement est une Procedure pour connecter deux disposits Bluetooth.
36
FrancaisFr
- La fonction de Bluetooth de ce poste est always active, commencer l'accouplement de toute téléphone portable. Se reférer au manuel de votre portable sur comment accoupler correctement.
- Activez la recherche de dispositifs Bluetooth disponibles, "RU-280BT" apparait.
- Àprouv avoir accoupe avec succès (BT-OK est visualizee), connecter à l'autoradio s'il ne se connecte pas automatiqueement.
Comme appeler / receiveoir appels
- composer le numeroutilizzandotelephoniqueaveclevoitrélephone.
- Quand est un appel en entree, presser "BAND" pour la recevoir.
- Appuyez sur la touche BAND pourmettre fin à l'appeil.
SPECIFICATIONS
SYNTONISATEURFM
Sensibilité 2 dBμ
Séparation Stereo 35dB
Rapport Signal/Brouillage 55dB
Gamma fréquence 87.5 - 108MHz
Pas Canal 50 kHz
Fréquence intermédiaire 10.7MHz
SORTIE PREAMPLIFEE
Sortie 350mV (MAX)
Impedance 10kOhm
GENERALITES
Voltage alimentation 13.8V DC (10.8-15.6V), Negative à la masse
Impedance haut-parleurs 4 ou 8 Ohms
Puisance maximale de sortie
7,5W (RMS) x 4 canaux
Les specifications et le design peuvent changer sans avis préalable.

Notice Facile