PhotoActor - Cadre photo numérique INTENSO - Notice d'utilisation et mode d'emploi gratuit
Retrouvez gratuitement la notice de l'appareil PhotoActor INTENSO au format PDF.
| Caractéristiques | Détails |
|---|---|
| Type de produit | Cadre photo numérique |
| Taille de l'écran | Varie selon le modèle, généralement entre 7 et 15 pouces |
| Résolution d'écran | Résolution HD ou Full HD selon le modèle |
| Capacité de stockage | Supporte les cartes SD et USB pour le stockage des photos |
| Formats d'image supportés | JPEG, BMP, PNG, GIF |
| Connectivité | USB, lecteur de carte SD, parfois Wi-Fi selon le modèle |
| Fonctionnalités supplémentaires | Diaporama, horloge, calendrier, parfois musique |
| Utilisation | Facile à utiliser avec un menu intuitif et télécommande |
| Maintenance | Nettoyer l'écran avec un chiffon doux, mise à jour du firmware si disponible |
| Sécurité | Ne pas exposer à l'humidité ou à des températures extrêmes |
| Informations avant achat | Vérifier la compatibilité des formats d'image et la capacité de stockage |
FOIRE AUX QUESTIONS - PhotoActor INTENSO
Questions des utilisateurs sur PhotoActor INTENSO
0 question sur cet appareil. Repondez a celles que vous connaissez ou posez la votre.
Poser une nouvelle question sur cet appareil
Téléchargez la notice de votre Cadre photo numérique au format PDF gratuitement ! Retrouvez votre notice PhotoActor - INTENSO et reprennez votre appareil électronique en main. Sur cette page sont publiés tous les documents nécessaires à l'utilisation de votre appareil PhotoActor de la marque INTENSO.
MODE D'EMPLOI PhotoActor INTENSO
Instructions d'utilisation cadre photo numériques 8" Intenso
Veuillez suivre les instructions de cette notice pour obtenir toute l'information sur les différentes fonctions du cadre photo numérique d'Intenso.
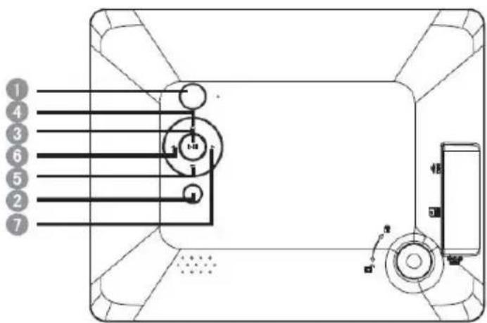
1 Power On/Off
2 Touche Stop [3]
3 Touche Play/Pause [ ]
4 Touche En amont [▲]
5 Touche Enaval [▼]
6 Touche Gauche [ ]
7 Touche Droite [▶]

Faites pivoter le pied support dans le sens hora, afin de le raccorder à l'écran photo.


| 1 | © | Power On / Off |
| 2 | ← | Affiche le menu précédent |
| 3 | [►] | Touche play / pause |
| 4 | ▲ | Déplace le curseur vers le haut |
| 5 | ▼ | Déplace le curseur vers le bas |
| 6 | ← | Déplace le curseur vers la gauche |
| 7 | ► | Déplace le curseur vers la droite |
| 8 | MODE | Choix de l'affichage d'image |
| 9 | OSD | Affichage de l'écran On-Screen (OSD) |
1) Connecter etmettrelecadre photo numérique en marche

Connectez l'adaptateur secteur fourni à l'écran photo (DC-IN). Branchez l'autre extrémité de l'adaptateur dans la prise. L'écran photo démarre alors automatiquement. Maintenez la touche power brièvement enforcée pour désactiver ou réactiver l'appareil.
Attention:
La prise doit se couver a proximite de l'appareil et etre facilement accessible.
N'ouvre pas le boitier de l'adaptateur reseau. Si vous ouvre le boitier, il existe un danger de mort par décharge电量que.II ne contient aucune piece a entretenir.
- Ne branchez l'adaptateur reseau que sur des prises de terre de AC 100-240V\~, 50 / 60Hz . Si vous n'etes pas sur(e) de I'alimentation en courant sur le lieu de montage, veuillez vous renseigner aupres du fournisseur d'énergie competent.
N'utilisez que l'adaptateur reseau et les cables de raccordement au reseau ci-inclus.
2) Mettre la carte de mémoire | Connecter le module de mémoire USB

Insérez les cartes mémoire avec le logo dans le sens de l'écran d'affichage dans les périhériques de stockage.
Attention: N'insérez pas la carte avec trop de force!
Les formats de carte de mémoire suivants sont supportés :
Le module de mémoire USB ne peut être mis qu'en un seul sens.
Attention: N'insérez pas le module de mémoire avec trop de force!
Attention: Le cadre photo numérique est conçu uniquement pour une utilisation avec des cartes mémoire compatibles et un support d'enregistrement USB 2.0 (100mA).
3) Informations de base
a) A propos du menu principal
Le menu principal s'affiche automatiquement lorsque vous allumez l'appareil.
Dans le menu principal, vous avez le choix entre les différentes fonctions de l'écran photo et du menu de réglage setup. Appuyez sur les touches (▲, ▲) (touches de flèche) sur le cadre ou sur la télécommande, pour sélectionner une option de menu. En appuyant sur les touches ▲, ▼ (touches de flèche) sur le cadre ou sur la télécommande, vous naviguez dans les sous-menus correspondants. Confirmez votrechoix avec la touche Play/Pause [▶] sur le cadre ou sur la télécommande.
b) Affichage des photos
Naviguez dans le menu principal pour acceder à la fonction photo. Les supports de stockage connectés s'affichent. En fonction du support de stockage connecté, vous avez le besoin entre SD, MMC et USB. Validez votre sélection à l'aide de la touche play/pause [▶].
Tous les fichiers de photos supportées s'affichent ensuite. Sélectionnez le fichier souhaité, afin d'acceder au menu de défilament des photos. Sélectionnez ensuite la photo souhaïée dans le menu de prévisualisation et validez à l'aide de la touche play/pause [▶].afin de démarrer le diaporama à partir de cette option.
Si un diaporama a déjà été lancé par le support d'enregistrementChoisi, le cadre photo numérique poursuivra ce dernier. Si besoin, l'affichage des dossiers disponibles et du menu de presentation des images devra etre effectue manuellement. Appuyez sur la touche [D] Retour pour quitter le diaporama et appeler le menu de presentation.
Fonctions disponibles pendant le diaporama :
- En appuyant sur les touches flèches vers la gauche ou vers la droite vous pouvez returner sur une photo précédente ou avancer à la photo suivante.
- En appuyant sur la touche play/Pause [▶] vous stoppez le diaporama et obtenez des informations détaillées sur la photo sélectionnée. En appuyant une nouvelle fois vous relancez le diaporama.
- Maintenez la touche play/pause [▶] enforcée pour ouvrir le menu OSD. Vous pouvez désirir ici la zone de lecture des fichiers, zoomer ou faire pivoter la photo, régler la luminosité, sélectionner les effets de transition, définir le temps et l'échelle de l'affichage de la photo.
c) Calendrier:
La date configurée, le jour de la semaine, l'heure ainsi que l'aperçu mensuel sont affichés dans la fonction calendrier. comme arrêté-plan est exécuté (avec le support de stockage des photos inséré) le visionnage d'un diaporama. Vous pouvez naviguer dans l'aperçu mensuel à l'aide des touches flèches.
d) Horloge:
La fonction horloge permet d'afficher l'heure programmée et un calendrier avec le mois, la date et le jour de la semaine. Maintenez la touche play/pause [▶i] enforcée pour ouvrir le menu OSD. Vous pouvez régler ici la date, le mode 12/24h et l'heure, activer et/ou désactiver le timer.
e) Modification des paramètres
Selectionnez dans le menu principal la fonction de réglage setup. Naviguez à l'aide des touches , pour acceder à l'option de menu souhaiée. Vous disposez des options généraités, écran et affichage, horloge, date | timer. Validatez votre sélection à l'aide de la touche play/pause [▶], pour configurer votre apparéil individuellement.
| Possibilities de réglage | Description | ||
| Généralités setup | Langue | Choisissez la langue souhaitée. | |
| Informations produit | Affichage de la version actuelle de la microprogrammation. | ||
| Mise à jour de la microprogrammation | Si une mise à jour avait été disponible sur le site Internet www.intenso.de pour la microprogrammation, celle-ci peut être installée via cette option de menu. | ||
| Réglages usine | L'appareil est réinitialisé aux réglages d'usine. | ||
| Auto run | Ajustez ici le mode par lequel votre cadre photo doit démarrer après la mise sous tension. (photo, calendrier, dernieré fonction utilisée) | ||
| ECO | Luminosité | Réglage de la luminosité de l'écran d'affichage TFT. | |
| Ecran d'affichage hors tension | Définissez ici le laps de temps à partir duquel l'écran d'affichage doit semettre hors tension après la non'utilisation. | ||
| Mise hors tension | Définissez ici le laps de temps à partir duquel l'appareil doit semettre hors tension après la non'utilisation | ||
| Photo | Fichier | Sélection du dossier pour la reproduction de photos | |
| Diaporama | Réglage de l'effet de passage | ||
| Temps d'affichage | Réglage du temps d'affichage | ||
| Graduer | Réglage de l'écran pour le mode photo | ||
| Horloge | Date | Timer | Date | Ajuster de la date actuelle. | |
| Format horsaire | Ajuster le format horsaire : 12 heures (/PM) ou 24 heures. | ||
| Heure | Ajuster l'heure actuelle. | ||
| Timer | Mise sous tension / hors tension | Activer/désactiver la mise sous tension / hors tension automatique. | |
| Temps de mise sous tension | Réglage de l'heure de la mise sous tension automatique. | ||
| Temps de mise hors tension | Réglage de l'heure de la mise hors tension automatique. | ||
| Fréquence | Réglage de la fréquence de la mise sous tension/hors tension automatique. (quotidiennement, du lundi au vendredi, en fin de semaine, une fois) | ||
4) Specifications du Produkt
| Affichage | Ecran TFT LCD digital Ecran de 8 pouces (20,32 cm diagonale visible de l'écran) Affichage: 4:3 Résolution: 800*600 pixels |
| Bloc d'alimentation | Input: 100~240V AC, 50/60Hz Output: 5V 1A DC |
| Slot USB | USB Host 2.0 Supporte modules de mémoire USB |
| Cartes de mémoire supportées | SD/SDHCTM (Secure Digital Card), MMC™ (MultiMedia Card) |
| Format d'images supporté | JPEG, résolution maximale :9000*9000 pixels |
| Température de fonctionnement | 0°C ~ +40°C |
| Dimensions | 217*172*22 mm |
| Poids | ~420 gr. |
| Accessoires | Télécommande (pile comprise), Support, adaptor secteur, manuel d'utilisation multilingue |
| Vouvasce des questions? |
| Notre hot-line de service vous les répond: |
| +49 (0) 90 01 50 40 30 pour 0,39 €/min. du fixe allemand. Les prix de la téléphonie mobile peuvent en différer. |
Nous espérons que l'Intenso cadre photo numérique vous fait plaisir!
Soin et Entretien
Soin
- Pour éviter des décharges électriques n'enlevez ni les vis ni le boîtier.
N'tilisez pas cet appeareil a proximite de I'eau. N'exposez pas l'appareil a la plue ou a I'humidite. Ne posez pas des objets contenant de I'eau ou d'autres liquides a cotede I'appareil. - N'installez pas ce cadre photo numérique à proximé de chauffages, de poèles ou d'autres apparèils émettant de la chaleur.
- N'ouvre pas le boitier. N'essayez pas de réparer l'appareil. Il doit être réparé par des spécialistes.
- N'utilisez pas l'appareil à des endroits sablonneux.
- Mettez le connecteur adapteur du bloc d'alimentation complètement dans l'orifice du CPN. Ainsi, vous évitez des chargements électrostatiques.
- Connecter tous les raccordements correctement et suturement.
- N'appuyez pas sur l'écran. Protegez l'écran d'une pénetration du soleil trop forte.
- Le cadre photo numérique ne peut dire que des formats compatibles.
- Des images peuvent être soumises au copyright. L'affichage sans licence peut désobéir aux droits copyright.
- Ne touchez pas le CPN avec des objets métalliques pendant le fonctionnement.
- Evitez l'utilisation sur des coussins, des canapés d'autres objets qui soutennent une thermogenie, car l'appareil risque d'être surchauffé.
N'enlevez pas de cartes de mémoire pendant la lecture. Sinon, il peut y avoir des bocages de système ou des pertes de données. - Ne mettez pas l'appareil hors marche pendant un diaporama.
N'emballez pas l'appareil directement après une utilisation de longue durée. Assurez un refroidissment suffissant. Sinon, l'appareil risque d'être surchauffé.
Pour garantir un meilleur service, il peut y avoir des changements dans le mode d'emploi.
Entretien de l'appareil
L'appareil doit être mis hors marche.
Ne mettez pas de liquide directement sur I'ecran ou sur le boitier.
Nettoyage de I'écran du boitier et du cadre
Nettoyez le boitier, le cadre et l'écran LCD prudemment avec un chiffon tendre, sans peluches et sans produits chimiques. N'utilise que des détergents qui sont destinés à l'écran LCD.
Mise en rebut deieux appareils electro

Les appeareils marqués avec ce symbole sont soumis à la directive européenne 2002/96/EC.
Tous lesieux appareils electrodoiventetre mis enrebut séparation du déchet domestique dans les poulbelles prevues par I'Etat.
Avec la mise en rebut correcte de nouveaux apparciels electro, vous evitez la pollution de l'environnement.
Notice Facile