PhotoActor - Cornice fotografica digitale INTENSO - Manuale utente e istruzioni gratuiti
Trova gratuitamente il manuale del dispositivo PhotoActor INTENSO in formato PDF.
Domande degli utenti su PhotoActor INTENSO
0 domanda su questo apparecchio. Rispondi a quelle che conosci o fai la tua.
Fai una nuova domanda su questo apparecchio
Scarica le istruzioni per il tuo Cornice fotografica digitale in formato PDF gratuitamente! Trova il tuo manuale PhotoActor - INTENSO e riprendi in mano il tuo dispositivo elettronico. In questa pagina sono pubblicati tutti i documenti necessari per l'utilizzo del tuo dispositivo. PhotoActor del marchio INTENSO.
MANUALE UTENTE PhotoActor INTENSO
Istruzioni d'uso per fotodi digitale da 8" di Intenso
La preghiamo di seguire queste istruzioni per essere informata/o riguardo alle diverse funzioni della cornice di fot digitale Intenso.
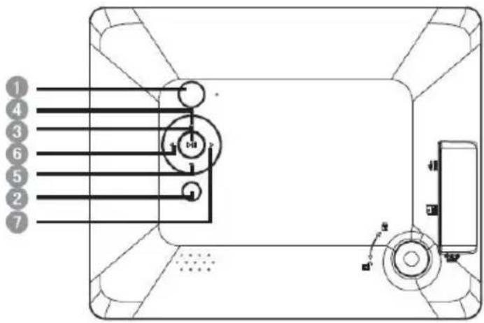
1 Power Acceso/Spento
2 Tasto Interruzione [5]
3 Tasto Play/Pause [ ]
4 Tasto Su [▲]
5 Tasto Giu [▼]
6 Tasto Sinistra [
7 Tasto Destra [▶]

Giri il piedino di posizionamento in senso orario per collegarlo con cornice di fotodigitale.


| 1 | © | Power Acceso/Spento |
| 2 | ← | Ritorno al menu precedente |
| 3 | [+] | Tasto Play / Pause |
| 4 | ▲ | Muove il curses perso l'alto |
| 5 | ▼ | Muove il curses perso il basso |
| 6 | « | Muove il curses perso sinistra |
| 7 | ► | Muove il curses perso destra |
| 8 | MODE | Sezione della visualizzazione immagine |
| 9 | OSD | Visualizzazione dello schermo on-screen (OSD) |
1) Collegare e accendere la Cornice per foto digitali

Colleghi l'adattatore incluso nel volume di consegnà con la cornice di fotodigitale (DC-IN). Inserisca l'altra estremità dell'adattatore nella presa. La cornice di fotodigitale ora si avvia automaticamente. Tenga premuto brevamente il tasto Power per spegnerla o riaccenderla.
Attenzione:
La presa deve trovarsi nei pressi dell'apparecchio ed essere facilmente accessibile.
Non apra l'involucro dell'adattatore. L'involucro aperto causa pericolo di vita mediente scossa elettrica.
L'apparecchio non contiene componenti che necessitano manutenzione.
- Metta in funzione l'adattatore solo con delle prese dotate di messa a terra AC 100-240V~. 50/60 Hz. Se avesse dei
dubbi riguardanti l'annovvionamento eletrico nel luogo d'installazione, si rivolga al risseffivo fornitore di serviz
eletrici.
- Utilizzi esclusivamente l'adattatore e il cavo di connessione inclusi nel volume di segna.
2) Inserire schede di memoria | Collegare dispositivi di archivazione USB

Inserisca le schede di memoria con il logo rivolto verso il display all'interno dello slot dilettura per schede.
Attenzione: Non forzare l'insertimento della scheda!
L'IPA supporta i seguenti formati di schede di memoria:
La chiave USB può essere inserita esclusivamente in direzione dello slot USB.
Attenzione: Non insereire la chiave USB con forza!
Attenzione: La cornice per foto digitale è prevista esclusivamente per l'uso con schede di memoria compatibili e supporti di dati USB 2.0 (da 100 mA).
3) Uso generale
a) Menu principale
Dopo l'accensione appeare il menu principale.
Nel menu principale Lei può selezionare tra le diverse funzioni della cornice di fotodi digitale e del menu setup. Prema i tasti , (tasti a freccia) sulla cornice di fotodi digitale o sul telecomando per selezionare un punto del menu. Premendo i tasti , (tasti a freccia) sulla cornice di fotodi digitale o sul telecomando, naviga nei rispetti sottomenu. Confermi la Sua selezione con il tasto Play/Pause [▶] sul cornice di fotodi digitale o sul Suo telecomando.
b) Visualizzazione di Foto
Navighi nel menu principale alla funzione fos. Vengono visualizzati i mezzi di memorizzazione collegati. A seconda del mezzo di memorizzazione collegato, cui selezionare tra SD, MMC e USB. Confermi la Sua selezione con il tasting Play/Pause [▶]. Ora vengono visualizzate tutte le cartelle con le immagini supportate. Selezioni la cartella desiderata per passare al menu anteprima immagini. Navighi ora su una foto e confermi con il tasting Play/Pause [▶] per avviare la riproduzione delle diapositive a partire da quello punto. Il appenda iniziato il Diashow dal supporto di memoria prescelto. La cornice digitale per fotografia lo fa proseguire automaticamente. Al bisogno eseguire manualmente la visualizzazione del raccoglitore e del menu di presentatione delle immagini. Premere il tasting indietro [▶], per uscire dal Diashow e per richiamare il menu di presentatione.
Funzioni durante la riproduzione diapositive:
- Premendo i tasti freccia verso destra o sinistra cui passare rispettivamente alla fot successiva o a quella precedente.
- Premendo il tasto Play/Pause [▶] interrompe la riproduzione delle diapositive e ottengat informazioni dettagliate riguardanti le foto visualizzate. Premendo nuovamente, la riproduzione diapositive continua.
- Tenga premuto il tasto Play/Pause [▶] per aprire il menu OSD. Qui può selezionare l'ambito di riproduzione del file, attivare e/o disattivare la musica di sostofondo, fare lo zoom o girare l'immagine, impostare la luminosità, selezionare gli effetti di passaggio, impostare la durata di visualizzazione di un'immagine e scalare la visualizzazione di un'immagine.
c) Calendario:
Nella modalita calendario vengono visualizzati la data impostata, il giorno della settimana, l'orario e un riepilogo mensile. Quale sfondo si ha una riproduzione diapositive (con il mezzo di memorizzazione inserito contenente delle immagini). Cn i tasti a freccia naviga per il riepilogo mensile.
d) Orologio:
Nella modalità orologio vengono visualizzati l'orario impostato e una schedà di calendario giornaliera con mese, giorno e giorno della settimana. Tenga premuto il tasto Play/Pause [▶] per aprire il menu OSD. Qui può impostare la data, la modalità 12/24h Modus e l'orario e inoltre attivare il timer e/o disattivarli.
e) Modificare le impostazioni
Selezioni la funzione setup nel menu principale. Navighi con i tasti , versuso il punto del menu desiderato. Sono a Sua disposizione generale, display, multimedia e orario | data | timer. Confermi la Sua selezione con il tasto Play/Pause [▶] per impostare in modo personalizzato il Suo appearecchio.
| Possibilità d'impostazione | Descrizione | ||
| Setup generale | Idioma | Scelga l'idioma desiderato. | |
| Informazione prodotto | Visualizzazione della versione firmware attuale. | ||
| Aggiornamento firmware | Se sul site www.intenso.de dovesse essere disponibile un aggiornamento del firmware, quello più essere installato mediante quello punto del menu. | ||
| Impostazioni da fabbrica | L'apparecchio viene resettato sulle impostazioni da fabbrica. | ||
| Auto Run | Imposti qui la modalità in cui la Sua cornice Foto si avvia dopo l'accensione. (photo, calendario, ultima funizione utilizzata) | ||
| ECO | Luminosity | Impostazione della luminosità del display TFT. | |
| Display spento | Imposti dato quanto tempo il display deve spegneri nel caso di non uso. | ||
| Spagnere | Imposti dato quanto tempo la CF deve spegneri nel caso di non uso. | ||
| Foto | File | Selezione dell'élenco per la riproduzione delle foto | |
| Riproduzione diapositive | Impostazione dell'effetto di passaggio | ||
| Durata di visualizzazione | Impostazione della durata di visualizzazione | ||
| Scalare | Impostazione del display per la modalità Foto | ||
| Orario | Data | Timer | Data | Impostazione della data attuale. | |
| Formato orario | Impostazione del formato dell'orario: 12 ore (AM / PM) o 24 ore. | ||
| Orario | Einstellen der aktuellen Uhrzeit. | ||
| Timer | Acceso / spento | Attivare / disattivare l'accensione / lo spegnimento automatica/o. | |
| Orario di accensione | Impostare l'orario dell'accensione automatica. | ||
| Orario di spegnimento | Impostare l'orario dello spegnimento automatico. | ||
| Frequenza | Impostare la Frequenza dell'accensione / dello spegnimento automatica/o (ogni giorni, da lu al ven, fine settimana, una volta). | ||
4) Specifiche del Prodotto
| Visualizzazione | Schemo LCD TFT digitale Dimensioni schermo: 8" (20,32 cm di diagonale imagine visible) Modo di visualizzazione: 4:3 Risoluzione: 800*600 pixel |
| Adattatore | Input: 100~240V AC, 50/60Hz Output: 5V 1A DC |
| Porta USB | Host USB 2.0 dispositivo Supporta le chiavi di memoria USB |
| Schede di memoria supportate | SD/SDHCTM (Secure Digital Card), MMC™ (MultiMedia Card) |
| Formato imagine supportato | JPEG, risoluzione massima:9000*9000 pixel |
| Temperatura di funzionamento | 0°C ~ +40°C |
| Dimensioni | 217*172*22 mm |
| Peso | ~420 gr. |
| Accessori | Telecomando (incl. batteria), Piedino, adattatore, istruzioni d'uso in diverse lingue |
Non sa come procedere?
Il nostro numero verde di supporto techniciani risponde volentieri ad altre domande:
+49 (0) 900 1 50 40 30 al costo di 0,39 €/min. da rete fissa tedesca. I prezzi delle rete dei cellulari possono variare.
Buon divertimento con la Sua Cornice per fotodi digitali Intenso!
Cura e Manutenzione
Cura
- Per evitare il pericolo di scosse elettriche La preghiamo di non levare viti e/o involucro.
Non usi quest'apparecchiatura vicino all'acqua. Non esponga quest'apparecchiatura a pioggia e/o umidita. Non depositi oggetti che conservano acqua o altri liquidi vicino a quest'apparecchiatura.
Non installi questa cornice di foto vicino a termosifoni, foro o altre apparecchiature che producono calore.
Non apra l'involucro. La preghiamo di non cercare di riparare l'apparecchiatura. Lasci quello lavoro al personale specializzato. - Eviti l'uso in luoghi sabbiosi.
La preghiamo di inseire tutte la presa di collegamento dell'adattatore nell'apertura presente sulla CF. Solo in quello modo Lei riesce ad evitare il caricamento elettrostatico. - La preghiamo di non esercitare pressione sullo schermo. Protegga lo schermo da forte insolazione.
- La cornice delle immagini riproduce esclusivamente formati di file compatibili.
- Le immagini possono essere protette da diritti di terzi. La riproduzione priva di licenza potrebbe violare i diritti d'autore.
- Durante il funzionamento La preghiamo di non toccare la CF con oggetti metallici.
La preghiamo di evitare l'uso di cuscini, divani o altri oggetti di arredamento che sostengono la formazione di calore, visto che sussiste il rischio di surriscaldare l'apparecchiatura. - La preghiamo di non togliere le schede di memoria durante il procedimento dilettura. Altrimenti si possono averere interruzioni di systemo o perdita di dati.
- La preghiamo di non spegnere l'apparecchiatura durante un diashow in corso.
- La preghiamo di non imballare direttamente l'apparecchiatura dopo un lungo periodo di non uso. Si assicur che si sua raffreddata a sufficientia. Altrimenti si ha il rischio che si surriscaldi.
- Per garantire un servizio migliorie, si possono averare modifiche delle istruzioni d'uso.
Manutenzione dell'apparecchiatura
L'apparecchiatura deve essere spenta.
Non spruzzi o non applicchi in nessun caso un liquido direttamente sullo schermo o sull'involucro.
Pulizia di schermo / involucro / cornice
Terga l'involucro, la cornice e lo schermo LCD con cautela, utilizzando una pezza morbida, alla pelucchi e sostenze chimiche. Utilizzi esclusivamente detergenti appositamente destinatiagli schermi LCD.
Smaltimento di apparecchiature elettroniche usate

Le apparecchiature caratterizzate con questo simbolo sottostanno alla direttiva CEE/2002/96.
Tutte le apparecchiature elettroniche ed elettriche usate devono essere smaltite separamente dai rifiuti domestici pressi i punti di smaltimento previsti dallo stato.
Smaltendo correttamente le apparecchiature elettroniche usate evita danni all'ambiente.
ManualeFacile