PhotoActor - Moldura digital para fotos INTENSO - Manual de utilização gratuito
Encontre gratuitamente o manual do aparelho PhotoActor INTENSO em formato PDF.
Perguntas dos utilizadores sobre PhotoActor INTENSO
0 pergunta sobre este aparelho. Responda às que conhece ou faça a sua.
Faça uma nova pergunta sobre este aparelho
Baixe as instruções para o seu Moldura digital para fotos em formato PDF gratuitamente! Encontre o seu manual PhotoActor - INTENSO e retome o controlo do seu dispositivo eletrónico. Nesta página estão publicados todos os documentos necessários para a utilização do seu dispositivo. PhotoActor da marca INTENSO.
MANUAL DE UTILIZADOR PhotoActor INTENSO
Los aparatos marcados con este símbolo está susjetos a la directiva europea 2002/96/EC.
Manual de instruções 8“ Intenso Moldura digital
Por favor siga as instruções deste manual para informações sobre as varias funções da moldura digital Intenso.
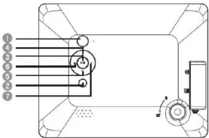
1 Power On/Off
2 Tecla Stop [b]
3 Tecla Play/Pause [▶]
4 Tecla para cima [▲]
5 Tecla para tres [▼]
6 Tecla Esquerda [
7 Tecla Direita [▶]

Rode o pé de apoio no sentido dos ponteiros do relógio para o conectar com a moldura digital.


| 1 | Power On/ Off | |
| 2 | Volta para o menu anterior | |
| 3 | [▶] | Tecla Play / Pause |
| 4 | Movimenta o cursor para cima | |
| 5 | Movimenta o cursor para baixo | |
| 6 | Movimenta o cursor para a esquerda | |
| 7 | Movimenta o cursor para a direita | |
| 8 | MODE | Seleciona o modo de visualização |
| 9 | OSD | Visualização do On-Screen-Display (OSD) |
1) Conectar e Ligar a Moldura de Fotos Digitais

Conecte o transformador anexado com a moldura digital (DCIN). Coloque a outra extremidade do transformador na tomada. A moldura digital inicia automaticamente. Mantenha a tecla Power pressionada por um curto esqaco de tempo para a desligar ou voltar a ligar.
Atença:
- A tomada delve estar accesivo e situada perto do aparelho.
- Não abra a cobertura do adaptordo rede. Uma cobertura aberta pode provocar perigo de morte por quando electrico.
- Utilize o adaptor de rede apenas em tomas ligadas a terra com AC 100-240V\~, 50/60 Hz. Caso nao estja seguro/a da fonte de energia no local de instalacao, contacte o respectfulo fornecedor de energia.
Use apenas o adaptorador de rede e o cabo de ligation a rede fornecidos.
2) Inserção de cartões de memória | Conexão de mídias de armazenamento USB

Insira os cartões de memória com o logotipo em direção ao display na ranhura do leitor de cartões.
Atença: Não utilizes fora na insercão do cartão!
A moldura digital suporta os seguients cartoes de的记忆 - formatos:
A media de armazenamento so pode ser inserida em uma unicia direcao no compartmento
Atença: Não utilizes fora na insercção daória de armazenamento USB!
Atença: A moldura digital está destinada apenas para o uso com cartões de memória e dispositivos de armazenamento. USB 2.0 (100mA) compatíveis.
3) Utilização Geral
a) Menu principal
A seguir ao ligar o aparelho, aparece o menu principal.
No menu principal pode selecionar entre diversas funções da moldura digital e do menu de Setup. Utilize as teclas (teclas das setas) na moldura digital ou no comando para selecionar um item no menu. Ao utilizes as teclas, (teclas das setas) na moldura digital ou no comando pode navegar para os respectivos submenus. Confirme a sua escolha atraves da tecla Play/Pause [▶] na moldura digital ou no seu comando.
b) Visualizar fotografias
Navegue no menu principal para a funcao Foto. Dessa forma acede ao dispositos de armazenamento connectados. Dependendo do dispositovo de armazenamento connectado, pode的选择ar entre SD, MMC e USB. Confirme a sua opcao com a tecla Play/Pause [▶]. Todos os ficheiros com imagens assistidas são visualizada. Seleciono o ficheiro pretendido para aceder ao menu de previsao de imagem. Navegue para uma fotografia e confirme a sua opao com a tecla Play/Pause [▶] para iniciar a aparecao de diapositos a partir desse punto.
Caso tenha sido previamente iniciado umaburgho de diapositos de armazenamento, a moldura digital continua-la-à automaticamente. Caso necessario, a visualização das pastas disponveis e da previsão do menu das imagens terao que ser feitas manualmente. Clique na tecla Voltar [D] para sair daburgho de diapositos e ir para o menu de previsão.
Funções durante a的表现ação de diapositivos:
Aoutilizarasteclasdassetasparaaesquerdaouadireita,podevoltaruma fotografia atrasouirparaafrente.
- Ao utilizes a tecla Play/Pause [▶], para aPRESENTação de diapositivos e receive informações detalhadas sobre a fotografia aparecada. ParaContinuar apresentação de diapositivos utilize novamente a tecla.
- Mantenha a tecla Play/Pause [▶] pressionada para abrir o menu OSD. Aqui pode selecionar a area de aparecao de ficheiros, fazer um zoom ou rodar a fotografia,aabstar a luminosidade, selecionar os efeitos de transicao,aabstar o tempo de visualizacao de uma fotografia e escalar a aparecao de imagem.
c) Calendário:
Na opçao do calendario pode visualizar a data ajustada, o dia da semana, a hora e uma visao mensal. No fundo decorre uma aparecao de diapositivos (caso o dispositovo de armazenamento com fotografias gravadas esteja inserido). Utilize as teclas das setas para navelgar para a visao mensal.
d) Relógio:
Na opção do relógio pode visualizar a hora ajustada e uma folha de calendário do dia com o mês, o dia e o dia da semana. Mantenha a tecla Play/Pause [▶] pressionada para Abrir o menu OSD. Aqui pode ajustar a data, o modo 12/24h e activar ou desactivar o cronómetro.
e) Alterar os parâmetros
Selección no menu principal o Setup. Navegue com as teclas , para o punto pretendido no menu. Pode selecciónar entre Menu geral, display, multimédia e relógio | data | cronómetro. Confirma a sua opção através da tecla Play/Pause [▶] para fazer o seu aparecido individualmente.
| Possibilidades de ajuste | Descrição | ||
| Configurações Gerais | Idioma | Selecao o idioma pretendido. | |
| Infirmações de produits | Visualização da versão actual da Firmware. | ||
| Actualizações de Firmware | Caso se encontrar umaactualização da Firmware sob www.intenso.de, esta pode ser instalada atravesemosdesto punto no menu. | ||
| Valores originais | Osvalores originaisdo aparecido são repostos. | ||
| Auto Run | Ajuste o modo no qual a sua moldura digital inicia a seguir ao ligar. (galeria, calendário, funções usizadas recentamente) | ||
| ECO | Luminosidade | Ajuste da luminosidade do display TFT. | |
| Display desligado | Ajuste o tempo para o display, ao não serutilizzato,entrarmemodo de suspensão. | ||
| Desligar | Ajuste o tempo para a moldura digital, ao não serutilizada,se desligar. | ||
| Foto | Ficheiro | Seleção do directrório para a visualização das fotografiaias. | |
| Apresentação diapositivos | Ajustar o efeito de transição | ||
| Duração adepresentação | Ajustar a duração dapresentação | ||
| Escalar | Ajustar a visualização para o modo de fotografia | ||
| Relógio | Data | Cronómetro | Data | Ajuste da data actual. | |
| Formato hora | Ajuste do formatodha: 12 horas (AM/PM) ou 24 horas. | ||
| Hora | Ajuste da hora actual. | ||
| Cronómetro | Activar / Descativar | Activar / Descativoroligar / desliger automatístico. | |
| Hora deligar | Ajustar a hora de ligar automaticamente. | ||
| Hora de desligrar | Ajustar a hora de desligrar automaticamente. | ||
| Frequência | Ajustar a frequênciade ligar / desligrar automaticamente. (diário, 2a a 6a., fins-de-semana, uma vez) | ||
4) ESPECIFICAções DE PRODUTO
| Visor | Visor TFT LCD Digital Tamanho do Visor: 8" Polegadas (20,32 cm tamanho do ecranço visível) Visualização: 4:3 Definição: 800*600 Pixel |
| Alimentação | Input: 100~240V AC, 50/60Hz Output: 5V 1A DC |
| USB port | USB Host 2.0 SuporteMZias de armazenamento USB |
| Cartões de armazenamento compatíveis | SD/SDHCTM (Secure Digital Card), MMC™ (MultiMedia Card) |
| Formatos deotos compatíveis | JPEG, Definição Tmaxa:9000*9000 pixels |
| Temperatura de operação | 0°C ~ +40°C |
| Medidas | 217*172*22 mm |
| Peso | ~420 gr. |
| Acessórios | Contrôle remoto (incl. 1 pilha), Pé de apoio, Alimentador, Manual de instruções em diversos idiomas |
Nāo sabe o que fazer?
Nossa Hotline de Assistência Tecnica responde com prazer às suas perguntas:
+49 (0) 900 1 50 40 30 por 0,39 €/min. de um téléphone fixo alemão. Preços de telecomia móvil podem variar.
Divirta-se com sua Moldura de Fotos Digitais da Intenso!
Cuidado e Manutenção
Cuidado
- Para evaporar o perigo de Choques electrolycos, não remove parafusos nem a caixa externa.
- Não utilize o aparelho proxies a agua. Não submeto o aparelho à chuva ou umidade. Não colqueoutsros objetos que armazenem agua ou outros liquidos na proximidade deste aparelho.
- Não instale esta moldura na proximidade de aquecedores, fornos ou outros aparhios que gerem calor.
- Não abra o aparecido. Não tente consertá-lo por si Aloneio. Deixe-o acos Custados de pessoas especializados.
- Evite utilizes lo em lugarares arenisos.
- Introduza o cabo de alimentação completeness na abertura do aparelho. Sente assim PODe-se evaporar cargas eletrostáticas.
- Conecte todos os cabos de maneira correta e segura.
- Não pressione o visor. Proteja o visor dos raios solares.
- A moldura sé reproduz FORMATOs dados compatíveis.
As fotos podem estra protegidas contra direitos de terreiros. A reproducao sem licenca pode ir contra a lei de direitos autorais. - Não encoste na moldura deotos com instrumentos metálicos quando estiver em funcaoamento.
- Evite a'utilização sobre alimentadas, sofos ou outros objetivos dométricos, que possam produzir calor, devido ao perigo de supraquecimento do aparelho.
- Não remove cartões de memória durante o processo de leitura. Podem ocorrores quidas de sistemas ou perdas de dados.
- Não deslgue o aparecido durante a reprodução de um Diashow.
- Não embale o aparecido diretamente antes o longo uso. Confira se há um resfriamento sufiente. De outra forma, há perigo de superaquecimento.
- Para garantir um melhor serviços, poder ocorrre alteracoes no manual de intruções.
Manutenção do aparelho
O aparelho deve estar desligado.
Nunca espirre ou derrame liquidos diretamente sobre o visor ou sobre a parte externa do aparelho.
Limpeza do visor / Parte externa / Moldura
Limpe a parte externa, moldura e o visor LCDguidedamente com pano macio, sem felp as e sem aditivos químicos. Utilize somente produits de limpeza especials para Visors de LCD.
Eliminação de aparhos domesticos

Os apareiros que vem marcados com este símbolo está sujeitos às normas europeias 2002/96/EC.
Todos o aparelhos eltricos e eletrodomesticos devem ser separados do lixo caseiro e depositados em lugares proprios, determinados pelo estado.
Com a eliminação correta de apareiros eletrodométricos poder ser evitados danos no meio ambiente.
ManualFácil