PhotoActor - Digitaler Fotorahmen INTENSO - Kostenlose Bedienungsanleitung
Finden Sie kostenlos die Bedienungsanleitung des Geräts PhotoActor INTENSO als PDF.
Benutzerfragen zu PhotoActor INTENSO
0 Frage zu diesem Gerät. Beantworten Sie die, die Sie kennen, oder stellen Sie Ihre eigene.
Eine neue Frage zu diesem Gerät stellen
Laden Sie die Anleitung für Ihr Digitaler Fotorahmen kostenlos im PDF-Format! Finden Sie Ihr Handbuch PhotoActor - INTENSO und nehmen Sie Ihr elektronisches Gerät wieder in die Hand. Auf dieser Seite sind alle Dokumente veröffentlicht, die für die Verwendung Ihres Geräts notwendig sind. PhotoActor von der Marke INTENSO.
BEDIENUNGSANLEITUNG PhotoActor INTENSO
Bedienungsanleitung 8" Intenso Digitaler Fotorahmen
Folgen Sieitte dieser Anleitung,um uber die verschiedenen Funktionen des Intenso Digitalen Fotorahmens informiert zu werden.
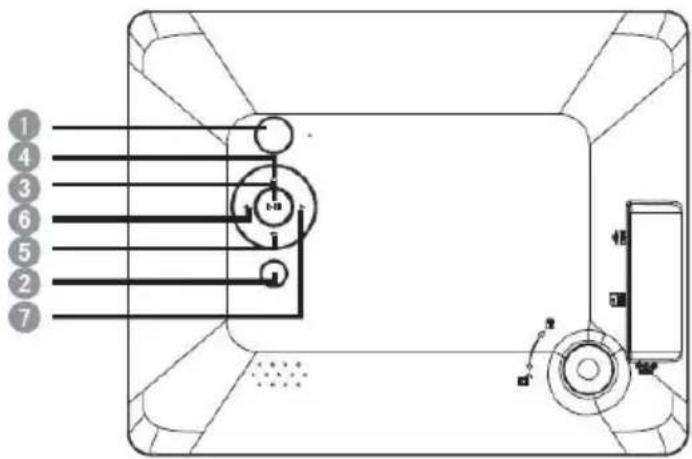
1 Power An/Aus
2 Zurück [T] Taste
3 Play/Pause [Taste]
4 Aufwarts [▲] Taste
5 Abwarts [▼] Taste
6 Links [Taste]
7 Rechts [▶] Taste

Drehen Sie den Standfuß im Uhrzeigersinn, umihn mit dem Digitalen Fotorahmen zu verbinden.


| 1 | ◎ | Power On/ Off |
| 2 | ⇄ | Rücksprung zum vorherigen Menuü |
| 3 | [+]II | Play/Pause Taste |
| 4 | ▲ | Bewegt den Cursor aufwärts |
| 5 | ▼ | Bewegt den Cursor abwärts |
| 6 | ← | Bewegt den Cursor nach links |
| 7 | ▶ | Bewegt den Cursor nach rechts |
| 8 | MODE | Auswahl der Bildanzeige |
| 9 | OSD | Anzeige des On-Screen-Displays (OSD) |
1) Anschlieben und Einschalten des Intenso Digitalen Fotorahmens

Verbinden Sie das mitgelieferte Netzteil mit dem Digitalen Fotorahmen (DC-IN). Stecken Sie das andere Ende des Netzteils in die Steckdose. Der Digitale Fotorahmen startet nun automatisch. Halten Sie die Power-Taste kurz gedrück, umihn auszuschalten oder erneut einzuschalten.
Sicherheitshinweise:
- Die Steckdose muss sich in der Höhe des Gerätes befinden und leicht zugänglich sein.
- Offnen Sie nicht das Gehäuse des Netzadapters. Bei geöffnetem Gehäuse besteht Lebensgefahr durch elektrischen Schlag. Es enthalt keine zu wartenden Teile.
- Betreiben den Netzadapter nur an geerdeten Steckdosen mit AC 100-240V~, 50/60 Hz. Wenn Sie sich der Stromversorgung am Aufstellungsort nicht sichere sind, Fragen Sie beim betreffenden Energieversorger nach.
Benutzen Sie nur das beiliegende Netzadapter- und Netzanschlusskabel.
2) Einlagen von Speicherkarten | Anschlieben von USB Speichermedien

Setzen Sie die Speicherkarten mit dem Logo in Richtung des Display schauend in den Slot des Kartenlesers ein.
Achtung: Die Karteitte nicht mit Gewalt einsetzen!
Folgende Speicherkarten - Formate werden vom Digitalen Fotorahmen unterstützt:
Das USB Speichermedium kann nur in einerichtigung in den USB Slot eingesetzt werden.
Achtung: Das USB Speichermediumitte nicht mit Gewalt einsetzen!
Hinweis: Der Digitale Fotorahmen ist nur für die Nutzung mit kompatiblen Speicherkarten und USB 2.0 Speichermedien (100mA) ausgelegt.
3) Allgemeine Bedienung
a) Hauptmenu
Nach dem Einsatz erscheint das Hauptmenü.
Im Hauptmenü haben Sie die Auswahl zwischen den verschiedenen Funktionen des Digitalen Fotorahmens und dem Setup Menu. Drücken Sie die , Tasten (Pfeiltasten) auf dem Digitalen Fotorahmen oder auf der Fernbedienung, um einen Menupunkt auszuwahlen. Durch Drücken der , Tasten (Pfeiltasten) auf dem Digitalen Fotorahmen oder auf der Fernbedienung, navigieren Sie in den jeweiligen Untermenus. Bestätigen Sie ihre Wahl mit der der Play/Pause [Taste auf dem Digitalen Fotorahmen oder ihrer Fernbedienung.
b) Anzeigen von Fotos
Navigieren Sie im Hauptmenu zu der Funktion Foto. Es werden Ohnen die verbundenen Speichermedien angezeigt. Je nachdem, welches Speichermedium verbunden ist, haben Sie hier die Auswahl zwischen SD, MMC und USB. Bestätigen Sie ihre Auswahl mit der Play/Pause [Taste.
Es werden Ihnen jetzt alle Ordner mit Unterstützungen Bildern angezeigt. Wahlen Sie den gewünschten Ordner aus, um in das Bilder-Vorschaumen zu gelangen. Navigieren Sie nun zu einem Foto und bestätigen Sie mit der Play/Pause [▶] Taste, um die Diashow von dieser Stelle aus zu starten.
Wurde bereits eine Diashow von dem ausgewählten Speichermedium gestartet, so setzen der Digitale Fotorahmen diese automatisch fort. Die Anzeige der verfügbaren Ordner und des Bilder-Vorschaumenü muss manuell vorgenommen werden. Drücken Sie dazu die Zurück [+] Taste, um die Diashow zu verlassen und das Vorschaumenü aufzurufen.
Funktionen während der Diashow:
- Durch Drücken der Pfeiltasten nach Rechts oder Links können Sie jeweils ein Foto Vorwärts oder Zurück springen.
- Durch Drücken der Play/Pause [▶] Taste stoppen Sie die Diashow und erhalten Detailinformationen zu dem eingeblendeten Foto. Durch erneutes Drücken setzen Sie die Diashow fort.
- Halten Sie die Play/Pause [▶] Taste gedrückt, um das OSD Menu zu öffnen. Hier können Sie den Dateiabspielbereich wahren, das Foto zoomen oder drehen, die Helligkeit einstehen, die Übergangseffekte wahren, die Anzeigedauer eines Bildes einstellen und die Bildanzeige skalieren.
c) Kalender
Im Kalender Modus werden Ohnen das eingestellte Datum, der Wochentag, die Uhrzeit und eine Monatsübersicht angezeigt. Als Hintergrund lauft (bei einlegetem und mit entsprechenden Fotos bespieltem Speichermedium) eine Diashow. Mit den Pfeiltasten navigieren Sie durch die Monatsübersicht.
d) Uhr
Im Uhr Modus werden Ohnen die eingestellte Uhrzeit und ein Kalenderblatt mit Monat, Tag und Wochentag angezeigt. Halten Sie die Play/Pause [▶] Taste auf dem Digitalen Fotorahmen gedrückt, um das OSD Menu zu öffnen. Hier konnen Sie das Datum, 12/24h Modus und die Uhrzeit einstellen, sowie den Timer aktivieren bzw. deaktivieren.
e) Andern der Einstellungen
Wahlen Sie im Hauptmenü die Funktion Setup aus. Navigieren Sie mit den , Tasten zu dem gewündsten Menüpunkt. Ihnen stehen Allgemein, Display, und Uhr | Datum | Timer zur Verfügung. Bestätigen Sie ihre Wahl mit der der Play/Pause [▶] Taste, um Ihr Gerät individuell einzurichten.
| Einstellmöglichkeiten | Beschreibung | ||
| Allgemeine Einstellungen | Sprache | Wählen Sie die gewünschte Sprache aus. | |
| Produkt Information | Anzeige der aktuellen Firmware Version. | ||
| Firmware Update | Sollte auf www.intenso.de ein Firmware Update zur Verfügung stehen, können Sie es über diesen Menüpunkt installieren. | ||
| Werkseinstellungen | Gerät wird auf die Werkseinstellungen zusammenstellt. | ||
| Auto Start Modus | Stellen Sie den Auto Start Modus ein. | ||
| ECO | Helligkeit | Einstellen der Helligkeit des Displays. | |
| Display aus | Einstellen der Zeit bis das Display sich bei Nichtbenutzung ausschaltet. | ||
| Ausschalten | Einstellen der Zeit bis das Gerät sich bei Nichtbenutzung ausschaltet. | ||
| Foto | Datei | Auswahl des Verzeichnisses für die Foto Wiedergabe | |
| Diashow | Einstellen des Übergangeffektes | ||
| Anzeigedauer | Einstellen der Anzeigedauer | ||
| Skalierten | Einstellen des Displays für den Foto Modus | ||
| Kalender | Uhrzeit | Timer | Datum | Einstellen des aktuellen Datumss. | |
| Zeitformat | Einstellen des Formates der Uhrzeit: 12 Stunden (AM / PM) oder 24 Stunden. | ||
| Uhrzeit | Einstellen der aktuellen Uhrzeit. | ||
| Timer | Ein / Aus | Schalten Sie den Timer Ein / Aus | |
| Einschalt-zeit | Einstellen der Uhrzeit des automatischen Einsatzens. | ||
| Ausschalt-zeit | Einstellen der Uhrzeit des automatischen Einsatzens. | ||
| Häufigkeit | Einstellen der Häufigkeit des automatischen Einsatzens / Einsatzens. (Täglich, Mo. bis Fr., Wochenende, Einmal) | ||
4) Produkt Spezifikationen
| Anzeige | Digitales TFT LCD Display Höhe: 8" Zoll (20,32 cm sightbare Bilddiagonale) Anzeigemodus: 4:3 Auflösung: 800*600 Pixel |
| Netzteil | Input: 100~240V AC, 50/60Hz Output: 5V 1A DC |
| USB Port | USB Host 2.0 (High Speed) Unterstützt USB Speichermedien |
| Unterstützte Speicherkarten | SD/SDHCTM (Secure Digital Card), MMC™ (MultiMedia Card) |
| Unterstütztes Bildformat | JPEG, Maximale Auflösung:9000*9000 Pixel |
| Betriebstemperatur | 0°C ~ +40°C |
| Abmessungen | 217*172*22 mm |
| Gewicht | ~420 gr. |
| Zubeñor | Standfuß, Netzgerät, Fernbedienung (inkl. Batterie), mehrsprachige Bedienungsanleitung |
Wissen Sie einmal nicht weiter?
Unsere Technische Service Hotline beantwortetigeriae Weitere Fragen: +49 0) 900 1 50 40 30 fur 0,39 €/Min. aus dem deutschen Festnetz. Mobilfunkpreise konnen abweichen.
Viel Spaß mit Ihr dem Digitalen Fotorahmen von Intenso!
Pflege und Wartung
Pflege
- Um die Gefahr von elektrischen Stromstößen zu vermeiden, entfernen Sieitte weder die Schrauben noch das Gehäuse.
- Benutzen Sie these Gerät nicht in der Nähe von Wasser. Setzen Sie these Gerät weder Regen noch Feuchtigkeit aus. Stellen Sie keine Gegenstände in der Nähe des Gerätes ab, die Wasser oder andere Flüssigkeiten speichern.
- Installieren Sie diesen Bilderrahmen nicht in der Höhe von Heizungen, Öfen oder anderen Wärme abgebenden Geräten.
- Öffnen Sie das Gehäuse nicht. Versuchen Sieitte keine eigene Reparatur. Überlassen Sie desses dem Fachpersonal.
- Vermeiden Sie die Benutzung auf sandigen Plätzen.
- Bitte stecken Sie den Netzteil-Anschluss-Stecker komplett in die vorhandene Öffnung des DF. Nur so können Sie elektrostatische Aufladung vermeiden.
- Verbinden Sie alle Anschlusses korrekt und sicher.
- Bitde drucken Sie nicht auf das Display. Schützen Sie das Display vor starker Sonneneinstrahlung.
- Der Bilderrahmen spiel nurCompatible Dateiformate ab.
- Bilder können durch Rechte Dritter geschützt sein. Das Abspielen ohne Lizensenz kann Copyright Rechte verletzen.
-itte berühren Sie den DF während des Betriebes nicht mit metallischen Gegenständen.
-itte vermeiden Sie die Benutzung auf Kissen, Sofas oder anderen Wohngegenständen, die eine Wärmeentwicklung unterstützen, da die Gefahr einer Überhitzung des Gerätes besteht.
-itte entfern Sie keine Speicherkarten wahrend des Lesevorganges. Anderenfalls kann es zu Systemabsturzen oder Datenverlust kommt. - Bitte stellen Sie das Gerät nicht während einer laufenden Diashow aus.
-itte verpacken Sie das Gerat nicht direkt nach einem längeren Gebrauch. Stellen Sie eine ausreichende Abkuhlung safer. Es besteht sonst die Gefahr der Überhitzung. - Um einen besseren Service zu gewährleisten, kann es zu Änderungen in der Betriebsanleitung kommt.
Wartung des Gerätes
Das Gerät muss ausgeschaltet sein.
Spruhen oder Tragen Sie niemals eine Flüssigkeit direkt auf das Display oder Gehäuse auf.
Säuberung des Displays / Gehäuses / Rahmens
Wischen Sie Gehäuse, Rahmen und LCD Display vorsichtig mit einem weichen, fussel- und chemikalienfreien Tuch ab. Verwenden Sie nur Reinigungsmittel, die speziell für LCD -Displays bestimmt sind.
Entsorgung von Elektro-Altgeräten

Die mit thisem Symbol gekennzeichneten Geräte unterliegen der europäischen Richtlinie 2002/96/EC. Alle Elektro- und Elektroaltgräte müssen getrennt vom Hausmüll über die davon vorgesehenen staatlichen Stellen entsorgt werden.
Mit der ordnungsgemänen Entsorgung von Elektro-Altgeräten vermeiden Sie Umweltschäden.
EinfachAnleitung