PhotoActor - Cyfrowa ramka na zdjęcia INTENSO - Bezpłatna instrukcja obsługi
Znajdź bezpłatnie instrukcję urządzenia PhotoActor INTENSO w formacie PDF.
Pytania użytkowników dotyczące PhotoActor INTENSO
0 pytanie dotyczące tego urządzenia. Odpowiedz na te, które znasz, lub zadaj własne.
Zadaj nowe pytanie dotyczące tego urządzenia
Pobierz instrukcję dla swojego Cyfrowa ramka na zdjęcia w formacie PDF za darmo! Znajdź swoją instrukcję PhotoActor - INTENSO i weź swoje urządzenie elektroniczne z powrotem w ręce. Na tej stronie opublikowane są wszystkie dokumenty niezbędne do korzystania z urządzenia. PhotoActor marki INTENSO.
INSTRUKCJA OBSŁUGI PhotoActor INTENSO
Instrukcja obslugi 8" Intenso Cyfrowa ramka fotograficzna
Prosimy o przyȩśledzenia tej instrukcji, aby poźnać rożne funkcję Cyfrowej ramki fotograficznej firmy Intenso.
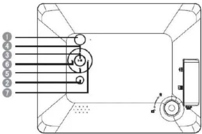
1Moc wlaczona/wyaczona
2 Stop Klawisz [b]
3 Play/Pause Klawisz [1]
4 Do przodu [▲]
5 W dōl Klawisz [▼]
6 W prawa Klawisz [
7 Wlewo Klawisz [▶]

Przekrć noźke w sprawo, aby połaczy są z ramka.


| 1 | ◎ | Włączenia / Wymiarczenia |
| 2 | ◎ | Powróć do popržedniego menu |
| 3 | [►] | Przycisk Play / Pause |
| 4 | ▲ | Ruch kursora w gorne |
| 5 | ▼ | Ruch kursora w dof |
| 6 | ▲ | Ruch kursora w lewo |
| 7 | ▲ | Ruch kursora w sprawo |
| 8 | MODE | Wybór trybu wyświetlania zdjeccia |
| 9 | OSD | Wyświetlanie na ekranie (tryb OSD) |
1) Podłuczanie i wȩczanie ramki cyfrowej

Połacz dostarczony zasilacz z ramka (DC-IN). Podłacz druga wtyczkte zasilacza do gniaźdka sieciowej. Ramka uruchomi sie automatycznie. Wcisnij krótko przycisk Power, aby wyplaćczyć lub ponownie wplaćczyć.
Uwaga:
Gniazdko sieciowe musi znajdowac sie w povlzu urzadzenia i musi byc latwo dostepne.
- Nie otwierac obudowy zasilacza. Otwarta obudowa powoduje niebezpieczestewo smiertelneo go razenia pradem elektrycznym. Zasilacz nie zwiera zdnych;cosci wymagajych konserwacci.
- Zasilacz naleź podłacznie do uziemionego gniażdka o napieci AC 100-240V~, 50/60 Hz. Jesli nie są Państwo pewni paramétrów napięcia w现阶段u montaź urzadzenia prosze skontaktowej są z odpowiednim dostawca energii elektrycznej.
- Nalezy uzywac wylicznie zawartych w zestawie zasilacza oraz przyzewodu zasilania.
2) Władanie kart pAMIęci | Podlączanie nośników pAMIęci USB

Wloz karte panni ci do gnia zczytnika z logo w kierunku wyswietlacza.
Uwaga: Karty nalezy umieszczac w slocie delikatnie, bez uzycia sily!
Nastepujace formaty kart pamięci są obśgliwane przyż ramkie cyfrowa:
Nošnik pamije USBUNCTZUMieszczac w slocie USB tylko w Jednym kierunku.
Uwaga: Nosnik paminsi USB nalezy umieszczac delikatnie bez uzycia sily!
Uwaga: Cyfrowa ramka do zdjeć jest przyznaczona wylącznie do pracy z kompatybilmymi kartami pAMIci oraz nośnikami danych USB 2.0 (100 mA).
3) Obługa ogólna
a) MenuGPCWne
Po wączeniu wyświetlane jest Menu glówne
W Menu glownym do wyboru są roźne funkcie ramki oraz Menu ustawien. Wcisnij przyciski , na ramce, aby wybrać punkt menu. Potwierdź wybor nacziskaj przycisk Play/Pause [▶] na ramce. Wcisnij przyciski , ( przyciski strzałek ) na ramce lub na pilocie, aby wybrać punkt menu. Nacziskaj przyciski , ( przyciski strzałek ) na ramce lub pilocie porusza sie w odpowiednim podmenu. Potwierdź wybor nacziskaj przycisk Play/Pause [▶] na ramce lub pilocie.
b) Wyświetlanie zdjec
PrzejdrwMenu glownym do funkcji Foto.Wyswietlone zostana Podlaczone nosniki danych. Wazoleznosci od typu podlaczonego nosnika danych do wyboru sa SD, MMC i USB.Potwierdz wybor naciskajc przycisk Play/Pause [▶] na ramce.
Wyświetlone zostana wszystkie foldery zagierajce zdjecia w obslugiwanych formatach. Wybierz folder, aby przyść do Menu podgladu zdjec. Przejź teraz do zdjecia i potworź wybor naciskAAC przycisk Play/Pause [▶] na ramce, aby RozpoczAAC w tym mistryscu pokaz slajdów.
Uruchomiono wąsniepokezdiapozytwyw z wybranychmediow pamięci,takwckontynuujego automatycznie cyfrowa ramka zdjeciowa.Prezentacja dostepnych folderów oraz menuprezentaggizdjecnalezywrazie potrzeby dokonac ręcznia.Prosimy nacinac przycisk powrotu[],celem wyjscia zPokazu diapozytwyw i wywołania menu prezentaggi.
Funkcje w czasiePokazu slajdow:
- Przy pomocy przycisków strzałek w sprawo lub lewoość odpowiednio do zdjecia dalej lub wstecz.
- Przy pomocy przycisku Play/Pause [▶]MZna zatrzymaćPokaz slajdów i ostrzymaśćszczegołowefinformacja dotyczaweyswietlanego zdjecia..Przej powtorne naciȩcie wznawia siePokaz slajdów.
- Przytrzymaj wcińskiowy przycisk Play/Pause [▶], aby otworzyc Menu OSD. Tutaj można ustawic zakres odztwarzanych plików, powiékszyc lub obrócić zdjecie, ustawić jasnosć, wybrać efekt przyjscia, ustawić czas wyświetlania zdjecia i skalować wyświetlacz zdjec.
c) Kalendarz:
W trybie kalendarza wyświetlana jest ustawiona data, dz引擎 tygodnia, czasi przyglad miesiaca. Jako tlo wyświetlany jest pokaz slajdow (przy zainstalowanym nośniku danych z zapisanych izdjecymi). Przy pomocy przycisków strzały są zań poruszać sie po przygladzie miesiaca..
d) Zegar:
W trybie zegara wyświetlana jest ustawiony czas, i kartka kalendarza z podanym miesiacem, dniem, i dniem tygodnia. Przytrzymaj wcińskipty przycisk Play/Pause [▶i], aby otworzyć Menu OSD. Tutajność ustawic date, tryb 12/24h oraz czas, jak rownikę wączyć lub wȩczyć odlicznanie czasu.
e) Zmiana ustawien
W Menu glownymNSEwybrafunkcjcUstawienia.Przy pomocy przyciskowA,▼
przemieszczasi do wybranego punktu menu.Do wyboru sustawienia Ogolne,
Wyswietlacza,Zegara | Daty | Odliczania czasu.Potwierdz wybor naciskajc przycisk
Play/Pause [▶i],aby indywidualnie ustawic urzadzenie.
| Możliwość ustawienia | Opis | |
| Ustawienia ogólne | Język | Wybierz jejzyk. |
| Informacja o produktie | Wyświetlanie aktualne versji firmware. | |
| Aktual化进程 firmware | Jeść na stronie internetowej www.intenso.de zostanie udostepnIONAactual化进程 firmware, są zainstalować wykorzystujuć ten punkt menu. | |
| Ustawienia fabryczne | Urzadzenia要去 zostadc zresetowane do ustawości fabrycznych. | |
| Auto Run | Wybr trybu, w jakim ma zostadc uruchomiona ramka po jej wączeniu (zd.§cie, kalendarz, ostatnio uzyta FUNCja). | |
| ECO | Jasność | Ustawianie jasność wyświetlacza. |
| Wyświetlacz wyłoczony | Ustawienie czasu, po jakim w przypadku nie uzywania urzadzenia wyświetlacz ma zostadc wączone. | |
| Wyloczania | Ustawienie czasu, po jakim w przypadku nie uzywania urzadzenia ma zostadc wączone. | |
| Ustawienia | Plik | Wybor folderu dla wyświetlanych odjeć. |
| Pokaz slajdów | Ustawianie efektu przy.§cia. | |
| Czas wyświetlania | Ustawianie czasu wyświetlania. | |
| Skalowanie | Ustawienia wyświetlacza dla trybu Foto. | |
| Zegar | Data | Odliczanie CZAS | Data | Ustawianie aktualnej daty. |
| Format czasu | Ustawianie formatu czasu: 12-godzinny (AM / PM) lub 24-godzinny. | |
| Czas | Ustawianie aktualnégo czasu. | |
| Odliczanie CZAS | Włuczony / wyłoczony Aktywowanie /dezaktywowanie automatycznego wączenia/ wyloczania. | |
| Czas wyloczenia Ustawianie godziny automatycznego wączenia. | ||
| Czas wyloczenia Ustawianie godziny automatycznego wyloczania. | ||
| Czȩstotłowść Ustawianie czȩstotłowość automatycznego wączenia/ wyloczania (codziewnie, pn-pt, weekend, raz). |
4) Specyfikacja Produktu
| Cyfrowy TFT LCD | |
| Wyświetlacz | Wielkość wyświetlacza: 8" cali (20,32cm widoczna przykaćdna obrazu)Tryb wyświetlania: 4:3Rozdzielczość: 800*600 pikseli |
| Zasilacz | Input: 100~240V AC, 50/60HzOutput: 5V 1A DC |
| Port USB | USB Host 2.0Obsolesgue nośniki danych USB |
| Obstruguwanie karty pAMIęci | SD/SDHCTM (Secure Digital Card), MMC™ (MultiMedia Card) |
| Obstruguwanie formaty obrazu | JPEG, maksymalna Rozdzielczość:9000*9000 pikseli |
| Temperatura robocza | 0°C ~ +40°C |
| Wymiary | 217*172*22 mm |
| Waga | ~420 gr. |
| Akcesoria | Pilot zdalnégo sterownikia (w tym bateria), Stojak, zasilacz sieciowy, wielojęczna instrukcja obstruku |
Jeżeli chęcza Państwo uzyskać wieciej informaci, nasza gorówna linia serwisu technicznych z przyjemnosci odpowie na Państwa pytania:
+49 (0) 900 1 50 40 30 Koszt polaczenia 0,39 €/min. z Telefonu stacionarnego w Niemczech. Ceny polaczenia z Telefonów komórkowych moga byc rożne.
Zyczzymy przyjemné korzystania z ramki cyfrowej Intenso!
UZYTKOWANIE I KONSERWACJA
UZYTKOWANIE
- Aby uniknac niebezpieczenstwa porazenia pradem elektrycznym, nie nalezy usuwac ani srb ani obudowy.
- Urzadzenia nie uzywać w poplizu wody. Nie naleź y战胜wiać ramki cyfrowej na dziatanie deszczu ani wilgoci. W poplzy urzadzenia nie ustawiać zadnych przychodmiotów zawierajycych wode lub innesubstancje plynne.
- Ramki na zdjecia nie instalować w基础知识 ogrzewania elektrycznych, pieców oraz innych urzadzenia wydkielajych ciepło.
- Nie wolno otwierac obudowy. Nie dokonywać samodzielnych napraw. Zadanie to nalezy pozostawicpecialistom.
- Unikać uzytkowania w piaszczystych mięscach.
- Nalezy wcisnac wtyczke zasilacza w calosci do odpowiedniego otworu urzadzenia. Tylko w ten sposob mayna uniknac naładowac elektrostatycznych.
- Wszystkie przyłącza sąȩzy połączyć prawidłow o i bezpiecznych.
- Nie wolno naciskać na wyświetlacz. Naleź go chronić przydzielaniem silnych promiensi stonecznych.
- Ramka na zdjecia odtwarza jedynie kompatybilne formaty plików.
Zdjecia moga byc chronione prawami osob trzechich. Ich odtwarzanie bez licenci moze spowodac naruszenie spraw autorskich - Podczas eksploatacji nie dotykać ramki cyfrowej metalowymi przyzemiotami.
- Nie uzywac ramki cyfrowej na poduszkach, sofach oraz innych meblach lub przyedmiotach domowych wspomagajacych wyttwarzanie ciepla, qdyz istnieje niebezpieczenswo przyegrzania urzadzenia.
- Nie wolno wyjmownik kart pamięci w trakcie procesu ich odczytu. W innym przypadku要去 dojsć do uszkodzen systemowych lub uraty danych.
- ProsimiNie eksponowac urzadzenia w trakciePokazu slajdow.
- Prosimi nie pakowania urzadzenia bezposrednio po dluzszym uzytkowaniu. Naleź zagwarantowo wystarczajace ostygniecie. W innym razie istmie siebezpiecznstwo przyegrzania urzadzenia.
- Aby zagwarantować lepszy poziom uslug, do niniejszej instrukcji obśgli moga zostAAC wpwadzonezmiany.
Konserwacja urzadzenia
URZADZENIE MUSI BYC WYLACZANE.
NIE ROZPYLAC ANI NIE NAKLADAC BEZPOSREDNIO NA WYSWIETLACZ ORAZ OBUDOWE ZADNYCH PLYNOw.
Czyszczenie wyświetlacza / obudowy / ramy
Obudowe, ramke oraz wyświetlacz LCD wycierac delikatie miękka sciereczka, która nie jest nasȩczona chemikaliami i nie pozostawia włosć na czyszczonej powierzchni.
Nalezy uzywac wyłacznie szrodkow czyszczących przyeznaczonych do wyświetlaczy LCD.
Utylizacja starych urzadzen elektronicznych

Urzadzenia oznaczone tym symbolem podlegaja europejskiej wytycznej 2002/96/EC.
Wszystkie urzadzenia elektronicze i elektryczne nalezy utylizowac poprzej przywidziane do tego celu instytucje polnstwowe, a nie razem zOADpadami z gospodarstwa domowego.
Utylizujac odpwiednio stare urzadzenia elektronicze dbaja Paanstwo o srodowisko iunikaja tym samym jejozanieczyszczenia.
PykoBoDCTBO NO 3KcPlyatauN 8" NHTeHCo cIΦpOBoi φOTopamKn
B daHHo HnCTpykun Bbl y3HaTe o pa3nHbIX xfynKuaX uΦpOBoN ΦOTopamKn HHTehCo.
1 BkIOUy./BbIKJ.
2 Cton Khonka [b]
3 PpocMOTKHOIIKa [
4 BBepx KhoNka [▲]
5 BnH3 KhoNka [V]Taste
6 BnpaBo KhONka [4]
7 BneBO KhoNka [


IobopauBaTe HOxky 3a YacOBoCtpeKo,TO6bI COeHNHTbe eC CnΦpOBoIΦOTopAMKO.

ProstaInstrukcja