9045N - Imprimante TALLY - Notice d'utilisation et mode d'emploi gratuit
Retrouvez gratuitement la notice de l'appareil 9045N TALLY au format PDF.
| Intitulé | Description |
|---|---|
| Type de produit | Imprimante à étiquettes thermique |
| Caractéristiques techniques principales | Impression thermique directe, résolution de 300 dpi, vitesse d'impression jusqu'à 150 mm/s |
| Alimentation électrique | Adaptateur secteur 100-240V, 50/60Hz |
| Dimensions approximatives | 250 mm x 200 mm x 150 mm |
| Poids | 1,5 kg |
| Compatibilités | Compatible avec Windows, Mac OS, et Linux |
| Type de batterie | Non applicable (imprimante alimentée par secteur) |
| Tension | 12V |
| Puissance | 30W |
| Fonctions principales | Impression d'étiquettes, codes-barres, et QR codes |
| Entretien et nettoyage | Nettoyage régulier de la tête d'impression et des rouleaux avec un chiffon doux |
| Pièces détachées et réparabilité | Disponibilité de pièces de rechange pour la tête d'impression et les rouleaux |
| Sécurité | Conforme aux normes de sécurité CE, protection contre les surcharges électriques |
| Informations générales utiles | Garantie de 2 ans, assistance technique disponible |
FOIRE AUX QUESTIONS - 9045N TALLY
Téléchargez la notice de votre Imprimante au format PDF gratuitement ! Retrouvez votre notice 9045N - TALLY et reprennez votre appareil électronique en main. Sur cette page sont publiés tous les documents nécessaires à l'utilisation de votre appareil 9045N de la marque TALLY.
MODE D'EMPLOI 9045N TALLY
Guide de démarrage rapide
ATTENTION: L'appareil numérique ne génère pas de bruits radioélectriques dépassant les limites applicables aux appareils numériques de la classe B prescrites dans le règlement sur le brouillage radioélectrique édicté par le ministère des communications du Canada.
The paper used is made of raw materials treated with a chlorine-free bleaching process. Das verwendete Papier ist aus chlorfrei gebleachten Rohstoffen hergestellt. Le papier utilisé est fabrique à partir de matières premières blanchis sans chloré. La cartautilizzatae prodotta con materiali sbiancatisenza cloro. El papel realizado ha sido fabricado con un equipo de blanqueo libre de cloro. O papel uso é feito de materias-primas tratadas com um processo de branquamento sem cloro.
CE Cet apparéil remplit aux exigences des normes européennes en respectant la directive du Conseil du 3 mai 1989 (89/336/CE) relative à la compatibilité electromagnétique et la directive du 19février 1973 (73/23/CE) en matière du matériel à basse tension. La conformité aux directives mentionnées ci-dessus est reprise par la marque de conformité de la Communauté Européenne (CE).
Remarque: La conformité peut être influencée par:
L'utilisation de câbles d'interface non spécifiés • le non-respect de consignes importantes du manuel d'utilisation • le remplacement de composants qui n'ont pas été homologués pour cet appareil par le constructeur • l'intervention de personnes non autorisées
Pour ne pas compromettre la protection contre les risques d'incendie, remplacer par un fusible de même type et de mêmes caractéristiques nominales. Seul un personnel qualifié et formé est habilité à démonter les sous-ensembles de la machine qui ne sont pas formellement indiqués dans le Manuel d'utilisation même s'ils sont accessibles par l'opérateur.

Toner Low = Step
PostScript Version : 3
Enging Version:1.768-39
Network 1 Version : 10/100 Ethernet 1.2
Installed Memory : 128 Mbytes
Printer Name: Intellprint 9045N 01EC84
Numéro Série : CB6C131634A0
Asset Tag
Image Counter: 1211
Compteur de feuilles : 1120
Chapitre 1 introduction. 1
Sur ce manuel 1
Conventions 1
Règles générales de sécurité. 2
Consignes de sécurité 2
Manipulation de l'imprimante 3
Composants de l'imprimante 4
Chapitre 2 installation de l'imprimante 7
Vérification de la fourniture 7
Préparation de l'emplacement de l'imprimante 8
Dimensions. 8
Précautions à prendre avant l'installation 8
Espace requis. 9
Procédure d'installation 10
Retrait des rubans adhésifs 10
Installation des Options 10
Mise en place de la cartouche de toner 11
Chargement du papier 14
Branchement du câble électrique 17
Mettre l'imprimante sous tension 17
Impression d'un récapitulatif de configuration 19
Exemple d'un récapitulatif de configuration. 19
Régler l'adresse IP manuelle 20
Chapitre 3 installation de logiciel 23
Installation du pilote 23
Programme d'administration TGNet Admin 24
Chapitre 4 specifications. 25
DEEE - Directive européenne relative aux déchets d'équipements électriques et électroniques 26
Chapitre 1 introduction
Ce guide de mise en service rapide a le but de vous aider à l'installation de votre imprimante. Pour des informations supplémentaires sur l'installation de votre imprimante, consulter le Guide d'utilisation sur le CD-ROM. Pour l'assistance supplémentaire, contacter votre vendeur ou l'assistance technique (voir les addresses à la première page de ce manuel).
Conventions
Les conventions suivantes sont utilisées dans ce guide pour mettre l'accent sur certaines informations ou vous avertir d'éventuels problèmes:

REMARQUE: Les remarques vous fournissent des conseils ou compléments d'informations qui pourront vous être utiles lors de l'installation ou de l'utilisation de l'imprimante.

ATTENTION: Ces messages vous fournissent des informations qui pourraient notamment vous éviter d'endommager votre équipement ou d'échouer lors des procédures que vous effectuez. Lisez-les tous attentivement.

AVERTISSEMENT! Ces messages vous informent des risques potentiels de blessure si une procédure particulière n'est pas effectuée exactement comme désignée dans le présent guide. Veuillez accorder une attention toute particulière à ces sections et lisez-les intégralement pour éviter tout risque de blessure.
Règles générales de sécurité
Veuillez lire attentivement ces instructions avant de travailler avec l'imprimante:
- Suivez toutes les procédures de fonctionnement fournies dans ce manuel.
- Apportez une attention toute particulière aux avertissements de danger figurant sur l'imprimante et dans ce manuel, et suivez-les. En cas de non-respect, vous risquez de vous blesser ou d'endommager l'imprimante.
- N'exécutez aucune opération ni action d'une autre manière que celle indiquée dans ce manuel. En cas de doute, veuillez contacter votre distributeur ou le S. A. V.
- Gardez à l'esprit que les avertissements de danger, dans ce manuel ou sur l'imprimante, ne peuvent pas couvrir chaque cas possible car il est impossible de prédire et d'évaluer à l'avance toutes les circonstances. Soyez attentif/attentive et suivez votre bon sens.

Pour des informations détaillées sur les règles de sécurité, veuillez vous reporter au Guide d'utilisateur sur le cédérom.
Consignes de sécurité
Cette imprimante se décline en version 110V ou 230V. Branchez son connecteur d'alimentation dans une prise électrique représentant une tension nominale appropriée pour éviter les risques d'incendie ou d'électrocution.
Manipulation de l'imprimante
- L'imprimante pèse environ 23 kg (50 lbs), bac papier, cartouche de toner et papier non inclus. N'essayez pas de la soulever tout seul.

- Deux personnes, l'une face au panneau avant et l'autre face au panneau arrière de l'imprimante, doivent se placer de chaque côté de cette dernière et agripper les poignées situées sur ses panneaux latéraux pour pouvoir la soulever. Ne soulevez l'imprimante qu'au moyen de ces poignées.
Composants de l'imprimante

| No. | Nom | Description |
| 1 | Bac central de sortie | Les feuilles imprimées sont déposées dans le bac, face imprimée vers le bas. |
| 2 | Panneau de commande | Comporte les boutons de commande, les témoins et l'écran d'affichage. |
| 3 | Orifice de ventilation | Évacue la chaleur pour prévenir toute surchauffe de l'intérieur de l'imprimante. |
| 4 | Détecteur de papier | Indique la quantité de papier restant. |
| 5 | Bac de papier (A4/Letter, 550 feuilles) | Charger le papier ici. |
| 6 | Bac de papier (A4/Letter, 150 feuilles) | Charger le papier ici. |
| 7 | Interrupteur | Met l'imprimante sous tension et hors tension. Pousser l'interrupteur vers le côté <I> pourmettre l'imprimante sous tension et le pousser vers le côté <O> pourla mettre hors tension. |
| 8 | Butée de papier | Relever la butée de papier lors de l'impression sur des formats supérieurs à A4. |

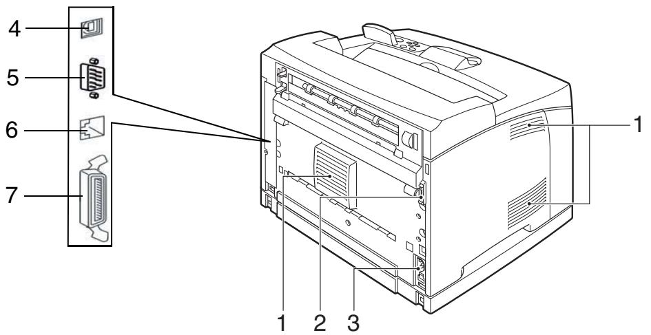
| No. | Nom | Description |
| 1 | Orifice de ventilation | Évacue la chaleur pour prévenir toute surchauffe de l'intérieur de l'imprimante. |
| 2 | Prise de module Duplex | Brancher ici le module Duplex optionnel. |
| 3 | Prise de cable d'alimentation | Brancher ici le cable d'alimentation. |
| 4 | Port USB | Brancher ici le cable USB. |
| 5 | Port série RS232 | Brancher ici le cable série |
| 6 | Port Ethernet 10/100 Base-TX | Brancher ici le cable Ethernet |
| 7 | Port parallèle | Brancher ici le cable parallèle. |


| No. | Nom | Description |
| 1 | Butée de papier | Relever la butée de papier lors de l'impression sur des formats supérieurs à A4. |
| 2 | Cartouche de toner | Contient le toner et le tambour photosensible. |
| 3 | Couvercle | Ouvrir le couvercle pour replacer la cartouche de toner et pour éliminer les bourrages de papier. |
| 4 | Unité de fusion | Fixe le toner au papier. L'unité de fusion est brûlante, ne pas y toucher lors de l'utilisation de l'imprimante. |
| 5 | Cartouche rouleau de transfert | Transfère l'image du toner à la surface du tambour photosensible sur le papier. |
Vérification de la fourniture
Avant d'instructior l'imprimante, assurez-vous que l'emballage contient bien tous les articles et accessoires. Si l'un des composants venait à manquer ou était endommagé, veuillez contacter votre distributeur.
Imprimante
Rendement standard de la cartouche de toner (10K), unité combinée toner et tambour dans un module indépendant

Bac de papier (A4/Letter, 150 feuilles) Bac de papier (A4/Letter, 550 feuilles)
Cable electrode
Guide de démarrage rapide et CD-ROM
Dimensions
Hauteur de l'imprimante: 404 mm (15,9") - Largeur de l'imprimante (du panneau de gauche au panneau de droite): 422 mm (16,6") - Profondeur de l'imprimante (du panneau avant au panneau arrière): 465 mm (18,3")
Précautions à prendre avant l'installation
Il est recommandé, avant de déballer l'imprimante laser, de lire les sections suivantes pour déterminer l'emplacement convenant à votre nouvelle imprimante laser. Observez les précautions suivantes pour tirer le meilleur parti de votre imprimante.
La surface d'installation doit être stable et très solide pour supporter le poids considérable de l'imprimante. La chute de l'imprimante peut entraîner des blessures graves.
- Placez l'imprimante sur une surface horizontale, stable et solide. L'imprimante peut entraîner des blessures graves en cas de chute.
Humidité: entre 15 et 85% (sans condensation)
- Veillez à ce que la température reste inférieure à C si l'humidité est de 85%. Si la température passe brusquement du froid au chaud, de la condensation peut se former dans l'imprimante et gêner l'impression. Il ne faut donc pas oublier de laisser l'imprimante s'ajuster à la nouvelle température avant de l'utiliser.
- N'exposez pas l'imprimante à la lumière directe du soleil.
- Ne placez pas l'imprimante dans un lieu humide, mal ventilé ou trop poussiéreux, afin de réduire les possibilités d'incendie ou d'électrocution.
- Ne placez pas l'imprimante près de radiateurs ou d'objets semblables, car il y a un risque d'incendie.
- Ne bloquez jamais les ouvertures de ventilation de l'imprimante, afin d'éviter une augmentation de la température interne et le risque d'incendie.
- Ne placez pas l'imprimante près d'alcool, de benzine ou d'autres matériaux volatils et inflammables, car il y a un risque d'incendie.
Espace requis
Un certain espace s'avère nécessaire pour garantir le bon fonctionnement de l'imprimante, assurer sa maintenance et replacer ses consommables. Utilisez les chiffres fournis ci-dessous pour déterminer l'emplacement de votre imprimante.

Veuillez à laisser suffisamment d'espace entre les fentes de ventilation de l'imprimante et le mur ou la surface la plus proche, afin d'éviter une augmentation de la température interne qui pourrait entraîner un incendie. Le dégagement indiqué facilite également l'utilisation, la maintenance de l'appareil et le remplacement des pièces à usage limité. Il est conseillé de faire installer l'imprimante par un technicien qualifié.

Retrait des rubans adhésifs
Lorsque l'imprimante est déballée pour la première fois de sa boîte, les couvercles et capots de l'imprimante sont encore munis de rubans adhésifs comme indiqué sur la figure. Retirer les rubans adhésifs. Retirez le dispositif de blocage du fixage en appuyant sur les onglets comme indiqué dans les instructions au dos de l'imprimante.

Installation des options
Si vous avez acheté des accessoires optionnels, reportez-vous au Guide d'utilisateur sur CD-ROM.
Si vous ne devez installer aucun accessoire optionnel, passez à la section suivante "Mise en place de la cartouche de toner".
Mise en place de la cartouche de toner

Consultez les précautions suivantes avant d’installer la cartouche du toner.
Ne jetez jamais une cartouche de toner sur une flamme nue. Vous risquez de provoquer une explosion ou de causer des blessures.
- Conservez la cartouche de toner dans un endroit hors de portée des enfants.
- Ne pas forcer l'ouverture de la cartouche de toner.
- N'exposez pas la cartouche à la lumière directe du soleil ou à d'autres sources lumineuses intenses.
- Ne réalisez pas la procédure d'installation dans un endroit fortement éclairé et essayez de terminer l'opération le plus rapidement possible (environ 5 minutes).
- Ne touchez jamais la surface du tambour photosensible.
- Ne renversez pas la cartouche et ne la posez sur son extrémité.
- L'obturator protège le tambour photosensible de la lumière. Ne l'ouvre pas à la main.
- L'encre n'est pas toxique. Elle peut être nettoyée à l'eau froide et au savon en cas de contact avec la peau. Sur les vêtements, vous devriez immédiatement essayer de le retirer avec un aspirateur muni d'un filtre fin.
- Eviter d'inhaler les éventuelles poussières de toner.

Ouvrez le capot supérieur.

Ne toucher aucune pièce se trouvant à l'intérieur de l'imprimante.

2 Retirez la cartouche d'encre de son emballage et secouez la cartouche de toner sept ou huit fois pour libérer l'encre et la répartir de façon homogène.

Placez la cartouche sur une surface plane, maintenez-la fermement et retirez la bande en plastique en tirant dessus horizontalement.

Lorsque vous retirez le joint, tirez-le à l'horizontal. Le ruban risque de se déchirer s'il est sorti de biais. Une fois le joint retiré, ne pas secouer la cartouche de toner et éviter absolument tout choc.

4 Tenir la cartouche de toner par la poignée et l'insérer dans la fente à l'intérieur de l'imprimante.
Ne toucher aucune pièce se trouvant à l'intérieur de l'imprimante. Assurez-vous que la cartouche de toner est fermement en place.

Fermez le capot supérieur. Assurez-vous qu'il est bien fermé.
Si vous imprimez avec une couverture de 5 %, vous pouvez imprimer 10 000 pages avec la cartouche standard fournie avec l'imprimante. Deux cartouches de toner sont disponibles au choix comme cartouches de remplacement. Elles permettent d'imprimer respectivement environ 10 000 ou 17 000 pages. Voir les options au chapitre 5 pour de plus amples détails.
Chargement du papier
Reportez-vous au Guide d'utilisateur sur CD-ROM pour tout détail concernant le type et le format de papier pouvant être chargé dans le bac.

1 Placez le bac papier sur une surface plane.

2 Retirez le couvercle du bac.

3 Si la plaque de fond du bac de papier est relevée, abaissez-la.

Comprimer le guide-papier de longueur et le faire glisser jusqu'au format de papier souhaité.

5 Comprimer le guide-papier latéral droit et le faire glisser jusqu'au format de papier souhaité.

6 Charger le papier avec la face à imprimer vers le haut, et avec les quatre angles alignés. S'assurer que le guide-papier latéral droit est bien réglé sur le format du papier. Ne pas faire dépasser le papier du guide-papier latéral droit.

Ne pas dépasser la ligne de niveau maximum ou la capacité maximum lors du chargement du papier. Ajuster le guide-papier l'étroit exactement à la largeur de papier. Si le guide-papier l'étroit n'est pas en place, le papier ne sera pas transporté correctement, ce qui pourrait causer un bourrage.

Remettez le couvercle du bac de papier.

8 Le bac doit être fermement logé dans l'imprimante.
Branchement du câble électrique


1 Branchez le cordon d'alimentation dans le connecteur CA situé au dos de l'imprimante.
2 Assurez-vous que le bouton d'alimentation de l'imprimante est en position < 0> (arrêt), puis insérez le connecteur du cordon d'alimentation dans une prise de courant avec la bonne puissance nominale.
Mettre l'imprimante sous tension

1 Placez l'interrupteur en position ON pour allumer l'imprimante.

Les moteurs de l'imprimante tournent pendant 2 à 3 minutes après la mise en circuit.
La ligne supérieure de l'écran à cristaux liquides affiche :
Chargement...
suivi d'astérisques défilant sur la ligne inférieure :
Chargement...
Après un test des voyageants, les astérisques défilent sur les deux lignes, le bip se fait entendre...
... et le test de démarrage se termine lorsque la ligne supérieure indique la mention :
Init. en cours

L'imprimante passe en mode de veille lorsqu'elle reste inactive pendant un certain temps.
Prêt
Lorsque vous avez terminé d'utiliser l'imprimante pour la journée, ou pour une période prolongée, coupez l'alimentation en tension.
Impression d'un récapitulatif de configuration
Votre imprimante peut vous donner un récapitulatif de configuration indiquant les options sélectionnées, les contenus des différents bacs, les options installées, ainsi que d'autres informations pertinentes. Pour imprimer un récapitulatif de configuration, appuyez sur la touche INFO.
TallyGenicom 9045N
Copies = 1
Duplex = Off
KoON=01
DEC. C. L. O.
Interpréter = Auto Switch
Format = Raw
Network Address = 00502701EC84
IP Address: 172.029
Subject Mask = 255.255.000.000
Default Gateway = 172.020.000.25
LPD Baneer = 0.7
DHCP=Off
Régler l'adresse IP manuellement
Si vous nevez regler une adresse IP manuellement dans l'imprimante, au lieu de laisser l'imprimante en recevoir une depuis une source DHCP, vous nevez vous assurer, avant de configurer l'adresse IP, que le serveur DHCP est déconnecté. Pour se déconnecter du serveur DHCP, procéder comme suit:
1 Appuyer sur le bouton MENU sur le panneau de commande. 2 Appuyer sur le bouton NEXT jusqu'à ce que l'affichage "Menu interface" apparaisse à la deuxième ligne de l'écran. 3 Appuyer sur le bouton SELECT pour entrer le menu interface. 4 Appuyer sur NEXT jusqu'à ce que l'affichage “Conf. réseau 1” (configuration réseau 1) apparaisse à l'écran. 5 Appuyez sur le bouton SELECT. 6 Appuyer sur NEXT jusqu'à ce que l'affichage “DHCP” apparaisse à l'écran. 7 Appuyez sur le bouton SELECT. 8 Appuyer sur le bouton NEXT jusqu'à ce que l'affichage "Off" apparaissé à la deuxième ligne de l'interface 9 Appuyez sur le bouton SELECT. 10 Appuyer sur le bouton START/STOP pour terminer.
Menu interface
Menu interface Conf. réseau 1
Configuration réseau 1 DHCP
DHCP Off
Entrer le menu interface en procédant comme suit et ajouter l'adresse IP et autres paramètres relatifs.
1 Appuyer sur le bouton MENU sur le panneau de commande. 2 Appuyer sur le bouton NEXT jusqu'à ce que l'affichage "Menu interface" apparaissent à la deuxième ligne de l'écran. 3 Appuyer sur le bouton SELECT pour entrer le menu interface. 4 Appuyer sur NEXT jusqu'à ce que l'affichage “Conf. réseau 1” (configuration réseau 1) apparaisse à l'écran. 5 Appuyez sur le bouton SELECT. 6 Appuyer sur NEXT jusqu'à ce que l'affichage "Adresse IP" apparaisse à l'écran. 7 Appuyez sur le bouton SELECT. 8 Modifier le chiffre au moyen des boutons NEXT/PREVIOUS (suivant/précédent). 9 Appuyer sur le bouton SELECT pour passer au chiffre suivant. 10 Appuyer sur le bouton SELECT une fois que tous les chiffres ont été configurés. 11 Le panneau de commande affiche de nouveau "Adresse IP". 12 Appuyer sur NEXT, et l'affichage “Masque sous-réseau” apparait à l'écran. Menu Menu interface Menu interface Conf. réseau 1 Conf. réseau 1 Adresse IP Conf. réseau 1 Adresse IP
Conf. réseau 1 Masque sous-réseau
13 Répéter les opérations 7 à 10. 14 Le panneau de commande affiche de nouveau "Masque ss-réseau". 15 Appuyer sur NEXT, et l'affichage "Routeur" apparait à l'écran. 16 Répéter les opérations 7 à 10. 17 Le panneau de commande affiche de nouveau "Routeur". 18 Appuyer sur le bouton START/STOP pour terminer.
Conf. réseau 1 Masque sous-réseau
Conf. réseau 1 Routeur
Conf. réseau 1 Routeur

Imprimer un résumé de configuration pour contrôler que l'adresse IP a été configurée correctement ainsi que Subnet mask (Masque de sous-réseau) et passerelle (Routeur) par défaut.
Installation du pilote
1 Introduisez le cédérom dans le lecteur. 2 ÀpRES le chargement du cédérom, Sélectionnez «I Accept to the License Agreement» (J'accpe l'accord de licence) dans le masque d'ouverture. 3 Lisez soigneusement les instructions par la connexion USB. 4 Suivez les instructions affichées à l'écran.

Pour le plug and play, utiliser l'interface USB ou parallèle. Il est recommandé de suivre le wizard et installer seulement le driver.
Ensuite Eteindre et Rallumer l'imprimante, le système peut maintenant trouver l'imprimante et installer le driver correspondant.

Une fois le driver installé, s'assurer que les options supplémentaires présentes sont installées via l'onglet option périphérique.
Programme d'administration tgnetwork admin
L'imprimante est assistée par le programme d'administration TGNet Admin, disponible sur notre site web. Les options de découverte réseau, administration, commande à distance et gestion à distance de panneau sont mises à disposition de l'administrateur.


Le programme TGNet Admin comporte une fonctionnalité de commande virtuelle de panneau permettant à l'utilisateur de gérer l'imprimante à distance. Les fonctions de commande virtuelle de panneau autorisent la commande à distance de plusieurs imprimantes sans que l'administrateur soit contraint de se rendre auprès de chacune des imprimantes pour en modifier la configuration.

Chapitre 4 spécifications
| Type machine | Desktop |
| Méthode d'impression | Laser xérographie |
| Vitesse d'impression | Letter: jusqu'à 45 feuilles/minute A4: jusqu'à 43 feuilles/minute |
| Durée de montée en régime | maximum 17 secondes à partir de la mise sous tension à 22°C |
| Temps de sortie de la première page | Environ 8 secondes |
| Résolution | 1200 dpi et 600 dpi |
| Format du papier | Executive, Letter, Legal, Legal 13, Statement, A6, A5, A4, B5 (JIS), enveloppe Monarch, enveloppe Com10, enveloppe DL, enveloppe C5, personnalisé REMARQUE: Il est conseilé de tester le support dans l'imprimante avant l'achat. |
| Type de papier | Papier simple (68-105 gsm), fin (64-67 gsm), epaisseeur 1 (106-159 gsm), epaisseeur 2 (160-216 gsm), epaisseeur 3* (106-216 gsm), transparents, enveloppess**, étiquettes** * Pour des supports rugueux ou irréguliers comme des enveloppées, sélectionnez «Thick3» (Épais 3). Si vous utilisez «Thick3», l'impression double face n'est pas disponible. ** certaines enveloppées et étiquettes ne peuvent pas être utilisées en raison de la qualité et du format du papier |
| Bac de papier standard | Bac de papier (A4/Letter, 150 feuilles): 150 feuilles Bac de papier (A4/Letter, 550 feuilles): 550 feuilles |
| Bac de papier optionel | Bac de papier (A4/Letter, 550 feuilles): 550 feuilles |
| Capacité du bac de sortie standard | 500 feuilles |
| Polices | 136 Adobe PostScript 3; PCL: 80 compatible HP (99 salariables, 1 fixe), 5 codes à barres, plus arabe |
| Niveau sonore | 56,1 dB ou moins durant utilisation, 28,0 dB ou moins en mode de veille |
| Tension de réseau | 100 V ± 10%, 50/60 Hz, 12,2 A 220 V ± 10%, 50/60 Hz, 5,9 A |
| Puisance consommée en mode d'économie d'énergie | Modèle 110 V: 12,8 W Modèle 230 V: 14,1 W |
| Puisance consommée pendant l'impression (valeur moyenne) | Modèle 110 V: 886 W Modèle 230 V: 788 W |
| Dimensions | 422 mm (L) × 465 mm (P) × 404 mm (H) |
| Poids | 23,0 kg |
DEEE - directive européenne relative aux déchets d'équipements électriques et électroniques
Informations destinées aux utilisateurs sur la collecte et l'élimination des équipements
Ce symbole sur les produits et/ou les documents d'accompagnement signifie que les produits électriques et électroniques usagés ne doivent pas être mélangés aux déchets ménagers en général.
Pour le traitement, la récupération et le recyclage de produits usagés, veuillez les apporter dans les centres de collecte appropriés conformément à votre législation nationale et aux directives 2002/96/CE et 2006/66/CE. En éliminant ces produits correctement, vous contribuez à économiser de précieuses ressources et à éviter des effets potentiellement négatifs sur la santé humaine et l'environnement tels qu'ils pourraient survenir en cas de traitement inadéquat des déchets.
Pour de plus amples informations sur la collecte et le recyclage de produits usagés, veuillez contacter s. v. p. votre municipalité locale, votre service d'élimination des déchets ou le point de vente où vous avez acheté les articles. Selon votre législation nationale, des peines peuvent être applicables en cas d'élimination incorrecte de ces déchets.
Pour les utilisateurs professionnels dans l'union européenne
Si vous souhaitez vous débarrasser d'un équipement électrique et électronique, veuillez contacter votre distributeur ou le fournisseur pour de plus amples informations.
Information sur l'élimination dans d'autres pays, en dehors de l'union européenne
Ce symbole est uniquement valable au sein de l'Union européenne. Si vous souhaitez vous débarrasser de ces articles, veuillez contacter vos autorités locales ou votre distributeur pour vous renseigner sur la méthode d'élimination correcte.
Informations sur les piles
La pile dans notre imprimante n'est pas destinée à être remplacée par l'utilisateur et ne doit pas normalement être remplacée pendant la durée de vie du produit.
Options et matériel d'usage
Si vous avez besoin d'options ou de matériel d'usage pour votre imprimante, veuillez vous adresser à votre revendeur. Vous pouvez également commander directement le matériel d'usage auprès du fabricant. Les accessoires disponibles avec les numéros de commande correspondants sont indiqués dans le tableau suivant.
| Option/matériel d'usage | No. de commande |
| Bac de papier en option (1 x 550 feuilles) | 043874 |
| Module recto-verse | 043875 |
| Bac Offset | 062414 |
| Disque dure | MLXXXF-HD |
| Extension de mémoire 128 MB | 043843 |
| Extension de mémoire 256 MB | 043844 |
| Extension de mémoire 512 MB | 043845 |
| Compact Flash 128 MB | 043736 |
| Compact Flash 256 MB | 043737 |
| Cartouche de toner avec haute capacité (17 000 feuilles), unité combinée toner et tambour dans un module indépendant | 043848 |
| Cartouche de toner avec capacité standard (10 000 feuilles), unité combinée toner et tambour dans un module indépendant | 043849 |
| Kit de maintenance (230 V) fixage, rouleaux, etc. | 043850 |
| Kit de maintenance (110 V) fixage, rouleaux, etc. | 043851 |
Indices
PostScript Version :
Engine Version: 1.768-39
Network 1 Version : 10/100 Ethernet 1.2
Installed Memory : 128 Mbytes
Printer Name: Intellprint 9045N 01EC84
Numéro Série : CB6C131634A0
Asset Tag
Image Counter : 1211
Compteur de feuilles : 1120
Tous droits réservés. Toute reproduction ou traduction de ce manuel, qu'elle soit complète, partielle ou sous une forme différente est interdite sans notre accord formel. Nous nous réservons le droit de modifier ce manuel sans préavis. Toutes les précautions ont été prises afin d’assurer l'exactitude des informations contenues dans ce manuel. Cependant, nous déclinons toute responsabilité pour les fautes ou dommages provenant d'erreurs ou d'inexactitudes qui seraient restées dans ce manuel.
- Centronics est une marque déposée de Centronics Data Computer Corporation.
- PCL et PCL6 sont des marques déposées de Hewlett-Packard Company.
- IBM et IBM PC sont des marques déposées d'International Business Machines Corporation.
- Apple, AppleTalk, TrueType, LaserWriter et Macintosh sont des marques déposées d'Apple Computer Inc.
- Microsoft, Windows, Windows 9x, Windows 2000, Windows NT et MS-DOS sont des marques déposées de Microsoft Corporation. PostScript est une marque déposée d'Adobe Systems Inc. Toutes les autres marques ou noms de produit sont des marques déposées de leur détenteur respectif.
Notice Facile