9045N - Drucker TALLY - Kostenlose Bedienungsanleitung
Finden Sie kostenlos die Bedienungsanleitung des Geräts 9045N TALLY als PDF.
Laden Sie die Anleitung für Ihr Drucker kostenlos im PDF-Format! Finden Sie Ihr Handbuch 9045N - TALLY und nehmen Sie Ihr elektronisches Gerät wieder in die Hand. Auf dieser Seite sind alle Dokumente veröffentlicht, die für die Verwendung Ihres Geräts notwendig sind. 9045N von der Marke TALLY.
BEDIENUNGSANLEITUNG 9045N TALLY
CE Dieses Gerat erfuft die Anforderungen der Europäischen Normen durch Einhaltung der Richtlinie des Rates vom 3. Mai 1989 (89/336/EWG) bezüglich der Elektromagnetischen Verträgelichkeit sowie die Richtlinie vom 19. Februar 1973 (73/23/EWG) bezüglich Elektrischer Betriebsmittel mit Niederspannungen. Die Konformität zu den offen angeführten Richtlinien ist durch das am Gerat angebrachte CE-Zeichen gekonnenheit.
Hinweis: Die Konformität kann beeinflübt werden durch:
■ Benutzung von nicht spezifierten Schnittstellenkabeln
Nichtbeachtung wichtiger Hinweise der Bedienungsanleitung
■ Ersetzen von Bauteilen, die nicht vom Hersteller für these Gerät freigegeben wurden
Eingriffe durch Unbefugte
Maschinenlärminformations-Verordnung 3. GPSGV: Der höchste Schaldruckpegel beträgt 70 dB(A) oder weniger gemäss EN ISO 7779.
WARNING
Aus Brandschutzgründen nur Sicherungen desselben Typs und derselben Auslegung verwenden. Das Entfernen oder Öffnen von Abdeckungen und Teilen darur durch geschultes Fachpersonal vorgenommen werden. Ausgenommen hiervon sind nur solche Abdeckungen und Teile, deren Entfernern bzw. Öffnen in der Bedienungsanleitung ausdruicklich gekennzeichnet und beschrieben sind.
ATTENTION
Kapitel 1 Einführung 1
Zudiesen Handbuch. 1
Konventionen 1
Allgemeine Sicherheitsrichtlinien 2
Sicherheitshinweise 2
Handhabung des Druckers 3
Druckerkomponenten. 4
Kapitel 2 Drucker einrichten 7
Lieferumfang überprüfen 7
DruckerstandortVBorbereiten. 8
Abmessungen. 8
Sicherheitsmaßnahmen bei der Installation 8
Platzbedarf 9
Installation 10
Klebeband entfernen 10
Optionen installieren 10
Tonerkartusche installieren. 11
Papier einlagen. 14
Netzkabel anschlieben 17
Drucker einschalten 17
Konfigurationsübersicht drucken 19
Beispfel fur eine Konfigurationsübersicht 19
Eine IP-Adresse manuell einstellen 20
Kapitel 3 Software installieren 23
Treiber installieren 23
Verwaltungsprogramm TGNet Admin 24
Kapitel 4 Technische Daten 25
Gerauschemission nach RAL-UZ122 (Blauer Engel): 26
WEEE - Europäischen Richtlinie über Elektro- und Elektronik-Altgeräte . . 26
Kapitel 5 Optionen und Verbrauchsmaterial 27
Kapitel 1
Einführung
Zu dieser Handbuch
These Kurzanleitung enthalt Informationen zur korrekten Installation Ihres Druckers. Wenn Sie genaure Informationen zur Installation Ihres Druckers bestehtig, schlagen Sie im Benutzerhandbuch auf der CD-ROM nach. Weitere Unterstützung bietet Ihnen Ihr Handler oder die zuständige Vertretung (siehe die Adressen auf der Rückseite these Handbuchs).
Konventionen
Die folgenden Konventionen werden in thisem Handbuch verwendet, um Informationen weitere hervorzuheiten oder vor Problèmes zu warnen.

HINWEIS: Hinweise sind Tipps oder Zusammeninformationen, die bei der Installation oder dem Betrieb des Druckers bilfreich sein konnen.

ACHTUNG: Solche Abschnittte enthalten Informationen, mit denen Schäden am Gerät, fehlerbafter Druckbetrieb oder unbefriedigende Druckergebnisse vermieden werden können. Lesen Sie dazu diese Passagen sorgfällig durch.

WARNING! Ein Warnhinweis macht auf Verletzungsgefahren aufmerksem, wenn ein bestimmtes Verfahren nicht genau so ausgeführrt wird, wie im Handbuch beschrieben. Richten Sie ein besonderes Augenmerk auf diese Abschnittte undlesen Sie sie vollständig durch, um mögliche Verletzungen zu verbindern.
Allgemeine Sicherheitsrichtlinien
Lesen sie die folgenden Anweisungen genau durch, bevor Sie den Drucker in Betriebnehmen.
- Befolgen Sie die Bedienungshinweise in dieser Anleitung.
- Beachten Sie die Warnhinweise auf dem Drucker und in dieser Anleitung. Nichtbeachtung kann zu Schäden am Drucker oder)sagar zu Verletzungen führen.
- Befolgen Sierettebeim Betrieb des Druckers stets die Anweisungen in dieser Anleitung. Bei Unklarheiten wenden Sie sichitte an ihren Handler oder den Kundenservice.
- Denken Sieitte daran, dass bei den Warnungen in dieser Anleitung oder auf dem Drucker nicht jeder mögliche Fall berücksichtigt werden kann - es ist unmöglich, alle Eventualitäten abzuwügen und vorherzusehen. Seien Sie bei der Benutzung des Druckers umsichtig und benutzen Sie ihren gesunden Menschenverstand.

Detaillerte Informationen über die Sicherheitsrichtlinien finden Sie im Benutzherhandbuch auf der CD-ROM.
Sicherheitshinweise
Dieser Drucker ist für eine der folgenden Spannungen ausgelegt: 110 V oder 230 V. Um eine Gefährung durch Brand oder Stromstöbe zu verhindern,)dürfen Sie den Netzstecker nur an eine Netzsteckdose mit der entsprechenden Nennspannung anschließen.
Handhabung des Druckers
- Das Gewicht des Druckers ohne Papierschacht, Tonerkartusche und Papier beträgt ca. 23kg (50 lbs). Versuchen Sie deshalb niemals den Drucker alleine anzuheiten.

- Um den Drucker anzuheiten, müssen sich zwei Personen an der Vorder- und Rückseite gegenüberstehen und in die Aussparungen seitlich am Drucker greifen. Der Druckerarf keinesfalls an einer anderen Stelle angefasst werden.
Druckerkomponenten

| Nr. | Name | Beschreibung |
| 1 | Ausgabefach | Ausdrucke werden mit der bedruckten Seite nach unten ausgegeben. |
| 2 | Bedienfeld | Besteht aus Bedienungstasten, Anzeigen und dem Display. |
| 3 | Ventilationsöffnungen | Leitet Hitze ab, um eine Überhitzung des Druckerinneren zu verhindern. |
| 4 | Paperstandanzeiger | Zeigt das verbleibende Papier an. |
| 5 | Papierschacht (A4/Letter 550 Blatt) | Legen Sie hier Papier ein. |
| 6 | Papierschacht (A4/Letter 150 Blatt) | Legen Sie hier Papier ein. |
| 7 | Netzschalter | Schaltet den Drucker ein und aus. Wird der Schalter in die <I>-Position gedrückt, wird er eingeschaltet, Drücken in die <O>-Position schaltet den Drucker aus. |
| 8 | Papieranschlag | Heben Sie diesen Teil an, wenn auf Papier gedrückt wird, das das Format A4 überschreitet. |

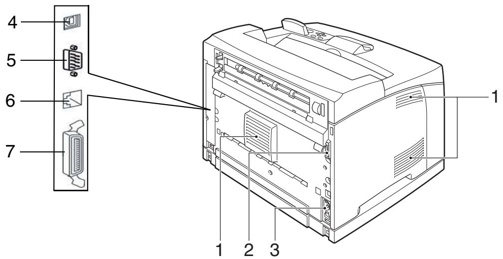
| Nr. | Name | Beschreibung |
| 1 | Ventilationsöffnungen | Leitet Hitze ab, um eine Überhitzung des Druckerinneren zu verhindern. |
| 2 | Anschlußbuchse der Duplexeinheit | Schließen Sie die optionale Duplexeinheit hier an. |
| 3 | Netzkabelanschlußbuchse | Schließen Sie das Netzkabel hier an. |
| 4 | USB-Schnittstelle | Schließen Sie das USB-Schnittstellenkabel hier an. |
| 5 | Serielle Schnittstelle RS232 | Schließen Sie das serielle Schnittstellenkabel hier an. |
| 6 | Ethernet 10/100 Base-TX-Schnittstelle | Schließen Sie das Ethernet-Schnittstellenkabel hier an. |
| 7 | Parallele Schnittstelle | Schließen Sie das parallele Schmittstellenkabel hier an. |


| Nr. | Name | Beschreibung |
| 1 | Papieranschlag | Heben Sie diesen Teil an, wenn auf Papier gedruckt wird, das das Format A4 über-schreiben. |
| 2 | Tonerkartusche | Enthält den Toner und die photoempfindliche Trommel. |
| 3 | Obere Abdeckung | Öffnen Sie diese Abdeckung, um Tonerkartuschen auszutauschen und gestautes Papier zu unternen. |
| 4 | Fixiereinheit | Fixiert den Toner auf dem Papier. Berühren Sie die Einheit nicht, während der Drucker in Betrieb ist, da sie heißt wird. |
| 5 | Transferwalzenkartusche | Überträgt das Tonerbild auf der Oberfläche der photoempfindlichen Trommel auf das Papier. |
Lieferumfang überprüfen
Stellen Sie vor der Installation des Druckers sicher, dass alle bereits genommen Bestandteile in der Verpackung sind. Soltte etwas fehlen oder beschädigt sein, setzen Sie sich mit Ihr hem Handlcr in Verbindung.

Drucker

Tonerkartusche (Standardkapazität, 10K), bestehend aus Toner- und Trommeinheit

Netzkabel

Papierschacht (A4/Letter, 150 Blatt)

Papierschacht (A4/Letter, 550 Blatt)

Kurzanleitung und CD-ROM
DruckerstandortVBorbereiten
Abmessungen
- Druckerhöhe: 404 mm (15,9 Zoll)
- Druckerbreite (linke Seite bis rechte Seite): 422 mm (16,6 Zoll)
- Druckertiefe (Vorderseite bis Rückseite): 465 mm (18,3 Zoll)
Sicherheitsmaßnahmen bei der Installation
Es wird empfohlen, die folgenden Hinweise vor dem Auspacken des Druckers zu deren, um einen geeigneten Aufstellungsort für ihren neuen Laserdrucker zu finden. Befolgen Sie die folgenden Vorsichtsmaßregeln, um eine optimale Nutzung des Druckers sicherzustellen.
STOP
Stellen Sie den Drucker auf eine sichere und stabile Oberfläche, die das betragliche Gewicht des Druckers tragen kann. Im Fall eines Herunterfallens des Druckers besteht große Verletzungsgefahr.
- Stellen Sie den Drucker auf eine sichere und stabile Oberfläche. Der Drucker kann Verletzungen verursachen, wenn er herunterfällt.
- Stellen Sie den Drucker immer unter den folgenden Umgebungsbedingungen auf: Temperatur: 5^ bis 35^ ( 41^ bis 95^ ); Luftfeuchtigkeit: 15 bis 85% (ohne Kondensation)
- Stellen Sie bei einer Luftfeuchtigkeit von 85% sicher, daß die Tempertur unterhalb von 28^ ( 82^ ) liegt. Eine starke Veränderung von einer kalten zu einer warmen Umgebung kann zur Bildung von Kondenswasser im Druckerinneren führen, das Druckprobleme verursichen kann. Lassen Sie deshalb den Drucker eine Zeit ausgeschaltet, bis er sich an die veränderte Temperatur angepaßt hat.
- Setzen Sie den Drucker keinem direkten Sonnenlicht aus, da sonst Funktionstörungen auftreten können.
- Stellen Sie den Drucker nicht an Orten mit hoher Temperatur und Luftfeuchtigkeit, schlechter Belüfung oder großer Staubentwicklung auf, da dies zu Feuergefahr oder elektrischen Schlägen führen kann.
-
Stellen Sie den Drucker nicht in der Höhe von Heizungen oder ähnlichen Objekten auf, da dies zu Feuerergefahr führen kann.
-
Blockieren Sie niemals die Ventilationsöffnungen, da sich sonst die Temperatur im Inneren erhöht und Feuergefahr verursacht.
- Stellen Sie den Drucker nicht in der Höhe von Alkohol, Benzin oder anderen flüchtigen und brennbaren Stoffen auf, da sonst Feuergefahr entstehen kann.
Platzbedarf
Um den ordnungsgemänen Betrieb sowie die Wartung den Austausch von Verbrauchsmaterialien zu gewährleisten ist ein bestimmter Freiraum um den Drucker herum erforderlich. Verwenden Sie die Angaben in der folgenden Darstellung, um angemessene Abstände bei der Wahl des Druckerstandortes einzuhalten.

Stellen Sie sichere, daß zipischen den Ventilationsöffnungen und der nachstgelegen den Wand oder anderen Oberfläche ein ausreichender Abstand besteht (200 mm/8 Zoll), da sonst eine Überhitzung entsteht, die zu Feuergebau führren kann. Um einfache Bedienung, Wartung und den Austausch von Verbrauchsmaterialien zu gewärleisten, sollen den Sie die unter dargestellen Freiräume um den Drucker herum einhalten. Die Installation des Druckers sollt von qualifiziertem Personal ausgeführrt werden.

Installation
Klebeband entfernen
Wenn der Drucker zum ersten Mal aus der Verpackung genommen wird, sind die Abdeckungen mit Klebeband gesichert, wie in der Abbildung gezeigt. Entfernen Sie das Klebeband. Entfern den Sie die Befestigung der Fixiereinheit wie in den Instruktionen auf der Rückseite des Druckers gezeigt.

Optionen installieren
Informationen über die Installation von gegebenenfalls erworbenem optionalem Zubehör finden Sie im Benutzerhandbuch auf der CD-ROM.
Sind keine optionalen Zubehörteile zu installieren, fahren Sie mit dem folgenden Abschnitt „Tonerkartusche installieren" fort.
Tonerkartusche installieren
Achten Sie bei der Installation der Tonerkartusche auf die folgenden Punkte:
STOP
Werfen Sie eine Tonerkartusche niemals in eine offene Flamme, da dies zu einer Explosion führen kann und Sie Verbrennungen erleiden können.
- Bewahren Sie die Tonerkartusche außerhalb der Reichweite von Kindern auf.
Die Tonerkartusche nicht gewaltsam offen. - Setzen Sie die Kartusche keinem direkten Sonnenlicht oder starkem Licht aus.
- Nehmen Sie die Installation der Tonerkartusche an einem Ort vor, der keinem starken Licht ausgesetzt ist und versuchen sie den Installationsvorgang innerhalb von 5 Minuten abzuschlieben.
- Berühren Sie die Oberfläche der photoempfindlichen Trommel nicht. Stellen Sie die Tonerkartusche nicht auf den Kopf, da sonst die Trommel beschädigt werden kann.
- Eine Blende schützt die photoempfindliche Trommel vor Lichteinfall. Öffnen Sie diese Blende nicht.
- Obwohl der Toner nicht gesundheitsgeführend ist, sollen den Sie ihn sofort mit kaltem Wasser abwaschen, wenn ihre Haut damit verunreinigt wurde. Wenn Toner auf ihre Kleidung gelangt ist, entfern den Sie ihn mit einem Staubsauger, der über einen feinen Filter verfügbar.
- Vermeiden Sie eventuell ausgetretenen Toner einzuatmen.

1 Offnen Sie die obere Abdeckung.

Berühren Sie keine Teile im Druckerinneren.

2 Nehmen Sie die Tonerkartusche aus der Verpackung und schüttels Sie diese 7 bis 8 Mal wie in der Abbildung dargestellt.

3 Legen Sie die Tonerkartusche auf eine ebene Oberfläche undziehen Sie das Versiegelungsband in horizontaler Richtung heraus.

Ziehen Sie das Versiegelungsband in horizontaler Richtung hereus. Das Band kann abreifen, wenn es in diagonaler Richtung herausgezogen wird. Nach dem Herauszieben des Bandes die Tonerkartusche nicht schütteln oder stoffen.

4 Halten Sie die Tonerkartusche an ihrem Griff und setzen Sie sie in die Führung im Druckerinneren ein.
Berühren Sie keine Teile im Druckerinneren. Vergewisern Sie sich, daß die Tonerkartusche fert eingesetzt ist.

5 Schlieben Sie die obere Abdeckung ordnungsgemäß.
Wenn Sie Textseiten mit einer Druckfläche von ca. 5 % drucken, konnen Sie mit der mit dem Drucker ausgelieferten Standard-Tonerkartusche etwa 10000 Seiten drukken. Muß die Kartusche gewechselt werden, haben Sie die Wahl zwischen zwei Tonerkartuschen mit einer Kapazität von ca. 10000 oder 17000 Seiten. Weitere Einzelheiten finden Sie in Kapitel 5, „Optionen“.
Papier einlagen
Einzelheiten über Papiertypeen und -formate, die in den Papierschacht eingelegt werden konnen, finden Sie im Benutzerhandbuch auf der CD-ROM.

1 Legen Sie den Papierschacht auf eine ebene Oberfläche.

2 Entfernen Sie den Deckel des Schachts.

3 Wenn die Bodenplatte des Papierschachts angehoben ist, drucken Sie diese nach unten.

4 Drücken Sie die Papierlangenführung zusammen und schiben Sie diese auf die Position des gewünschten Papierformats.

5 Drücken Sie die rechte Seitenführung zusammen und schiben Sie diese auf die Position des gewünschten Papierformats.

6 Legen Sie das Papier mit der zu bedruckenden Seite nach oben ein. Achten Sie daraufuf, daß es an allen Kanten ausgerichtet ist. Stellen Sie sicher, daß die rechte Seitenführung korrekt auf die Papierbreite eingestellt ist. Papierarf nicht über die rechte Seitenführung hinausragen.

Stellen Sie sicher, daß das eingelegte Papier die Linie, die den maximalen Füllstand an-zeigt, bzw. die zulässige Schachtkapazität nicht übersteigt.
Stellen Sie die rechte Seitenführung korrekt auf das Papierformat ein. Ist die Führung nicht richtig eingestellt, wird das Papier nicht richtig eingezogen, was einen Papierstau verursachen kann.

7 Setzen Sie den Deckel des Papierschachs ein.

8 Der Papierschacht muß vollständig in den Drucker geschoben werden.
Netzkabel anschlieben


Drucker einschalten

1 Verbinden Sie das Netzkabel mit der Netzkabelanschlußbuchse auf der Rückseite des Druckers.
2 Stellen Sie sich, daß der Netzschalter sich in der Stellung < 0> befindet und stecken Sie den Stecker am anderen Ende des Netzkabels in eine Steckdose mit der korrekten Nennspannung.
1 Drucken Sie den Netzschalter in die Position < |> um den Drucker einzuschalten.

Nach dem ersten Einsatzlauft der Druckermotor für 2 bis 3 Minuten.
In der ersten Zeile der LCD-Anzeige erscheint:
Laden
... gefolgt von Sternchen, die sich entlang der ersten Zeile aufbauen:
Laden
Nach einem LED-Selbsttest bauen sich Sternchen entlang beider Zeile der Anzeige auf, ein akustisches Signal ertont ...
****************************************************************************************************
Initialisiert
... und der Einsatz-Selbsttest ist beendet, wenn in der oberen Anzeigenzeile „Bereit“ erscheint:
Bereit

Der eingeschaltete Drucker wechsel in den Bereitschaftsmodus, wenn er über eine bestimmte Zeitdauer hinaus nicht benutzt wird.
Konfigurationsübersichtdrucken
Der Drucker kann eine Konfigurationsübersicht ausdrucken, in der der gegenwärtig gewährte Status der Menüoptionen, Papiereinstellungen, installerierter Druckeroptionen und weitere wichtige Informationen über den Drucker zusammengefasst sind. Drücken Sie die Taste INFO, um eine Konfigurationsübersicht zu drucken.
Beispiel für eine Konfigurationsübersicht
TallyGenicom 9045N
MENUS
Paper Menu
Copies = 1
Dplus x = 0
Netware Frame Auto-Serve
Notes: Mole = PSERVER.
Eine IP-Adresse manuell einstellen
Wenn Sie eine IP-Adresse nicht über den Empfang von einer DHCP-Quelle, sondern manuell in den Drucker eingeben wollen, stellen Sie vor dem Einstellen der IP-Adresseitte sichere, daDHCP (Protokoll, das IP-Adressen automatisch zuordnet) ausgeschaltet ist. Gehen Sie wie im folgenden beschreiben vor, um DHCP auszuschalten.
1 Drücken Sie auf dem Bedienfeld die MENU-Taste.
2 Drücken Sie die NEXT-Taste bis der Text „Schnittst.-Menu" in der zweiten Zeile der Anzeige erscheint.
Menu Schnittst.-Menu
3 Drücken Sie die SELECT-Taste um das Schnittstellen-Menu zu aktivieren.
4 Drücken Sie NEXT bis der Text „Netzwk-1-Konfig" in der Anzeige erscheint.
Schnittst.-Menu Netzwk-1-Konfig
5 Drucken Sie SELECT.
6 Drücken Sie NEXT bis „DHCP“ in der Anzeige erscheint.
Netzwk-1-Konfig DHCP
7 Drucken Sie SELECT.
8 Drücken Sie die NEXT-Taste bis „Aus“ in der zweiten Zeile der Anzeige erscheint.
DHCP Aus
9 Drucken Sie SELECT.
10 Drücken Sie die START/STOP-Taste, um den Vorgang abzuschreiben.
Gehen Sie wie folgt vor, um das Interface-MENU aufzurufen und die IP-Adresse einzugeben sowie andere damit in Zusammenhang stehende Einstellungen vorzunehmen.
1 Drücken Sie auf dem Bedienfeld die MENU-Taste.
2 Drücken Sie die NEXT-Taste bis der Text „Schnittst.-Menu" in der zweiten Zeile der Anzeige erscheint
3 Drücken Sie die SELECT-Taste um das Schnittstellen-MENU zu aktivieren.
4 Drücken Sie NEXT bis der Text „Netzwk-1-Konfig" in der Anzeige erscheint:
5 Drucken Sie SELECT.
6 Drücken Sie NEXT bis „IP-Adresse“ in der Anzeige erscheint:
Menu Schnittst.-Menü
Schnittst.-Menu Netzwk-1-Konfig
Netzwk-1-Konfig IP-Adresse
7 Drucken Sie SELECT.
8 Verwenden Sie die NEXT/PREVIOUS-Tasten, um die Ziffern zu ändern.
9 Drücken Sie SELECT um auf die{nachste Ziffer Zugriff zu erhalten.
10 Drücken Sie nach der Eingabe aller Ziffern SELECT.
11 In der Bedienfeldanzeige erscheint erneut „IP ADDRESS“.
12 Drücken Sie NEXT und „Subnet-Maske“ erscheint in der Anzeige.
Netzwk-1-Konfig IP-Adresse
Netzwk-1-Konfig Subnet-Maske
13 Wiederholen Sie die Schritte 7 - 10.
14 In der Bedienfeldanzeige erscheint erneut „Subnet-Maske".
Netzwk-1-Konfig Subnet-Maske
15 Drücken Sie NEXT und „Standard-Router“, in der Anzeige erscheid:
Netzwk-1-Konfig Standard-Router
16 Wiederholen Sie die Schritte 7 - 10.
17 In der Bedienfeldanzeige erscheint erneut „Standard-Router".
Netzwk-1-Konfig Standard-Router
18 Drücken Sie die START/STOP-Taste, um den Vorgang abzuschreiben.

Drucken Sie eine Konfigurationsübersicht aus, um die Einstellungen der IP-Adresse, der Subnet-Maske und des Standard-Routers zu überprüfen.
Kapitel 3
Software installmenten
Treiber installmenten
1 Legen Sie die CD-ROM in das Laufwerk ein.
2 Wahlen Sie nach dem Laden des Startmenüs I Accept.
3 Lesen Sie sorgfältig die Information über den USB-Anschluß.
4 Folgen Sie den Anweisungen auf dem Bildschirm.

Bei „Plug ^ Play“-Installation über die USB- oder die parallele Schnittstelle empfehlen wir, dem Installationsprogramm zu folgen und den Treiber zu installieren.
Dann den Drucker einschalten, damit das System den Drucker finden und den richtigen Treiber installieren kann.

Sobald der Treiber installiert wurde,*Müssen die zusätzlich verfügbar „Geräteoptionen“ im Treiber angewählt werden.
Verwaltungssprogramm TGNet Admin
Der Drucker ist mit dem Verwaltungssprogramm TGNet Admin ausgestattet, das Sie von unserer Website herunterlagen können. Es ermöglicht dem Administratior die Prüfung und Verwaltung von Netzwerken sowie die Fernüberwachung und Fernbedienung des Druckers.

Das TGNet Admin-Programm verfügbar über eine virtuelle Bedienfeldfunktion, die es dem Bediener erlaubt, den Drucker fernzubedieten. Diese Funktion ermöglich die Fernsteuerung mehrerer Drucker, ohne dass es nötigäre, die entsprechenden Druckereinstellungen an jedem einzelnen Gerät selbst vorzunehmen.

Kapitel 4
Technische Daten
| Geräteart | Desktop |
| Drucksystem | Laser-Xerographie |
| Druckgeschwindigkeit | Bis zu 45 Seiten pro Minute (Letter-Format) Bis zu 43 Seiten pro Minute (A4-Format) |
| Aufwärmzeit | Maximal 17 Sekunden nach dem Einsatz, bei 22° C |
| Ausdruckzeit erstige Seite | Ungefähr 8 Sekunden |
| Auflösung | 1200 dpi und 600 dpi |
| Papierformate | Executive, Letter, Legal, Legal 13, Statement, A6, A5, A4, B5 (JIS), Umschläge: Monarch, Com10, DL, C5, Benutzerdefinierte Formate HINWEIS: Medien sollenn vor dem Erwerb im Drucker getestet werden. |
| Papierarten | Normalpapier (68–105 gsm), Dünn (64–67 gsm), Stärke 1 (106–159 gsm), Stärke 2 (160–216 gsm), Stärke 3* (106–216 gsm), Folien, Umschläge**, Etiketten** * Wahlen Sie für rouhe oder unebene Medien wie z.B. Umschläge Stärke 3. Mit Stärke 3 ist Duplexdruck nicht möglich. ** einige Umschläge und Etiketten können aufgrund von Papierqualität und Höhe nicht verwendet werden |
| Standardpapierschacht | Papierschacht (A4/Letter, 150 Blatt): 150 Blatt Papierschacht (A4/Letter, 550 Blatt): 550 Blatt |
| Optionaler Papierschacht | Papierschacht (A4/Letter, 550 Blatt): 550 Blatt |
| Kapazität des Standard-ausgabefachs | 500 Blatt |
| Fonts | 136 Adobe PostScript 3; PCL:80 HP-kompatibel (99 skalierbare, 1 fester), 5 Barcodes, plus Arabisch |
| Schalldruckpegel | 56,1 dB oder weniger während des Betriebs, 28 dB oder weniger im Bereitschaftsmodus |
| Stromversorgung | 110 V ± 10%, 50/60 Hz, 12,2 A 230 V ± 10%, 50/60 Hz, 5,8 A |
| Stromverbrauch im Stromspar-modus | 110 V-Modell: 12,8 W 230 V-Modell: 14,1 W |
| Stromverbrauch während des Druckens (Durchschnitts) | 110 V-Modell: 886 W 230 V-Modell: 788 W |
| Abmessungen | 422 (B) × 465 (T) × 404 (H) mm |
| Gewicht | 23,0 kg |
Gerauschemission nach RAL-UZ122 (Blauer Engel):
Schalleistungspegel L_WAd : 71,5 dB(A)
Hinweis: Burogeräte mit einem LWAd >63 dB(A) sind nicht zum Einsatz in Räumen geeignet, in denen überwiegend geistige Tätigkeiten verrichtet werden. Diese Geräte sollen auf Grund der Gerauschemission in separates Räumen aufgestellt werden.
WEEE - Europäischen Richtlinie über Elektro- und Elektronik-Altgeräte
Benutzerinformationen zur Sammlung und Entsorgung von Geräten
Dieses Symbol auf Produkten und/oder begleitenden Dokumenten bedeutet, dass elektrische und elektronische Produkte am Ende ihrer Lebensdauer vom Hausmull getrennt entsorgt werden müssen.
Liefern Sieitte diese Produkte fur die geeignete Behandlung, Rohstoffrückgewinnung und Recycling bei den in Übereinstimmung mit ihrer nationalen Gesetzgebung und den Richtlinien 2002/96/EC und 2006/66/EC eingerichteten Sammelstellen ab. Die ordnungsgemäß Entsorgung these Products dient dem Umweltschutz und verhindert mögliche schädliche Auswirkungen auf Menschen und Umwelt, die sich aus einer unsachgemäßen Handhabung der Geräte am Ende ihrer Lebensdauer ergeben konnten.
Weitere Informationen über die Sammlung und das Recycling erhalten Sie bei ihrer Gemeindeverwaltung, Ihr Abfallbeseitigungseinrichtung oder der Verkaufsstelle, bei der Sie das Gerät erworben haben. Abhängig von der nationalen Gesetzgebung konnen Verstoße gegen die richtige Entsorgung solchen Abfalls Strafen nach sichziehen.
Für Geschäftskunden in der Europäischen Union
Nehmen Sieitte Kontakt zu Ihr hem Handler oder Lieferanten auf, wenn Sie elektrische und elektronische Gerate entsorgen wollen. Er halt weitere Informationen fur sie bereit.
Informationen zur Entsorgung in Ländern ausserhalb der Europäischen Union
Dieses Symbol ist nur in der der Europäischen Union gültig. Nehmen Sieitte Kontakt zu ihren örtlichen Behörden oder Ihrhem Handlcer auf, wenn Sie solche Geräte entsorgen wollen, und befragen Sie diese über die richtige Entsorgungsart.
Information zur Batterie
Die Batterie Ihres Druckers kann nicht vom Benutzer ersetzt werden; die Batteriekapazität ist so bemessen, dass ein Austausch innerhalb der Lebensdauer des Produkts nicht erforderlich ist.
Kapitel 5
Optionen und Verbrauchsmaterial
Setzen Sie sich mit Ihr hem Handling in Verbindung, wenn Sie Optionen oder Verbrauchsmaterial benöttigen. Sie konnen Optionen/Verbrauchsmaterial auch direkt beim Hersteller bestellen (siehe Adressen auf der letzten Seite dieser Handbuchs). In der folgenden Tabelle sind die erhältlichen Optionen mit den jeweiligen Bestellnummern aufgeführrt.
| Option/Verbrauchsmaterial | Bestell-Nr. |
| Optionaler Papierschacht (1 x 550 Blatt) | 043874 |
| Duplex-Einheit | 043875 |
| Ablage zur versetzten Papierausgabe | 062414 |
| Festplatte | MLXXXF-HD |
| Speichererweiterung 128 MB | 043843 |
| Speichererweiterung 256 MB | 043844 |
| Speichererweiterung 512 MB | 043845 |
| Kompakt-Flash 128 MB | 043736 |
| Kompakt-Flash 256 MB | 043737 |
| Tonerkartusche mit hoher Kapazität (17 000 Seiten), bestehend aus Toner- und Trommeleinheit | 043848 |
| Tonerkartusche mit Standardkapazität (10 000 Seiten) bestehend aus Toner- und Trommeleinheit | 043849 |
| Wartungssatz (230 V) Fixierer, Walzen etc. | 043850 |
| Wartungssatz (110 V) Fixierer, Walzen etc. | 043851 |
Table des matières
Alle Rechte vorbehalten. Übersetzungen, Nachdruck und sonstige Vervelfaltigungen these Handbuchs, auch in Teilen und gleichgütig in welcher Form, bedürfen unserer ausdrücklichen schriftlichen Erlaubnis. Inhaltliche Änderungen these Handbuchs behalten wir uns ohne Ankündigung vor. These Handbuch wurde mit Sorgfalt erstellt; wir können jedoch für etwa Fehler und Mangel these Handbuchs sowie für darauf sich ergebene Folgeschäden keine Haftung übernehmen.
- Centronics ist ein Warenzeichen der Centronics Data Computer Corporation.
PCL und PCL 6 sind Warenzeichen von Hewlett-Packard. - IBM and IBM PC sind Warenzeichen der International Business Machines Corporation.
- Apple, AppleTalk, Truetype, LaserWriter und Macintosh sind Warenzeichen von Apple Computer, Inc.
- Microsoft, Windows, Windows 9x., Windows 2000, Windows NT and MS-DOS sind eingetragene Warenzeichen der Microsoft Corporation.
PostScript ist ein Warenzeichen von Adobe Systems, Inc. - Alle anderen Marken oder Produktnamen sind Warenzeichen der jeweiligen Firmen oder Unternehmen.
MARQUES DEPOSSEES
Printronix Schweiz GmbH
EinfachAnleitung