9045N - Impressora TALLY - Manual de utilização gratuito
Encontre gratuitamente o manual do aparelho 9045N TALLY em formato PDF.
Questions des utilisateurs sur 9045N TALLY
0 question sur cet appareil. Repondez a celles que vous connaissez ou posez la votre.
Poser une nouvelle question sur cet appareil
Baixe as instruções para o seu Impressora em formato PDF gratuitamente! Encontre o seu manual 9045N - TALLY e retome o controlo do seu dispositivo eletrónico. Nesta página estão publicados todos os documentos necessários para a utilização do seu dispositivo. 9045N da marca TALLY.
MANUAL DE UTILIZADOR 9045N TALLY
Guia Rápido de Inicialização

Important Information
Para proteção continua contra risco de incério, substitua semente com o fusível do mesmo tipo e voltagem. Sente pessoas treinadas e qualificadas podem Abrir tambas ou remove partes que não está explicitamente àsrdas e des-critas no Manual do Usuário como sentido aceisveis ao operador.
Table of contents
Orientações Gerais de Segança. 2
Precauções de Segança 2
Manuseando a Impressora 3
Componentes da Impressora. 4
Capitulo 2 Configurando sua impressora 7
Examinando a embalagem 7
Preparando um local para a impressora 8
Dimensoes 8
Precauçoes de Instalação 8
Requisitos de Estado 9
Procedimento de Instalação. 10
Removendo a Fita 10
Opçoes de Instalação 10
Instalando o Cartucho do Toner 11
Carregando Papel. 14
Conectando o Cabo de Energia 17
Ligando a Impressora 18
Imprimindo um Sumario de Configurações 19
Exemplo de um Sumario de Configurações 19
Ajustando manualmente um endereço IP 20
Capitulo 3 Instalando Software 23
Instalacao do Driver. 23
Programa de Administração TGNet Admin 24
Capitulo 4 Especificações 25
WEEE - Diretiva Europeia sobre Lixo Elétrico e Eletró[nico 26
Capitulo 5 Opçoes e suprimados 27
Capítulo 1 Introdução
Sobre este manual
Este guia rápido de inicialização tem o objetivo de fornecer ajuda para a instalação apropriadna da sua impressora. Se você necessitar de mais informações para instalar e travaíhar com a sua impressora, consulta o Manual do Usuário que está no CD-ROM. Para maiis ajuda, por favor contate o seu revendedor ou representante responsavel (veja os endereços na contra-capa deste manual).
Convenções
As seguiñes convenções são usadas por todo este manual para enfatizarCERTOS procedimentos ou informações:

NOTA: Umanota é uma dica ou informação extra que pode serutil ao instalar ou usar a impressora.

CUIDADO: Uma mensagem de cuidado fornece informacoes que podem ajudá-lo a fazer dano ao equipamento, falha de processos, ou inconveniencias. Leia todas as mensagens de cuidado com atençao.

AVISO! Uma mensagem de征求意见 indica a possibidade de lesões pessoas se um procedimento especialico não for realizadouratamente como descririto no guia. Preste atençao a essas segões e leia-as Completely para fazer lesões.
Orientações Gerais de Segança
Antes de operar na impressora, leia as seguiñes instruções@cuidadosamente:
- Siga todos os procedimentos de operação fornecidos neste manual.
- Siga todos os avisos de perigo na impressora e no manual. Falhar ao fazer isto podecausear lesoesa você mesmo ou a você mesmo.
- Não realizaze quaisquer operações ou ações de outras modo às tem do indentado在这步。Em caso de dúvida, contate o seu revendor ou uma assistência和技术ica。
- Tenha em parte que os avisos de perigo neste manual ou na impressora não podem cobrir todos os casos possíveis, assim como é impossível prever e avaliar todas as circunstâncias com antecedência. Esteja alerta e use o seu senso comum.

Para informações detrabadas sobre as Orientações Gerais de Segança, por favor recorra ao Manual do Usuário no CD-ROM.
Precauções de Segança
Esta impressora está disponible nas espécografções de energia 110 V e 230 V. As espécografções que se aplicam à sua impressora dependem da configuração da sua máquina. Para fazer perigos de incência ou deCHOque, conecte o cabo de energia semente a uma tomada com a voltagem apropriadna.
Manuseando a Impressora
- O peso da impressora sem a bandeja de papel, cartucho de papel, e papel é de aproximately 23kg (50 lbs). Nunca tente levantar a impressora sozinho.

- Para levantar a impressora, Solicite a ajuda de两大 pessoas, uma de frente para a fresta da impressora e outra de frente para a parte traseira da impressora e Secure pelas和地区 recuadas em cada lado da impressora. Não levante a impressora por segurar em qualquer和地区以及其他 dessas和地区 recuadas.
Componentes da Impressora

| No. | Nome | Descrição |
| 1 | Bandeja de Saída Central | Trabalhos de impressão saem com lado impresso para baixo. |
| 2 | Painel de Controle | Consiste em teclas operações, indicadores, e visor. |
| 3 | Orifácio de Ventilação | Libera calor para fazer que o interior da impressora se aqueça. |
| 4 | Medidor de Papel | Indica a quantidade de papel restante. |
| 5 | Bandeja de Papel (A4/Letter, 550 folhas) | Carregue papel ali. |
| 6 | Bandeja de Papell (A4/Letter, 150 folhas) | Carregue papel ali. |
| 7 | Botão de Ligar | Liga e des Liga a impressora. Pressionar o botão para o lado <l>, liga a impressora e pressionar para o lado <0>, des Liga. |
| 8 | Aparador de papel | Levante-o ao imprimir em papel maior do que o tamanho A4. |

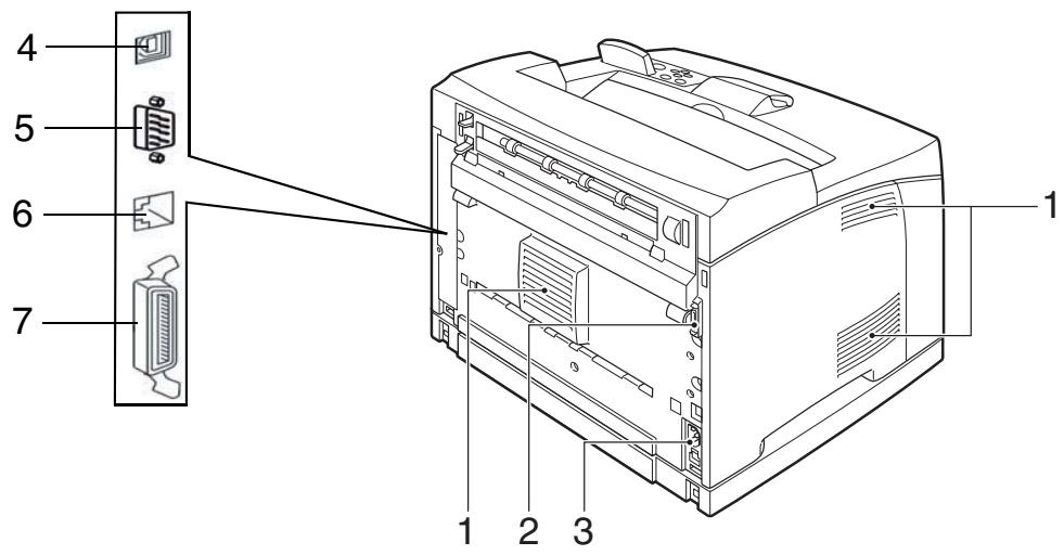
| No. | Nome | Descrição |
| 1 | Orifácio de Ventilação | Libera calor para fazer que o interior da impressora se aqueça. |
| 2 | Conectar de&módulo duplex | Conecte o&módulo duplex optional aquei. |
| 3 | Conectar do cabo de energia | Conecte o cabo de energia aquei. |
| 4 | Porta USB | Conecte o cabo USB aquei. |
| 5 | Porta serial RS 232 | Conecte o cabo Serial aquei. |
| 6 | Porta Base-Tx Ethernet 10/100 | Conecte o cabo Ethernet aquei. |
| 7 | Porta paralela | Conecte o cabo paralelo aquei. |


| No. | Nome | Descrição |
| 1 | Aparador de papel | Levante-o ao imprimir em papel maior do que o tamanho A4. |
| 2 | Cartucho de Toner | Contém o toner e o cilindro Foto-sensível. |
| 3 | Tampa superior | Abra-a ao repor o Cartucho de Toner e ao removepapel atolado. |
| 4 | Unidade de fusor | Fixa o toner no papel. Não toque nele ao usar a impressora, quando está quente. |
| 5 | Cartucho do rolo de transferência | Transfere a imagem de toner da superficie do cilindroFoto-sensível para o papel. |
Capúulo 2
Configurando sua impressora
Examinando a embalagem
Antes de instalar a impressora, verifique se todos os itens está na embalagem. Se algo um componente estiver faltando ou danificado, contate seu revendedor.

Impressora

O cartucho de toner padrão rende (10K) de toner combinado e aunities do quando em umaunjica unidade.



Cabo de energia

Guia de iniciação rápida e CD-ROM
Bandeja de Papel (A4/Letter, 150 folhas) Bandeja de Papel (A4/Letter, 550 folhas)
Preparando um local para a impressora
Dimensoes
- Altura da Impressora: 404mm (15.9 polegadas)
- Largura da Impressora (da esquerda para a direita): 422 mm (16.6 polegadas)
- Profundidade da Impressora (derente paraTRS): 465 mm (18.3 polegadas)
Precauções de Instalação
Antes de desempacotar a sua impressora a laser, é recomendavel que você leia as instruções a seguir para que possa escolher um lugar apropriadço para a sua nova impressora.. Para fazer o melhor uso da impressora, observe as seguides recomendações em relação ao lugar onde sua impressora sera colocada.
STOP
A superficie de instalacao deve ser estavel e bastante firme para aguentar o consideravel peso da impressora. Ha um sario risco de lesoes, se a impressora cair.
- Posicione a impressora em uma superficie horizontal, firme e estavel. A impressora poderá causar lesões, caso venha a cair.
- Sempre coloque a impressora em um local que satisfaça as seguintes condições: Temperatura: 5 a 35^ ( 50^ a 95^ ) Umidade: 15 a 85% (sem condensação)
- Certifique-se de manter a temperatura abaixo de 28^ ( 82^ ) se a umidade for de 85% . Se a temperatura mudar drasticamente de um ambiente frio para um ambiente quente, acondensação pode ser desenvolver dentro da impressora e fazer problemas de impressão. Portanto, certifique-se de deleiar a impressora descansar por um tempo para se fazer a nova temperatura.
- Não sujeite a impressora à luz solar direta ou pode ocorro mau-functionamento.
-
Não coloque a impressora em um lugar mal-ventilado, ou com alta exposicao de poeira, senao pode resultar em perigo de incendio e de quando elétrico.
-
Não coloque a impressora em um lugar perto de aquecedores ou objetos similares, sentido也是如此 resultar em perigo de incência.
- Nunca bloqueie as aberturas de ventilação da impressora, sentido a temperatura interna vai subir e causar incério.
- Não coloque a impressora perto de alcool, benzeno, ou outros materiais volá-teis e inflamáveis. Isso poderia resultar em incência.
Uma certa quantidade de espaço é-Requerida para operacao adequada da impressora e tambem para realizar manutencao da impressora e repor os insumos. Use as seguintes figuras para planejar espaçamentos apropriados ao determinar o local da sua impressora.

Certifique-se dedeerarum esapao amploentreasaberturasdeventilaog,aimpressoraeaparedou superficie maisproxima,senao poderiaocorrer super-aquecimento levandoa um risco deincendido.Para operationafacil,manutenao,reposicao dosconsumveis,vocetambemdevedeerxarosespacamentosabaixo emvolta daimpressora.Ainstalacao daimpressoradeveserrealizada porpessoal qualificado.

Procedimento de Instalação
Removendo a Fita
Quando a impressora é退回 da embalagem pela primeira vez, as tampas da impressora está presas com fita, conforme月至do diagrama. Remova as fitas. Remova o dispositivo de tranca do fosor empurrando os marcadores, conforme demostrado nas instruções localizadas na parte traseira da impressora.

Opções de Instalação
Se você tiver comprado quaisquer acessórios.optionais, favor consulte o Manual do Usuário no CD ROM.
Se houver quaisquer acessórios.optionais para instalar, àproxima��, "Instalando o Cartucho do Toner".
Instalando o Cartucho do Toner

Ao instalar o Cartucho do Toner, atente para os seguientes aspectos:
Nunca jogue um Cartucho de Toner aberto no fogo. Isso poderia causar uma explosão e você poderia sofrer uma queimadura.
- Mantenha o cartucho do toner em lugar que esteja absolutamente fora do alcance de criancas.
- Não use fora para abrir o cartucho de toner.
- Não o submeta à luz direta do sol ou outras luz forte.
- Ao instalar o cartucho do Toner, selecione um local que não está sujeito à luz, forte ealebente finalizar a instalacao Dentro de 5 minutos.
- Não toque a superficie do cilindro Foto-sensivel.
- Não coloque o Cartucho de Toner de性和 para baixo. O cilindro poderia sera danificado.
- Um tampa protetora do cilindro protege oproprio cilindro Foto-sensivel da luz. Não abra amentionada tampa protetora do cilindro.
- O toner não é prejudicial ao corpo humano, mas se algo toner entra r em conta com a sua pele, você deve lavá-la com água fria e sabão. Se o toner entra em conta com a sua roupa, você deve tentar imeditamente remove-lo com um aspirador de po que tenha umAGO.
- Evite inalar particulas de toner que escape eventualmente.

1 Abra a tampa superior.

Nao toque as partes interiores da impressora.

2 Tire o Cartucho do Toner dearethro da caixa e agite-o de 7 a 8 vezes, conforme demostrado no diagrama.

3 Coloque o Cartucho do Toner em uma superficie reta e puxe o solo horizontalmente.

Ao tirar o solo, puxe-o horizontalmente. A fita poderá rasgar se for retirada diagonalmente. Depois que o solo for puxado, não agite nem bata o Cartucho do Toner.

4 Secure o Cartucho do Toner pela alça e insira-o no local adequado para ele dentro da impressora.
Não toque as partes interiores da impressora. Assegure-se de que o Cartucho do Toner estja firmamente ajustado.

Ao imprimir um texto que tenha 5 % de cobertura, você deve esperar que a vida do cartucho do toner dure aproximadamente 10.000 páginas – com o cartucho de toner padrão que acontempa a impressora. Existe a opçao deinous cartuchos de toner disponíveis para cartuchos de refil. Estes fornecem aoroximadamente 10.000 ou 17.000 páginas. Veja as opçoes no capítulo 5 para obter mais detalbes sobre a capacidade dos cartuços.
Carregando Papel
Veja o Manuel do Usuário no CD-ROM para obter detailhes sobre o tipo e o tamanho do papel que pode ser carregado na bandeja de papel.

1 Coloque a bandeja de papel em uma superficie reta.

2 Remova a tampa da bandeja.

3 Se a base da bandeja de papel esti- ver levantasada, empurre-a para baixo.

4 Pressione a guia de comprimento e deslize-a até o tamanho de papel desejado.

5 Pressione a guia do lado direito de largura e deslize-a até o tamanho de papel desejado.

6 Carregue o papel com oazo imprimitivel para cima e com os quatre cantos alinhados. Certificque-se de que a guia do lado direito de largura esta corretamente alinhada com o tamanho do papel. Não coloque papel acima da guia do lado direito de largura.

Não coloque papel excessando a LINha de capacidade Tmaxima ou a capacidade Tmaxima permitida. Alinne a guia direita de largura corretramente. Se a guia direita de largura não estiver no lugar tão, o papel não sera corretramente alimentado, o que poderá fazer atolamento de papel.

7 Recolque a tampa da bandeja de papel.

8 A bandeja delve estarfirmamente colocada na impressora.
Conectando o Cabo de Energia


1 Conecte o cabo de energia ao conector na parte traseira da impressora.
2 Certifique-se de que o botão de ligar tenha sido firmamente posicao na posicao < 0> e antes insira o cabo de energia em uma tomada de voltagem apropriadna.
Ligando a Impressora

1 Pressione o botao de ligar ate a posicao < > para ligar.

O motor da impressora funciona por 2 ou 3 Minutes quando você liga a impressora pela minha vêz.
A primaira LINHA do visor LCDwhelming:
Loading
Seguida por asteriscos aparecem gradualmente na LINHA de baixo:
Loading
*************
Seguido por um auto-teste LED, asteriscos aparecem gradualmente nas两大 linhas do visor e um bipe soar ...
*************
*************
Initializing
... e um Auto-Teste de Inicio termina com a LINHA de cima do visoramente:
Ready

Enquanto ligada, a impressora entra rá no modo “standby” (espera), se permanecer inativa por um determinado periodo de tempo.
Quando você tiver terminado de usar a impressora no dia ou não pretender useá-la por um longo periodo de tempo, desl figure-a.
Imprimindo um Sumário de Configurações
A sua impressora pode imprimir um sumário das configurações que lista o estado atual的选择ado do menu de opções, seleção dephia nas bandejas, opções instaladas e outras informações relevantes sobre a sua impressora. Para imprimir um Sumário de Configurações, pressione a tecla INFO.
Exemplo de um Sumário de Configurações
TallyGenicom 9045N
MENUS
Paper Menu
Copies = 1
Duplex = Off
Duplex Bind = Long Edge
P = 0.5, T = 100
Manual Feed = Off
Ajustando manualmente um endereço IP
Se você quiser fazer um endereço IPmanualmente na impressora, em vez de deleixar a impressora RECEIVER um de uma fonte DHCP, você deve se assegurar de que o DHCP está suareshigado. Use o segunte procedimento para desligar ou DHCP.
1 Pressione a tecla MENU no paine de contrôle.
2 Pressione a tecla NEXT até que o texto "Interface Menu" apareça na Segunda LINHA do visor.
3 Pressione a tecla SELECT para entrada no menu de interface.
4 Pressione NEXT é o texto "Network 1 Setup" aparecer no visor.
5 Pressione SELECT.
6 Pressione NEXT até “DHCP” aparecer no visor.
7 Pressione SELECT.
8 Pressione a tecla NEXT até aparecer "Off" na segunda LINha da interface.
9 Pressione SELECT.
10 Pressione a tecla START/STOP para finalizar.
Menu Interface Menu
Interface Menu Network 1 Setup
Network 1 Setup DHCP
DHCP Off
Use o segunte procedimento para entrada no menu de interface e adicional o Endereço IP e outras configurações relacionadas.
1 Pressione a tecla MENU no paine de contrôle.
2 Pressione a tecla NEXT até o texto "Interface Menu" aparecer na?).inha do visor.
3 Pressione a tecla SELECT para entrada no menu da interface.
4 Pressione NEXT é o texto "Network 1 Setup" aparecer no visor.
5 Pressione SELECT.
6 Pressione NEXT até "IP ADDRESS" aparecer no visor.
7 Pressione SELECT.
8 Use as teclas NEXT/PREVIOUS para Mudar o digito.
9 Pressione SELECT para passar para oproximo digito.
10 Pressione SELECT depuis que todos os digitos estejam configurados.
11 O painel de contrôle在哪?
“IP Address”.
12 Pressione NEXT e "Subnet Mask" (Mascara de Subrede) aparece no visor.
13 Repita os passos 7 - 10.
Menu Interface Menu
Interface Menu Network 1 Setup
Network 1 Setup IP Address
Network 1 Setup IP Address
Network 1 Setup Subnet Mask
14 O pANEL de controle nuestra novamente "Subnet Mask" (Máscara de Subrede).
Network 1 Setup Subnet Mask
15 Pressione NEXT e "Gateway" Padrao aparece no visor.
Network 1 Setup Default Gateway
16 Repita os passos 7-10.
17 O paine de contrôle在哪的 novamente "Gateway" Padão.
Network 1 Setup Default Gateway
18 Pressione a tecla START/STOP para finalizar.

Imprime um sumário de configurações para verifiar a configuração apropriada do Endereço IP, Máscara de Subrede e “Gateway” Padrão.
Capúulo 3
Instalando Software
Instalacao do Driver
1 Coloque o CD no drive.
2 Depois quearra, seleccion I Accept no Acordo de Licenciamento naTEL a inicial.
3 Leiacretducasamente as instruções sobre a conexão USB.
4 Siga as instruções naanela.

Parainstituacao automatica (plugplay), using as portas USB ou Paralela, é recomendado seguir as instruções do Assistente de Instalacao para instalar o Driver. Em seguida ligue a impressora para que osystema encontrar a impressora e instale o driver correto.

Uma vez que o driver tenba sido instalado, certifique-se de que todos os Acessórios Opcionais presentes estejam instalados, por intermédia da Guia Dispositivos Oponiais.
Programa de Administração TGNet Admin
A impressora é fornecida com o Programa de Administração TGNet Admin, disponível nonoxo website. Estão disponíveis.neste Programa-administrador informações sobre Rede, administração, monitoramento remoto e opções de gerenciamento em pailernemoto.


TGNet Admn(c) 2004 TablGenicom
O Programa de Administração TGNet Admin inclui a função de um panei de controle virtual que permit ao uso administrar remotamente a impressora. As funções do panei de controle virtual permitem ao administrador controlar remotamente varias impressoras sem precisar ir ao local fico de cada uma delas para modifier as configurações correspondentes.

Capúulo 4
Especificações
| Tipo da Máquina | Desktop |
| Sistema de Impressão | Laser xerography |
| Veloculdade de impressão | Até 45 ppm para Carta (Letter) Até 43 ppm para A4 |
| Tempo de aquecimento | Máximo de 17 segundos a partir do momento em que é ligada em 22°C |
| Tempo de Saída da Primeira Impressão | aproximamente 8 segundos |
| Resolução | 1200 pontos por polegada (dpi) e 600 pontos por polegada (dpi) |
| Tamanho do Papel | Executive, Letter, Legal, Legal 13, Statement, A6, A5, A4, B5 (JIS), Monarch Envelope, Com10 Envelope, DL Envelope, C5 Envelope, Tamanho personalizzato NOTA: Aória deve ser testada na impressora antes da compra. |
| Tipo do Papel | Normal (68–105 gsm), Thin (64–67 gsm), Thick1 (Espessura1, 106–159 gsm), Thick2 (Espessura2, 160–216 gsm), Thick3* (Espessura3, 106–216 gsm), transparências, envelopes**, etiquetas** * For rough or uneven media such as envelope, choose Thick3. When using Thick3, duplex is not available. ** Alguns envelopes e etiquetas não podem ser usados devido à优质的 e ao tamanho do papel. |
| Bandeja Padrão de Papel | 150 folhas Bandeja de papel (A4/Letter, 150 folhas): 150 folhas 550 folhas Bandeja de papel (A4/Letter, 550 folhas): 550 folhas |
| Bandeja Opecional de Papel | Bandeja de papel (A4/Letter, 550 folhas): 550 folhas |
| Capacidade da Bandeja de Saída Padrão | 500 folhas |
| Fontes | 136 Adobe PostScript 3; PCL:80 HP compatível (99 dimensiónaveis, 1 fixo), 5 Cóculos de barra, + árabe |
| Ruído de Operação | 56.1 dB ou menos durante operação, 28.0 dB ou menos durante o modo “standby” (espera) |
| Energia | 110 V ± 10%, 50/60 Hz, 12.2 A 230 V ± 10%, 50/60 Hz, 5.8 A |
| Consumo de Energia (Modeo “Economía de Energía”) | Modelo 110 V = 12.8 W Modelo 230 V = 14.1 W |
| Consumo de Energia (Imprimindo) (valor médio) | Modelo 110 V = 886 W Modelo 230 V = 788 W |
| Dimensoes | 422 mm (L) × 465 mm (P) × 404 mm (A) 16.6 in (L) × 18.3 in (P) × 15.9 (A) |
| Peso | 23 kg, 50 lbs |
WEEE - Direfiva Europeia sobre Lixo Elétrico e Eletrónico
Informação para os 用户 sobre coleta e descarte de equipamento
Este Trickolo quanto presete nos produits, e/ou documents que os acompanham, significa que produits elétricos e eletrónicos usados não devem colocados jintos com lixo(caseiro em geral.
Para tratamento, recuperação e recicagem adequados de produits usados, por favor leve-os até os pontos de coleta aplicáveis, de acordo com a legisção de seu País e com as Direitas 2002/96/EC e 2006/66/EC. Ao descartar these equipments de forma correta, você está contribuindo na economia de recursos valiosos e na prevenção de possíveis efecitos negativos para saude humana e para o meio ambiente, os quais de outras modo, poderiam surgir como consequências do manseio indevido.
Para mais informações sobre a coleta, reciclagem de produits usados, entre em conta com as autoridades Municipais, com o服务于 coleta local ou com o punto de vendal ond e produits foi adquirido. Multas podem ser aplicadas como resultado do descarte indevido esse lixo, de acordo com a legislação do País.
Para sistemas de entreprises da Uniao Europeia
Se você desejar descartar equipamentosétricos eeletrônicos, entre em conta com o revendedor ourepresentante autorizational do produits para obter mais informações.
Informações sobre descarte em paises fora da Uniao Europeia
Este*símbolo sé é valido na União Europeia. Se você deseja descartar these itens, entre em;.
contato com as autoridades locais ou com os revendedores do produits e consulte sobre o;.
metodo apropriadó de descarte.
Informação sobre Bateria Elétrica
A bateria eletrica da sua impressora não deve ser substituía pelo usuario e não deve exigir troca durante toda a vida útil do produits.
Capúulo 5
Opções e suprimados
Contate o seu revendedor para.optionais/suprimentes de impressao, ou você pode comprar.optionais/suprimentes diretamente do fabricante (veja endereços na parte contracapa deste manual). Aabela abaixo lista os.optionais disponiveis da impressora e números de pedido.
| Opções/Suprimento | No. de Pedido |
| Bandeja adicular (1x 550 folha) | 043874 |
| Unidade Duplex | 043875 |
| Bandeja separadora de saía | 062414 |
| Disco Rígido | MLXXXF-HD |
| Expansão de Memória 128 MB | 043843 |
| Expansão de Memória 256 MB | 043844 |
| Expansão de Memória 512 MB | 043845 |
| Flash Compacto 128 MB | 043736 |
| Flash Compacto 256 MB | 043737 |
| Cartucho de Toner de Alto Rendimento (17K) toner combinado eunities do cilindro em umaunities apenas | 043848 |
| Cartucho de Toner de Rendimento Padrão (10K) toner combinado eunities do cilindro em umaunities apenas | 043849 |
| Opçãos/Suprimento | No. de Pedido |
| Kit de Manutenção (220 V) Fusor, Rolos, etc. | 043850 |
| Kit de Manutenção (110 V) Fusor, Rolos, etc. | 043851 |
"Otos os direitos reservados. Traduções, reípressões, ou qualier tipo cópia这是我 manual completeness ou em parte ou em formas differentes requirem a nossa aprovação explicá. Reservamos o direito de fazer quaisquer mudanças这是我 manual sem aviso. Todo o cuidado foi tomado para asseguir a exatidao das informações contidas这是我 manual. No entanto, não podem aceitar re-sponsabildades por quaisquer erros ou danos resultantes de erros ou inexistidos de informações contidas euq."
TRADEMARK ACKNOWLEDGEMENTS
- Centronics é uma marca registada da Centronics Data Computer Corporation.
- PCL e PCL6 é社会组织adas de Hewlett-Packard Company.
- IBM e IBM PC são marcas registradas da International Business Machines Corporation.
- Apple, AppleTalk, TrueType, Laser Writer e Macintosh sãoscaras registradas da Computer, Inc.
- Microsoft, Windows, Windows 9x, Windows 2000, Windows NT e MS-DOS sãoscaras registadas da Microsoft Corporation.
PostScript é uma marca registrada da Adobe Systems Inc. - Todas as outras MARCAs ou nomes de produits são MARCAS registRADAS das suas respectivas companhias ou organizações.
Printronix, Inc.
Renton, WA
Phone: (800) 426-4813
Fax: (425) 251-5520
Printronix, Inc.
14600 Myford Road
P.O.Box 19559
Irvine, CA 92623-9559
Phone: (714) 368-2300
Fax: (714) 368-2600
Printronix, Inc
Nederland BV
P.O.Box 163,Nieuwewwg283
NL-6600 Ad Wijchen
The Netherlands
Phone: (31) 24 6489489
Fax: (31) 24 6489499
ManualFácil