T2030 - Imprimante TALLY - Notice d'utilisation et mode d'emploi gratuit
Retrouvez gratuitement la notice de l'appareil T2030 TALLY au format PDF.
| Type de produit | Imprimante thermique de tickets |
|---|---|
| Caractéristiques techniques principales | Impression thermique directe, résolution 203 dpi, vitesse d'impression jusqu'à 200 mm/s |
| Alimentation électrique | Adaptateur secteur 24V, 2A |
| Dimensions approximatives | 150 mm x 200 mm x 150 mm |
| Poids | 1,5 kg |
| Compatibilités | Compatible avec Windows, Linux, et systèmes POS standards |
| Type de batterie | Non applicable (imprimante alimentée par secteur) |
| Tension | 24V |
| Puissance | 48W maximum |
| Fonctions principales | Impression de tickets, codes-barres, et reçus |
| Entretien et nettoyage | Nettoyage régulier de la tête d'impression et des rouleaux avec un chiffon doux |
| Pièces détachées et réparabilité | Pièces disponibles sur demande, support technique fourni |
| Sécurité | Conforme aux normes CE, protection contre les surcharges électriques |
| Informations générales utiles | Garantie de 2 ans, assistance technique disponible |
FOIRE AUX QUESTIONS - T2030 TALLY
Téléchargez la notice de votre Imprimante au format PDF gratuitement ! Retrouvez votre notice T2030 - TALLY et reprennez votre appareil électronique en main. Sur cette page sont publiés tous les documents nécessaires à l'utilisation de votre appareil T2030 de la marque TALLY.
MODE D'EMPLOI T2030 TALLY
Manuel d'utilisation
ATTENTION: Le present appeareil numérique n'ement pas de bruits radioélectriques déspassant les limites applicables aux appareils numériques de la classe B prescrites dans le règlement sur le brouillage radio- électrique édicté par le minstère des communications du Canada.
Le papier utilisé est fabriqué à partir de matières premières blanchis sans chloré.
CE Cet apparéel remplit aux exigences des normes européennes en respectant la directive du Conseil du 3 mai 1989 (89/336/CE) relative à la compatibilité electromagnetique et la directive du 19février 1973 (73/23/CE) en matière du matériel à basse tension. La conformité aux directives mentionnées ci-dessus est reprisesse par la marque de conformité de la Communauté Européenne (CE).
Remarque: La conformité peut être influencée par:
l'utilisation de cables d'interface non spécifiés
■ le non-respect de consignes importantes du manuel d'utilisation
■ le remplacement de composants qui n ont pas ete homologues pour cet appeareil par le constructeur
l'intervention de personnes non autorisées
ATTENTION Seul un personnel qualifie et formé est habilité à démonter les sous-ensembles de la machine qui ne sont pas formellement indiqués dans le Manuel d'utilisation meme s'ils sont accessibles par l'opérateur.
Manuel d'utilisation INITIATION RAPIDE
Tables des matieres
Introduction 2
Symbolesutilisés 2
Consignes importantes de sécurité 2
Utilisation de la documentation Online 2
Vue d'ensemble 3
Installation 5
Déballage de l'imprimante 5
Mise en place de l'imprimante 5
Connexion del'imprimante 6
Mise sous tension et hors tension de l'imprimante 6
Panneau de commande 7
Mode Online 7
Mode Offline 7
Mode Setup 7
Remplacement de la cartouche du ruban encreur 8
Chargement du papier 10
Papier feuille à feuille 10
Imprimante en mode de papier continu 12
Changement de type de papier 14
Sélectionrapide de la fonction papier 14
Transport du papier 15
Utilisation 15
Déplacement du papier en position de séparation 15
Réglages (I) 16
Réglage de la position de séparation 16
Réglage de la première ligne d'impression (TOF)16
Réglages (II) 18
Réglage de l'écart de la tête d'impression 18
Du mode page seule en mode papier en continu 20
Sélection d'une police de caractères 21
Réglage de l'espacement des caractères 22
23
Données techniques de l'imprimante 23
Spécifications du papier 23
Accessoires 24
Introduction

>Symbolesutilisés

Ce manuel d'utilisation est une initiation rapide sur la manière d'utiliser l'imprimante et permet également aux utilisateurs inexplémentés de se servir de l'imprimante. Il déscrit les fonctions principales de l'imprimante et contient des informations indispensablees à connaître pour le travail quotidien avec l'imprimante. Vous trouvez une description détaillée de l'imprimante, de ses caractéristiques et des informations supplémentaires dans le manuel de référence sur la Online CD-ROM, à l'avant-dernière page de ce manuel.
Deux symboles permettent de faire ressortir les informations importantes contenues dans ce manuel.
Le symbole ATTENTION signale les informations à observer pour éviter que l'utilisateur ne se blesse ou que l'imprimante ne soit endommagée.
Le symbole NOTE contient des informations generales ou supplémentaires sur un sujet précis.
> Consignes importantes de sécurité
Lire attentivement les instructions suivantes avant demettre l'imprimante en service pour éviter de vous blesser et d'endommager l'imprimante.
Veiller à ce que leprésent manuel soit toujours parfaitement accessible.
Placer l'imprimante sur un support stable de façon à ce qu'elle ne puisse pas tomber.
Ne pas exposer l'imprimante a des temperatures élevées ou a la lumière directe du soleil.
Ne pasmettre l'imprimante en contact avec des liquides.
Ne pas exposer l'imprimante à des chocs, impacts ou vibrations.
Ne jamaisMETTE l'imprimante sous tension quand celle-ci n'est pas correcte.

N'essayer jamais d'effectuer des travaux d'entretien et des réparations vous-mêmes. Contacter toujours un dépanneur qualifié.

Pour déconnecter l'imprimante de l'alimentation principale, toujours débrancher le connecteur secteur de la prise murale.

Voutrouverez d'autres consignes de sécurité aux endroits appropriés dans le texte.
Utilisation de la documentation Online
Installer tout d'abord l'Adobe Acrobat Reader sur le disque dur dans la mesure ou ce programme n'est pas déjà disponible. Pour l'installation, suivre les opérations détaillées dans le fjichier Readme du réseau RÉPertoire READER. Pour démarrer la -documentation Online dans le gestionnaire de fjichiers (Windows 3.1) ou Explorer (Windows 95/Windows 98/Windows NT), double-cliquer sur le fjichier START.PDF. Suivre ensuite le guide utilisateur.
Si le CD-ROM est défectueux ou manque, contacter votre revendeur.
La documentation Online est également disponible sur papier (moyennant une participation) ou sur Internet.
Matériel requis au minimum: PC AT 486, lecteur CD-ROM x 4, écran 15", souris.
Recherche des pannes La documentation Online sur CD-ROM contient des informations détaillées sur la recherche des pannes.
Vue d'ensemble
Aux figures suivantes sont indiqués tous les éléments de l'imprimante; le tableau qui suit liste les fonctions de ces éléments.


| Désignation | Fonction |
| Panneau de commande | Indique l'état de l'imprimante; est utilisé pour procéder à de nombreux régles. |
| Magasin de papier | Sert de magasin à papier pour les feuilles déjà imprimées quand le paramètre "F-Eject" est inactif dans les régles du menu. |
| Supports de papier | Servent à prolonger le magasin de papier. |
| Capot supérieur | Si une cassette à ruban encreur doit être remplaçée ou pour éliminer un bourge de papier, ce capot peut être enlevé afin de permettre l'accès aux pièces concernées. Il sert en outre à protégger l'utilisateur contre les mouvements mécaniques dans l'imprimante. |
| Molette | Est utilisée pour faire avancer ou reculer manuellement le papier. |
| Interrupteur secteur | Met l'imprimante sous ou hors tension. |
| Prise option | Est utilisée pour raccorder le dispositif d'alimentation feuille à feuille automatique (ASF) ou le second tracteur optionnel. |
| Levier de sélection du papier | Est utilisé pour sélectionner le type de papier traité par l'imprimante: - Alimentation feuille à feuille (levier en position haute) - Alimentation en continu (levier en position basse) |
| Panneau frontal | Est ouvert quand du papier à alimentation en continu doit être mis en place. Ce panneau est enlevé quand le dispositif d'alimentation feuille à feuille automatique (ASF) ou le second tracteur optionnel sont installés. |
| Margeur de droite | L'alignement de la cordure de droite d'une feuille simple sur ce guide permet d'éviter une introduction irrégulière du papier. |
| Alimentation feuille à feuille | Est ouverte pour charger des feuilles individuelles et sert de support de papier. Est également utilisée comme magasin pour le papier imprimé quand le paramètre"F-Eject" est réglé sur ASF, Single ou ALL dans les régles du menu. |
| Margeur de.gauche | Sert à aligner la cordure de droite de feuilles simples. |
| Levier de verrouillage | Le tirage des leviers vers l'avant de l'imprimante ouvre le verrouillage et le capot supérieur peut être enlevé. |
| Arête de séparation du papier | C'est acet endroit que le papier à alimentation en continu est coupé. L'appui sur la touche Coupe transporte le papier sur cette position. |
| Levier d'épaissur du papier | Est utilisé pour régler l'écart de la tête d'impression suivant l'épaissur du papier utilisé. Pour plus amples informations, voir p. 18, Réglage de l'écart de la tête d'impression. |
| Connecteur d'interface | Câble de raccordement avec l'ordinateur. |
| Branchement secteur | Le cable secteur est connecté à cet endroit. |
| Capot arrêté | Sert à insonoriser l'imprimante. Doit être retirené lorsque le magasin de papier est relevé. |
Installation
Déballage de l'imprimante
Ouvrez le carton de l'imprimante et vérifie que les articles suivants s'y trouvent bien.

Si des articles manquent ou sont endommages, n'hésitez pas à contacter le magasin où le produit a été acheté.
Enlever les protections pour le transport comme précrit dans les consignes de déballage.
Conservez soigneusement le carton et les matériaux d'emballage pour le transport évientuel de l'imprimante dans un autre endroit.
Mise en place de l'imprimante
Placer l'imprimante sur un support stable, plan et non-glissant de façon à ce qu'elle ne puisse pas tomber. Veiller à ce que le panneau de commandes et les magasins d'alimentation du papier soient aisément accessibles et à ce qu'il y ait suffisamment de place pour l'éjection du papier.

En cas de mouvements d'avance et recul fréquents avec du papier en continu, l'imprimante doit être placee comme illustré à la figure ci-contre.
Quand on besoin un endroit approprié pour l'imprimante, observer ce qui suit:

Ne jamais placer l'imprimante à proximé de sources de gaz ainsiment inflammables ou de substances explosives.
■ Eviter d'exposer l'imprimante à la lumière directe du soleil. S'il n'est pas possible de placer l'imprimante autre part que pres d'une fenêtre, la protéger des rayons du soleil par un rideau.
Placer l'imprimante pres de I'ordinateur auquel elle doit etre raccordee.L'ecart ne doit pas exceder 2,0 m.
Veiller à ce que l'écart par rapport aux radiateurs soit suffisant.
Veiller à ce que l'imprimante ne soit pas soumise à de fortes variations de température ou d'humidité de l'air. Eviter la poussière.
Connexion del'imprimante


Mise sous tension et hors tension de l'imprimante

S'assurer que l'imprimante est reglee à la tension appropriée (p. ex. 230 V pour l'Europe, 110 V pour les USA). Voir la plaque signaletique pres de la prise d'alimentation à l'arrive de l'imprimante.
Si ce n'est pas le cas, contacter le vendeur.

Ne jamais mesure l'imprimante sous tension quand cette-ci n'est pas la tension correcte car ceci pourrait entraîner de graves endommagements.
Raccorder le cable d'alimentation à la prise d'entrée de l'imprimante comme illustré à la figure. Raccorder le connec-teur de cable d'alimentation à une prise murale.

S'assurer que l'imprimante et l'ordinaire sont hors tension.
Raccorder le connecteur d'imprimante du cable de transmission de données à la prise d'interface femelle et le verrouiller avec les pinces à ressort. Raccorder l'autre extrémité du cable à l'ordinateur.
L'interrupteur principal, qui sert à la mise sous tension et hors tension de l'imprimante, se trouve à droite de l'imprimante, à l'arrête.
Panneau de commande

Le fonctionnement de l'imprimante peut être contrôle avec le panneau de commande et les touches.
La première ligne sur l'afficheur indique si l'imprimante est Online ou Offline et la fonction papier selectionnée Trac.1 ou Insert.
Mode Online
Quand l'imprimante est mise sous tension, elle selectionne automatiquement le mode Online. Elle ne peut receivevoir des données de l'ordinateur que dans ce mode.


① Règla l'imprimante en mode Offline.
② Règle l'imprimante en mode Setup.
③ Touche Coupe: Active la fonction séparation quand du papier en continu est charge (voir p. 15). Si Load s'affiche au-dessus de cette touche, c'est qu'il n'y a pas de papier dans l'imprimante. Appuyer sur cette touche pour transporter le papier en position d'impression.
Mode Offline
L'alimentation pas à pas, le changement de ligne et de page ne peuvent être effectuels via le panneau de commande que dans ce mode (voir également page 15).


① Règle l'imprimante en mode Online.
② Règle l'imprimante en mode Setup.
③ Si aucun papier n'est charge: touche Load (voir plus haut) Si du papier est charge: Bref appui sur la touche: changement de ligne (LF) Appui prolongé: changement de page (FF)
Bref appui sur la touche: micropas vers l'arriere Appui prolongé: Retour constante du papier
⑤ Bref appui sur la touche: micropas vers l'avant Appui prolongé: alimentation constante du papier
⑥ Annule la fonction papier quand le papier est charge et active la seLECTION rapide de la fonction papier (voir page 14).
Mode Setup


① Règle l'imprimante en mode Setup. Dans ce mode, les paramètres suivants sont disponibles:
② Règla police et le nombre de caractères par pouce (menu Char).
③ Fonction papier (menu Chem-Pap)
④ Position séparation, intervalle première ligne d'impression et en-†ete (menu Ajuster)
⑤ Autres parametes (Menu)
L'accès aux autres options de menu est verrouillé par le constructeur. Pour des informations sur la manière d'acceder à ces options et sur les options disponibles, voir la Online CD-ROM chapitre 1, Maniement et réglages (Déverrouiller le mode Menu).
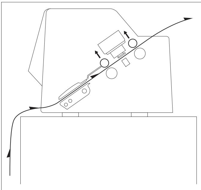
Remplacement de la cartouche du ruban encreur
Enlever tout le papier papier de l'imprimante.

Avant d'ouvrir le capot, assurez-vous que l'imprimante est hors tension.



Amener le levier d'épaisseur du papier en position "8".
Tirer les leviers de verrouillage du capot supérieur se trouvant du côté gauche et du côté droit vers l'avant de l'imprimante et enlever le capot.
Déplacer la tête d'impression à peu après au milieu.

La tête d'impression peut être chaude. Veillez donc à ne pas toucher les parties métalliques de la tête d'impression.



Poussez les deux guides "A" sur le côté gauche de la cartouche de ruban encreur sur les ergots de l'imprimante et introduizez la cartouche; appuyez avec précautions sur la cartouche jusqu'à ce qu'elle s'encrante. Si vous percevez une résistance, tournez la molette de tension du ruban encreur pendant que vous poussez.
Desserrez le guide de ruban de la cartouche.

N'enlevez enaucun cas la feuille de plastique se trouvant sur le guide;elle sert a proteger le ruban encreur.
Poussez le guide de ruban dans l'ouverture prévue à cet effet entre la tête d'impression et la barre d'impression jusqu'à ce qu'il s'encrante de façon audible..

Assurez-vous, à la fixation du guide de ruban encreur, que celui-ci n'est pas pié. Veillez en outre à ne pas endommager la feuille de plastique.
Tourner la molette de tension du ruban encreur dans le sens de la flèche pour éliminer le mou du ruban.

Après mise en place de la cartouche de ruban encreur, replacez le capot supérieur.
Réglez le levier d'épaissur du papier selon l'épaissur du papier utilisé. Pour plus de détails à ce propos, voir la page 18
(Réglage de l'écart de la tête d'impression).
Chargement du papier

N'utiliser que du papier approprié pour cette imprimante. Pour plus amples informations, voir Online CD-ROM, annexe C (Specifications).
> Papier feuille à feuille
Le papier charge feuille à feuille est place à l'avant de l'imprimante. Le papier imprimé peut être éjecté à l'arrête ou à l'avant de l'imprimante. Pour plus amples informations à ce propos, voir Online CD-ROM, chapitre 1 (Table d'explication des menus).

Mettez l'imprimante sous tension (interrupteur secteur sur "I"). Reglez le levier d'épaissur du papier selon l'épaissur du papier utilisé. Pour plus de détails à ce propos, voir la page 18 (Réglage de l'écart de la tête d'impression).

Rabattez le bac à papier vers le haut dans le sens de la flèche.
Tenez le bac à papier et sortez les supports de papier.



Réglez le levier de sélection du papier sur mode feuille à feuille. Assurez-vous que l'imprimante est en mode feuille à feuille. Pour plus amples informations sur la manière de sélectionner ce mode, voir la page 14 (SeLECTION rapide de la fonction papier).
Positionnez le margeur de gauche sur la position de début d'impression souhaitation (la marque “[A] indique la position par défaut du début de l'impression).
Positionnez une feuille individuelle sur le margeur de gauche et réglez le margeur de droite selon la largeur du papier utilisé. Insérez la feuille entre les deux margeurs. L'imprimante la tire automatiquement jusqu'à la position d'impression et est ensuite prête pour l'impression.

Quand du papier d'un gramma de 63 grammes est utilisé et si le papier imprimé est éjecté à l'arrière, le bac à papier a une capacité d'environ 30 feuilles. Si le papier est éjecté à l'avant, chaque feuille doit être prélevée individuellement.
> Imprimante en mode de papier continu



Réglez le levier d'épaissur du papier selon l'épaissur du papier utilisé. Pour plus de détails à ce propos, voir la page 18 (Réglage de l'écart de la tête d'impression).
Réglez le levier de selection du papier sur le mode continu.
Relever le capot frontal et l'enchanter.
Ceci empêche que le panneau ne retombe involontairement.
Déplacez les leviers de blocage de gauche et de droite vers le haut dans le sens de la flèche pour déverrouiller les tracteurs.
Ouvrez les volets des tracteurs.
Alignez les tracteurs sur la largeur de papier souhaitee.
Placez le support de papier au centre du tracteur de gauche et de droite.



Chargez le papier avec le côté à imprimer vers le haut sur le tracteur de gauche. Pour ce faire, placez les trous de transport de la cordure de gauche du papier sur les ergots du tracteur et fermez ensuite le volet.
Placez les trouss de transport de la cordure de droite du papier sur les ergots du tracteur de droite et fermez ensuite le volet d'entraineur.

Veillez à ce que le papier soit à la même hauteur à droite et à gauche sur les tracteurs et que le même nombre d'ergots soit utilisé pour que le papier ne soit pas entraîné de travers, risquant ainsi un bourrage.
Après mise en place du papier, la position du début d'impression souhaitée peut être selectionnée avec le margeur de gauche (la marque “[A” indique la position par défaut du début de l'impression).
Poussez le levier de blocage de gauche vers le bas pour fixer l'entraineur.
Tendez le papier avec le tracteur de croite et fixez-le ensuite avec le levier de blocage.

Si le papier ne peut pas etre entierement tendu avec le tracteur de droite, modifiez la position du tracteur de gauche.
Ne tendez pas trop le papier pour éviter la déchirure des trous de transport, mais suffisamment pour éviter que le papier ne se gondole avec pour conséquence des problèmes au chargement.
Mettez l'imprimante sous tension.
Le bac de chargement actif (Trac.1) est affché. Le papier est automatiquement charge quand l'imprimante est en mode Online et lorsqu'elle recoit des données de l'ordinateur. Appuyez sur la touche Load pour amener le papier au début de l'impression.
Changement de type de papier
On peut changer de type de papier (fonction papier) soit avec la seLECTION rapide du papier, soit via le menu Setup.
> Sélection rapide de la fonction papier
Déchirez tout d'abord un papier à alimentation continue éjecté à l'arête de séparation. Pour ce faire, procédez comme suit.


Assurez-vous que l'imprimante est à l'etat Offline; appuyez sur la touche Online si nécessaire.
Appuyez sur la touche Park. Si du papier à alimentation continue est charge dans l'imprimante "Tear paper off" s'affiche. Appuyez sur une touche. Si une feuille est chargée dans l'imprimante, elle est alors éjectée.


Selectionnez le chemin de papier désiré en appuyant sur l'une des touches indiquées, Insert par exemple.

Si vous n'avez pas effectué votre sélection au bout de 5 secondes, l'imprimante quitte le menu.


L'imprimante revient en mode Offline. L'afficheur commute entre...
et...


Réglez le levier de sélection du papier sur le mode feuille à feuille. (voir page 11 Chargement du papier).


L'afficheur commute entre...


Rabattez le bac à papier vers le haut dans le sens de la flèche. Tenez le bac à papier et sortez les supports de papier.
Positionnez le margeur de gauche sur la position de début d'impression souhaitation. Positionnez une feuille individuelle sur le margeur de gauche et reglez le margeur de droite selon la largeur du papier utilisé. Insérez la feuille entre les deux margeurs. L'imprimante la tire automatiquement jusqu'à la position d'impression. (voir page 11 Chargement du papier).


Appuyer sur la touche Online pourmettre l'imprimante en etat d'attente, prete a utiliser.
Transport du papier

Le papier charge (papier en continu/pages simples) peut etre transporte de differentes facons dans l'imprimante.

S'assurer que l'imprimante est en mode Offline; appuyer sur la touche Online, si nécessaire.
① Bref appui sur la touche: Line feed (LF) activé Appui prolongé sur la touche: Form feed (FF) est activé
② Bref appui sur la touche: le papier est transporte progressivement vers le bas Appui prolongé sur la touche: transport continu vers le bas
③ Bref appui sur la touche: le papier est transporte progressivement vers le haut Appui prolongé sur la touche: transport continu vers le haut
Utilisation
Déplacement du papier Le papier en continu peut être transporte en position de séparation en appuyant sur la touche Coupe. en position de séparation


S'assurer que l'imprimante est en mode Online. Appuyer sur la touche Coupe. L'imprimante amène la perforation du papier sur l'arête de séparation.
L'affichage commute entre...


et...


Appuyer sur la touche Quit après avoir déchéré le papier. L'imprimante ramène le papier à la première position d'impression.
Réglages (I)
Réglage de la position Quand la position de séparation n'est pas alignée sur l'arête de séparation, on peut la régler. de séparation


Appuyer sur la touche Setup. L'imprimante passe en mode Setup.


Appuyer sur la touche Ajuster.


Appuyer sur la touche Coupe.


Appuyer sur la touche < ou > pour amener la perforation dans la position appropriée.
Confirmer le réglage en appuyant sur la touche Valid.
L'imprimante revient dans son mode initial.

La correction effectuée (au maximum environ. 2,5 cm [1']) dans les deux sens) est enregistrée après arrêt de l'imprimante.
Réglage de la première ligne d'impression On peut utiliser la fonction TOF pour régler la position de la ligne supérieure d'impression pour chaque type de papier et pour chaque menu.

Il est conseilé d'aligner la position de séparation (voir plus haut) avant d'utiliser la fonction TOF (papier en continu).


Appuyer sur la touche Setup. L'imprimante passe en mode Setup.


Appuyer sur la touche Ajuster.


Appuyer sur la touche TOF.

Le papier est transporte jusqu'à ce que l'arête inférieure de la première ligne d'impression A se trouve à la hauteur de l'arête de séparation B.
Le réglage d'usine pour la première positiond'impression est 12/72".


Appuyer sur la touche < ou > pour amener la première ligne d'impression dans la position appropriée.
On peut régler des valeurs entre 0 et 220 / 72 pour le papier en continu, entre 0 et 72 / 72 pour les pages simples.

Confirmer le réglage en appuyant sur la touche Valid. L'imprimante revient dans son mode initial.

Les réglages effectuels sont enregistrés après arrêt de l'imprimante. Pour plus amples informations, voir Online CD-ROM, chapitre 3 (Réglages mécaniques de l'imprimante).
Réglages (II)
Réglage de l'écart de la tête d'impression
L'imprimante est équipée d'un levier d'épaissur de papier servant à régler l'écart de la tête d'impression.

Pour obtenir une qualité d'impression optimale, l'écart entre la tête d'impression et le contre-appui doit être régle selon l'épaisseur du papier utilisé.
Le tableau ci-dessous montre la plage régiable:
| Nombre de copies/ épais-seur du papier | Rame (kg) | g/m2 | Position du levier |
| Original seul, mince | 45–55 | 50–65 | 1 |
| Original seul, normal | 55–77 | 65–90 | 1–2 |
| Original seul, épais | 77–110 | 90–130 | 2 |
| Original + 1 | 34/34 | 40/40 | 2–3 |
| Original + 2 | 34/34/34 | 40/40/40 | 2–4 |
| Original + 3 | 34/34/34/34 | 40/40/40/40 | 3–4 |
| Original + 4 | 34/34/34/34/34 | 40/40/40/40/40 | 4–5 |
| Original + 5 | 34/34/34/34/34/34 | 40/40/40/40/40/40 | 5–6 |
| Carte postale | 110 | 130 | 3 |
| Réserve | — | — | 7–8 |

- "Rame" est une unité indiquant le poids du papier. Le poids de 1000 feuilles individuelles format 788 mm × 1091 mm is measured in kilograms.
- Si un seul original est imprimé, il est possible d'utiliser des feuilles individuelles de rame 45kg et plus ou du papier en continu de rame 50kg et plus.
- Si le levier d'épaisseur du papier est régèle sur une valeur supérieure à celle requise, les impressions seront irrégulières et la durée de vie de la tête d'impression et du ruban encreur pourra en souffrir.
Changement dupapier en mode Setup
Du mode papier en continu au mode page seule
Quand on a utilisé jusqu'ici du papier en continu et qu'on veut passer en mode page seule, proceeder comme suit.
Il n'est pas nécessaire d'enlever le papier en continu.


Déchirez le papier à alimentation continue éjecté sur l'arête de séparation. Pour ce faire, procédez comme suit.
Appuyez sur la touche Setup. L'imprimante passe en mode Setup.


Appuyer sur la touche Chem-Pap. L'imprimanteppeau menu de fonction papier.


Appuyer sur < ou > pour passer en mode Insert (page). Le réglage momentanément (Trac.1) est marqué par le signe “ ”.


Confirmer le réglage en appuyant sur la touche Valid. L'entrée est confirmée par un signal acoustique et le papier en continu est transporté à la position de séparation. Déchirer le papier et appuyer sur une touche.


Vous voyagez apparaitre a 1'ecran...
Appuyez sur une touche.


L'imprimante revient dans sa position initiale et le papier en continu est transporte en position de parking. L'affichage commute entre...
et...


Réglez le levier de sélection du papier su le mode feuille à feuille.
Vous voyagez apparaitre a I'ecran...


Rabattez le bac à papier vers le haut dans le sens de la flèche. Tenez le bac à papier et sortez les supports de papier (voir page 10). Positionnez une feuille individuelle sur le margeur de gauche et réglez le margeur de droite selon la largeur du papier utilisé. Insérez la feuille entre les deux margeurs. L'imprimante la tire automatiquement jusqu'à la position d'impression (voir page 11).


Appuyez sur Online pourmettre l'imprimante en disponibilité.
> Du mode page seule en mode papier en continu
Quand on a utilisé jusqu'ici des pages seules et qu'on veut passer en mode papier en continu, proceeder comme suit.
S'assurer que le papier en continu est chargé (pour plus amples informations, voir la page 12 Papier en continu).


Enconcer le support de papier dans le magasin de papier et abaiser le tout.
Appuyer sur la touche Setup. L'imprimante passe en mode Setup.


Appuyer sur la touche Chem-Pap. L'imprimanteppeau menu de fonction papier.


Appuyer sur < ou > pour passer en mode Tract 1 (papier en continu).
Le réglage momentanément (Insert) est marqué par le signe “*”.


Confirmer le réglage en appuyant sur la touche Valid. Un signal acoustique confirme l'entrée.


L'écran alterne entre...
et...


Amenez le levier deCHOix du papier dans la position correspondante.
L'imprimante est maintainant prete pour l'impression sur papier en continu.
Appuyer sur la touche Online pourmettre l'imprimante en attente,préte àutiliser.
Sélection d'une police La touche Police permet de seLECTIONner des polices de caractères en mode Setup. de caractères


Appuyer sur la touche Setup.
Appuyer sur la touche Char.


Appuyer sur la touche Police.
Appuyer sur la touche < ou > pour selectionner la police de caractères souhaitée. Confirmer la selection en appuyant sur la touche Valid.




Appuyer sur la touche Setup. L'imprimante revient dans son etat initial.
On peut également appuyer sur la touche Online. L'imprimante passe directement en mode Online.

La sélection n'est pas conservée après arrêt de l'imprimante. Pour des informations sur la manière de sélectionner une police de caractères permanente, voir la Online CD-ROM, chapitre 1 (Table d'explication des menus).
Réglage de l'espacement des caractères
La touche CPI permet de régler le nombre de caractères imprimés par pouce en mode Setup.


Appuyer sur la touche Setup. Appuyer sur la touche Char.


Appuyer sur la touche CPI.


Appuyer sur la touche < ou > pour selectionner l'espacement des caractères souhaité.
Confirmer la selection en appuyant sur la touche Valid.


Appuyer sur la touche Setup. L'imprimante revient dans son etat initial.
On peut également appuyer sur la touche Online. L'imprimante passe directement en mode Online.

La sélection n'est pas conservée après arrêt de l'imprimante. Pour des informations sur la manière de sélectionner une réglage de l'espacement des caractères permanente, voir la Online CD-ROM, chapitre 1 (Table d'explication des menus).
Specifications
Données techniques de l'imprimante
| 9 | 24 | |
| Méthode d'impression | série avec tête matricelle à 9 aiguilles | série avec tête matricelle à 24 aiguilles |
| Largeur d'impression | Version étroites 80 Caractères pour 10 cpiversion larges 136 Caractères pour 10 cpi | version étroites 80 Caractères pour 10 cpiversion larges 136 Caractères pour 10 cpi |
| Vitesse d'impression(bidirectionale) | HS-Draft/Draft Copy 360 cps pour 10 cpiDraft 270 cps pour 10 cpiNLQ/LQ 65 cps pour 10 cpi | HS-Draft/Draft Copy 330 cps pour 10 cpiDraft 250 cps pour 10 cpiNLQ/LQ 70 cps pour 10 cpi |
| Densités des caractères | 5, 6, 7,5, 8,6, 10, 12, 15, 17,1, 20 cpi | 5, 6, 7,5,8,6, 10, 12, 15, 17,1, 20 cpi |
| Densité de l'impressiongraphique | horizontal 240 dpi / verticale 144 dpi | horizontal 360 dpi / verticale 180 dpi |
| Durée de vie du ruban | 4 millions de caractères | 4 millions de caractères |
| Niveau sonore | ca. 55 dB (A) | ca. 55 dB (A) |
| Dimensions | version étroites 485 x 206 x 245 mm (L x P x H)version larges 625 x 206 x 245 mm (L x P x H) | version étroites 485 x 206 x 245 mm (L x P x H)version larges 625 x 206 x 245 mm (L x P x H) |
| Poids | version étroites 9 kg / version larges 11 kg | version étroites 9 kg / version larges 11 kg |
| Alimentation | USA/Canada AC 120 V ±10% / 60 Hz ±3%Europe AC 230 V ±10% / 5 0 Hz ±3% | USA/Canada AC 120 V ±10% / 60 Hz ±3%Europe AC 230 V ±10% / 5 0 Hz ±3% |
| Puisance absorbée | au débit 100% < 60 VAà vide < 10 VA | au débit 100% < 60 VAà vide < 10 VA |
| Conditions defonctionnement | Température 10°C bis 40°CHumidity ambiente 20% bis 80% | Température 10°C bis 40°CHumidity ambiente 20% bis 80% |
| Spécifications de la tête d'impression | Nombre d'aiguilles 9Diamètre des aiguilles 0,3 mmNombre de copies 1 original + 5 copies | Nombre d'aiguilles 24Diamètre des aiguilles 0,2 mmNombre de copies 1 original + 3 copies |
| Mémoire d'interface | max. 40 kB | max. 40 kB |
| Homologations | UL 1950, VDE-GS, CE, FCC Class B, UL/ULc | UL 1950, VDE-GS, CE, FCC Class B, UL/ULc |
> Spécifications du papier
| Feuilles séparées | Grammage | 60 – 120 g/m2version étroites: 76 – 220 mm / version larges: 76 – 420 mm |
| Largeur | ||
| Longueur | 76 – 559 mm | |
| Papier en continu | Grammage | 60 – 120 g/m2version étroites: 76 – 254 mm / version larges: 76 – 420 mm |
| Formulaire simple | Largeur | 76 – 559 mm |
| paravent | Longueur | Original: 45 – 65 g/m2/ copie: 45 – 56 g/m2/ derniere feuille: 45 – 65 g/m2 |
| Liasse de formulaire | Grammage | voir formulaire simple |
| paravent | Largeur/Longueur | max. 0,5 mm |
| Epaisseeur du formulaire | 1+5 (9 aiguilles) / 1+3 (24 aiguilles) | |
| Nombre de copies |

Pour d'autres informations concernant les specifications du papier, consulter la documentation Online sur CD-ROM.
Accessoires
Cassettes ruban:
Version étroite
Piece No. 044 829
Version large
Piece No. 044 830
Manuale Utente
GUIDA ALL
AVVIAMENTO RAPIDO
Indices
Introduzione 2
Tous dros rres. Tote rection ou tradion de ce manul, qu'elsoit complte, partie ou sous une forme differente est interde sans notre accord formel. Nous nro srenons le roit de modifier ce manel sans praev. Touts les precautions ont ete prises aif dassurier l'actitudes inemations contenues dans ce manuel. Cependant, nos dcinons tse responsabite pour les fautes ou dgats provenant d'reurs ou d'inexactitudes qui seraient restees dans ce manuel."
"CENTRONICS" est une marque déposée Centronics Data Computer Corporation.
"EPSON" est une marque déposée Epson America Incorporated.
"IBM" est une marque déposée International Business Machines Corporation.
"MS-DOS" est une marque déposée Microsoft Corporation.
"Windows", "Windows 95", "Windows 98" et "Windows NT" sont des marques déposée Microsoft Corporation.
MARCHI REGISTRATI
"CENTRONICS" é un marchio registrato della Centronics Data Computer Corporation.
Notice Facile