JG6000SP - Jeu vidéo LEXIBOOK - Notice d'utilisation et mode d'emploi gratuit
Retrouvez gratuitement la notice de l'appareil JG6000SP LEXIBOOK au format PDF.
| Intitulé | Description |
|---|---|
| Type de produit | Console de jeux éducative |
| Caractéristiques techniques principales | Écran couleur, jeux éducatifs intégrés, interface utilisateur intuitive |
| Alimentation électrique | Fonctionne avec des piles ou adaptateur secteur |
| Dimensions approximatives | 25 cm x 15 cm x 5 cm |
| Poids | 500 g |
| Compatibilités | Compatible avec les jeux Lexibook |
| Type de batterie | Piles AA (non incluses) |
| Tension | 6V (adaptateur secteur) |
| Puissance | 5W |
| Fonctions principales | Jeux éducatifs, apprentissage interactif, activités ludiques |
| Entretien et nettoyage | Essuyer avec un chiffon doux, ne pas utiliser de produits abrasifs |
| Pièces détachées et réparabilité | Pièces disponibles sur demande, réparabilité limitée |
| Sécurité | Conforme aux normes de sécurité des jouets, ne pas laisser à un enfant de moins de 3 ans sans supervision |
| Informations générales | Idéal pour les enfants de 4 à 10 ans, favorise l'apprentissage par le jeu |
FOIRE AUX QUESTIONS - JG6000SP LEXIBOOK
Questions des utilisateurs sur JG6000SP LEXIBOOK
0 question sur cet appareil. Repondez a celles que vous connaissez ou posez la votre.
Poser une nouvelle question sur cet appareil
Téléchargez la notice de votre Jeu vidéo au format PDF gratuitement ! Retrouvez votre notice JG6000SP - LEXIBOOK et reprennez votre appareil électronique en main. Sur cette page sont publiés tous les documents nécessaires à l'utilisation de votre appareil JG6000SP de la marque LEXIBOOK.
MODE D'EMPLOI JG6000SP LEXIBOOK
Cette section vous explique comment jouer avec le Spider-Man™ Super TV Air Jet. Il est recommendé de dire le guide de l'utilisateur au complet pour des instructions détaillées et des mises en garde.

- Gonflez le Spider-Man™ Super TV Air Jet:
1 - Deballez la pompe à air fournie.
2 - Gonflez le siège du Super TV Air Jet. Dévissez le bouchon de la valve située au dos du siège et inséréz la grande valve de la pompe à air. En maintainant fermement la valve à l'intérieur du produit, appuyez et relâchez la pompe à air jusqu'à ce que le siège soit ferme. Fermez le bouchon et vissez-le.
3 - Gonflez la partie inférieure du Spider-Man™ Super TV Air Jet grâce à la valve située à l'arrête du produit comme indiqué à l'étape 2.

- Installez les piles de la console : ouvre le couvercle du compartment à piles qui se situe au dos de la console à l'aide d'un tournevis, installez 4 piles LR6 de 1,5 V en respectant le sens des polarités indiqué puis reférer le compartment à piles et reisserrez la vis.
Installez les piles du tableau de bord : ouvre le couvercle du compartment à piles qui se situe sous le compteur de vitesse à l'aide d'un tournevis. Installez 4 piles LR6 de 1,5 V en respectant le sens des polarités indiqué puis reférer le compartment à piles et resserrez la vis.

- Connectez la console au téléviseur : le téléviseur et la console DOIVENT ETRE ETEINTS. Branchez l'extrémité jaune du cable de la console dans la prise video (jaune) du téléviseur et branchez l'extrémité rouge du cable dans la prise audio (rouge) du téléviseur. Allumez la console et le produit puis appuyez sur "start" sur la console ou sur le tableau de bord du produit pour entrer dans le menu.
Pour faire défiler la liste des jours, penchez votre Spider-Man™ Super TV Air Jet sur la droite ou sur la gauche ou appuyez sur les touches de gauche ou droite sur le pavé directionnel de la console puis selectionné un jeu dans le menu. Appuyez sur Start (sur le guidon ou la console) pour acceder au jeu selectionné. À présent, vous nevez être dans un des 7 jours proposés. Pour plus de détails sur le fonctionnement des activités, merci de vous réféérer à la liste des jours.
Prépare-toi à vivre de vraies sensations de courses de scooter des mers avec ton Super TV Air Jet Spider-Man™! Joue aux 7 eux palpitants et combats les ennemis ! Il est recommendé de dire les instructions ci-dessous pour apprendre à utiliser ton Super TV Air Jet Spider-Man™ et à journer aux différents jours.
CONTENU DE LA BOITE
- Un Spider-Man™ Super TV Air Jet
-Unepompeaiair
-Une console - Un manuel d'instruction
- Un kit de réparation
ATTENTION : Les éléments d'emballage tels que films plastiques, rubans adhésifs, étiquettes et rubans de fixation métalliques ne font pas partie de ce jouet et doivent être enlevés par raison de sécurité avant toute utilisation par un enfant.
INSTALLATION DES PILES
Ton Spider-Man™ Super TV Air Jet fonctionne avec 8 piles alcalines LR6 de 1.5 V — — 4 piles pour la console et 4 piles pour le tableau de bord.
Console:
- Ouvrir le couvercle du compartment à piles qui se situe au dos de la console à l'aide d'un tournevis.
- Installer 4 piles LR6 de 1,5V en respectant le sens des polarités indiqué: une position incorrecte peut soit endommager le jouet, soit provoquer un incendie ou l'explosion de la pile.
- Refermer le compartment à piles et resserrer la vis.
Tableau de bord :
- Ouvrir le couvercle du compartment à piles qui se situe sous le compteur de vitesse à l'aide d'un tournevis.
- Installer 4 piles LR6 de 1,5 V en respectant le sens des polarités indiqué: une position incorrecte peut soit endommager le jouet, soit provoquer un incendie ou l'explosion de la pile.
- Refermer le compartment à piles et resserrer la vis.
Ne pas utiliser de piles rechargeables. Ne pas recharger les piles non rechargeables. Retirer les accumulateurs du jeu avant de les recharger. Ne charger les accumulateurs que sous la surveillance d'un adulte. Ne pas mélanger différents types de piles ou accumulateurs, ou des piles et accumulateurs neufs et usages. Les piles et accumulateurs doivent être mis en place en respectant la polarité. Les piles et accumulateurs usages doivent être enlevés du jouet. Ce jeu doit être alimenté des
piles spécifiées uniquement. Les bornes d'une pile ou d'un accumulateur ne doivent pas être mises en court-circuit. Ne pas jeter les piles au feu. Retirer les piles en cas de non utilisation prolongée.
Veuillez garder ce mode d'emploi, il contient d'importantes informations.


Si l'appareil présente un dysfonctionnement, appuyez sur RESET. Si cela se produit, otez les piles du compartment et remettez-les directement. Quand le son s'affaiblit ou que le jeu ne réagit plus, pensez à changer les piles.
La console fonctionne aussi avec un transformateur pour jouets de 9V ---500mA, sens de polarité : IN Positif / OUT Négatif (non inclus).
Pour le branchement, suivre ces instructions:
- S'assurer que le jeu est eteint.
- Brancher la fiche du transformateur dans la prise.
- Brancher la prise du transformateur dans une prise de courant.
- Mettre le jeu en marche.

Un transformateur n'est pas un jouet. Débrancher le transformateur en cas de non'utilisation prolongée afin d'éviter tout échauffement. Lorsque le jeu est alimenté par un transformateur, ne pas journé à l'extérieur. Vérifier régulièrement l'état du transformateur et des fils de branchement. En cas de détérioration, ne pas utiliser le transformateur jusqu'à sa réparation.
Ce jouet n'est pas destiné à des enfants de moins de 3 ans. Le jouet ne doit être utilisé qu'avec le transformateur recommendé.
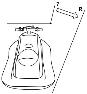
NOTE SUR L'INFRAROUGE

Le récepteur de la console doit faire directement face au transmetteur situé sur le tableau de bord de l'unité comme illustré ci-haut. La distance maximale entre le transmetteur et le récepteur est de 3 mètres sous l'alimentation des piles à pleine capacité.

Console:
Bouton marche / arrêt
Pourmettrelaconsoleen marchepour l'arreter.
Start
Pour démarrer un jeu.
Reset
Pour acceder au menu des jours.

Tableau de bord:
Bouton marche / arrêt
PourmettreleSpider-Man ^TM SuperTVAirJeten marche/ pour l'arreter.
Reset
Pour acceder au menu des jours.
Start
Pour démarrer un jeu.
Frein manuel (poignée gauche)
Merci de vous référer à la liste des produits pour plus de détails.
Accéléateur (poignée droite)
Merci de vous référer à la liste des produits pour plus de détails.

Position horizontal
Quand vous positionnez votre Spider-Man™ Super TV Air Jet horizontally ou à moins de 7 degrés sur la gauche ou sur la droite, le scooter des mers représenté à l'écran avance tout droit.

Pencché a droite
Quand you penchez your Spider-Man™ Super TV Air Jet à plus de 7 degrés sur la droite, le scooter des mers représenté à l'écran tourne à droite.

Penche à gauche
Quand vous penchez votre Spider-Man™ Super TV Air Jet à plus de 7 degrès sur la gauche, le scooter des mers représenté à l'écran tourne à gauche.
Poids maximum autorisé : Le poids maximum autorisé sur le Spider-Man™ Super TV Air Jet est de 50kg.
Important: Ce jouet ne doit pas etre utilise comme un jeu de bain (piscine, plage...).
CONNECTER LA CONSOLE AU TELEVISEUR
- Le téléviseur et la console DOIVENT ETRE ETEINTS.
-
Connectez la console au téléviseur :
-
Branchez l'extrémité jaune du cable de la console dans la prise video (jaune) du téléviseur.
-
Branchez l'extrémité rouge du cable dans la prise audio (rouge) du téléviseur.
-
Allumez your télévision et mettez la chaine AV.
- Allumez la console et le scooter des mers puis appuyez sur "START" sur la console ou sur le scooter des mers pour enter dans le menu. Le menu doit s'afficher sur votre écran.
- Choisissez un jeu et appuyez sur START pour commencer à jouer.

Remarque:
La console peut être utilisée comme une console de jeu indépendante. Eteignez juste votre scooter des mers et vous pouvez jour à tous les yeux.
| Problème | Avant de donner votre Spider-Man™ Super TV Air Jet à réparer, merci de vérifier les points suivants |
| Pas d'image sur l'écran | • Le SPIDER-MAN™ SUPER TV AIR JET & la console sont-ils bien en marche? • La TV est-elle allumée? • La TV est-elle bien sur la chaîne AV? • Le cable AV est-il correctement connecté? • Les piles, ne sont-elles pas usées? • Les piles, sont-elles installées correctement? |
| L'image tremble ou est en noir et blanc | • Les couleurs de la TV sont-elles régliées correctement? • Les chaînes TV sont-elles régliées correctement? • Les piles, ne sont-elles pas usées? |
| Pas de son | • Le volume du son n'est-il pas trop bas ou coupé? • Le cable audio n'est-il pas déconnecté? |
| L'image sur la TV tremble | • Essayez de régler l'image sur votre TV jusqu'à ce qu'elle soit stable. • Les piles, ne sont-elles pas usées? |
| Des lignes apparaisent sur l'écran durant un jeu | • Le cable AV est-il correctement connecté? • Les piles, ne sont-elles pas usées? |
| L'image clignote ou est déformée | • Appuyez sur le bouton reset, s'il n'y a pas d'amélioration, éteignez puis rallumez votre SPIDER-MAN™ SUPER TV AIR JET. • Les piles, ne sont-elles pas usées? |
| Le SPIDER-MAN™ SUPER TV AIR JET ne fonctionne pas | • Les piles sont-elles installées correctement? • Le jeu est-il bien en marche? |
Si les problèmes persistent, veuillez-vous reférer aux instructions données par ce manuel et réinstaller votre SPIDER-MAN™ SUPER TV AIR JET.
Spider Jet
Aide Spider-Man à terminer cette course excitante contre le temps. Ramasse les points bonus et le carburant pour augmenter ton score. Evite les obstacles et les bouées, sinon tu perdras du temps!
Fonctions
Guidon: Pour tourner à droite et à gauche
Poignée droite: Pour accélérer
Poignée gauche: Pour freiner

Spider Sub
Contrôle la balle pour détruire tous les animaux marins de l'écran. Déplace ton sous-marin à droite et à gauche pour attraper la balle. Tu perdras une vie à chaque fois que tu rateras la balle. Tu as 5 vies. Il y a 7 niveaux.
Fonctions
Guidon: Pour déplacer le sous-marin à droite et à gauche Poignée droite: Pour lancer la balle

Spider Bike
Sur sa moto de super héros, Spider-Man fait la course contre les ennemis sur une piste. Tu doit terminer les 3 tours contre la montre! Evite les ennemis et les obstacles; sinon, tu perdras du temps précieux!
Fonctions
Guidon: Pour tourner à droite et à gauche
Poignée droite: Pour accélérer
Poignée gauche: Pour freiner

Jet Race
Spider-Man (icône 1P -1 joueur) fait la course contre un ennemi (ordinateur - icône COM). Spider-Man doit terminer la course avant l'ordinateur. Essaye d'éviter les nombreux obstacles qui te ralentiront. LesILAures scores s'afficheront à la fin de la course.
Fonctions
Guidon: Pour tournier à droite et à gauche
Poignée droite: Pour accélérer
Poignée gauche: Pour freiner

Spider Pong
Des tas de balles colorées tombent du haut de l'écran. Utilise la barre pour attraper autant de balles que possible. Tu peux attraper des objets bonus mais fais attention aux objets piégés.
Fonctions
Guidon: Pour déplacer la barre à droite et à gauche

Webdigger
Contrôle la toile et la pelletteuse de Spider-Man pour attraper tout l'argent et les pièces de monnaie. Sois rapide car le temps est limite. Il y a 30 niveaux.
Fonctions
Poignée droite: Pour lancer la pelleteuse/toile et pour faire exploser l'objet attrapé dans la pelleteuse/toile; si cet objet est une bombe, l'icone s'affichera.
Poignée gauche: Pour repreneure la pelletesse/toile plus rapidement.

Spider Escape
Contrôle la balle pour détruire les briques affichées sur l'écran. Déplace la barre à gauche et à droit pour attraper la balle. Tu perdras une vie à chaque fois que tu rateras une balle. Tu commences le jeu avec 2 balles. Tu peuxAttraper de nombreux objets bonus, mais fais attention aux objets piégés (tête de mort, -1 etc.). Il y a 10 niveaux.

Fonctions
Guidon: Pour déplacer la barre à droite et à gauche Poignée droite: Pour lancer la balle
Trouvez ci-dessous la correspondance entre les fonctions du Spider-Man™ Super TV Air Jet et de la console.
| Spider-Man™ Super TV Air Jet | console |
| Poinnée gauche : frein manuel | Touche B |
| Poinnée droite : accélérateur | Touche A |
| Mouvement gauche / droite : inclinaison du scooter des mers à gauche et à droite | 8 touches directionnelles |
| Power => Marche (On) / Arrêt (Off) | Interrupteur “Power” |
| Reset => Recommencer Start => Commencer | Reset => Recommencer Start => Commencer |
| Indicateur de la LED => Gauche, Droite, Power, frein. | Indicateur de la LED => Power |
AVERTISSEMENT SUR L'EPILEPSIE
A litre avant toute utilisation d'un jeu video par vous-même ou votre enfant.
Certaines personnes sont susceptibles de faire des crises d'épilepsie ou d'avoir des pertes de conscience à la vue de certains types de lumières clignotantes ou déléments fréquents dans notre environnement quotidien. Ces personnes s'exposent à des crises lorsqu'elles regardant certaines images télévisées ou lorsqu'elles jouent à certains jours video. Ces phénomènes peuvent apparaître alors même que le sujet n'a pas d'antécédent Médical ou n'a jamais été confronté à une crise d'épilepsie. Si vous-même ou un membre de votre famille avez déjàprésenté des symptômes liés à l'épilepsie (crise ou perte de conscience) en présence de stimulations « lumineuses», veuillez consulter toute MEDecin avant toute utilisation de produits video. Nous conseillons aux parents d'être attentifs à leurs enfants lorsqu'ils jouent avec des produits video.
Si vous-même ou votre enfant présente les symptômes suivants : vertige, trouble de la vision, contraction des yeux ou des muscles, perte de conscience, trouble de l'orientation, mouvement involontaire ou convulsion, veuillez immédiatement cesser de jourer et consulter un médecin.
PRECAUTIONS A PRENDRE DANS TOUS LES CAS POUR L'UTILISATION D'UN JEU VIDEO
Ne vous tenez pas trop pres de l'écran. Jouez àonne distance de l'écran de télévision et aussi loin que le permet le cordon de raccordement. Utilisez de préférence les yeux video sur un écran de petite taille. Evitez de jour si vous étés fatigué ou si vous manquez de sommeil. Assurez-vous que vous jouez dans une piece bien éclairée.
En cours d'utilisation, faîtes des pauses de dix à quinze minutes toutes les heures.
ENTRETIEN
Protéger le jouet de l'humidité. S'il est mouillé, l'essuyer immidiatement.
Ne pas le laisser en plein soleil, ne pas l'exposer à une source de chaleur.
Ne pas le laisser tomber. Ne pas tenter de le démonter. Pour le nettoyer, utiliser un chiffon légèrement imbibé d'eau à l'exclusion de tout produit détergent. En cas de mauvais fonctionnement, essayer d'abord de changer les piles. Si le problème persiste, relire attentivement la notice afin de vérifier que rien n'a été omis.
NOTE : Veuillez garder ce mode d'emploi, il contient d'importantes informations. Ce produit est couvert par notre garantie de 2 ans. Pour toute mise en oeuvre de la garantie ou de service après vente, vous devez vous adresser à votre revendeur muni de votre preuve d'achat. Notre garantie couvre les vices de matériel ou de montage imputables au constructeur à l'exclusion de toute déterioration provenant du non-respect de la notice d'utilisation ou de toute intervention intempéstive sur l'article (telle que démontage, exposition à la chaleur ou à l'humidité ...).
Ne convient pas à un enfant de moins de 36 mois car contient de petits éléments détachables susceptibles d'être avalés.
Il est recommandé de conserver l'emballage pour toute réference ultérieure. Dans un souci constant d'amélioration, nous pouvons êtreamenés à modifier les couleurs et les détails du produit presenté sur l'emballage.
Référence : JG6000SP
Conçu en Europe - Fabriqué en Chine
© 2007 LEXIBOOK®
www.lexibookjunior.com
Informations sur la protection de l'environnement
Tout apparéil électrique usé est une matière recyclable et ne devrait pas faire partie des ordures menagères! Nous vous demandons de bien pouvoir nous soutenir en contribuant activement au contrôle des ressources et à la protection de
l'environnement en déposant cet apparéil dans des sites de collecte (si existants).


Poignée gauche: Pour freiner

Spider Pong
déclarons sous notre seule responsabilité que le produit :
Désignation: Spider-Man™ Super TV Air Jet
Référence / type: JG6000SP
est conforme aux normes suivantes: EN300220-1-3, EN301489-1-3, EN50088
Par la première, nous déclarons que le produit mentionné ci-dessus est conforme aux exigences essentielles de la directive 1999/5/CE.
Julian Chung
QA Manager

Notice Facile