JG6000SP - Videogioco LEXIBOOK - Manuale utente e istruzioni gratuiti
Trova gratuitamente il manuale del dispositivo JG6000SP LEXIBOOK in formato PDF.
Domande degli utenti su JG6000SP LEXIBOOK
0 domanda su questo apparecchio. Rispondi a quelle che conosci o fai la tua.
Fai una nuova domanda su questo apparecchio
Scarica le istruzioni per il tuo Videogioco in formato PDF gratuitamente! Trova il tuo manuale JG6000SP - LEXIBOOK e riprendi in mano il tuo dispositivo elettronico. In questa pagina sono pubblicati tutti i documenti necessari per l'utilizzo del tuo dispositivo. JG6000SP del marchio LEXIBOOK.
MANUALE UTENTE JG6000SP LEXIBOOK
Questa sezione spiega brevamente come si gioca con Spider-Man™ Super TV Air Jet. Si raccomanda di leggere l'intero manuale per l'uso per ottenere istruzioni dettagliate sulle attività e le avventenze di sicurezza.

- Gonfiare Spider-Man™ Super TV Air Jet:
1 - Disimballare la pompa in dotazione.
2 - Gonfiare il sedile di Spider-Man™ Super TV Air Jet. Svitare il cappuccio della valvola situato sulla parte posteriore del sedile e insertire il capo grande della valvola della pompa. Tenendo saldamente ferma la valvola situata all'interno del prodotto, premere e rilasciare la pompa fino a quando il sedile non sia pienamente gonfiato alla pressione desiderata. Avvitare a fondo il cappuccio.
3 - Gonfiare la parte inferiore di Spider-Man™ Super TV Air Jet servendosi della valvola posta sul retro del prodotto come indicate nella fase 2.

- Inserire le batterie nella console: servirsi di un cacciavite per aprirlo scomparto batterie situato sul retro della console, inserire le 4 batterie LR6/AA, richiudere lo scomparto e stringere la vite.
Inserire le batterie nel pannello di controllo: servirsi di un cacciavite per aprire lo scomparto batterie situato quello al tachimetro. Inserire le 4 batterie LR6/AA, richiudere lo scomparto e stringere la vite.

- Collegare la console alla TV. Il teilevisore e Spider-Man™ Super TV Air Jet DEVONO ESSERE SPENTI. Inserire il cavo AV (capo giallo) nella corrispondente presa di ingressso video sul teilevisore e il cavo AV (capo rosso) nella corrispondente presa di ingressso audio sul teilevisore. Accendere la TV e sintonizzarsi sul canale AV. Accendere il pannello di controllo e la console. Dop o alcuni istanti, sullo schermo apparirà il menu.
Selezionare il gioco inclinando la moto d'acqua a destra o a sinistra oppure servendosi della tastiera della console e premere START per iniziare a glucare. Per maggiori dettagli sul gioco, recarsi all'élenco dei giochi nell'apposto paragrafo.
Prova l'ebbrezza di una vera moto d'accua con Spider-Man™ Super TV Air Jet! Lanciati nei 7 eccitanti giochi e cattura i cattivi! Leggi attendamente le istruzioni per imparare a usare il nuovo Spider-Man™ Super TV Air Jet, e divertiti con tutti i giochi.
CONTENUTO DELLA CONFEZIONE
La confezione contiene quando segue:
-
Una pompa
-
Un Spider-Man™ Super TV Air Jet
- Manuale di Istruzioni
- Una console
- Un kit per riparazione
ATTENZIONE : I componenti dell'imballo, quali pellicole in plastica, nastro adesivo, nastri di fissaggio metallici non fanno parte del giocattolo e devono essere eliminati per motivi di sicurezza prima dell'utilizzo dei bambini.
INSERIMENTO DELLE BATTERIE
Il Spider-Man™ Super TV Air Jet Jet funziona con 8 batterie alcaline 1.5V LR6/AA (non in dotazione): 4 batterie per la console e 4 batterie per il pannello di controllo.
Console:
- Usare un cacciavite per aprire il vano batterie posizionato nella parte posteriore della console.
- Inserire 4 batterie tipo LR6/AA osservando attentamente la polarità indicata sul fondo del vano batterie.
- Chiudere il vano batterie e serrare la vita.
Pannello di controllo
- Usare un cacciavite per aprire il vano batterie posizione sotto il tachimetro.
- Inserire 4 batterie tipo LR6/AA osservando attentamente la polarità indicata sul fondo del vano batterie.
- Chiudere il vano batterie e serrare la vita.
Non servirsi di batterie non ricaricabili. Le batterie non ricaricabili non devono essere ricaricate; le batterie ricaricabili devono essere totte dal glacattolo prima di essere ricaricate; le batterie ricaricabili devono essere caricate unicamente con la supervisione di un adulto; non mischiare differenti tipi di batterie o batterie nuove e usate; utilizzato unicamente batterie del tipo raccommando o equivalenti; insere le batterie rispettoando le polarità; rimuovere le batterie esaurite dal glacattolo; non cortocircuitare i terminali di alimentazione. Non buttare le batterie nel fuco. Rimuovere le batterie se non si usa il gioco per molto tempo. Sostituire le batterie quando il suono diventa debole o il gioco non funziona.


AVVERTENZA: in caso di malfunzionamento dell'apparecchio o di scariche elettrostatiche, spegnere e riaccendere il giocattolo. Se ciò dovesse risultare inefficace, togliere le batterie e inserirle nuovamente.
Il giocattolo funzioneanche con untrasformatore 9V = 500mA con il centro - + positivo (non fornito).
Per collegarlo, seguire queste istruzioni:
- Assicurarsi che il giocattolo sa spento.
- Collegare la spina del trasformatore nell'alloggiamento del glacattolo.
- Collegare il trasformatore alla presa principale.
- Iniziare il gioco.

Scollegare il trasformatore se il giocattolo non viene usato per un lungo periodo di tempo per evitarne il surriscaldamento. Se si usa il trasformatore, non glicare all'esterno. Deve essere utilizzato solo con il trasformatore consigliato; il trasformatore non è un gioco; le parti che sono essere pulite con sostanze liquide devono essere scollegate dal trasformatore prima della pulizia; la confezione deve essere conservata per futuro riferimento; i trasformatori o i caricabatteria usati con il giocattolo devono essere esaminati regolarmente per verificare la presenza di eventuali danni al cavo, alla spina, alla scatola e ad altre parti. Se si riscontrano tali problemi, il giocattolo non delve essere usato con il trasformatore o con il caricabatteria fino all'avvenuta riparazione. Questo gioco non è adatto a bambini di età inferiore ai 3 anni. Il gioco deve essere utilizzato soltanto con l'adattatore consigliato.
NOTA SUGLI INFRAROSSI

Il ricevitore della console deve trovarsi di fronte al trasmettitore situato sul manubrio dell'apparecchio secondo lo schema di cui sopra. La distance massima tra il trasmettitore e il ricevitore è di 3 metri con batterie alla massima potenza.

Console:
Interruttore di accensione
Utilizzato per accendere/ spagnere la Console.
Start (Avvio)
Utilizzato per iniziare il gioco e per interrompere il gioco durante lo svolgimento.
Reset
Utilizzato per accedere al menu di selezione durante un gioco.

Pannello di controllo:
Interruttore On / Off
Utilizzato per accendere/ spagnere Spider-Man™ Super TV Air Jet.
Reset (Reinicio)
Utilizzato per accedere al menu di selezione durante un gioco.
Start (Avvio)
Utilizzato per iniziare il gioco e per interrompere il gioco durante lo svolgimento.
Freno a Mano
Fare riferimento all'elenco giochi per ulteriori dettagli.
(Manopola a Sinistra)
Acceleratore
(Manopola a Destra)
Fare riferimento all'elenco giochi per ulteriori dettagli.

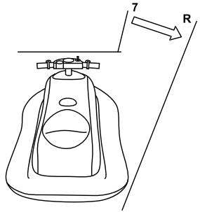
Posizione orizzontale
Quando si posizione Spider-Man™ Super TV Air Jet orizzontalmente o entro 7 gradi di inclinazione a destra e a sinistra, il veicolo visualizzato sulla TV rimarrà dritto.

Inclinazione a destra
Quando si posizione Spider-Man™ Super TV Air Jet a più di 7 gradi a destra, il veicolo visualizzato sulla TV si muove verso destra.

Inclinazione a sinistra
Quando si posizione Spider-Man™ Super TV Air Jet a più di 7 gradi a sinistra, il veicolo visualizzato sulla TV si muove verso sinistra.
Peso massimo: il peso massimo consentito su Spider-Man™ Super TV Air Jet è di 50 kg.
Avverenza: Spider-Man™ Super TV Air Jet non è un gioco inteso come dispositivo galleggiante o come giocattolo da piscina. Non utilizzato nell'acqua o nei loro pressi.
COLLEGARE IL SPIDER-MAN™ SUPER TV AIR JET AL TELEVISORE
- Il tevisore e il Spider-Man™ Super TV Air Jet devono essere spenti.
-
Collegare la Console al tevisore:
-
Inserire il cavo AV (terminale giallo) nella spina ingresso video corrispondente sul teilevisore.
-
Inserire il cavo AV (terminale rosso) nella spina ingresso audio corrispondente sul teilevisore.
-
Accendere il teilevisore e posizionare sul canale AV.
- Accendere il pannello di controllo e la console. Dop un attimo, compare la schermata del menu sul tevisore.
- Una volta selezionato il gioco, premere START per iniziare a ricerca.

Nota:
La console più essere utilizzata come una console di gioco portatile independente. Basta spegnere il Super TV Air Jet e si più gliicare a tutti i giorni soltanto sulla console.
| Problema | Prima di richiedere la riparazione, verificare quanto segue |
| Nessuna imagine sullo schermo | • Spider-Man™ Super TV Air Jet & Console sono accesi? • Il tevisore è accesso? • Il tevisore è su canale A/V o Ingresso? • Il cavo A/V è collegato correttamente? • Le batterie hanno abbastanza potenza? • Le batterie sono inserte correttamente? |
| Sfarfallio sullo schermo o assenza del colore | • Le impostazioni del colore sul tevisore sono corrette? • Le regolazioni fini del canale TV sono imposte correttamente? • Le batterie hanno abbastanza potenza? |
| Manca il sonoro nei giochi | • Il volume TV è troppo basso o è disattivato? • Il cavo audio si è allentato o staccato? |
| Le immagini TV sono instabili | • Regolare i controlli del quadro in verticale e in orizzontale sul tevisore sono a quando l'immagine si stabilizza. • Le batterie hanno abbastanza potenza? |
| Durante il gioco compaiono immagini frastagliate sul tevisore | • Il cavo video è collegato correttamente? • Le batterie hanno abbastanza potenza? |
| L'imagine lampeggia o è distorta | • Provarare a premere il pulsante reset, se non migliorara, spagnere e riprovare. • Le batterie hanno abbastanza potenza? |
| Non si accende | • Le batterie sono inserte correttamente? • L'interruttore è accesso (on)? |
Se il problema permane, seguire le istruzioni fornite nel manuale e ricollegare il sistema passo per passo.
Spider Jet
Aiuta Spider-Man a portare a termine questa corsa mozzafiato prima che scada il tempo. Raccogli i punti bonus e il carburante per augmentare il loro punteggio. Evita gli ostacoli e le boe, o ti faranno perdere tempo!
Funzioni
Comando manubrio: sinistra e destra
Girare la manopola destra: accelera
Premere la maniglia sinistra: frena

Spider Sub
Controlla la palla per distruggere tutte la vita marina sullo schermo.
Sposta il sottomarino a destra e a sinistra per afferrare la palla.
Perderai una vita agli volta che lascerai cadere la palla. Hai a disposizione 5 vite. Ci sono 7 livelli.
Funzioni
Comando manubrio: per far andare il sottomarino a sinistra e a destra Girare la manopola destra: per sparare la palla.

Spider Bike
Sulla sua motocicletta da supereroe, Spider-Man gareggia con i cattivi su un circuito. Completa 3 giri entro il tempo stabilito. Evita i cattivi e gli ostacoli, altrimenti perderai tempo prezioso.
Funzioni
Comando manubrio: sinistra e destra
Girare la manopola destra: accelerata
Premere la maniglia sinistra: frena

Jet Race
Spider-Man (icona 1P) gareggia contro un cattivo (computer - icona COM). Spider-Man delve portare a termine la gara prima del computer. Cerca di evitare i multi ostacoli che ti rallenteranno. I punteggi miglioriali appariranno a display a fine gara.
Funzioni
Comando manubrio: sinistra e destra
Girare la manopola destra: accelerata
Premere la maniglia sinistra: frena

Spider Pong
Tonnellate di palline colorate cadono alla parte superiore dello schermo. Usa la barra per afferrarne quanti più possibile. Si possonoanche afferrare elementi bonus,ma fai attenzioneagli oggetti cattivi.
Funzioni
Comando manubrio: per spostare la barra a sinistra e a destra.

Webdigger
Controlla la ragnatela e la scavatrice di Spider-Man per prendere tutto il denaro e le monetete. Fai presto perché c'è un tempo limite. Ci sono 30 livelli.
Funzioni
Girare la manopola destra: per lanciare la scavatrice/ragnatela e per far scoppiare l'oggetto attuale nella scavatrice/ragnatela nel caso in cui sia disponibile l'icona a forma di bomba.
Premere la manopola sinistra: per ritirare la ragnatela/scavatrice più in fretta.
Di seguito sono illustrate le descrizioni delle varie funzioni e le differenze tra Spider-Man™ Super TV AirJet e la console.

Spider Escape
Nella tabella sottostante sono descripte le corrispondenze nelle funzioni di Spider-Man™ Super TV Air Jet e console.
| Spider-Man™ Super TV Air Jet | Console |
| Manopola a sinistra: Freno a mano | Pulsante B |
| Manopola a destra: Acceleratore/ gas | Pulsante A |
| Spostarsi a destra/ sinistra : Curvare o piegare la moto ad acqua a sinistra o a destra | Tastierino a 8 positioni |
| Accensione => Interruttore On/Off | Interruttore di accensione |
| Reset => Inizia da capo | Reset (Selezione)=> Selezione un gioco |
| Start (Avvio)=> Inizio/ Pausa gioco | Start (Avvio)=> Inizio/ Pausa gioco |
| Indicatore LED => Sinistra, Destra, Acceso, Freno. | Indicatore LED => Acceso. |
AVVERTENZE SU L'EPILESSIA
Leggere prima di un qualsiasi utilizzo di un videogioco da parte vostra o del vostro bambino. Determinate persone possono essere soggetti a crisi epilettiche o a perdite di coscienza alla vista di determinati tipi di luci lampeggianti o di elementi frequenti presenti nell'ambiente quotidiano. Queste persone sono soggetti a crisi guardando determinate immagini televisive o durante l'uso di videogiochi. Questi fenomeni sono apparire nonostante il soggetto non abbia dei precedenti o non sia mai stato colpito da crisi epilettiche. Nel caso in cui voi o un qualsiasi membrà della vostra famiglia abbia presentato in passato sintomi legati all'epilessia (crisi o perdita di coscienza) in presenza di stimoli "luminosi" consultare un medico prima di utilizzato il giocattolo. Consigliamo ai genitori di prestare la massima attenzione durante l'uso dei videogiochi da parte dei bambini. Nel caso in cui voi o i vostri bambini presentiate i seguenti sintomi: vertigini, turbe della vista, contrazioni oculari o muscolari, perdita di coscienza, turbe dell'orientamento, movimento involontario o convulsioni, interrompere immediatamente il gioco e consultare un medico.
PRECAUZIONI DA RISPETTARE QUANDO SI UTILIZZANO VideOGIOCHI
Quando si usa un videogioco che può essere collegato ad uno schermo TV, restare, in piedi o seduti, ad una certa distance dallo schermo, almeno per quanto consentito dal cavo di collegamento. Usare preferibilmente videogiichi che hanno uno schermo piccolo. Evitare di giocare se si è stanchi o si è dormito molto. Assicurarsi che laStanza in cui si gioca sia ben illuminata. Quando si gioca, fare degli intervalli di 10-15 minuti agli ora.
MANUTENZIONE
Per pulire il giocattolo, servirsi unicamente di un panno morbido leggermente inumidito con acqua, evitando qualiasi prodotto detergente. Non esporre il giocattolo alla luce diretta del sole né ad altre sorgenti di calore. Non bagnare. Non smontare il giocattolo e non lasciarlo cadere. Estrarre le batterie in caso di mancato utilizzo per un lungo periodo di tempo.
NOTA: conservare il presente libero d'istruzioni in quanto contiene informazioni importanti. Questo prodotto è coperto alla notre garanzia di 2 anni. Per serviri della garanzia o del servizio di assistenza post vendita, rivolgersi al negotiante muniti di prova d'acquisto. La notre garanzia copre i vizi di materiale o di montaggio imputabili al costruttore a esclusione di qualiasi deterioramento causato dal mancato rispetto delle istruzioni d'uso o di qualiasi intervento inadeguato sul prodotto (smontaggio, esposizione al calore o all'umidità...). Si raccomanda di conservare la confezione per qualiasi riferimento futuro. Nel nostro impegno costante volto al miglioramento dei nostri prodotti, è possibile che i colori e i dettagli dei prodotti illustrati sulla confezione differiscano dal prodotto effettivo. Non adatto a bambini di età inferiore a 36 mesi in quanto contiene piccole parti mobili che potrebbero essere ingoiate.
Avvertenza: Cambiamenti o modifiche all'unità non espressamente approvati alla parte responsabile della conformità potrebbero far perdere all'utente il diritto di utilizzato l'apparecchiatura.
Questo prodotto più essere utilizzato in tutti i paesi dell'Unione Europea accetto Norwegia, Croazia e Romania.
Riferimento: JG6000SP
Progettato e sviluppato in Europa - Fabbricato in China
www.lexibookjunior.com
©2007 LEXIBOOK®
Avverenze per la tutela del l'ambiente
Gli apparecchi elettrici vecchi sono materiali pregiati, non rientrano nei normali rifiuti domestici! Preghiamo quindi i gentili clienti di contribuire alla salvaguardia dell'ambiente e delle risorse e di consignare il presente apparecchio ai centri di raccolta competenti, qualora siano presenti sul territorio.

STARTANLEITUNG
Interruttore On / Off
DICHIARAZIONE DI CONFORMITA
La LEXIBOOK
2, Av de Scandinavie, 91953 Courtaboeuf Cedex, France dichiara sotto la propria responsabilità che il prodotto
Tipodi prodotto: Spider-Man™ Super TV Air JetNumero di codice: JG6000SP
a cui si riferisce la presente dichiarazione, è conforme ai seguenti standard e/o altra documentazione normativa: EN300220-1-3, EN301489-1-3, EN50088
Con la presente si dichiarare che il prodotto sopra citato è conforme a tutti i principali requisiti della direttiva 1999/5/CE.
Julian Chung QA Manager

ManualeFacile