JG6000SP - Videospiel LEXIBOOK - Kostenlose Bedienungsanleitung
Finden Sie kostenlos die Bedienungsanleitung des Geräts JG6000SP LEXIBOOK als PDF.
Benutzerfragen zu JG6000SP LEXIBOOK
0 Frage zu diesem Gerät. Beantworten Sie die, die Sie kennen, oder stellen Sie Ihre eigene.
Eine neue Frage zu diesem Gerät stellen
Laden Sie die Anleitung für Ihr Videospiel kostenlos im PDF-Format! Finden Sie Ihr Handbuch JG6000SP - LEXIBOOK und nehmen Sie Ihr elektronisches Gerät wieder in die Hand. Auf dieser Seite sind alle Dokumente veröffentlicht, die für die Verwendung Ihres Geräts notwendig sind. JG6000SP von der Marke LEXIBOOK.
BEDIENUNGSANLEITUNG JG6000SP LEXIBOOK
In thisem Abschnitt wird kurz erklärt, wie du mit dem Spider-Man™ Super TV Air Jet spielten kannst. Wir empfehlen, dass du dieGPC bedienungsanleitung liest, damit du alles über die Aktivitäten und die Sicherheitsvorkehrungen erfolht.

- In thisem Abschnitt wird kurz erklär, wie du mit dem Spider-Man™ Super TV Air Jet speilen kannst. Wir empfehlen, dass du dieGPCe Bedienungsanleitung liest, damit du alles über die Aktivitäten und die Sicherheitsvorkehrungen erfasrt.

- Lege die Batterien in die Spielkonsole: Schraube das Batteriefach auf der Rückseite der Spielkonsole mit einem Schraubenzieher auf; lege 4 x LR6/AA Batterien in das Fach; schließe das Batteriefach und siehe die Schrauben fest.
Lege jetzt Batterien in die Steuerkonsole des Jetbootes: Schraube das Batteriefach unter der eschwindigkeitsanzeige mit einem Schraubenzieher auf. Lege 4 x LR6/AA Batterien in das Fach; schließe das Batteriefach und siehe die Schrauben fest.

- Schließe die Spielkonsole an den Fernseher an. Der ernseher und der Spider-Man™ Super TV Air Jet MÜSSEN AUSGESCHALTET SEIN. Stecke das gelbe Ende des AV-Kabels in die passende Anschlussbuchse deines Fernsehers und das rote Ende des AV-Kabels in die passende Audio-Anschlussbuchse deines Fernsehers. Schalte deinen Fernseher ein und stelle auf den Videokanal um. Schalte die Steuerkonsole des Jetbootes und die Spielkonsole ein. Nach einem kurzen Moment sollte das Menu-Bild auf dem Fernsehbildschirm erschieren. Wähle ein Spiel, indem du das Jetboot nach rechts oder links neigst oder drücke START auf dem Tastenfeld der Spielkonsole, um mit dem Spieler zu beginnen. Um mehr über die einzelnen Aktivitäten zu erfahren, sieh diritte den Abschnitt mit der Spielliste an.
Erlebe auf dem im Spider-Man™ Super TV Air Jet das echte Jetboot-Abenteuer! Spieler 7 spannende Spieler und jage Bösewichter! Liesitte die folgenden Anweisungen, um zu lernen, wie du deinen neuen Spider-Man™ Super TV Air Jet benutzt und Spieler die verschiedene Spieler.
PAKETINHALT
Im Paket ist Folgenden enthalten:
-
Eine Luftpumper
-
Ein Spider-Man™ Super TV Air Jet
-Bedienungsanleitung - Eine Konsole
- Ein Reparatursatz
WARNING: Entfernen Sie das Verpackungsmaterial, wie Plastikfolien, Klebebänder, Etiketten und Befestigungsbänder aus Metall. Diese sind nicht Bestandteil des Spiels und müssen aus Sicherheitsgründen halten, bzw. Ihr Kind das Spiel benutzt.
EINSETZEN DER BATTERIEN
Der Spider-Man™ Super TV Air Jetariat mit 8 x 1,5V LR6/AA —— Alkaline-Batterien (nicht im Lieferumfang enthalten): 4 Batterien für die Konsole und 4 Batterien für das Steuerfeld.
Konsole:
- Verwende einen Schraubenzieher, um das Batteriefach an der Rückseite der Konsole zu öffnen.
- Setze 4 x LR6/AA-Batterien ein und beachte damit die Polaritätsmarkierungen am Boden des Batteriefachs.
- Schließe das Batteriefach und siehe die Schraube an.
Bedienfeld:
- Öffne das Batteriefach unter dem Tachometer mit einem Schraubenzieher.
- Setze 4 x LR6/AA-Batterien ein und beachte damit die Polaritätsmarkierungen am Boden des Batteriefachs.
- Schließe das Batteriefach undziehe die Schraube an.
Verwenden Sie keine nicht wiederaufladbaren Batterien. Nicht wieder aufladbare Batterien können nicht aufgeladen werden. Aufladbare Batterien müssen vor der Aufladung aus dem Spielzeug genommen werden. Batterien dürfen nur unter Aufsicht eines Erwachsenen aufgeladen werden. Unterschiedliche Batterietypen bzw. alte und neue Batterien dürfen nicht gemischt werden. Es dürfen nur solche Batterien verwendet werden, die gleichwertig zum empfohlenen
Batterietyp sind. Die Batterien müssen korrekt entsprechend der
Polaritätsmarkierungen eingelegt werden. Leere Batterien müssen aus dem Spielzeug genommen werden. Die Anschlüsse dürfen nicht kurz geschlossen werden. Batterien niemals ins Feuer werfen. Entfernen Sie die Batterien, wenn Sie das Spielzeug für längerere Zeit nicht benutzen.


WARNING: Bei Fehlfunktionen des Geräts bzw. bei elektrostatischer Aufladung drücken Sie die Zurücksetz-Taste. Soltte der Fehler anhalten, erhnen Sie die Batterien hereaus und legen Sie wieder ein.
Das Spiel kann auch mit einem WS-Netzteil für Spielwaren mit einer Nennleistung von 9V—500 mA mit positivem Kontakt betrieben werden (nicht im Lieferumfang enthalten).
Befolgeitte这些Hinweise,umdasGeratanzschlieben:
Das Spiel muss ausgeschelt sein. Verbinde den Ausgangsstecker des Stromkabels mit der Eingangsbuchse am Gerät. Schließe den Stromadapter an eine entsprechende Stromquelle an. Schalte das Spiel EIN.

Ein Stromadapter ist kein Spielzeug. Schalte den Stromadapter aus, wenn Du das Gerät über einen längeren Zeitraum nicht benutzt, um zu vermeiden, dass der Adapter überhitzt. Das Spielarf nicht im Freien verwendet werden, wenn es mit dem Netzteil verbunden ist. Der Zustand des Netzteils und der Anschlusskabel muss regelmäßiger überprüft werden. Sollte letzteres beschädigt sein, verwende es erst wieder, nachdem es repariert wurde. Das Spiel ist nicht für Kinder unter 3 Jahren geeignet. Das Spielarf nur mit dem empfohlenen Netzteil verwendet werden.
HINWEIS ZUM INFRAROT

Der Empfänger in der Spielkonsole muss auf das Sendegerät am Lenker des Jetboots ausgerichtet sein, wie in der Grafik oben dargestellt. Die maximale Entfernung zwischen Sendegerät und Empfänger ist bei voller Batterieversorgung 3 Meter.

Konsole:
Netzschalter
Die Konsole ein- und ausschalten.
Start
Für den Spielstart und die Unterbrechung des Spielfortschnitts.
Reset
Für den Zugriff auf das Auswahlmenu während eines Games.

Bedienfeld:
Um den Spider-Man™ Super TV Air Jet Jet ein- und auszuschalten.
Reset (Reinicio)
Für den Zugriff auf das Auswahlmenu während eines Games.
Start
Für den Spielstart und die Unterbrechung des pielfortschnitts.
Weitere Einzelheiten findest du im Abschnitt Spielübersicht.
Einzelheiten findest du im Abschnitt Spielübersicht.

Horizontale Position
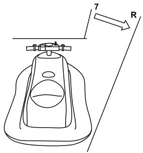
Wenn du den Spider-Man™ Super TV Air Jet waagerecht oder nicht mehr als 7^ nach links oder rechts neigst, wird das Fahrzeug auf dem Fernsehbildschirm geradeaus fahren.

Rechts geneigt
Neigst du den Spider-Man™ Super TV Air Jet mehr als 7^ nach rechts, wird sich das Fahrzeug auf dem Fernsehbildschirm nach rechts bewegen.

Links geneigt
Neigst du den Spider-Man™ Super TV Air Jet mehr als 7^ nach links, wird sich das Fahrzeug auf dem Fernsehbildschirm nach links bewegen.
Maximales Gewicht: Das zugelassene Maximalgewicht für den Spider-Man™ Super TV Air Jet ist 50 Kilogramm (110 lbs).
Achtung: Das Spider-Man™ Super TV Air Jet Spielzeug ist nicht als Schwimmgerät oder spielzeug geeignet. Benutze es nicht im oder in der Höhe von Wasser.
SO VERBINDEST DU DEN SPIDER-MAN™ SUPER TV AIR JET MIT DEM FERNSEHGERÄT
- Das Fernsehgerät und Spider-Man™ Super TV Air Jet mussen ausgeschaltet sein.
-
Verbinde die Konsole mit dem Fernsehgerät.
-
Verbinde das AV-Kabel (gelber Stecker) mit der entsprechenden
Videoeingangsbuchse am Fernsehgerät.
- Verbirde das AV-Kabel (roter Stecker) mit der entsprechenden
Audioeingangsbuchse am Fernsehgerät.
- Schalte das Fernsehgerät EIN und schalte auf den AV-Kanal.
- Schalte die Steuerkonsole und die Konsole EIN. Nach einigen Sekunden wird der Menübildschirm am Fernsehgerät eingebrendet.
- Wahle ein Spiel aus und drücke dann START, um das Spiel zu beginnen.

Anmerkung:
Die Konsole kann als unabhängige tragbare Spielkonsole verwendet werden. Schalte einfach den Spider-Man™ Super TV Air Jet aus und du kannst alle Spieler auch nur mit der Konsole speiten.
FEHLERBEHEBUNG (für ein System mit A-/V-Eingang)
| Problem | Bitte überprüfe die folgenden Punkte, bevor der Kundendienst gerufen wird. |
| Kein Bild auf dem Bildschirm | ·Sind der Spider-Man™ Super TV Air Jet & die Konsole eingeschaltet? ·Ist das Fernsehgerät eingeschaltet? ·Ist das Fernsehgerät mit der Eingangs- oder A-/V-Buchse verbunden? ·Ist das A-/V-Kabel richtig angeschlossen? ·Sind die Batterien schwach? ·Sind die Batterien richtig einlegegt? |
| Der Bildschirm flackert oder keine Farbe | ·Wurde die richtige Farbeinstellung am Fernsehgerät vorgenommen? ·Ist die Senderfeinabstimmung am Fernsehgerät richtig eingestellt? ·Sind die Batterien schwach? |
| Kein Spielklang | ·Ist die Lautstärke am Fernsehgerät zu niedrig oder stumm gescheltet? ·Ist das Audiokabel lose oder wurde es abgenommen? |
| Instabiles Bild am Fernsehgerät | ·Nehmen die vertikale oder horizontale Einstellung am Fernsehgerät vor, bis das Bild stabil ist. ·Sind die Batterien schwach? |
| Während der Wiedergabe werden Ränder am Fernsehbildschirm eingeblendet. | ·Ist das Videokabel richtig angeschlossen? ·Sind die Batterien schwach? |
| Das Bild blinkt oder ist gestört | ·Drücke die Taste Reset. Sollte keine Änderung eintreten, schalte das Gerät aus und wieder ein. ·Sind die Batterien schwach? |
| Kein Strom | ·Sind die Batterien richtig einlegegt? ·Ist der Netzschalter eingeschaltet? |
Sollten weiterhin Probleme auftreten, die these Handbuch heran und verbrinde das System entsprechend der Anleitungen Schritt für Schritt.
Spider Jet
Hilf Spider-Man把这些 aufregende Rennen zu gewinnen, bevordie Zeit um ist. Sammle Bonus-Punkte und Treibstoff fur deinen Spielstand.
Weiche Hindernissen und Bojen aus, sonst verlierst du Zeit!
Spielfunktionen
Lenker: Benutze den Lenker, um nach rechts oder links zu fahren. Rechter Handgriff: Drehe den rechten Handgriff, um zu beschleunigen.
Linker Handgriff: Drücke den Knopf am linken Handgriff, um zu bremsen.

Spider Sub
Zerstö mit dem Ball alles, was sich im Meer auf dem Bildschirm bewegt. Bewege das U-Boot nach links und rechts, um den Ball zu fangen. Jedes Mal, wenn du den fallenden Ball nicht fängst, verlierst du ein Leben. Du hast 5 Leben und es gibt 7 Schwierigkeitsstufen.
Spielfunktionen
Lenker: Benutze den Lenker, um das U-Boot nach rechts oder links zu steuern.
Rechter Handgriff: Drehe den rechten Handgriff, um den Ball zuschreiben.

Spider Bike
Auf einer Rennstrecke tritt Spider-Man mit seinem Superhelden-Motorrad gegen die Bösewichter an. Vollende die drei Runden innerhalb der vorgegebenen Zeit. Weiche den Bösewichtern und Hindernissen aus, sonst verlierst du wertvolle Zeit.
Spielfunktionen
Lenker: Benutze den Lenker, um nach rechts oder links zu fahren.
Rechter Handgriff: Drehe den rechten Handgriff, um zu beschleunigen.
Linker Handgriff: Drücke den Knopf am linken Handgriff, um zu bremsen.

Jet Race
Spider-Man (1P Symbol) führt ein Rennen gegen einen Bösewicht (Computer - Symbol COM). Spider-Man muss das Rennen vor dem Computer beenden. Versuche, den zahlreichen Hindernissen, die dich abbremsen, auszuweichen. Der Beste Punktestand wird am Ende des Rennens angezeigt.
Spielfunktionen
Lenker: Benutze den Lenker, um nach rechts oder links zu fahren.
Rechter Handgriff: Drehe den rechten Handgriff, um zu beschleunigen.
Linker Handgriff: Drücke den Knopf am linken Handgriff, um zu bremsen.

Spider Pong
Jede Menge bunte Balle fallen vom oberen Bildschirmrand.
Benutze den Balken, um so viele Bäle wie möglich aufzufangen.
Du kannst Bonus-Objekte fangen, aber nimm dich vor den bösen Objekten in Acht.
Spielfunktionen
Lenker: Benutze den Lenker, um den Balken nach rechts oder links zu bewegen.

Webdigger
Fange mit Spider-Mans Netz und Bagger alles Geld und alle Munzen. Beeile dich, Denn dir steht nur eine begrenzte Zeit zur Verfugung. Es gibt 30 Schwierigkeitsstufen.
Spielfunktionen
Rechter Handgriff: Drehe den rechten Handgriff, um den Bagger/ das Netz zu starten und um das aktuelle Objekt im Bagger/Netz zu sprengen, wenn ein Bomben-Symbol entscheid. Linker Handgriff: Drücke den Knopf am linken Handgriff, um den Bagger/das Netz schneller zurückziehen.
Unten sind die Beschreibungen der Funktionen und Unterschiede zwischen dem Spider-ManTM Super TV Air Jet und der Spielkonsole dargestellt.

Spider Escape
Zerstöre mit dem Ball alle Ziegel auf dem Bildschirm. Bewege den Balken nach rechts oder links, um den Ball aufzufangen. Jedes Mal, wenn du den fallenden Ball verpasst, verlierst du ein Leben. Du fängst mit zwei Leben an. Es gibt jeder Menge Bonus-Objekte, die du fangen kannst. Aber nimm dich vor den bösen Objekten in Acht (Schädel, -1, etc.). Es gibt 10 Schwierigkeitsstufen.
Spielfunktionen
Lenker: Benutze den Lenker, um den Balken nach links oder rechts zu bewegen.
Rechter Handgriff: Drehe den rechten Handgriff, um den Ball zuschreiben.

Nachfolgend wird die Funktionswise zwischen dem Spider-Man™ Super TV Air Jet und der Konsole dargestellt.
| Spider-Man™ Super TV Air Jet | Konsole |
| Linkere Griff: Handbremse | B Taste |
| Rechter Drehgriff: Gaspedal/Drosselung | A Taste |
| Bewegung nach links/rechts: Schieber oder lehnen des Seascooter nach links oder rechts | 8-Wege-Schaltung |
| Power => Netzschalter | Power => Ein- und Ausschalter |
| Reset => Neustart | Reset => Spielauswahl |
| Start => Spielstart/Unterbrechung | Start => Spielstart/Unterbrechung |
| LED-Meldeleuche => Links, Rechts, Power, Bremse. | LED-Meldeleuche => Power. |
Bitte lessen Sie diesen Hinweis, bevor Sie selbst ein Videospielzeug benutzen oder ihre Kinder damitspielenlassen. Bei gewissen Personen kann es zu epileptischen Anfallen oder Bewusstseinsstörungenkommen, wenn sie bestimmtenBlitzlichternoder Lichteffektem im tätiglichen Leben ausgesetzt werden. Diese Personen konnen beim Anblick von gewissen Bildschirmfrequenzen oder bei Benutzung gewisser Videospiele einen Anfall erleiden.Dieses Phänomen kann selbst dann auftreten, wenn die betroffene Person keine medizinische Vorgeschichte aufweist oder bisher noch niemals einen epileptischen Anfall erlitten hat.Falls bei Ihnen oder einem Ihrer Familienmitglieder unter Einwirkung von Blitzlichtern bereits mit Epilepsie zusammenhängende Symptome (Anfälle oder Bewusstseinsverlust) aufgetreten sind, wenden Sie sichitte an Ihren Arzt, bevor Sie das Spiel benutzen.Eltern sollenn ihre Kinder bei der Benutzung von Videospieren beaufsichtigen.Solle bei Ihnen oder Ihrem Kind während der Benutzung eines Videospiels Symptome wie Schwindelgefuhl, Sehstorungen, Augen- oder Muskelzucken, Bewusstseinsverlust, Desorientiertheit oder jegliche Art von unfreiwilligen Bewegungen bzw. Krampfen auftreten, so beenden Sie SOFORT das Spiel undziehen Sie Ihren Arzt zu Rate.
VORKEHRUNGEN, DIE BEI VIDEOSPIELEN IN JEDEM FALL ZU TREFFEN SIND
Wenn Sie eine Spielkonsole benutzen, die an den Bildschirm Ihres Fernsehgerätes angeschlossen werden kann, setzen oder stellen Sie sichitte relativweit vom Bildschirm entfternt, undzarw soweit,wie es die Langle des Kabels erlaubt.Machen Sie vorrangig solche Videospiele, die an einemkleinen Bildschirm gespieilt werden konnen.Verzichten Sie auf Videospiele, wenn Sie mude sindoder Ihnen Schlaf felt. Stellen Sieitte sicher, dass Sie in einem Raum playen, der hell oder gut ausgeleucht ist. Wenn Sie Videospiele machen, sollten Sie jeder Stunde eine Pause von 10 bis 15 Minuten einlagen.
FLEGE UND WARTUNG
Verwenden Sie zur Reinigung des Spielzeugs nur ein weiches, leicht angefeuchtetes Tuch und niemals Reinigungsmittel. Setzen Sie das Spielzeug nicht direkter Sonnenbestrahlung oder anderen Hitzequellen aus. Bringen Sie es auf keinen Fall mit Nasse in Berührung. Nehmen Sie es nicht auseinander und halten Sie es nicht fallen. Entnehmen Sie die Batterien, falls das Spielzeug über einen längeren Zeitraum hinweg nicht in Gebrauch ist.
Anmerkung:itte bewahren Sie these Bedienungsanleitung auf, da sie wichtige Hinweise enthalt. Dieses Produkt hat 2 Jahre Garantie. Für jeder Inanspruchnahme der Garantie oder des Kundendienstes, kontaktieren Sieitte Ihren Einzelhander unter Vorlage der Einkaufsquittung. Unsere Garantie deckt Materialschaden oder Installationsfehler, die auf den Hersteller zurückzuführen sind. Nicht eingeschlossen sind Schaden, die durch Missachtung der Bedienungsanleitung oder auf unsachgemäß Behandlung (wie z. B. unbefugtes Öffnen, Aussetzen von Hitze oder Feuchtigkeit, usw.) zurückzuführen sind. Wir empfehlen, die Verpackung fur spätere Konsultationen aufzubewahren. Bedingt durch unser ständiges Bemühen nach Verbesserung, kann das Produkt möglicherweise in Farben und Details von der Verpackungsabbildung abweichen. Nicht fur Kinder unter 36 Monaten geeignet, da eskleine, abnehmbare Einzelteile enthalt, die verschlussk werden konnten.
Warning: Veränderungen an thisem Gerät, die nicht ausdrücklich genehmigt sind, führen zu einem Benutzungsverbot des Geräts.
Dieses Produkt darf in allen Ländern der europäischen Union verwendet werden, nicht jedoch in Norwegen, Kroatien und Rumänien.
Referenznummer: JG6000SP
Design und Entwicklung in Europa - Made in China
www.lexibookjunior.com
©2007 LEXIBOOK®
Hinweise zum Umweltschutz
Alt-Elektrogeräte sind Wertstoffe, sie gehören daher nicht in den Hausmüll! Wir möchten Sie daher bitten, uns mit ihrem aktiven Beitragag bei der ssourcenschonung und beim Umweltschutz zu Unterstützung und diesen Gerät bei den (falls vorhanden) eingerichteten Rücknahmestellen abzugeben.

KONFORMITÄTSERKLÄRUNG
Wir, LEXIBOOK
2, Av de Scandinavie, 91953 Courtaboeuf Cedex, France
erklaren das wir unter unsere Verantwortung das Produkt
Art des Produktes: Spider-Man™ Super TV Air Jet
Articlel Nr.:JG6000SP
welsches dieser Erklärung betriff, folgende Standards und/oder Normen entspricht
EN300220-1-3, EN301489-1-3, EN50088
Wir erklären hiermit dass das oben genannte Produkt Konform ist zu alle wichtigen
Anforderungen von der 1999/5/EC Directive.
Julian Chung
QA Manager

CONFORMITEITSVERKLARING
Wij, LEXIBOOK
2, Av de Scandinavie, 91953 Courtaboeuf Cedex, France
EinfachAnleitung