SOFF-CUT 150 - Betonzagen HUSQVARNA - Gratis gebruiksaanwijzing en handleiding
Vind de handleiding van het apparaat gratis SOFF-CUT 150 HUSQVARNA in PDF-formaat.
Gebruikersvragen over SOFF-CUT 150 HUSQVARNA
0 vraag over dit apparaat. Beantwoord die u kent of stel uw eigen vraag.
Stel een nieuwe vraag over dit apparaat
Download de handleiding voor uw Betonzagen in PDF-formaat gratis! Vind uw handleiding SOFF-CUT 150 - HUSQVARNA en neem uw elektronisch apparaat weer in handen. Op deze pagina staan alle documenten die nodig zijn voor het gebruik van uw apparaat. SOFF-CUT 150 van het merk HUSQVARNA.
GEBRUIKSAANWIJZING SOFF-CUT 150 HUSQVARNA
Neem de gebruiksaanwijzing grondig door en gebruik de machine Niet voor u alles duidelijk heeft begrepen.

Symbolen op de machine
WAARSCHUWING! Wanneer de machine onjuist of slordig worden gebruikt, kan het een gevaarlijk gereedschap zich, dat ernstig letsel of overlijden van de gebruiker of anderen kan veroorzaken.
Neem de gebruiksaanwijzing grondig door en gebruik de machine nicht voor u alles duidelijk hebts begrepen.
Hou al uw lichaamsdelen uit de buurt van hete oppervlakken.
De uitlaatgassen van de motor
koolmonoxide bevatten, hetgeen
koolmonoxidevergifting kan
veroorzaken. Start of gebruik de machine
daarom nooit binnenschuis, of op een plek
waar de luchtcirculatie Niet goed is.
Stop de motor en LAST hem voor het tanken enkele minuten afkoelen.
Vuur, open vlam en roken verboden.
Aan (lopen)
Uit (stoppen)
Motorolie
Te laag oliepeil. Vul de tank tot het correcte niveau met motorolie.
Dit product voldoet aan de geldende CE-richtlijnen.
Geluidsemissieaar de omgeving volgens de richtlijnen van de Europese Gemeenschap.De emissie van de machine wordt aangegeven in het hoofdstuk Technische geevens en opplaatjes.
Milieuetikettering. Dit symbol op het product of de verpakking geeft aan dat het product Niet mag worden behandeld als huishoudelijk afval. Het要去 inplaats waarvan ingeleverd worden bij een geschikt recyclcestation voor de recycling van elektrische en elektronische apparatuur.
Door ervoor te zorgen dat dit product goed worden verwerkt, kurz u meehelen aan het voorkomen van potentielle negatieve efecten voor milieu en mensen, die anders veroorzaakt konnen worden door een Niet juiste afvalverwerking van dit product.
Voor meer gedetailleerde informatatie over recycling van dit product kurz u contact opnemen met uw gemeente, uw vuilophaalcentrale of de winkel waar u het product hebt gekocht.













Overige op de machine aangegeven symbolen/plaatjes verwijzenaar specifieke eisen aan certificering op bepaalde markten.
Toelichting op de waarschuwingsniveauaus
De waarschuwingen zijn onderverdeeld in drie niveaus.
WAARSCHUWING!

WAARSCHUWING! Wordt gebruikt indien er een risico bestaat op ernstig of fataal letsel voor de gebruiker of schade aan de omgeving wanner de instructies in de handleiding Niet worden gevolgd.
VOORZICTIG!

VOORZICHTIG! Wortd gebruikt indien er een risico bestaat op letsel voor de gebruiker of schade aan de omgeving wanner de instructies in de handleiding nicht worden gevolgd.
LET OPI!
LET OP! Wordt gebruikt indien er een risico bestaat op schade aan materialen of de machine wanner de instructies in de handleiding nicht worden gevolgd.
Inhoud
VERKLARING VAN DE SYMBOLEN
Symbolen op de machine 2
Toelichting op de waarschuwingsniveauaus 2
INHOU
Inhoud 3
PRESENTATIE
Besteklant! 4
Kenmerken 4
PRESENTATIE
Wat is wat op de machine? 5
VEILIGHEIDSUITRUSTING VOOR DE MACHINE
Algemeen 6
SLIJPSCHIJVEN
Algemeen 8
Excel-bladen 8
Transport en opbergen 8
MONTAGE EN AFSTELLINGEN
Algemeen 9
Uitpakken 9
Monteer het zaagblad 9
Controles voor gebruik 10
Transport 10
BRANDSTOFHANTERING
Algemeen 11
Brandstof 11
Tanken 11
Afvoeren 11
Transport en opbergen 11
BEDIENING
Veiligheidsuitrusting 12
Algemeneveiligheidsinstructies 12
Werkveiligigkeit 13
Transport en opbergen 14
Starten en stoppen 15
ONDERHOUD
Algemeen 16
Onderhoudsschema 16
Schoonmaken 17
Controle 17
Vervangen 18
Aanvullende motorinformation 18
OPSPOREN VAN STORINGEN
Storingsschema 19
TECHNISCHE GEGEVENS
Technische gegevens 20
EG-verklaring van overeenstemming 22
Beste klant!
Hartelijk dank dat u voor een Husqvarna-product heb te gekozen!
Wij hopen dat u tevreden zult�zijn met uw machine en dat\ deze u gedurende lange tijd za vergezellen. Met de aankoop van een van onze producten krijgt u de beschikking over\ professionele hulp voor reparaties en service. Als u uw\ machine Niet hebt gekocht bij een van onze erkende dealers,\ vraag hem dan waar de dichtstbijzijnde erkende werkplaats is.
Deze gebruiksaanwijzing is een waardevol document. Zorg dat u hem altiijd bij de hand hebt op de werkplek. Door de inhoud (gebruik, service, onderhoud enz.) te volgen=kunt u de levensduur van uw machine en de tweedehands waarde aanzienlijk verlengen. Mocht u uw machine verkopen moet u ervoor zorgen de gebruiksaanwijzing aan de neue eigenaar over te dragen.
Meer dan 300aar innovatie
Husqvarna AB is een Zweeds bedrijf met een geschiedenis die teruggaat tot 1689, toen de Zweedse koning Karl XI een fabriek liet bouwen voor de productie van musketten. Op dat moment was de basis al gelegd voor de constructievaardigheden die ten grundslag liggen aan de ontwikkeling van een aantal producten die wereldwijd toonaangevend zich, zoals jachtwapens, fietsen, motorfietsen, huishoudelijkke apparatuur, naaimachines en buitenproducten.
Husqvarna is weltdeider op het gebied van elektrische buitenproducten voor bosbouw, park-, gazon- en tuinonderhoud, alsmede zaagapparatuur en diamantgereedschap voor de bouw- en steenindustrie.
Verantwoordelijkheid gebruiker
Het is de verantwoordelijkheid van de eigenaar/gebruiker om ervoor te zorgen dat de bruiker voldoende weet over een veilig bruuk van de machine. Leidinggevenden en bruikers要去en de bruiksaaanwijzing hebben gelezen en begrepen. Ze要去en op de hoogte zijn van:
- De veiligheidsinstrumenties voor de machine.
- De möglichke toepassingen en de beperkingen van de machine.
- De manier waarop de machine要去 worden gezruikt en onderhonden.
Mogelijk zijn er nationale wettelijk voorschriften van toepassing op het gebruik van deze machine. Onderzoek welke wetgeving van toepassing is op deplaats waar u werkdt voordat u de machine in gebruik neemt.
Specifieke bepalingen van de fabrikant
Alle informatatie en gevevens in deze gebruiksaanwijzing waren van toepassing op de datum dat deze gebruiksaanwijzing ter perse ging.
Husqvarna AB werkkt voortdurend aan het verder ontwikkelen van haar producten en houdt zich dan ook hetrecht voor om+zonder aankondiging vooraf wijzigingen in o.a. vorm en uiterlijk door te voeren.
Kenmerken
De producten van Husqvarna anderscheiden zich door waarden zoals hoge prestaties, betrouwbaarheid, innovatie technologie, geavanceerde technische oplossingen en milieuuoverwegingen.
Hieronder worden enkele uneie kenmerken van uw product beschreiben.
Early Entry-droogzaagsysteme
Het geoctrooierde Soff-Cut Ultra Early Entry-droogzaagsysteme beperkt het risico op willekeurige barstendoordat het beton heel vroeg kan worden doorgeslepen,meestal binnen 1 tot 2 eer nadat het afwerkingsproces is voltooid.
Geluideddempende en stofbeperkende bladblokkeringsbehuzing
Dankzij de geoctrooieerde geluideddempende en stofbeperkende bladblokkerings- en glijplaattechnologie, in combinatie met Husqvarna Excel-bladen, kan extra vroeg opdezelfde dag worden gezaagd met minimale afbrokkeling en versplintering.
Trillingsarme Robin-motor
Trillingsarme 3,2 kW Robin-motor met cyclonisch luchtfilter en een oliewaarschuwingssystem dat de motor stopt wanner het oliepeil te laag is. Gemakkelijke trekstarter
Overige kenmerken
- Model voor handmatig aanduwen met handbedieningselementen voor alle functies
- Mechanische bladdiepte-instelling.
- PolyurethaanWIelen die geen afdrukken achterlaten en nicht kleven.
- Zeer sterk frame uit een stuk.
Inklapbare handgreep.
Opvallend framevormige rolkooi. - Geoctrooierde veiligheidsas.
- Intrekbaar frontgeleidersysteme

Wat is wat op de machine?
1 Bladvrijgavehendel
2 Bovenste hendel
3 Borgpen, handgreep
4 Lagere handgreep
5 Rolkooi
6 Instelbare dieptestop
7 Zaagframe
8 Frontgeleider
9 Bladblokkering
10 Lexan kap
11 Beschermkap bladblokkering
12 Deksel voor brandstoftank
13 Brandstoftank
14 Gashendel
15 Starthendel
16 Brandstofklep
17 Brandstofhouser
18 Chokehendel
19 Carburateur
20 Cyclonische voorreiniger
21 Uitlaat
22 Afdekkap geluidemper
23 Afdekkap geluidemper
24 Peilstok/olie bijvullen
25 Aftapplug
26 AAN/UIT-schakelaar
27 Glijplaat (Niet inbegren)
28 Gebruiksaanwijzing
Algemeen

WAARSCHUWING! Gebruik nooit een machine als de veiligheidsonderdelen kapot zich. Als uw machine Niet door alle controles komt,要去 ermee maar uw serviceworkplaats voor reparatie. Tijdens de werkzaamheden die in dit hoofdstuk worden beschreiben,要去 de motor zichuitgeschakeld, tensij anders aangegeven.
In dit hoofdstuk worden verklaard wat de veiligheidsonderdelen van de machine zich, welke functie ze hebben en hoe de contrôle en het onderhoud moeten uitgevoerd worden om hun goede werkig veilig te stellen.
AAN/UIT-schakelaar
De AAN/UIT-schakelaar dient om de motor in- en uit te schakelen.

De AAN/UIT-schakelaar controlleren
- Zet de schakelaar in de AAN-positie (1) om de motor te starten. Het blad begint te draaien wonneer de motor is ingeschakeld.
- Zet de schakelaar in de UIT-positie (O). Controller of de motor stocht.
Beschermkap bladblokkering
De bladblokkering beschermt de gebruiker gegen het roterende blad en beperkt de hoeveelheid stof.

De beschemkap van de bladblokkering controleren
- Controller of de beschermkap Niet beschadigd is en geen barsten vertoont. Vervang de beschermkap als ze gebarsten is of slagen te verduren gehad heeft.
- Om de gebruiker te beschermen,要去 een beschadigde bladblokkering worden verrangen.
- Controller altijd of de beschermkap juist is aangebrachte voor u de machine start.
Lexan kap
- De lexan kap dient voornamelijk om stof te beperken, maar helpt ook bij het afbuigen van vrijkomende deeltjes.

De lexan kap controleren
- Controller of de beschermkap Niet beschadigd is en geen barsten vertoont. Vervang de beschermkap als ze gebarsten is of slagen te verduren gehad heeft.
- Controller als tijd of de beschermkap juist is aangebrachte voor u de machine start.
- Verzeker u ervan dat de lexan kap vrij op en neer kan bewegen.
Rolkooi
De rolkooi beschermt de apparatuur/motor en gebruiker gegen beschadigingen.

De rolkooi controlleren
- Controller of de beschermkap Niet beschadigd is en geen barsten vertoont. Vervang de beschermkap als ze gebarsten is of slagen te verduren gehad heeft.
- Controller als tijd of de beschermkap juist is aangebrachte voor u de machine start.
Riembescherming
De riembescherming beschermt de gebruiker gegen de draaiende schijven en riem.

- Controller of de beschermkap Niet beschadigd is en geen barsten vertoont. Vervang de beschermkap als ze gebarsten is of slagen te verduren gehad heeft.
- Controller altijd of de beschermkap juist is aangebrachte voor u de machine start.
Schijfbescherming
De schijfbescherming beschermt de gebruiker gegen een draaiende bladasschijf.

De schijfbescherming controleren
- Controller of de beschermkap Niet beschadigd is en geen barsten vertoont. Vervang de beschermkap als ze gebarsten is of slagen te verduren gehad heeft.
- Controller altijd of de beschermkap juist is aangebrachte voor u de machine start.
Beschermkap geluidemper
De beschemkap van de geluiddempo voorkomt dat de gebruiker in aanraking komt met de warme geluiddempo.

De beschemkap van de geluiddempofter controeren
- Controller of de beschermkap Niet beschadigd is en geen barsten vertoont. Vervang de beschermkap als ze gebarsten is of slagen te verduren gehad heeft.
- Controller altijd of de beschermkap juist is aangebrachte voor u de machine start.
Algemeen

VOORZICHTIG! Inspector het blad op beschadigingen, barsten, verlies van segmenten, verrorming, oververhitting, overmatige slijtage of een beschadigde opening voor de drievoudige as. Als het blad een van deze problemen vertoont, moet u het blad weglooien.
Verzeker u ervan dat het blad geschikt is voor een maximale bedrijfssnelheid vaneer dan 4450 tsp.
Gebruik uitsluitend Husqvarna Excel-bladen of bladen die geschikt zijn voor een maximale bedrijfsnelheid van meer dan 4450 tspm.
Excel-bladen

VOORZICHTIG! Husqvarna diamantzaagbladen uit de Excel-serie+zijn specifiek ontworpen voor het dooursijpen van vers beton. Gebruik deze bladen nooit voor het dooursijpen van andere materialen, omdat dit kan leiden tot bladdefecten of een gevaarlijke situatie.
De Excel-serie is specifiek ontworpen voor het Soff-Cut Ultra Early Entry-droogzaagsystem voor vers beton.
De specialaobladen zijn ontworpen voor een hogere snelheid en een langere levensduur bij het doorslijpen van zeer uiteenlopende aggregaten.
Kies het juiste blad voor uw toepassing. Neem contact op met uwplaatselijke servicedealer als u Niet zeker weet welk type blad u moet gebruiken.
| Excel 1000 paars | XL6-1000 | Ultrahard aggregaat en nicht-schurend zand. |
| Excel 2000 groen | XL6-2000 | Hard tot ultrahard aggregaat en nicht-schurend zand. |
| Excel 3000 rood | XL6-3000 | Hard aggregaat, middelmatig schurend zand. |
| Excel 4000 oranje | XL6-4000 | Middelmatig hard aggregaat, middelmatig schurend zand. |
| Excel 5000 geel | XL6-5000 | Middelmatig hard tot zacht aggregaat, schurend zand. |
| Excel 6000 zwart | XL6-6000 | Zacht aggregaat,zereshurend zand. |
Transport en opbergen
- Demonteer het blad voordat u de machine vervoert of opslaat.
Bewaar het zaagblad droog. - Kijkijke slijpschijven na op transport- of opslagschade.
Algemeen

WAARSCHUWING! Tijdens de werkzaamheden die in dit hoofdstuk worden beschreiben, moet de motor zich uitgeschakeld, tenzij anders aangegeven. Verwijder de ontstekingskabel van de bougie om te voorkomen dat de motor onbedoeld kan starten.
Uitpakken
Haal de zaag uit de verpakking. Gebruik de juiste tiltechniek. De zaag要去 worden opgetild van de centrale handgreep op de rolkooi.
- Volg de lokale voorschriften op voor het afvoeren of recyclen van het verpakkingsmaterial.
Bij de zaag is geen diamantzaagblad of glijplaat inbegren.
U kunt het juiste blad en de glijplaat aanschaffen via uw plaatselijke dealer van Husqvarna Construction Products.
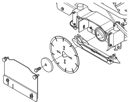
Monteer het zaagblad

VOORZICHTIG! Inspector het blad op beschadigingen, barsten, verlies van segmenten, verrorming, oververhitting, overmatige slijtage of een beschadigde opening voor de drievoudige as. Als het blad een van deze problemen vertoont, moet u het blad weglooien.
Verzeker u ervan dat het blad geschikt is voor een maximale bedrijfssnelheid vaneer dan 4450 tsp.
Inspecteer de bladflenzen op beschadigingen en overmatige slijtage, en controllerer of ze schoon zijn. Het blad要去 precies passen op een schone, onbeschadigde drieboudige as.
- Klap de handgreep open maar de volledig verticale stand.
- Breng de borgpen aan.

Haal het blad omhoog door het stuur met beiden handen omlaag te drukken tot dit zich volledig in de vergrendelde positie bevindt.
- Verwijder de beschermkap van de bladblokkering.

- Steek een van de twee bijgeleverde sleutels in de sleuf aan de voorzijde van de motor en zet de andere sleutel op de bladasbout.

- Draai de bladas gegen de wijzers van de klok in terwijl u de sleutel op de bladasbout houdt, totdat de tweede sleutel grip krijgt op de vlakke delen aan het andere uiteinde van de as.
- Verwijder de bladasbout door de bout gegen de wijzers van de klok in te blijven draaien.
- Verwijder de buitenste bladflens.
- Gooi de oude glijplaat weg.
LET OP! De geoctroieerde glijplaat is het belangrijkste onderdeel van het Soff-Cut Ultra Early Entry-system. Als deplaat verbogen, verdraaid of beschadigd is, kan dit leiden tot het versplinteren of afbrokkelen van een zaagsnede. Sla glijplaten zorgvuldig op en installeer ze op correcte wijze. Installer bij elk(AP)ne blad ook een(AP)nieuwe glijplaat. Gebruik glijplaten nooit opnieuw.
-
Verwijder al het beton zorgvuldig van de as, de bladblokkering en de beschemkap van de bladblokkering.
-
Monteer het schone blad op de bladas.

- Monteer de buitenste bladflens. Draai de bout stevig vast.
- Installeer een neue glijplaat.
Haak de voorzijde van de glijplaat aan de pen van de bladblokkeringsas.
Koppel dechterste bladblokkeringsas aan dechterzijde van de glijplaat door het aanbrengen van de borgpen.
- Monteer de beschemkap van de bladblokkering. Draai hem vast totdat hij volledig gegen de bladblokkering rust.
- Til de voor- enchterzijde van de glijplaat omhoog om ervoor te zorgen dat het blad ongehinderd door de glijplaat schuift.
- Verzeker u ervan dat de lexan kap vrij op en neer kan bewegen.
Controles vór gezruik
De motor worden geleverd zonder olie. Vul de tank tot het correcte niveau met motorolie. Zie Technische gegevens voor informatatie over het aanbevolen type olie.
Transport
- Verwijlder de borgpen.
Klap de handgreep maar voren. - Klap de geleidearm terug.
- De zaag要去 worden opgetild van de centrale handgreep op de rolkooi.

Algemeen

WAARSCHUWING! Een motor lately lopen in een afgesloten of slecht geventileerde ruimte kan dodelijk ongelukkenveroorzaken door verstikking of koolmonoxidevergiftiging. Gebruik ventilatoren om te zorgen voor een goede luchtcirculatie bij het werken in sleuven en greppels met een diepte vaneer dan een meter.
Brandstof en brandstofdampen zijn zeer brandgevaarlijk en+kunnen leiden tot ernstig letsel bij inademing en contact met de huid. Wees waarom voorzichtig wonneur u met brandstof werkt en zorg voor goede luchtventilatie bij de brandstofhantering.
De uitlaatgassen van de motor zijn heet en hunnen vonden bevatten die brand kurenveroorzaken. Start de machine waarom nooit binnenshuis of in de buurt vanlicht ontvlambaar materiaal!
Rook Niet en planta ook geen warm voorwerp in de buurt van de brandstof.
Brandstof
Gebruik loodvrije benzine met een octaangehalte van 87 of hoger.
Het is möglichk om loodvrijne benzine met maximaal 10% ethanol (E10) te gebruiken. Wanneer de benzine更是 ethanol bevat, kuren er start- en/of prestatieproblemen ontstaan. Daarnaast kan schade worden veroorzaakt aan metalen, rubberen en kunststof onderdelen van het brandstofsystemen en kan er brandgevaar ontstaan. De motor zal nicht werken op benzine die op de markt worden gebracht als E-85 (85% ethanol).
Gebruik geen benzine die methanol bevat.
Gebruik geen brandstof die ouder is dan 30 dagen. Oude brandstof kan de werkig verstoren en schade aan het brandstofsysteme verroorzaken.
Tanken

WAARSCHUWING! Stop de motor en LAST hem voor het tanken enkele minuten afkoelen. Vul brandstof bij in een goed geventileerde ruimte. Vul brandstof nooit binnenshuis bij.
Open de dop van de tank voorzichtig wanner u wilt tanken zodate eventuele overdruk langzaam verdwijnt. Laat de brandstoftank nooit overlopen.
Maak de omgeving rond de tankdop schoon.
Draai de dop van de tank goed vast na het tanken. Controller op brandstoflekkage.
Door nalatigheid kan er brand ontstaan.
Verwijder de machine van het voertuig en vul de brandstof bij op de grond. Als dit Niet möglich is, moet u de brandstof van de apparatuur bijvullen met behulp van een draagbare jerrycan inplaats van met een benzinevulpistool.
Gebruik uitsluitend goedgekeurde benzinejerrycans
Vul jerrycans nooit in een voertuig. Plaats de jerrycan voor het vullen altijd op de grond en uit de buurt van uw voertuig.
Houd het vulpistol in contact met de rand van de brandstoftank of jerrycanopening tot het tanken is voltooid. Maak geen gebruik van een automatische sluitklep.
Start de machine nooit:
- Indien u brandstof of motorolie op de machine hebts gemorst. Droog alles af en LAST de benzineresten verdampen.
- Als u brandstof op uzelf of op uw kleding gemorst heeft, trek schone kleding aan. Was de lichaamsdelen die in contact+zijn geweest met brandstof. Gebruik water en zeep.
- Als de machine brandstof lekt. Controller de tankdop en de brandstoffleidingen regelmatig op lekkage.
Afvoeren
Gebruike motorolie is gevaarlijk voor de gezondheid en mag Niet op de grond of in de natuur gegood worden, maar要去 ingeleverd worden bij de werkplaats of de aangewezenplaats voor verworking.
Transport en opbergen
Bewaar en vervoer de machine en brandstof zo, dat eventuele lekkage en dampen Niet in contact+kennen met vonden of open vuur, bijvoorbeeld van elektrische machines, elektrische motoren, stopcontacten/schakelaars, verwarmingsketels e.d.
Bij opslag en vervoer van brandstof moeten alsijd specialaal voor dat doel bestemde en goedgekeurde tanks worden gebruikt.
Opslag voor langearend
Als de machine gedurende langeijd Niet gebruikt zal worden, moet de brandstoftank leeggemaakt worden. Vraag bij uw tankstation of bij de gemeente waar u de afgetapte brandstof kwijt kan.
- Gebruik de machine nooit zonder de möglichkheid hulp in te roepen in geval van nood.
Persoonlijke veiligheidsuitrusting
Bij al het gebruik van de machine要去 goedgekeurde persoonlijke beschermingsuitrusting gebruikt worden. Persoonlijke beschermingsuitrusting elimineert de risico's Niet, maar verminder het schadelijk effect in geval van een ongeval. Vraag uw dealer om raad wonneer u uw utrusting koopt.

WAARSCHUWING! Het gebruik van producten die materiaal snijden, schuren, boren, polijsten of vormen, kan stof en dampen genereren die schadelijke chemicalien konnen bevatten. Zoek uit hoe het materiaal waarmee u werkt is samengesteld en draag een geschikt stofmasker.
Langdurige blootstelling aan lawaai kan leiden tot permanente gehoorbeschadiging. Gebruik waarom.altijd goedgekeurde gehoorbescherming. Wees altijd bedacht op waarschuwingssignalen of geroep wanner u gehoorbescherming gebruikt. Doe de gehoorbescherming altijd af zodra de motor is gestopt.
Draag altijd:
Goedgekeurde veiligheidshelm
Gehoorbeschemmers
- Een goedgekeurde oogbescherming.
Stofmasker
Sterke, grippaste handschoenen.
- Nauwsluitende, sterke en prettige kleding die volledige bewegingsvrijheid toelaat.
- Laarzen met stalen neus en anti-slip zool.
- Draag rubberen werkhandschoenen om contact met nat beton te vermijden,,ondat dit ernstige huidirritatie kanveroorzaken.
Let erop dat kleding, lang haar en sieraden in de bewegende delen vast können raken.
Andere beschemingsuitrusting

VOORZICHTIG! Tijdens het werk met de machine+kunnen vonden ontstaan en brand veroorzaken. Houd waarom algtd brandblusapparatuur bij de hand.
Brandblusser
U moet.altijd een EHBO-kit bij de hand hebben.
Algemene veiligheidsinstructies

WAARSCHUWING! Lees alle veiligheidswaarschuwingen en instructies door. Het negeren van waarschuwingen en instructies kan elektrische schokken, brand en/of ernstig letsel tot gevolg hebben.
In dit hoofdstuk worden de basisveiligheidsregels voor het gebruik van de machine behandeld. De gegeven informatie kan nooit de kennis verrangen die een vakman via oppledingen en praktische ervaring heeft verworven.
- Neem de gebruiksaanwijzing grondig door en gebruik de machine Niet voor u alles duidelijk heeft begrepen.
Denk erom dat het uw verantwoordelijkheid als gebruiker is om mensen en hun eigendommen nicht bloot te stellen aan ongelukken of gevaar. - Alle operators要去en worden opgeleid in het gebruik van de machine. De eigenaar is ervoor verantwoordelijk dat de operators een oppleiding krijgen.
- Houd de machine schoon. Aanduidingen en stickers要去en volledig leesbaar�.

WAARSCHUWING! Wonneer de machine onjuist of slordig worden gebruikt, kan het een gevaarlijk gereedschap zich, dat ernstig letsel of overlijden van de gebruiker of anderen kan veroorzaken.
Laat kinderen of andere Personen die nicht zich opgeleid om met de machine om te gaan,DEXe nooit gebruiken of onderhoden.
Laat nooit een ander de machine gebruiken zonder u ervan te verzekeren dat ze de inhoud van de gebruiksaanwijzing hebben begrepen.
Gebruik de machine nooit als u moe bent, alcohol heeft gedronken of medicijnen heeft ingenomen, die uw gezichtsvermögen, beoordelingsvermögen of coordinatievermögen können beinvloeden.

WAARSCHUWING! Niet goedgekeurde wijzigingen en/of nicht-originele onderdelen kennen tot ernstige verwondingen of het overlijden van zowel gebruiker of anderen leiden. De oorspronkelijke vormgeving van de machine mag in geen enkel geval gewijzigd worden zonder toestemming van de fabrikant.
Wijzig deze machine nooit zo dat hij nicht langer overeenstemt met de origineleuitvoering, en gebruik de machine Niet als udenkt dat anderen hem hebben gewijzigd.
Gebruik nooit een machine die defect is. Volg de onderhouds-, controle- en service-instructions van deze gebruiksaanwijzing. Bepaalde onderhouds- en servicemaatregelen要去en uitgevoerd worden door opgeleide en gekwalificeerde specialisten. Zie instructies in het hoofdstuk Onderhoud.
Men要去 altijd originele onderden gebruiken.

WAARSCHUWING! Deze machine produeertijdens bedrijf een elektromagnetisch veld. Dit veld kan onder bepaalde omstandigheden de werking van actieve of passieve medische implantaten verstoren. Om het risico op ernstig of fataal letsel te beperken, raden we personen met een medisch implantaat aan om contact op te nemen met hun arts en de fabrikant van het medische implantaat voordat ze deze machine gaan bedieren.
Gebruik altijd uw gezond verstand.
Het is nicht möglichk om elke möglichk situatie te vermelden. Wees algijd voorzichtig in gebruik uw gezond verstand. Als u in een situatie belandt waarin u zich Niet veilig voelt, dient u een expert te raadplegen. Wend u tot uw dealer, uw serviceworkplaats of een ervaren gebruiker. Onderneem geen werkzaamheden waaroor u zich onvoldoende gekwalificeerdRCT!
Werkveiligigkeit
Veiligkeit op de werkplek
- Zorg ervoor dat de werkplek schoon en goed verlicht is. Rommelige of donkere werkplekken werken ongelukken in de hand.
- Het risicogebied bepalen en afzetten Houd omstanders en dieren op veilige afstand van het risicogebied.
- Menschen en dieren können u afleiden waardoor u de contrôle over de machine verliest. Wees waarom alsijd geconcentreerd en op uw taak gericht.
- Gebruik de motorkettingzaag Niet in ongunstige weersomstandigheden. B.v. bij dichte mist, hevige regen, harde wind, hevige koude enz. Werken in slechte weersomstandigheden is vermoeiend en kan tot gevaarlijke situations leiden, zoals een gladde ondergrond.
- Begin nooit met de machine te werkden voordat het werkterrein ontruimd is en u stevig staat.
Persoonlijke verilgheit
- Gebruik de machine nooit als u moe bent, alcohol heeft gedronken of medicijnen hareft ingenomen, die uw gezichtsvermögen, beoordelingsvermögen of.Coordinatievermögen können beinvloeden.
- Voorkom een onbedoelde start. Verzeker u ervan dat de schakelaar in de UIT-positie staat.
- Controller of er geen gereedschap of andere voorwerpen op de machine zijn blijven liggen.
- Laat de machine nooit gezruiken door andere personen zonder de juiste training.
Schakel de machine algid uitijdens langere werkonderbrekingen.
Werk nooit alleen, maar zorg dat er≦ienand in de buurt is.
Leer hoe u de machine en de hendels op een veilige manier kurz gebruiken en leer hoe u snel kurz stoppen. Leer ook alle veiligheidsplaatjes herkennen. - Voorkom overstrekken. Zorg dat u.altijd stevig en in balans staat.
Gebruik en onderhoud
- Ervaring is erg belangrijk als u met deze machine werkkt. Een geschoolde arbeitskracht worden ten zeerste aangeraden.
Voer algijd dagelijks onderhoud uit voordat u de motor start. Zie de instructies in het hoofdstuk "Onderhoud". - De machine is bedoeld voor gebruik in industrielle toepassingen door ervaren operators.
- Bedien de zaag uitsluitend vanachter de machine, met beiden handen op de handgreep.
- Wees voorzichtig bij het in- en uitladen en bij het manoeuvreren op hellingen.
- Gebruik de machine nooit als een voertuig voor het verplaatsen van personeel of apparatuur.
- Ga nooit op de machine staan.
- Overbelast de machine Niet. Overbelasting kan beschadiging van de machine veroorzaken.
- Hou het gereedschap scherp en schoon om veiliger te konnen werken.
- Hou alle onderdelen in werkzame staat en zorg ervoor dat alle bevestigingen goed zichn vastgodraid.
- Laat de machine nooit zonder toezicht met draaiende motor hinter.
Zorg dat het blad Niet in aanraking komt met de grond of enig anders oppervlak wonneer u met de zaag manoeuvvreert. - Voorkom dat u in de lijn van het blad staat of het blad aanraakt verwijl het draait.
Basistechniek
Krimpvoegen zagen
Wanner beton uitdroogt of uithardt en hard begint te worden, treden interne krimpspanningen op waardoor willekeurige barsten können ontstaan.
Willekeurige barsten roepen vragen op over de kwaliteit en de vakkundige bereiding van het beton. Om dergelijkke krimpspanningen op te heffen voordat ze zich een uitweg zoeken door het vormen van willekeurige barsten, worden krimpvoegen in het beton gezaagd.
Het Soff-Cut Ultra Early Entry-system beperkt de vorming van willekeurige barsten door op vooraf bepaalde locaties in een vroeg stadium een zaagsnede te makeen om zo zwakkere vlakken in het beton te creeren, waar bij het beton onder de zaagsnede zal scheuren om de krimpspanning op te heffen.
Met een Husqvarna-Zaag aangebrachte krimpvoegen要去en minstens een achstde peel van de betondiepte bedragen en 25mm (1") breed zich.
Krimpvoegen要去en worden gezaagd zodra het beton het gewicht van de zaag en de gebruiker kan houden zonder sporen op het beton anschter te latent of het beton te beschadigen.
Er zijn veel möglichkheden om een voegenlay-out te make. Er要去 van tevoren een voegenlay-out beschikbaar�n. De aannemer voor de doorslijpwerkzaamheden要去 een uitgebreide voegenlay-out ter goedkeuring voorleggen voordat worden begonnen met zagen.
De afstand:tussen de voegen wordt bepaald door diverse factoren, waaronder:
- Betondikte.
Type,hoeveelheid en locatie van wapening. - Krimpgevoeligheid van betoncement (type, hoeveelheid), aggregaat (omvang, hoeveelheid, kwaliteit), water-cementverhouding, hulpstoffen, temperatuur van het beton.
Basiswrijying. - Betonplaatverbindingen.
- Lay-out van funderingen, roosters, putten, machineplaten, sleuven enz.
- Omgevingsfactoren - temperatuur, wind, vochtigheid
- Methoden en kwaliteit van betonuitharding.
Over het algemeen geldt dat betonplaten door middel van het krimpvoegenpatroon要去en worden opgedeel in min ofeer vierkante vlakken met de aangegeven aanbevolten tussenafstand.
Aanbevolen krimpvoegafstand
| Betondikte, mm (in) | Maximale afstand, m (ft) |
| 90 (3.5) | 2,4 (8) |
| 100, 114 (4, 4.5) | 3,0 (10) |
| 125, 140 (5, 5.5) | 3,6 (12) |
| 150 (6) ofeer | 4,5 (15) |
Breng bij alle elkaar kruisende dwarsneden Husqvarna- naadbeschemers in de voeg aan om beschadiging van de voegen te voorkomen. Breng een extra naadbeschermer aan op deplaats waar hetrechtewiel over de voeg heben za gaan, om schade aan het beton te voorkomen.
Het Soff-Cut-system optimiseren
"De timing voor betonwerkzaamheden – met name het afwerken en het aanbrengen van voegen – is Crucial ... Als hier Niet goed op worden gelet, kan dit leiden tot ongewenste kenmerken in de slijtlaag, zoals barsten ..." (Passage uit het voorhoord van het Amerikaanse betoninstituut (ACI) 302.1 R-96.)
Het geoctrooieerde Soff-Cut Ultra Early Entry-systeme haeft een revolutie teweeggebracht ten aanzien van de gebruikte methode om willekeurige barsten onder controle te houden.
Hoewel Soff-Cut nu vaker dan ooit worden voorgeschreveen,\ wordt de specificatie voor Ultra Early Entry op de werkvloer\ niet altijd gevolgd.
Voor het behalen van optimale resultaten met behulp van het Soff-Cut-system en een ervaren Husqvarna-aannemer要去en de volgende elementen aanwezig zijn om te voldoen aan de "specificatie":
- Een Soff-Cut Ultra Early Entry-zaag voor droogzagen in tegenloop.
- Een Husqvarna Excel-diamantzaagblad voor droogzagen.
- Installatie van een nieuwe Husqvarna-antiverbrokkelingsglijplaat bij elk(AP) diamantzaagblad.
- Een gebruiker die ervaring heeft met het gebruik van het Soff-Cut Ultra Early Entry-system.
Zonder deze elementen können geen scherpe voegen worden gezaagd om willekeurige barstenijdig onder controle te houden, verwijl dat is waar de gebouweigenaar voor betaalt.
De ACI Spec 302.1R-96 beschrijft dit het duidelijkst:
"Early Entry-droogzagen make gebruik van met diamant geimpregneerde bladen en een glijplaat die versplinteren helpt voorkomen. Eenijdige verranging van glijplaten isoodzakelijk om versplintering efectief gegen te gaan. Het is het Beste om glijplaten te verrangen overeenkomstig de aanbevelingen van de fabrikant ... Het doel van het doorslijpen is om een zwakker vlak te creeren zodra de voeg kan worden gezaagd ... De timing van het Early Entry-process maakt het möglichk om de voegen aan te brengen voordat zich aanzienlijke trekspanningen in het beton ontwikkelen ..."
In het technisch bulletin, Concrete Floors on the ground, van de Portland Cement Association (PCA) staat ook:
"Goed voegen kan leljke, willekeurige barsten voorkomen. Factoren die bij het aanbrengen van voegen leiden tot een goed eindresultaat+zijn het kiezen van het juiste type voeg voor elke locatie, het aanbrengen van een goed voegenpatroon en een goede voegenlay-out, en het aanbrengen van de voeg op het juiste moment ... De timing voor het zagen van voegen is Cruciaal ... Er zijnlichtgewicht snelle Early Cut-zagen ontwikkeld waarmee het zagen van voegen heel snel na het afwerken van de vloer kan worden uitgevoerd, soms al tussen 0 en 2uur ... als de voeg worden gezaagd binnen enkele uren na de LASTe afwerking+kennen willekeurige barsten onder controle worden gehonden ..."
Husqvarna hebft het enige Ultra Early Entry-droogzaagsystem (Soff-Cut) waarmee willekeurige barsten kuren worden beperkt door de vroege timing van de zaagsnede. Met de geoctrooierde Soff-Cut-methode kuren controloeogen meestal worden gezaagd binnen 2uur na het afwerkingsproces.
Het zagen van de voegen要去 beginnen zodiah het beton het gewicht van de zaag en de gebruiker bij elke voeglocatie kan dragen en voordat het beton volledig is uitgehard.
Als de voegen nicht binnen dit tjidsbestek worden gezaagd, worden de Soff-Cut Ultra Early Entry-methode nicht gevolgd en krijgen gebouweigenaren Niet datgene waarvoor ze betalen of het eindresultaat dat ze verwachten.
Transport en opbergen

VOORZICHTIG! Gebruik de juiste tiltechniek. De zaag要去 worden opgetild van de centrale handgreep op de rolkooi.
- Gebruik de rolkooistangen aan beiden uiteinden van de zaag wanner de zaag door twee Personen worden opgetild en til met twee handen.
Zorg dat het blad algthijd volledig omlaag staat en is vergrendeld wanner u de zaag opbergt.
Sluit de brandstofklep. - Zet de apparatuurijdens vervoer goed vast om transportschade en ongelukken te voorkomen.
- Sla de apparatuur op in een afsluitbare ruimte zodate het buiten het bereik is van kinderen en onbevoegde Personen.
- Demonteer het blad voordat u de machine vervoert of opslaat.
- Berg de machine en bijbehorende apparatuur op in een droge en vorstvrijne ruimte.
Starten en stoppen
Voor de start

WAARSCHUWING! Neem de gebruiksaanwijzing grondig door en gebruik de machine Niet voor u alles duidelijk heeft begrepen.
Draag alkijd persoonlijke
veiligheidsuitrusting. Zie instructies in het hoofdstuk "Persoonlijke
veiligheidsuitrusting".
Zorg ervoor dat zich geen onbevoegden binnen het werkgebied bevinden, anders bestaat er risico voor ernstige verwondingen.
Controller of de beschermkappen correct bijn gemonteerd en er geen zichtbare beschadigingen bijn. Zie de instructies in de sectie "Veiligheidsuitrusting voor de machine" en "Montage en instellenen".
Voer dagelijks onderhoud UIT. Zie de instructies in het hoofdstuk "Onderhoud".
- Controller of de handgreep volledig vertical staat en de borgpen is aangebracht.
- Controller of de frontgeleider in de voorwaartse stand is gedraaid.
Starten
Starten van de motor
- Open de brandstofklep.

Haal het blad omhoog door het stuur met beiden handen omlaag te drukken tot dit zich volledig in de vergrendelde positie bevindt.
- Zet de schakelaar in de AAN-positie (1) om de motor te starten. Het blad begint te draaien wonneer de motor is ingeschakeld.

Zet de snelheidshendel een derde open.

- Sluit de chokehendel van de motor.

De gesloten chokestand zorgt voor een rijker brandstofmengsel voor het starten van een koude motor.
De open chokestand zorgt voor het juiste brandstofmengselsoor de werking van de machine nadat de motor is gestart en voor het opnieuw starten van een warme motor.
Trek aan de starthendel.
- Open de choke langzaam nadat de motor is gestart. Laat de motor een pau minuten opwarmen.
Begin met zagen
- Open de motorgashendel volledig voor de maximale motorsnelheid.
- Plaats de zaag in een lijn met de zaaglijk met behulp van het witte viel op de frontgeleider en de drihoekmarkeringchter op de bladblokkering.
- Duw de zaaghendel omlaag en trek de bladvrijgavehendel omhoog om het blad langzaam in het beton te lately zakken.
- Duw de zaag maar voren om te zagen en zorg dat het frontgeleidewiel op de zaaglijk blijft.
- Duw de zaag de eerste 15 meter (50 ft) op halve snelheid zodate het blad een goede blootlegging van de diamantkristallen kan ontwikkelen of om het zaagblad te openen en een lange levensduur van het zaagblad te waarborgen.
- Verhoog de voorwaartse snelheid van de zaag totdat het blad en de motor optimaal werkken. Forceer de zaag Niet.
Haal de frontgeleider omhoog wonneer u een muur nadert en gebruik de driehoekmarkering ache ter op de bladblokkering om de的那一ste meters te zagen. - Zorg dat de bladblokkering geen voorwerpen raakt. Dit kan schade veroorzaken.
Stoppen
- Haal het blad omhoog door het stuur met beiden handen omlaag te drukken tot dit zich volledig in de vergrendelde positie befindt.
- Beweeg de motorgashendel maar de volledig gesloten positie.
- Zet de schakelaar in de UIT-positie (O).
- Sluit de brandstofklep.
Maak de machine schoon.
Algemeen

WAARSCHUWING! De gebruiker mag alleen die onderhouds- en servicewerkzaamhedenuitvoeren die in deze gebruiksaanwijzing worden beschreiben. Meer ingrijpendemaatregelen要去en door een erkende serviceworkplaats worden uitgevoerd.
Tijdens de werkzaamheden die in dit hoofdstuk worden beschreiben,要去 de motor zijn uitgeschakeld,tenzij anders aangegeven.
Draag alkijd persoonlijke
veiligheidsuitrusting. Zie instructies in het hoofdstuk "Persoonlijke
veiligheidsuitrusting".
De levensduur van de machine kan worden verkort en het risico van ongelukken kan toenemen wanner het onderhoud aan de machine Niet op de juiste manier wordenuitgevoerd en wanner service en/of reparations Niet vakkundig worden gedaan. Indien umeer informatie nodig heeft, verzoeken wij u contact op te nemen met de dichtstbijzijnde serviceworkplaats.
Laat de machine regelmatig controleren door uw Husqvarna-leverancier en LAST hem de nodige aanpassingen en reparationsuitvoeren.
Onderhoudsschema
In het onderhoudsschema(Int)kunt u zien welke onderdelen van uw machine onderhoud nodig hebben en hoe vaak. De onderhoudsintervallen zijn gebaseerd op dagelijks gebruik van de machine en+kunnen dus afwijken op basis van de gebruiks|.
| Dagelijks onderhoud | Wekelijks onderhoud/40 uu | Maandelijks onderhoud/200 uu | |
| Schoonmaken | Reiniging buitenzijde | Luchtreiniger | Brandstofhouser |
| Bougie | |||
| Controle | Algemene inspectie | Aandrijfrem | Bougie en afstand+tussen de elektroden |
| Glijplaat | |||
| Lexan kap* | |||
| Beschemkap bladblokkering* | |||
| Blad** | |||
| Brandstofpeil*** | |||
| Oliepeil | |||
| Vervangen | Olie (na de eerste 20 uu en verwolgens na elke 100 uu) | Luchtreinigerelement | |
| Smeren | Bladaslagers |
- Zie de instructies in het hoofdstuk "Veiligheidsuitrusting voor de machine".
Zie de instructies in het hoofdstuk "Slijpschijven" en "Montage en instellengen".
* Zie de instructies in de sectie "Brandstofhantering".
Schoonmaken
Reiniging buitenzijde
- Reinig de machine dagelijks door deze na beeindiging van de werkzaamheden af te spoelen met schoon water. Hou de handgrepen schoon en droog.
- Verwijder na elk gebruik overmatige betonafzetting van de bladblokkering. Gebruik een zware handborstel of een große verfkwast.
- Indien u brandstof of motorolie op de machine hebts gemorst. Droog alles af en LAST de benzineresten verdampen.
- Houd alle openings en sleuven op de zaag goed open zodate de lucht vrij door het motorcompartment kan stromen om voor voldoende koeling te zorgen.
Luchtreiniger

- Was het urethaanschuim (1) met wasmiddel. Laat het filter drogen.
- Reinig het papieren element (2) door er voorzichtig op te tikken om vuil te verwijderen, en blaas eventueel stof weg.
Bougie
- Verzeker u ervan dat de bougiekap en de ontstekingskabel onbeschadigd zijn om het risico op een elektrische schok te vermijden.
- Verwijder koolafzettingen op de elektroden van de bougie met behulp van een bougiereiniger of een staalborstel.
Brandstofhouser
- Inspector de brandstofhouser op water en vuil.
- Om water en vuil te verwijderen, sluit u de brandstofkraan en verwijdert u de brandstofhouser.
- Was de brandstofhouser met kerosine of benzine, nadat u vuil en water hebt verwijderd.
- Plaats de brandstofhouser zorgvuldig谈起 om lekkage te voorkomen.
Controle
Algemene inspectie
- Controller of de bouteen en moeren en vastgedraaid zich.
- Controller of er geen brandstof- of olielekken zijn.
Glijplaat
- Controller op beschadigingen en overmatige slijtage in de bladsleuf.
- Controller op bramen aan de zichde van het betonoppervlak en controller op verdraaiing.
- Installee bij elk{nieuwe blad ook een{nieuwe glijplaat. Gebruik glijplaten nooit opnieuw.
- Til de voor- en achechterzijde van de glijplaat omhoog om ervoor te zorgen dat het blad ongehinderd door de glijplaat schuift.
Oliepeil
Zet de motoruit.
- Laat de machine zakken en verzeker u ervan dat de motor vlak staat.
- Verwijder de oliedop en veeg de peilstok af.
- Controller het oliepeil. Schroef de oliepeilstok Niet in de olievulnek om het oliepeil te controleren.

- Is het oliepeil laag, vult u bij met motorolie tot het bovenste niveau op de peilstok. Zie de instructies in de sectie "Technische gegevens" voor de specificatie van de olie.
Schroef het olievuldeksel vast.
Aandrijfrem
- Controller of de aandrijfrem heel en zonder zichtbare defecten is.
- De riemspanning worden geregeld door de riemspanner en hoeft nicht te worden afgesteld.
- Controller of de riemspanner vrij op en neer kan bewegen.
- Controller of de lagers van de riemspanner vrij rollen.
Bladaslagers
- Smeer de bladaslagers met 3 pompdoseringen van vet op basis van lithium 12.

Bougie en afstand tussen de elektroden
Ziede reingingsinstructies in de sectie "Reiniging".
- Controller de afstand:tussen de elektroden. De afstand moet 0,6 tot 0,7 mm (0,02 tot 0,03 inch) bedragen.

- Stel de afstand zo nodig af door de zijelektrode voorzichtig te buigen.
Vervangen
Olie
Ververs de olie na de eerste 20 bedrijfsuren en cervolgens na elke 100uur.
Ververs de motorolie wanseer de motor warm is.
Zet de motor UIT.
- Zet een opvangbak onder het aftappunt en verwijder de plug.

Laat de olie in het vat lopen.
- Plaats de plug terug en vul nouvelwe olie bij.
- Bij het maximale oliepeil moet de olie tot de bovenste marketing op de peilstokkommen.
Oliesensor
De motor is uitgerust met een oliewaarschuwingssystem dat de motor zal stoppen wanner het oliepeil te laag is.
De motor kan nicht worden gestart totdat het niveau worden verhoogd tot boven de voorgeschreven limiet.
Afvoeren
Gebruike motorolie is gevaarlijk voor de gezondheid en mag Niet op de grond of in de naturur gegood worden, maar要去 ingeleverd worden bij de werkplaats of de aangewezenplaats voor verworking.
Luchtreinigerelement
Zie de reinigingsinstrumenties in de sectie "Reinigung".
- Vervang het papieren element maandelijks of eerder, indien nodig.
Aanvullende motorinformationie
Zie de motorhandleiding voor meer informatatie over het onderhonden van de motor.
De handleiding bevat ook specifieke informatatie over specificaties, afstelonderdelen, motorgarantie, naleving van emissienormen enz.
Storingsschema

WAARSCHUWING! De meeste ongelukken met machines gebeuren tijdens het opsporen van fouten en tijdens onderhoudswerkzaamheden, waar dat het personeel zich dan binnen de risicozone van de machine要去 begeven. Voorkom ongelukken door alert te zijn en de werkzaamheden te plannen en voor te bereiden.
Tijdens de werkzaamheden die in dit hoofdstuk worden beschreiben,要去 de motor zijn uitgeschakeld, tenzij anders aangegeven.
| Zaagsnede brokkelt af of is rafelig. | Controller of het diamantzaagblad versleten, gepolijst, verrormd of beschadigd is. |
| Zorg dat de glijplaat vrij op en neer kan bewegen over de volle lenghte van de as zonder het diamantzaagblad te raken. | |
| Controller de glijplaat op overmatige slijtage of spel ing rond het diamantzaagblad. | |
| Controller de onderzijde van de glijplaat op metaalbramen of onregelmatigheden. | |
| Controller of de glijplaat Niet verdraaid of verbogen is. | |
| Controller of de lexan=kappen vrij op en neer+kennen bewegen. | |
| Controller of er een neerwaartse veerdruk op beiden uiteinden van de glijplaat aanwezig is. | |
| Draai of beweege de zaag tijdens het zagen Niet zijwaarts. Verhoog of verlaag de druk op het stuur geleidelijk om de zaag in de zaagsnede te sturen. | |
| Controller of de motor goed loopt en met vol gas. | |
| Controller de riem en de riemspanner op de juiste spanning. | |
| Controller of het diamantzaagblad correct is gemonteerd en is vastgezet met schone flenzen. | |
| Controller of het diamantzaagblad de juiste specificaties heeft voor uw toepassing. | |
| Zorg dat de betonplaat schoon is, zonder resten waardoor de glijplaat of de zaag omhoog kan komen tijdens het zagen. | |
| Gebruik Husqvarna-naadbeschemers bij alle kruisingen van zaagsneden. | |
| Verwijder overmatige betonresten van de bladblokkering. | |
| Controller of de schrapers in de bladblokkering Niet verbogen of vastgelopen+zijn. | |
| Controller of de bladblokkeringssassen Niet verbogen of beschadigd+zijn. | |
| De zaag trekt bij het doorslijpenংn aer eén kant. | Controller of de frontgeleider goed is uitgelijnd met het midden van het diamantzaagblad. |
| Controller of het diamantzaagblad versleten, gepolijst, verrormd of beschadigd is. | |
| Draai of beweeg de zaag tijdens het zagen Niet zijwaarts. Verhoog of verlaag de druk op het stuur geleidelijk om de zaag in de zaagsnede te sturen. | |
| Zorg dat alle wielen vrij en soepel draaien. | |
| Forceer de zaag Niet. Laat het diamantzaagblad het werk doe op de eigen snelheid. | |
| Controller de glijplaat op beschadigingen of bramen. | |
| De motor start nicht | Controller of de tank brandstof bevat en of dit het jeuste type is. Verzeker u ervan dat er geen water in de brandstof aanwezig is. |
| Controller of de brandstofklep in de AAN-positie staat. | |
| Controller of de AAN/UIT-schakelaar in de AAN-positie staat. | |
| Controller of de bougiekabel op de bougie is aangesloten. | |
| De motor is verzopen. Stel de choke af overeenkomstig de motorhandleiding. | |
| Controller of de choke bij een koude start in de AAN-positie staat. Stel de choke af overeenkomstig de motorhandleiding. | |
| Oliepeil is te laag. De motor is uitergerust met een oliewaarschuwingssysteme dat voorkomt dat de motor start wanner het oliepeil zich Niet binnen het juiste bereik bevindt. | |
| Controller of de luchtreiniger Niet vuil of verstopt is. | |
| Controller of de bladas vrij kan draaien en er geen betonafzetting in de bladblokkering aanwezig is. | |
| De motor loopt onregelmatig, knalt of kan geen volle能力和 behalen. | Controller of de tank brandstof bevat en of dit het jeuste type is. Verzeker u ervan dat er geen water in de brandstof aanwezig is. |
| Oliepeil is te laag. De motor is uitergerust met een oliewaarschuwingssysteme dat voorkomt dat de motor start wanner het oliepeil zich Niet binnen het juiste bereik bevindt. | |
| Controller of de luchtreiniger Niet vuil of verstopt is. | |
| Controller of de bougie schoon is en de afstand:tussen de elektroden correct is. | |
| Controller of de gashendel goed is afgesteld. | |
| Controller of de choke bij een koude start in de AAN-positie staat. Stel de choke af overeenkomstig de motorhandleiding. |
Technische gegevens
Motor
| Model | Robin EX 13 |
| Type | Luchtgekoelde, 4-takt benzinemotor met=eén schuine cilinder en bovenliggende nokkenas. |
| Emissies | Voldoet aan EPA fase 2 en CARB Tier II USA voorschriften |
| Maximaal vermogen, kW (pk)* | 3,2 (4.3) |
| Inhoud brandstoftank, liter (gallon) | 2,7 (0.7) |
| Luchtreiniger | Cyclonisch type (droog dubbel element met voorreiniger) |
| Koelen | Luchtgekoeld met interne en externe koelribben. |
| Bougie | NGK BR-6HS (CHAMPION RL86C) |
| Oliesystem | Oliwaarschuwingssystem met auto-uitschakelingssensor. |
| Inhoud brandstoftank, liter (quart) | 0,6 (0.6) |
| Type olie | 4-takt reinigingsolie voor auto's, API-onderhoudskasse SE of hoger. |
- Volgens de opgave van de motorfabrikant

Viscosity - olie
Gewicht en afmetingen
| Gewicht zonder brandstof, kg (lb) | 38 (84) |
| Gewicht met brandstof, kg (lb) | 41 (91) |
| Lengte (handgreep ingeklapt), mm (inch) | 864 (34) |
| Breedte, mm (inch) | 483 (19) |
| Hoogte, mm (inch) | 533 (21) |
Blad
| Type blad | Excel-bladen, droogzagen met drievoudige as |
| Materialial | Alleen voor vers beton |
| Bladformaat – max., mm (inch) | 152 (6) |
| Maximale zaagdiepte, mm (inch) | 30 (1 3/16) |
| Zaagafstand vanaf muur, mm (inch) | 76 (3) |
| Bladrotatie | Tegen de wijzers van de klok in, tegenloop |
| Bladassnelheid, tsp | 4450 (gemiddeld 3800) |
| Bladdiepte-installling | Handmatig |
Gemiddelde zaagsnelheid
Enkel een schatting. De snugelid zal variieren op basis van de omstandigheden en het betonmengsel.
| Zachte aggregaten, m/min (ft/min) | 3,7 (12) |
| Middelmatig harde aggregaten, m/min (ft/min) | 2,4 (8) |
| Harde aggregaten, m/min (ft/min) | 1,2 (4) |
| Lawaai-emissie (zie opm. 1) | |
| Geluidsvermogen, gemeten dB(A) | 98 |
| Geluidsvermogen, gegandeerd LWA dB(A) | 99 |
| Geluidsniveau (zie opm. 2) | |
| Equivalent geluidsniveau bij oor van de gebruiker, dB(A) | 84 |
| Trillingsniveau, ahv (zie opm. 3) | |
| Rechter handgreep, m/s2 | 7,9 |
| Linker handgreep, m/s2 | 7,8 |
Opm. 1: Emissie van geluid waar de omgeving gemeten als geluidsvermogen (Lw) volgens EG-richtlijn 2000/14/EG.
Opm. 2: Geluidsdrukniveau volgens EN 13862. De geraporteerde geevens voor het geluidsdrukniveau vertonen een typische statistische spreiding (standaardafwijking) van 1,0 dB (A).
Opm. 3: Trillingsniveau volgens EN 13862. De gerapporteerde gegevens voor het trillingsniveau vertonen een typische statistische spreiding (standaardafwijking) van 1m / s^2
EG-verklaring van overeenstemming
(Alleen geldig voor Europa)
Husqvarna AB, SE-561 82 Huskvarna, Zweden, tel.: +46 36 14 65 00, verklaart hierbij dat de Early Entry-zagen Husqvarna Soff-Cut 150 en Soff-Cut 150 D, met serialummers van 2010 en later (het jaartal staat duidelijk op het productplaatje vermeld, gevolgd door het serienummer), voldoen aan de vereisten van de volgende EU-richtlijnen:
van 17 mei 2006 "betreffende machines" 2006/42/EG
van 15 december 2004 "beteffende elektromagnetische compatibiliteit" 2004/108/EEC.
van 8 mei 2000 "betreffende geluidsemissie door materieel voor gebruik buitenshuis" 2000/14/EG.
De volgende normen zijn van toepassing: EN ISO 12100:2003, EN 55014-1:2006, EN 55014-2/A1:2001, EN 61000-3-2:2006, EN 61000-3-3/A1/A2:2005, EN 13862/A1:2009.
Vice-president, hoofd doorslijpmachines en bouwmaterieeel
(erkende vertegenwoordiger voor Husqvarna AB en verantwoordelijk voor technische documentatie.)
SimpelGids