SOFF-CUT 150 - Betonsäge HUSQVARNA - Kostenlose Bedienungsanleitung
Finden Sie kostenlos die Bedienungsanleitung des Geräts SOFF-CUT 150 HUSQVARNA als PDF.
Benutzerfragen zu SOFF-CUT 150 HUSQVARNA
0 Frage zu diesem Gerät. Beantworten Sie die, die Sie kennen, oder stellen Sie Ihre eigene.
Eine neue Frage zu diesem Gerät stellen
Laden Sie die Anleitung für Ihr Betonsäge kostenlos im PDF-Format! Finden Sie Ihr Handbuch SOFF-CUT 150 - HUSQVARNA und nehmen Sie Ihr elektronisches Gerät wieder in die Hand. Auf dieser Seite sind alle Dokumente veröffentlicht, die für die Verwendung Ihres Geräts notwendig sind. SOFF-CUT 150 von der Marke HUSQVARNA.
BEDIENUNGSANLEITUNG SOFF-CUT 150 HUSQVARNA
Lesen Sie die Bedienungsanweisung sorgfältig durch und machen Sie sich mit dem Inhalt vertraut, bevor Sie das Gerät benutzen.

WARNING! Das Gerät kann falsch oder nachlüssig angewendet gefährlich sein und zu schweren oder gar lebensgefährlichen Verletzungen des Benutzers oder anderer Personen führen.

Lesen Sie die Bedienungsanweisung sorgfältig durch und machen Sie sich mit dem Inhalt vertraut, bevor Sie das Gerät benutzen.

Samtliche Körperteile von bereits Oberflächen fernhalten.

Die Motorabgase enthalten Kohlenmonoxid, das eine Kohlenmonoxidvergifting verursachen kann. Das Gerät deshalb niemals im Innenbereich oder an anderen Orten mängelhafter Luftzirkulation starten ode

Den Motor abstellen und vor dem Tanken eine Minute abkühlen halten.

Feuer, offenes Licht und Rauchen sind verboten.

Ein (Start)

Aus (Stopp)

Motoröl
Zu geringer Ölstand. Motoröl bis zum richtigen Füllstand auffluen.
Dieses Produkt stimmt mit den geltenden CE-Richtlinien überein.
Umweltbelastende Gerauschemissionen gemäß der Richtlinie der Europäischen Gemeinschaft. Die Emission des Gerätes ist im Kapitel Technische Daten und auf dem Geräteschild angegeben.
Umweltkennzeichnung. Das Symbol auf dem Produkt oder der Verpackung gibt an, dass these Produkt nicht im Hausmüll entsorgt werden darf. Zur Entsorgung ist es stattdessen an eine entsprechende Recyclinganlage für elektrische und elektronische Geräte zu übergeben.
Durch eine korrekte Entsorgung these
Produktus tragen Sie dazu bei, möglichne negative
Auswirkungen auf ihre Umwelt und Mitmenschen zu
verhindern. Durch eine unsachgemäße Entsorgung these
Produktus konnen Schaden entstehen.
Ausführliche Recyclinginformationen zu dieser Produkt erhalten Sie von ihrer Kommune, Entsorgungsunternehmen für Hausmüll oder dem Geschäft, in dem Sie das Produkt erworbEN haben.




Sonstige Symbole/Aufkreber am Gerät beziehen sich auf spezielle Zertifizierungsanforderungen, die in bestimmen Ländern gelten.
Erläuterung der Warnstufen
Es bestehen drei entsprechliche Warnstufen.
WARNING!

WARNING! Nichtbeachtung der Anweisungen in thisem Handbuch kann zu Verletzungen bzw. zum Tod des Bedieners oder zu Beschädigungen in der Umgebung führen.
ACHTUNG!

ACHTUNG! Nichtbeachtung der Anweisungen in thisem Handbuch kann zur Verletzung des Bedieners bzw. zu Beschädigungen in der Umgebung führen.
HINWEIS!
HINWEIS! Nichtbeachtung der Anweisungen in thisem Handbuch kann zu Beschädigungen der Umgebung bzw. der Maschine führen.
Inhalt
SYMBOLERKLÄRUNG
Symbole am Gerät 44
Erläuterung der Warnstufen 44
INHALT
Inhalt 45
VORSTELLUNG
Sehr geehrter Kunde! 46
Merkmale 46
VORSTELLUNG
Wasistwasan derGerat? 47
SICHERHEITSAUSRÜSTUNG DES GERÄTES
Allgemeines 48
KLINGEN
Allgemeines 50
Trennscheiben der Excel-Serie 50
Transport und Aufbewährung 50
MONTAGE UND EINSTELLUNGEN
Allgemeines 51
Auspacken 51
Klinge montieren 51
Prüfungen vor dem Betrieb 52
Transport 52
UMGANG MIT KRAFTSTOFF
Allgemeines 53
Kraftstoff 53
Tanken 53
Entsorgung 53
Transport und Aufbewährung 53
BETRIEB
Schutzausrüstung 54
Allgemeine Sicherheitsvorschriften 54
Arbeitssicherheit 55
Transport und Aufbewährung 56
Starten und stoppen 57
WARTUNG
Allgemeines 58
Wartungsschema 58
Reinigung 59
Prüfung 59
Auswechseln 60
Weitere Motorinformationen 60
FEHLERSUCHE
Störungssuchplan 61
TECHNISCHE DATEN
Technische Daten 62
EG-Konformitätserklung 64
Sehr geehrter Kunde!
Vielen Dank, dass Sie sich für ein Produkt von Husqvarna entschieden haben.
Wir hoffen, dass Sie mit ihrer Maschine über lange Jahre zufrieden sein werden. Mit dem Erwerb unserer Produkte erhalten Sie professionelle Hilfe bei Reparaturen und Service. Haben Sie das Gerät nicht bei einem unserer Vertragshandler gekauft, Fragen Sie dORT nach der nachsten Serviceworkstatt.
These Bedienungsanweisung ist ein wertvolles Dokument. Halten Sie die Bedienungsanweisung stets griffbereit. Die genaue Befolgung ihres Inhalts (Verwendung, Service, Wartung usw.) verlangert die Lebensdauer der Maschine erheblich und erhöht zudem ihren Wiederverkaufswert.Sollten Sie ihre Maschine verkaufen, händigen Sie dem neuen Besitzeritte auch die Bedienungsanleitung aus.
Über 300 Jahre Innovationsgeschichte
Husqvarna ist ein schwedisches Unternehmer, dessen Geschichte bis ins Jahr 1689 zurückreicht, als König Karl XI eine Fabrik errichten ließ, in der Musketen gefertigt werden sollenn. Damit wurden die Grundlagen einer erfolgreichen Firmengeschichte gelegt, in deren Verlauf bahnbrechende technische Neuerungen in Bereichen wie Waffensysteme, Fahr- und Motorräder, Haushaltsgeräte, Nahmaschinen und Gartenprodukte auf den Markt gebracht werden konnten.
Husqvarna gilt als fuhrender Anbieter von Geräten zur Garten- und Waldpflege sowie von Schneidausrüstungen und Diamantwerkzeugen für die Bau- und Steinindustrie.
Sorgfallspflicht des Betreibers
Der Betreiber ist verpflichtet, nur entsprechend ausgebildete Personen mit der Bedienung der Maschine zu betrauen. Aufsichtspersonen und Bediener haben sãmtliche Anweisungen in thisem Handbuch zur Kenntnis zunehmen. Insbesondere ist auf Folgendes zu achten:
- Sicherheitshinweise
Vorphesehene Anwendungsbereiche - Nutzungs- und Wartungshinweise
Die Benutzung dieser Maschine konnte durch eine nationales Gesetz geregelt sein. Finden Sie hereaus, welche Gesetze Anwendung finden, bevor Sie mit der Benutzung der Maschine beginnen.
Vorbehaltsbestimmungen des Herstellers
Alle Informationen und Daten dieser Bedienungsanleitung galten zum Zeitpunkt der Drucklegung.
Die Husqvarna AB arbeitet ständig an der Weiterentwicklung ihrer Produkte und behält sich daher das Recht auf Änderungen ohne vorherige Ankündigung, z. B. von Form und Aussehen, vor.
Merkmale
Die Entwicklung von zuverlässigen und innovativen Hochleistungstechnologien und eine umweltfreundliche Produktfertigung sind die erklärten Ziele von Husqvarna.
Hier werden einige der Funktionen aufgeführrt, die unseren Produktken das entscheidende Plus an Qualität verliehen.
Early Entry-Trockenschnittsystem
Das patentierte Soff-Cut Ultra Early Entry-Trockenschnittsystem steuert das gelegentliche Brechen des Betons durch frühere Anpassung der Säge. In der Regel erfolgt der Schnitt innerhalb von ein bis zwei Stunden nach Abschluss der Fertigstellung.
Klingenblockgehäuse für geringe Gerausch- und Staubentwicklung
Das patentierte Gehäuse für geringe Staub- und Gerauschentwicklung sowie die Gleitplattentechnologie in Verbindung mit Husqvarna Excel-Trennscheiben ermöglicht Ultra Early Entry-Sägen am gleichen Tag bei Minimierung von Spanbildung und Abblättern.
Robin-Motor mit geringer Vibration
Der vibrationsarme Robin-Motor mit 3,2 kW und Wirbelluftfilter sowie Ölalarmsystem stoppt automatisch bei geringem Motorölstand. Leichtes Anreiben.
Weitere Merkmale
- Manueller Vorschub mit manueller Kontrolle aller Funktionen
- Mechanische Kontrolle der Trennscheibentiefe
Abrieb- und haftungsfreiie Polyurethanrader - Robuster, einteiliger Rahmen
- Klappgriff
- Einzigartige Gestaltung des Rollahmens
- Patentierte Sicherheitsspindel
- Einziehbares vorderes Führungssystem

Was ist was an der Gerät?
1 Hebel für Trennscheibenauswurf
2 Oberer Griff
3 Verriegelungsstift, Griff
4 Unterer Griff
5 Rollkäufig
6 Anschlagseinstellung
7 Sagerahmen
8 Vordere Führung
9 Trennscheibenblock
10 Lexan-Abdeckung
11 Trennscheibenblockschutz
12 Deckel für Kraftstoffank
13 Kraftstoffank
14 Gasbel
15 Starhandgriff
16 Kraftstoffventil
17 Kraftstoffbehälter
18 Choke
19 Vergaser
20 Wirbel-Vorfilter
21 Abgasöffnung
22 Schalldampferabdeckung
23 Schalldampferabdeckung
24 Messstab/Olbefullung
25 Ablassschraube
26 EIN/AUS-Schalter
27 Motorschutz (nicht enthalten)
28 Bedienungsanweisung
Allgemeines

WARNING! Benutzen Sie nie ein Gerät mit defekter Sicherheitsausrüstung. Wenn Ihr Gerät den Kontrollanforderungen nicht entspricht, muss eine Servicewerkstatt aufgesucht werden. Sofern nicht anders angegeben, muss der Motor bei den in thism Kapitel beschriebenen Arbeitsenausgeschaltet sein.
In dieser Abschnitt werden einzelnen Teile der Sicherheitsausrüstung des Gerätes beschrieben, welche Funktion sie haben und wie ihre Kontrolle und Wartung ausgeführrt werden sollen, um sicherzustellen, dass sie faktionsfähig sind.
EIN/AUS-Schalter
Mit dem EIN/AUS-Schalter wird der Motor ein- und ausgeschaltet.

Prüfen des EIN/AUs-Schalters
- Bringen Sie den Schalter in die Stellung „EIN“ (Position „1“), um den Motor zu starten. Die Trennscheibe beginnnt, sich zu drehen, wenn der Motor eingeschaltet ist.
- Bringen Sie den Schalter in die Stellung „AUS" (Position „O"). Prüfen Sie, ob der Motor stoppt.
Trennscheibenblockschutz
Der Trennscheibenblock schützt den Bediener vor der sich drehenden Trennscheibe und begrenzt die Staubentwicklung.

Prüfen des Trennscheibenblockschutzes
- Den Schutz auf Schäden und Risse kontrollieren. Den Schutz austauschen, wenn er Schlägen ausgesetzt war oder Risse aufweist.
- Ein beschädigter Trennscheibenblock muss ausgetauscht werden, um den Bediener zu schützen.
- Vor dem Starten der Maschine stets prufen, dass der Schutz korrekt montiert ist.
Lexan-Abdeckung
Die Lexanabdeckung begrenzt vor allem die Staubentwicklung, hilft jedoch auch bei der Ablenkung von Partikeln.

Prüfen der Lexanabdeckung
- Den Schutz auf Schäden und Risse kontrollieren. Den Schutz austauschen, wenn er Schlägen ausgesetzt war oder Risse aufweist.
- Vor dem Starten der Maschine stets prufen, dass der Schutz korrekt montiert ist.
- Stellen Sie sicher, dass die Lexanabdeckung frei nach oben und unter bewegt werden kann.
Rollkäfig
Der Rollkäufig schützt das System/den Motor und den Bediener vor Schäden.

Prufen des Rollkäfigs
- Den Schutz auf Schäden und Risse kontrollieren. Den Schutz austauschen, wenn er Schlägen ausgesetzt war oder Risse aufweist.
- Vor dem Starten der Maschine stets prufen, dass der Schutz korrekt montiert ist.
Riemenschutz
Der Riemenschutz schützt den Bediener vor den sich drehenden Rollen und vor dem Riemen.

Prüfen des Riemenschutzes
- Den Schutz auf Schäden und Risse kontrollieren. Den Schutz austauschen, wenn er Schlägen ausgesetzt war oder Risse aufweist.
- Vor dem Starten der Maschine stets prufen, dass der Schutz korrekt montiert ist.
Rollenschutz
Der Rollenschutz schützt den Bediener vor der sich drehenden Rolle am Trennscheibenschaft.

Prufen des Rollenschutzes
- Den Schutz auf Schäden und Risse kontrollieren. Den Schutz austauschen, wenn er Schlägen ausgesetzt war oder Risse aufweist.
- Vor dem Starten der Maschine stets prufen, dass der Schutz korrekt montiert ist.
Schalldämpferschutz
Der Schalldämpferschutz schützt den Bediener vor der Berührung des bereits Schalldämpfers.

Prufen des Schalldampferschutzes
- Den Schutz auf Schäden und Risse kontrollieren. Den Schutz austauschen, wenn er Schlägen ausgesetzt war oder Risse aufweist.
- Vor dem Starten der Maschine stets prufen, dass der Schutz korrekt montiert ist.
Allgemeines

ACHTUNG! Prufen Sie die Trennscheibe auf Schäden, risse, Segmentverluste, Dellen, Überhitzen, übermögen Verschleiß oder eine beschiedte Öffnung in der Dreifachspindel. Weist die Trennscheibe eines dieser Probleme auf, entsorgen Sie diese.
Stellen Sie sicher, dass die Trennscheibe für eine maximale Drehzahl von mehr als 4450 U/min gekennzeichnet ist.
Verwenden Sie nur Trennscheiben der Husqvarna Excel-Serie oder Trennscheiben, die für eine maximale Drehzahl von mehr als 4450 U/min ausgelegt sind.
Trennscheiben der Excel-Serie

ACHTUNG! Diamanttrennscheiben der Husqvarna Excel-Serie sind nur zum Schneiden von Frischbeton geeignet. Das Schneiden anderer Materialien kann zu einem Versagen der Trennscheibe oder zu einer gefährlichen Situation führen.
Die Excel-Serie wurde speziell auf das Soff-Cut Ultra Early Entry-Trockenschnittsystem für Frischbeton abgestimmrt.
These speziellen Trennscheiben können beim Schneiden einer Vielzahl von Betonzuschlagen die Drehzahl erhöhen und die Standzeit verlangern.
Wahlen Sie die richtige Trennscheibe für ihre Anwendung aus. Wenn Sie nicht sicher sind, welche Trennscheibe die richtige ist, wenden Sie sich an ihren lokalen Handler.
| Excel 1000, violett | XL6-1000 | Ultraharte Zuschläge und Sand ohne Abrieb |
| Excel 2000, grün | XL6-2000 | Harte bis ultraharte Zuschläge und Sand ohne Abrieb |
| Excel 3000, rot | XL6-3000 | Harte Zuschläge, Sand mit mittlerem Abrieb |
| Excel 4000, orange | XL6-4000 | Mittelharte Zuschläge, Sand mit mittlerem Abrieb |
| Excel 5000, gelb | XL6-5000 | Mittelharte bis weiche Zuschläge, Sand mit Abrieb |
| Excel 6000, schwarz | XL6-6000 | Weiche Zuschläge, Sand mit hohem Abrieb |
Transport und Aufbewährung
- Zerlegen Sie die Trennscheibe vor dem Transportieren oder Lagern der Maschine.
Klinge trocken aufbewahren. - Untersuchen Sie neue Klingen auf Transport- oder Lagerungsschäden.
Allgemeines

WARNING! Sofern nicht anders angegeben, muss der Motor bei den in thisem Kapitel beschreibenben Arbeiten ausgescheltet sein. Ziehen Sie das Zündkabel von der Zündkerze ab, um ein versehentliches Starten des Motors zu verhindern.
Auspacken
- Nehmen Sie die Säge aus der Verpackung. Verwenden Sie die richtige Hebetechnik. Heben Sie die Säge am mittleren Griff am Rollkäfig an.
- Entsorgen oder recycleln Sie das Verpackungsmaterial entsprechend der gesetzlichen Bestimmungen.
Im Lieferumfang der Säge sind keine Diamanttrennscheibe und keine Gleichplatte enthalten. Erwerben Sie die richtige Trennscheibe und die Gleichplatte bei ihrem lokalen Husqvarna Construction Product-Handler.
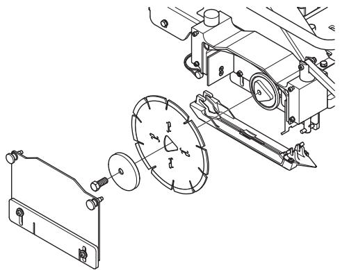
Klinge montieren

ACHTUNG! Prufen Sie die Trennscheibe auf Schäden, risse, Segmentverluste, Dellen, Überhitzen, übermögen Verschleiß oder eine beschiedte Öffnung in der Dreifachspindel. Weist die Trennscheibe eines dieser Probleme auf, entsorgen Sie diese.
Stellen Sie sicher, dass die Trennscheibe für eine maximale Drehzahl von mehr als 4450 U/min gekennzeichnet ist.
Prufen Sie die Trennscheibenflansche auf Schäden, übermäßige Abnutzung und Sauberkeit. Die Trennscheibe muss problemlos auf die saubere, unbeschädigte Welle mit DreifachspindelGLEiten.
- Klappen Sie den Griff ganz nach oben.
- Schiebern Sie die Sperrstfte ein.

-
Hebien Sie die Trennscheibe an, indem Sie die Griffleiste mit beiden Händen in die verriegelte Position nach unter drücken.
-
Heben Sie den Schutz des Trennscheibenblocks an.

- Setzen Sie einen der beiden mitgelieferten Schlüssel in den Schlitz auf der Vorderseite des Motors und den anderen am Bolzen der Trennscheibenwelle an.

- Drehen Sie die Trennscheibenwelle mit dem Schlüssel am Wellenbolzen gegen den Uhrzeigersinn, bis der zweite Schlüssel den flachen Bereich am anderen Wellenende berührt.
- Entfernen Sie den Trennscheibenbolzen, indem Sie den Bolzen weiter gegen den Uhrzeigersinn drehen.
- Entfernen Sie den äußeren Trennscheibenflansch.
Entfernen Sie die alte Gleichplatz.
HINWEIS! Die patentierte Gletplatte ist der wichtige Teil des Soff-Cut Ultra Early Entry-Systems. Ist diese verbogen, verdrecht oder beschädigt, kann es bei einem Schnitt zum Abbröckeln oder Reifen kommt. Lagern Sie die Gletplatten vorsichtig und bauen Sie diese richtig ein. Bauen Sie bei jeder neuen Trennscheibe eine neue Gletplatte ein. Verwenden Sie keine gebrauchten Gletplatten.
-
Entfernen Sie sorgfältig den Beton von der Welle, vom Trennscheibenblock und vom Trennscheibenblockschutz.
-
Bringen Sie die saubere Trennscheibe auf der Welle an.

- Bringen Sie den äußerten Trennscheibenflansch an. Ziehen Sie den Bolzen fest.
- Bringen Sie eine neue Gleeplatte an.
Haken Sie das vordere Ende der Gleichplatte am vorderen Stift des Trennscheibenblocks ein.
Verbinden Sie die wichtere Welle des Trennscheibenblocks und die Rückseite der Gleichplatte, indem Sie den Arretierungsstift installieren.
- Bringen Sie den Trennscheibenblockschutz an. Ziehen Sie diesen fest, bis er am Trennscheibenblock anliegt.
- Hebien Sie die Vorder- und Rückseite der Gleichplatte an, um sicherzustellen, dass die Trennscheibe frei in der Gleichplatte beweglich ist.
- Stellen Sie sicher, dass die Lexanabdeckung frei nach oben und unter bewegt werden kann.
Prüfungen vor dem Betrieb
Der Motor wird ohne Öl ausgeliefert. Motoröl bis zum richtigen Füllstand auffluen. Welche Ölsorte verwendet werden muss, kann den technische Daten entnommen werden.
Transport
- Entfernen Sie den Arretierungsstift.
- Klappen Sie den Griff nach vorn.
- Klappen Sie den Führungsarm zurück.
Heben Sie die Säge am mittleren Griff am Rollkäfig an.

Allgemeines

WARNING! Einen Motor in einem geschlossenen oder schlecht belufteten Raum laufen zu halten, kann zum Tod durch Ersticken oder Kohlenmonoxidvergifting führen. Bei der Arbeit in über ein Meter tiefen Baugruben sollen die Lüfter eingeschaltet werden, um eine bessere Luftzirkulation zu gewährleisten.
Kraftstoff und Kraftstoffdämpfe sind sehr feuergefährlich und können beim Einatmen und auf der Haut schwere Schäden verursachen. Beim Umgang mit Kraftstoff istDMAhder Vorsicht geboten und fur eine gute Belüfung zu sorgen.
Die Motorabgase sind frei und konnen. Funken enthalten, die einen Brand verursachen konnen. Aus thisem Grunde sollte das Gerät niemals im Innbereich oder in der Näre von feuergeführlichen Stoffen gestartet werden!
Beim Tanken nicht rauchen und jegliche Wärmequellen vom Kraftstoff fernhalten.
Kraftstoff
Verwenden Sie unverbleites Benzin mit 87 Oktan oder mehr.
Sie können unverbleites Benzin mit maximal 10% Ethanol (E10) verwenden. Dies kann zu Start- und/oder Leistungsproblemen führen. Außendem konnen Metall-, Gummi- und Kunststoffeile des Kraftstoffsystems beschädigt werden. Darüber hinaus besteht Brandgefahr. Der Motor Funktioniert mit E85-Benzin (85% Ethanol) nicht.
Verwenden Sie kein Benzin, das Methanol enthalt.
Verwenden Sie keinen Kraftstoff, der äther als 30 Tage ist. Alter Kraftstoff kann zu Laufproblemen und zu Schäden am Kraftstoffsystem führen.
Tanken

WARNING! Den Motor abstellen und vom demTanken einige Minuten abkühlen{lassen. Füllen Sie Kraftstoff nur in einem belufteten Bereich nach.Füllen Sie niemals in Innenraumen Kraftstoff nach.
Den Tankdeckel stets vorsichtig öffnen, so dass sich ein evtl. vorhandener Überdruck langsam abbauen kann. Füllen Sie niemals zu viel Kraftstoff ein.
Wischen Sie eventuelle Verschmutzungen um den Tankdeckel ab.
Den Tankdeckel nach dem Tanken wieder sorgfältig zudrehen. Achten Sie auf Kraftstofflecks.
Fahrlässiges Handeln erhöht die Brandgefahr.
Nehmen Sie die Maschine aus dem Fahrzeug, und füllen Sie auf dem Boden Kraftstoff nach. Ist dies nicht möglich, füllen Sie Kraftstoff aus einem Kanister und nicht aus einer Zapfpistole nach.
Verwenden Sie nur zugelassene Kraftstoffbehälter.
Füllen Sie Kanister niemals in einem Fahrzeug. Stellen Sie den Kanister zum Befüssen stets auf den Boden und vom Fahrzeug halten auf.
Achten Sie darauf, dass der Füllstutzen bis zum Ende des Füllvorgangs stets in Kontakt mit dem Rand des Kraftstoffbehalters oder Kanisters bleibt. Verwenden Sie keine Vorrichtung zum dauerhaften Offenhalten der Zapfpistole.
Das Gerätiemals starten, wenn:
- Wenn Kraftstoff oder Motoröl auf die Maschine verschüttet wurde: Alles abwischen und restliches Benzin verdunsten halten.
- Wenn Sie Kraftstoff über sich selbst oder ihre Kleidung verschüttet haben,ziehen Sie sich um. Waschen Sie die Körperteile, die mit dem Kraftstoff in Berührung gekommen sind. Wasser und Seite verwenden.
- Wenn es Kraftstoff leckt. Tankdeckel und Tankleitungen regelmäßig auf Undchtigkeiten überprüfen.
Entsorgung
Altöl ist gesundheitsschädlich undarf nicht direkt auf dem Erdboden oder in der Natur beseitigt, sondern muss zur Entsorgung einer Werkstatt oder einer anderen Stelle übergeben werden.
Transport und Aufbewährung
Das Gerät und den Kraftstoff so transportieren und aufbewahren, dass bei eventuellen Undichtigkeiten entweichende Dämpfe oder Kraftstoff nicht mit Funken oder offenem Feuer in Kontakt kommt. z. B. von Elektrogeräten, Elektromotoren, elektrischen Kontakten/ Schaltern oder Heizkesseln.
Zum Transport und zur Aufbewährung von Kraftstoff sind speziell für diesen Zweck vorgesehene und zugelassene Behälter zu verwenden.
Langzeitaufbewährung
Bei längerer Aufbewährung des Geräts ist der Kraftstoffank zu leeren. An der{nachsten Tankstelle konnen Sie erfahren, wie Sie überschüssigen Kraftstoff am besten entsorgen.
Schutzausrüstung
Allgemeines
- Das Gerät niemals benutzen, wenn nicht die Möglichkeit besteht, im Falle eines Unfalls Hilfe herbeizurufen.
Persönliche Schutzausrücktung
Bei der Benutzung des Gerätes muss die vorgeschriebene personliche Schutzausrüstung angewendet werden. Die personliche Schutzausrüstung beseitigt nicht die Unfallgefahr, begrenzt aber den Umfang der Verletzungen und Schäden. Bei der Wahl der Schutzausrüstung einen Fachhändler um Rat Fragen.

WARNING! Bei der Nutzung von Produkten, die schneiden, schleifen, bohren, feine Schleifvorgänge ausführten oder Material formen kann es zu einer Bildung vom Staub und Dämpfen kommt, die schädliche chemische Substanzen enthalten. Informieren Sie sich über die Beschaffenheit des Materials, mit dem Sie arbeiten und/TRagen Sie einen geeigneten Atemschutz.
Eine längerfristige Beschallung mit Lärm kann zu bleibenden Gehörschäden führen. Daher stets einen zugelassenen Gehörschutz tragen. Bei Benutzung von Gehörschützern immer auf Warnsignale oder Zurufe achten. Den Gehörschutz immer abnehmer, sobald der Motor abgestellt ist.
Benutzen Sie immer:
EinenzugelassenenSchutzhelm
Gehorschutz
Zugelassener Augenschutz.
- Atemschutzmaske
Feste, griffsichere Handschuhe.
- Eng anliegende, kräftige und bequeme Kleidung/TRagen, die volle Bewegungsfreiheit gewährt.
Stiefel mit Stahlkappe und rutschfester Sohle.
- Tragen Sie Arbeitshandschuhe aus Gummi, um den Kontakt mit feuchtem Beton zu vermeiden, da dies zu ernsten Hautirritationen führen kann.
Bedenken, dass Kleidung, langes Haar und Schmuck in beweglichen Teilen hangen bleiben können.
Weitere Schutzmaßnahmen

ACHTUNG! Beim Betrieb des Gerätes können Funken einen Brand verursachen. Deshalb soll die Feuerlöschausrückung stets in Reichweite aufbewahrt werden.
Feuerlöscher
- Ein Erste-Hilfe-Set soll immer griffbereit sein.
Allgemeine Sicherheitsvorschriften

WARNING! Lesen Sie sãmtliche Sicherheitshinweise und Anweisungen durch. Die Nichtbeachtung der Warnhinweise und Anweisungen kann Stromschlag, Brand und/oder schwere Verletzungen zur Folge haben.
In thisem Abschnitt werden grundlegende Sicherheitsregeln vorgestellt. Die folgenden Informationen sind kein Ersatz für das Wissen, das ein professioneller Anwender durch seine Ausbildung und praktische Erfahrung erworben hat.
- Lesen Sie die Bedienungsanweisung sorgfältig durch und machen Sie sich mit dem Inhalt vertraut, bevor Sie das Gerät benutzen.
- Denken Sie stets daran, dass Sie als Bediener für eventuell dadurch entstehende Sach- und Personenschäden verantwortlich sind.
- Sümmtliche Bediener müssen für die Benutzung der Maschine ausgebildet sein. Die Verantwortung für die erforderliche Ausbildung liegt beim Eigentümer.
Die Maschine ist sauber zu halten. Die Lesbarkeit aller Schilder und Aufkleber muss gewährleistet werden.

WARNING! Das Gerät kann falsch oder nachlüssig angewendet gefährlich sein und zu schweren oder gar lebensgefährlichen Verletzungen des Benutzers oder anderer Personen führen.
Niemals Kinder oder andere Personen, die nicht mit der Handhabung der Maschine vertraut sind, die Maschine bedieten oder warten halten.
Lassen Sie niemals jedernd anderen das Gerät benutzen, ohne sich zu vergewissern, dass die Person den Inhalt der Bedienungsanweisung verstanden hat.
Niemals das Gerät verwenden, wenn Sie müde sind, Alkohol getrunken oder Medikamente eingenommen haben, die ihre Sehrkraft, Urteilsvermögen oder Körperkontrolle beeinträchtigen können.

WARNING! Unzulässige Änderungen und/oder Zubehörteile können zu schweren Verletzungen oder tödlichen Unfallen von Anwendern oder anderen Personen führen. Unter keinen Umständen finden die ursprüngliche Konstruktion des Gerätes ohne Genehmigung des Herstellers geändert werden.
Das Gerät nicht so modifizieren, dass es nicht länger mit der Originalausführung übereinstimmt, und nicht benutzen, wenn es scheinbar von anderen modifiziert wurde.
Niemals mit einem defekten Gerät arbeiten. Die Wartungs-, Kontroll- und Serviceanweisungen in dieser Bedienungsanweisung sind sorgfältig zu befolgen. Gewisse Wartungs- und Servicemäßnahmen sind von geschulten, qualifizierten Fachleuten auszuführen. Siehe die Anweisungen unter der Überschrift Wartung.
Esistimmer Originalzubehor zu verwenden.

WARNING! These Maschine erzeugt beim Betrieb ein elektromagnetisches Feld. Dieses Feld kann sich unter bestimmen Bedingungen auf die Funktionswise aktiver oder passiver medizinischer Implantate auswirken. Um die Gefahr für schwere oder tödliche Verletzungen auszuschreiben, sollen den Personen mit einem medizinischen Implantat vor der Nutzung dieser Maschine ihren Arzt und den Hersteller des Implantats konsultieren.
Stets mit gesundem Menschenverstand arbeiten!
Es ist unmöglich, alle denkbaren Situationen abzudecken, die beim Gebrauch des Geräts auftreten konnten. Gehen Sie stets mit Vorsicht und Vernunft vor. Lassen Sie sich bei Unsicherheiten von einer Fachkraft beraten. Fragen Sie ihren Fachhändler, ihre Serviceworkstatt oder einen erfahrenen Anwender. Führn Sie keine Arbeiten aus, wenn Unsicherheiten bezüglich der richtigen Vorgehensweise bestehen.
Arbeitssicherheit
Sicherheit im Arbeitsbereich
- Sorgen Sie für einen sauberen und gut ausgeleuchteten Arbeitsbereich. Durch zugestellte oder dunkle Arbeitsbereiche steigt die Unfallgefahr stark an.
- Legen Sie den Umfang des Sicherheitsbereichs fest und spreren Sie diesen ab. Sorgen Sie dazu, dass sich im Gefahrenbereich keine Unbefugten aufhalten.
- Menschen und Tiere können zu einer Ablenkung und damit zum Verlust der Kontrolle über das Gerät führen. Koncentration und Fokussierung auf die Aufgabe sindDMAher stets erforderlich.
- Vermeiden Sie es, das Gerät bei schlechtem Wetter zu benutzen. Z.B. bei dichtem Nebel, starkem Regen oder Wind, großer Kälte usw. Das Arbeiten bei schlechtem Wetter ist sehr ermädend und kann gefährliche Umstände herbeiführen, z. B. Rutschgefahr.
- Beginnen Sie niemals mit der Arbeit, bevor der Arbeitsbereich frei ist und Sie einen sicheren Stand haben.
Persönliche Sicherheit
- Niemals das Gerät verwenden, wenn Sie mäde sind, Alkohol getrunken oder Medikamente eingenommen haben, die ihre Sehrkraft, Urteilsvermögen oder Körperkontrolle beeinträchtigen können.
- Vermeiden Sie ein unbeabsichtiges Anlaufen. Stellen Sie sicher, dass sich der Schalter in der Stellung AUS befindet.
- Überprüfen Sie, ob keine Werkzeuge oder andere Objekte auf der Maschine liegenden wurden.
- Lassen Sie nicht zu, dass die Maschine von Personen verwendet wird, die nicht ausreichend geschult wurden.
- Schalten Sie die Maschine bei längeren Arbeitspausen stets aus.
-
Niemals allein arbeiten. Es muss sich stets eine weitere Person in der Nähe befinden.
-
Machen Sie sich mit der sicheren Anwendung der Maschine und Bedienelemente sowie mit dem schellen Anhalten vertraut. Prägen Sie sich auch die Sicherheitsaufkleber gut ein.
- Sorgen Sie für einen festen Stand. Achten Sie jederzeit darauf, sicher zu stehen und das Gleichgewicht zu bewahren.
Verwendung und Pflege
- Erfahrung ist für den Betrieb der Maschine von grundlegender Bedeutung. Ein Facharbeiter wird empfohlen.
- Führer Sie vor dem Starten stets die tägliche Wartung durch. Siehe die Anweisungen im Abschnitt "Wartung".
- Das Gerät ist für industrielle Anwendungen und die Benutzung durch erfahrne Bediener ausgelegt.
Bedieren Sie die Maschine stets von hinter, und halten Sie beiden Höhe am Griff. - Gehen Sie beim Laden, Entladen und beim Bewegen der Maschine auf Rampen stets vorsichtig vor.
- Verwenden Sie die Maschine nicht zum Transport von Personen oder Ausrüstungen.
- Stellen Sie sich niemals auf die Maschine.
- Das Gerätarf nicht überlastet werden. Eine Überlastung kann Schäden am Gerät verursachen.
- Scharfes und sauberes Werkzeug ist die Voraussetzung für sicheres Arbeiten.
- Alle Teile in Funktionstauglichem Zustand halten und damit sorgen, dass alle Befestigungsteile sorgfältig festgezogen sind.
- Niemals das Gerät unbeaufsichtigt mit laufendem Motor stehen setzen.
- Stellen Sie sichere, dass die Trennscheibe nicht mit dem Boden oder mit anderen Oberflächen in Berührung kommt, wenn Sie die Säge bewegen.
- Vermeiden Sie es, vor die Trennscheibe zu treten oder diese zu berühren, wenn sie sich dreht.
Grundlegende Arbeitsstechnik
Schneiden von Schlitzen
Wenn Beton abbindet oder aushärtet und sich setzen, entstehen interne Spannungen, die zu gelegentlichen Rissen führen können.
Risse halten Zweifel hinsichtlich der Qualität und Verarbeitung des Betons aufkommen. In den Beton werden Schlitze geschritten, um diese Spannungen abzuleiten, bevor sie sich in Form von Rissen entlagen.
Das Soff-Cut Ultra Early Entry-System kontrolliert vereinzelte Risse durchrechtzeitiges Schneiden an vordefinierten Stellen, um im Beton schwachere Bereiche zu schaffen, die anschließend am unteren Rand des Schnits reißen, um für Entlastung zu sorgen.
Die mit Husqvarna Produktken erstellten Schlitze müssen mindestens 1/8 der Betontiefe und mindestens 25mm tief sein.
Schlitze mussen geschritten werden, sobald der Beton das Gewicht der Säge und des Bedieners trägt, ohne dass Spuren hinterlassen werden oder der Beton beschädigt wird.
Schlitze können auf weitere verschiedene Arten angelegt werden. Das Layout ist vorzulegen. Der Sagedienstleister muss vor dem Schneiden ein detailiertes Layout zur Genehmigung vorlagen.
Der Schlitzabstand wird von mehreren Faktoren bestimmt, darunter:
- Betondicke
Art, Anzahl und Ort der Verständkungen - Schrumpfpotenzial des Betonzements (Art, Menge)
Zuschläge (Größe, Menge, Qualität), Verhältnis von Wasser und Zement, Beimischungen, Betontemperatur
Grundreibung - Plattenhalterungen
- Layout von Fundamenten, Racks, Senken, Ausrüstungstischen, Gräben etc.
Umweltfaktoren - Temperatur, Wind, Luftfeuchigkeit - Methoden und Qualität der Betonaushärtung
Generell sollen den Schlitzmuster Bereiche in ungebähr rechteckige Abteilungen mit dem empfohlenen Abstand aufteilen.
Empfohlene Schlitzabstände
| Betondicke (mm) | Maximalabstand (m) |
| 90 (3.5) | 2,4 (8) |
| 100, 114 (4, 4.5) | 3,0 (10) |
| 125, 140 (5, 5.5) | 3,6 (12) |
| 150 oder mehr | 4,5 (15) |
Installieren Sie an allen Schnittpunkten Husqvarna Schutzabdeckungen, um Schäden zu vermeiden. Installieren Sie eine zusätzliche Abdeckung, wenn das rechte Rad über den Schnittpunkt fahrht, um Schäden zu vermeiden.
Maximieren des Soft-Cut-Systems
,Das Timing der Betonverarbeitung – vor allem Fertigstellung und Schlitze – ist von grundlegender Bedeutung... Fehler können hier zu unerwünschen Verschleibeigenschaften (z. B. zu Rissen) führen...' (Auszug aus dem Vorwort des American Concrete Institute (ACI) 302.1 R-96.)
Das patentierte Soff-Cut Ultra Early Entry-System hat die Methoden zur Rissverringerung revolutioniert.
Obwohl Soft-Cut heute definierter ist als je zuvor, werden die Spezifikationen für Ultra Early-Entry vor Ort nicht immer eingehalten.
Damit ein erfahrrener Husqvarna Dienstleister mit dem Soff-Cut-System zufriedenstellende Ergebnisse erzielen kann, müssen die folgenden Komponenten vorhanden sein, um die Spezifikation u erfolllen:
- Eine Soff-Cut Ultra Early Entry-Trockenschnittsäge
- Ein Diamanttnrennblatt der Husqvarna Excel-Serie
- Eine Husqvarna Anti-Riss-Platte für jeder neue Diamanttrennscheibe
- Ein Bediener, der sich mit dem Soff-Cut Ultra Early Entry-System auskennt
Ohne diese Voraussetzungen können Schlitze nicht so geschritten werden, dass sich Risse vermeiden让他们 -- aber bereits zahlter Bauherr.
ACI Spec 302.1R-96 erlautert dies am besten:
,Early-Entry-Trockensägen verwenden mit Diamanten beschichtete Trennscheiben und eine Gleeplatte, die zur Vermeidung von Schäden beiträgt. Dasrechtzeitige Austauschen der Gleeplatten ist zur Vermeidung von Schäden erforderlich. Gleeplatten sollen nach den Empfehlungen des Herstellers ausgetauscht werden ... Ziel des Trockenschneidens ist die Schaffung eines geschwächten Bereichs, sobald ein Schlitz geschritten werden kann ... Aufgrund des Timings dieser Bearbeitung können Schlitze geschritten werden, bevor sich im Beton größere Spannungen entwickeln können ...'
In der Bauzeitschrift der Portland Cement Association (PCA) namens „Concrete Floors on the ground" ist zulesen:
,Richtig angebrachte Schlitze konnen unansehnliche Risse verhindern. Zu den Schlitzaspekten, die zur richtigen Platzierung führen, zahlen ein gutes Schlitzmuster und Layout sowie dasrechtzeitige Anbringen ... Das Timing ist von entscheidender Bedeutung. Es wurden leichte und schnelle Sagen entwickelt, um die Schnittte kurz nach der Fertigstellung anbringen zu konnen (häufig innerhalb der ersten zwei Stunden). Werden die Schlitze weniger Stunden nach der Fertigstellung geschritten, setzen sich die Risse kontrollieren ...'.
Husqvarna verfügt über das einzige Ultra Early Entry-Trockenschnittsystem (Soff-Cut), das Risse durch Timing unter Kontrolle bringt. Mit der patentierten Soft-Cut-Methode werden Schlitze in der Regel innerhalb von zwei Stunden nach der Fertigstellung angebracht.
Mit dem Schneiden sollen begonnen werden, sobald der Beton das Gewicht von Säge und Bediener an den Schlitzortenträgt (vor dem Setzen).
Werden die Schlitze nicht innerhalb dess Zeitrahmens angebracht, wird die Soff-Cut Ultra Early Entry-Methode nicht befolgt, und der Bauherr erhalten nicht die bestellte Leistung oder das erwartete Produkt.
Transport und Aufbewährung

ACHTUNG! Verwenden Sie die richtige Hebetechnik. Heben Sie die Säge am mittleren Griff am Rollkäfig an.
- Wird die Säge von zwei Personen angehoben, verwenden Sie die Leiste des Rollkäfigs an der Seite, und haben Sie die Säge mit zwei Handen an.
- Lagern Sie die Säge stets vollständig abgesenkt und gegen Bewegung gesichert.
Schlieben Sie das Kraftstoffventil. - Achten Sie beim Transport der Schneideausrüstung darauf, dass diese nicht beschädigt wird.
- Bewahren Sie das Gerät für Kinder und Unbefugte unzugänglich in einem abschlussbaren Raum auf.
- Zerlegen Sie die Trennscheibe vor dem Transportieren oder Lagern der Maschine.
Lagern Sie die Maschine und die dazugehörigen Werkzeuge an einem trockenen, frostsicheren Ort.
Starten und stoppen
Vor dem Start

WARNING! Lesen Sie die Bedienungsanweisung sorgfältig durch und machen Sie sich mit dem Inhalt vertraut, bevor Sie das Gerät benutzen.
Tragen Sie persönliche Schutzausrüstung.
Siehe die Anweisungen unter der Überschrift "Persönliche Schutzausrüstung".
Sorgen Sie damit, dass sich innerhalb des Arbeitsbereichs keine unbefugten Personen aufhalten, andernfalls besteht die Gefahr von schweren Verletzungen.
Überprüfen Sie, ob die Abdeckungen ordnungsgemäß montiert wurden und keine Beschädigungen aufweisen. Lesen Sie hierzu die Anweisungen in den Abschnitten „Sicherheitsausrüstung der Maschine" und „Montage und Einstellungen".
- Warten Sie das Gerät täglich. Siehe die Anweisungen im Abschnitt "Wartung".
- Prüfen Sie, ob der Griff aufgeklappt und arretiert ist.
- Prüfen Sie, ob die vordere Führung nach vorn gedreht ist.
Starten
Motor anlassen
- Öffnen Sie das Kraftstoffventil.

- Hebien Sie die Trennscheibe an, indem Sie die Griffleiste mit beiden Händen in die verriegelte Position nach unter drücken.
- Bringen Sie den Schalter in die Stellung „EIN“ (Position „1“), um den Motor zu starten. Die Trennschieve beginnt, sich zu drehen, wenn der Motor eingeschaltet ist.

- Bewegen Sie den Geschwindigkeitshebel 1/3 in Richtung der geöffneten Stellung.

Schlieben Sie den Choke.

Auf diese Weise wird das Kraftstoffgemisch für einen Kaltstart angereichert.
Bei offenem Choke wird die richtige Mischung für den Betrieb nach dem Start und für den Warmstart eines Motors bereitgestellt.
Starthandgriff ziehen.
- Öffnen Sie den Choke nach dem Starten langsam.
Lassen Sie den Motor eine Minute warmlaufen.
Beginnen Sie mit dem Sagen.
- Öffnen Sie die Motordrossel vollständig, um die maximale Geschwindigkeit zu erreichen.
- Richten Sie die Säge an der Schnittlinie aus. Verwenden Sie dazu das weiß Rad an der vorderen Führung und die Dreiecksmarkierung auf der Rückseite des Trennscheibenblocks.
- Drücken Sie den Sägegriff nach unten, undziehen Sie den Trennscheibenhebel, um die Trennscheibe langsam in den Beton abzuseken.
- Schieben Sie die Säge nach vorn, um zu schneiden, während das Führungsrad ausgerichtet bleibt.
- Schieben Sie die Säge auf den ersten 15 m mit halber Geschwindigkeit, damit sich die Trennscheibe einlaufen kann und die volte Standzeit bietet.
- Steigern Sie den Vorschub, bis Trennscheibe und Motor mit maximaler Effizienz arbeiten. Schieben Sie die Sägen nicht mit Gewalt vor.
- Wenn Sie sich einer Wand nähern, haben Sie die vordere Führung an, und verwenden Sie die dreieckige Führung des Trennschreibenblocks, um die letzten Meter zu schneiden.
- Lassen Sie nicht zu, dass der Trennscheibenblock an ein Objekt stöhrt. Dies kann zu Schäden führen.
Stoppen
- Heben Sie die Trennscheibe an, indem Sie die Griffleiste mit beiden Händen in die verriegelte Position nach unter drücken.
- Bewegen Sie den Drosselhebel in die geschlossene Position.
- Bringen Sie den Schalter in die Stellung „AUS" (Position „O“).
Schlieben Sie das Kraftstoffventil.
Reinigen Sie die Maschine.
Allgemeines

WARNING! Der Bedienerarf nur die Wartungs- und Servicearbeiten ausführren, die in dieser Bedienungsanleitung beschreiben sind.Großere Eingriffe sind von einer autorisierten Serviceworkstatt auszuführen.
Sofern nicht anders angegeben, muss der Motor bei den in thisem Kapitel beschriebenen Arbeitsen ausgeschaltet sein.
Tragen Sie persönliche Schutzausrüstung.
Siehe die Anweisungen unter der Überschrift "Persönliche Schutzausrüstung".
Die Lebensdauer der Maschine kann verstehen, wenn die Wartung der Maschine nicht ordnungsgemäß und Service und/oder Reparaturen nicht fachmännisch ausgeführten werden. Weitere Informationen erteilt ihren bereits die{nachste Serviceworkstatt.
Lassen Sie die Maschine regelmäßig von Ihr Hemusqvarna-Handler überprüfen und notwendige Einstellungen und Reparaturen vornehmen.
Wartungsschema
Dem Wartungsplan entnehmer Sie, welche Teile des Gerätes in welchen Zeitintervallen gewartet werden müssen. Der Berechnung der Wartungsintervalle wurde die tägliche Nutzung des Gerätes zugrunde gelegt. Einer davon abweichenden Nutzungsfrequency entsprechen deshalb andere Wartungsintervalle.
| Tägliche Wartung | Wöchentliche Wartung / 40 Stunden | Monatliche Wartung / 200 Stunden | |
| Reinigung | Außenreinigung | Luftfilter | Kraftstoffbehälter |
| Zündkerze | |||
| Prüfung | Generalinspektion | Antriebsriemen | Zündkerze und Elektrodenabstand |
| Motorschutz | |||
| Lexan-Abdeckung* | |||
| Trennscheibenblockschutz * | |||
| Klinge** | |||
| Kraftstofffulstand*** | |||
| Ölstand | |||
| Auswechseln | Öl (nach den ersten 20 Stunden, dann alle 100 Stunden) | Luftfilterelement | |
| Schmierung | Trennscheibenwellenlager |
- Siehe Anweisungen im Abschnitt "Sicherheitsausrüstung des Gerätes".
Siehe Anweisungen im Abschnitt "Klingen" und "Montage und Einstellungen".
* Siehe Anweisungen im Abschnitt „Umgang mit Kraftstoff".
Reinigung
Außenreinigung
- Reinigen Sie das Gerät tätiglich, indem Sie es nach Abschluss der Arbeiten mit klarem Wasser abspüssen. Die Handgriffe sauber und trocken halten.
- Entfernen Sie nach jeder Nutzung Betonrückstände vom Trennscheibenblock. Verwenden Sie eine robuste Bürste oder einen größten Pinsel.
- Wenn Kraftstoff oder Motoröl auf die Maschine verschüttet wurde: Alles abwischen und restliches Benzin verdunsten halten.
- Halten Sie alle Öffnungen und Schlitze an der Trennscheibe sauber, sodass die Luft frei in den Motorbereich stromen und den Motor kühlen kann.

Luftfilter
- Reinigen Sie den Urethanschaum (1) mit einem Reinigungsmittel. Lassen Sie den Filter trocknen.
- Reinigen Sie das Papierelement (2), indem Sie leicht dagegen klopfen, um Schmutz zu entfernen. Blasen Sie Staub weg.
Zündkerze
- Stellen Sie sichere, dass die Abdeckung der Zündkerze und der Zündleiter unbeschädigt sind, um Stromschlaggefahr zu vermeiden.
- Entfernen Sie Ablagerungen mit einem Zündkerzenreiniger oder mit einer Drahtbürste von der Zündkerze.
Kraftstoffbehälter
- Prüfen Sie den Kraftstoffbehälter auf Wasser und Verschmutzung.
- Wenn sie Wasser und Verschmutzungen entfernen müssen, schließen Sie den Kraftstoffhahn, und entfernen Sie den Kraftstoffbehälter.
- Spülen Sie den Kraftstoffbehälter nach dem Reinigen mit Kerosin oder Benzin.
- Bringen Sie den Behälter sichere wieder an, um Leckagen zu vermeiden.
Prüfung
Generalinspektion
- Schrauben und Muttern nachziehen.
- Auf eventuellvorhandenen Kraftstoff- und Olaustritt kontrollieren.
Motorschutz
- Prüfen Sie den Trennscheibenschlitz auf Schäden und übermögen Verschleß.
- Achten Sie auf der Betonseite auf Grate und Verformungen.
- Bauen Sie bei jeder neuen Trennscheibe eine neue Gleichplatz ein. Verwenden Sie keine gebrauchten Gleichplatten.
- Hebien Sie die Vorder- und Rückseite der Gleichplatte an, um sicherzustellen, dass die Trennscheibe frei in der Gleichplatte beweglich ist.
Ölstand
Schalten sie den Motor aus.
- Senken Sie die Maschine ab, und stellen Sie sicher, dass diese ebenerdig stehen.
- Oleinfüldeckel abnehmer und den Messstab abwischen.
- Ölstand prüfen. Schrauben Sie den Peilstab nicht in den Ölinfullstutzen ein, um den Ölpegel zu prüfen.

- Bei niedrigem Ölstand mit Motoröl bis zur oberen Markierung am Ölmessstab einfüllen. Informationen zum wichtigen Öl finden Sie im Abschnitt „Technische Daten".
- Öleinfulldeckel aufschrauben.
Antriebsriemen
- Überprüfen, dass der Antriebsriemen intakt ist und keine sightbaren Defekte aufweist.
Die Riemenspannung wird mit dem Riemenspanner erzielt und muss nicht eingestellt werden. - Prüfen Sie, ob sich der Riemenspanner frei nach oben und unter bewegen{lasset.
- Stellen Sie sicher, dass die Lager des Riemenspanners frei beweglich sind.
Trennscheibenwellenlager
Schmieren Sie die Trennscheibenlager mit drei Einheiten an Schmierfett auf Basis von Lithium 12.

Zündkerze und Elektrodenabstand
- Reinigungsanweisungen finden Sie unter „Reinigen".
- Prüfen Sie den Elektrodenabstand. Der Abstand muss 0,6 mm bis 0,7 mm betragen.

- Stellen Sie den Abstand bei Bedarf durch vorsichtiges Biegen der Seitenelektrode ein.
Auswechseln
Ol
Wechseln Sie das Öl nach den ersten 20 Stunden und dann alle 100 Stunden.
Motoröl bei warmem Motor wechseln.
Schalten sie den Motor aus.
- Platzieren Sie einen Aufgangbehälter unter dem Ablass, und entfern den Sie den Stopfen.

- Öl in den Behälter laufen setzen.
Den Hahn wieder einsetzen und mit neuem Öl fällen. - Im gefüllten Zustand muss der Ölpegel an der oberen Markierung des Peilstabs stehen.
Ölsensor
Der Motor verfügt über ein Ölalarmsystem, das den Motor bei zu geringem Ölstand stoppt.
Der Motor kann erst wieder nach Auffüllen des Öl's gestartet werden.
Entsorgung
Altol ist gesundheitsschädlich undarf nicht direkt auf dem Erdboden oder in der Natur beseitigt, sondern muss zur Entsorgung einer Werkstatt oder einer anderen Stelle übergeben werden.
Luftfilterelement
Reinigungsanweisungen finden Sie unter „Reinigen".
Tauschen Sie das Papirelement monatlich aus (bei Bedarf auch früher).
Weitere Motorinformationen
Weitere Informationen zur Wartung des Motors finden Sie im Bedienerhandbuch.
Dieses Handbuch enthalt außer dem spezifische Informationen zu Spezifikationen, Tuning-Teilen, Motorgewährleistung, Emissions-Compliance etc.
Störungssuchplan

WARNING! Die meisten Unfälle ereignen sich bei der Störungsbehebung, dem Service oder der Wartung der Maschine, weil das Wartungspersonal sich hierfür in den Sicherheitsbereich der Maschine aufhalten muss. Unfälle können allein dadurch verhindert werden, dass man derartige Einsätze sorgfältig plant und darauf vorsichtig vorgeht.
Sofern nicht anders angegeben, muss der Motor bei den in thisem Kapitel beschriebenen Arbeits ausgeschaltet sein.
| Die Säge erzeugt Abbröckelungen und Risse. | Prüfen Sie, ob die Trennscheibe abgenutzt, glänzend, verbogen oder beschädigt ist. Stellen Sie safer, dass sich die Gleichplatz entlang der Welle frei bewogen{lösst, ohne die Diamanttrennischebe zu berühren. Prüfen Sie die Gleichplatz auf übermögen Verschleiß und Abstand zur Diamanttrennischebe. Prüfen Sie den unteren Rand der Gleichplatz auf Metallgrate und Unebenheiten. Stellen Sie safer, dass die Gleichscheibe nicht verreht oder verbogen ist. Prüfen Sie, ob sich die Lexan-Abdeckungen drei nach oben und unter bewogen{lassen. Stellen Sie safer, dass die Gleichplatz an beiden Enden durch Federn nach unten gedrückt wird. Kippen oder bewegen Sie die Säge beim Schneiden nicht seitwärts. Ändern Sie den Druck auf die Griffleiste nach und nach, um die Säge zu steuern. Prüfen Sie, ob der Motor richtig und mit voller Geschwindigkeit lαuft. Prüfen Sie den Riemen und die Rolle auf richtige Spannung. Stellen Sie safer, dass die Diamanttrennischebe korrekt montiert und mit sauberen Flanschen gesichert ist. Stellen Sie safer, dass die Diamanttrennischebe den Spezifikationen für ihre Region entspricht. Stellen Sie safer, dass die Gleichplatz/Säge nicht durch Rückstände angehoben werden kann. Verwenden Sie an allen Schnittpunkten Husqvarna Schutzabdeckungen. Entfernen Sie überschüssigen Beton vom Trennscheibenblock. Prüfen Sie, ob die Abweiser im Trennscheibenblock verbogen oder verklebt sind. Stellen Sie safer, dass die Wellen im Trennscheibenblock nicht verbogen oder beschädigt sind. |
| Die Säge ziett beim Schneiden nach einer Seite. | Prüfen Sie, ob die vorderfuhrung richtig mit dem Mittelpunkt der Diamanttrennischebe ausgerichtet ist. Prüfen Sie, ob die Trennscheibe abgenutzt, glänzend, verbogen oder beschädigt ist. Kippen oder bewegen Sie die Säge beim Schneiden nicht seitwärts. Ändern Sie den Druck auf die Griffleiste nach und nach, um die Säge zu steuern. Stellen Sie safer, dass alle Räder frei beweglich sind. Schieben Sie die Säge nicht mit Gewalt vor. Lassen Sie die Diamanttrennischebe mit eigener Geschwindigkeit sagen. Prüfen Sie die Gleichplatte auf Schäden und Grade. |
| Der Motor springt nicht an | Prüfen Sie, ob der Tank Kraftstoff und den richtigen Kraftstoff enthalt. Stellen Sie safer, dass der Kraftstoff kein Wasser enthalt. Prüfen Sie, ob das Kraftstoffventil geöffnet ist. Prüfen Sie, ob sich der EIN/AUS-Schalter in der Stellung „EIN“ befindet. Prüfen Sie, ob die Zündleitung mit der Zündkerze verbunden ist. Die Maschine ist „abgesoffen". Stellen Sie den Choke nach den Vorgaben des Herstellers ein. Prüfen Sie, ob der Choke bei einem Kaltstart gezogen ist. Stellen Sie den Choke nach den Vorgaben des Herstellers ein. Der Ölstand ist zu niedrig. Der Motor verfügt über ein Ölalarmsystem, das den Motorstart verhindert, bis Öl nachgefüllt wurde. Prüfen Sie, ob der Luftfilter verschmutzt oder verstopt ist. Prüfen Sie, ob die Trennscheibenwelle frei beweglich ist und ob sich Beton im Trennscheibenblock abgelagert hat. |
| Der Motor lauft unruhig, es kommt zu Fehlzündungen, und der Motor erreicht nicht die volle Geschwindigkeit. | Prüfen Sie, ob der Tank Kraftstoff und den richtigen Kraftstoff enthalt. Stellen Sie safer, dass der Kraftstoff kein Wasser enthalt. Der Ölstand ist zu niedrig. Der Motor verfügt über ein Ölalarmsystem, das den Motorstart verhindert, bis Öl nachgefüllt wurde. Prüfen Sie, ob der Luftfilter verschmutzt oder verstopt ist. Prüfen Sie, ob die Zündkerze sauber ist und ob der Elektrodespalt stimmt. Prüfen Sie, ob der Drosselhebel korrekt eingestellt ist. Prüfen Sie, ob der Choke bei einem Kaltstart gezogen ist. Stellen Sie den Choke nach den Vorgaben des Herstellers ein. |
Technische Daten
Motor
| Modell | Robin EX 13 |
| Typ | Luftgekühler Benzin-Viertaktmotor mit einem Zylinder, obenliegender Nockenwelle |
| Emissionen | Entspricht den Bestimmungen von EPA Phase 2 und CARB Tier II USA |
| Maximale Leistung, kW (PS)* | 3,2 (4.3) |
| Kraftstofftankinhalt, Liter | 2,7 (0.7) |
| Luftfilter | Wirbeltyp (Trocken-Dualelement mit Vorfilter) |
| Kühlung | Luftgekühlt mit internen und externen Kühlkörpern |
| Zündkerze | NGK BR-6HS (CHAMPION RL86C) |
| Ölsystem | Ölalarmsystem mit automatischem Abschaltssensor |
| Öltankvolumen in I | 0,6 (0.6) |
| Öltyp | Viertakt-Fahrzeugöl mit API-Service-Klasse SE oder höher. |
- Nach Angaben des Motorherstellers
Viskosität - Öl

Gewicht und Abmessungen
Klinge
| Gewicht, ohne Kraftstoff, kg | 38 (84) |
| Gewicht, mit Kraftstoff, kg | 41 (91) |
| Länge mit eingeklapptem Griff, mm | 864 (34) |
| Breite, mm | 483 (19) |
| Höhe, mm | 533 (21) |
| Trennscheibentyp | Excel-Trennscheiben, Trockenschnitt mit Dreifachspindel |
| Material | Nur Frischbeton |
| Max. Trennscheibengrösge, mm | 152 (6) |
| Maximale Schnitttiefe, mm | 30 (1 3/16) |
| Schnittabstand von der Wand, mm | 76 (3) |
| Trennscheibenrotation | Gegen den Uhrzeigersinn, nach oben |
| Drehzahl der Trennscheibenwelle, U/min | 4450 (im Durchschnitt 3800) |
| Steuerung der Schnitttiefe | Anleitung |
Mittlere Schnittrate
Nur Schätzung Geschwindigkeit variiert je nach Arbeitsbedingungen und Betonmischung.
| Weiche Zusätz, m/min | 3,7 (12) |
| Mittlere Zusätz, m/min | 2,4 (8) |
| Harte Zusätz, m/min | 1,2 (4) |
| Geräuschemissionen (siehe Anmerkung 1) | |
| Gemessene Schalleistung dB(A) | 98 |
| Garantierte Schalleistung LWA dB(A) | 99 |
| Lautstärke (siehe Anmerkung 2) | |
| Äquivalenter Schalldruckwert am Ohr des Bedieners, dB (A) | 84 |
| Vibrationspegel, ahv (siehe Anmerkung 3) | |
| Griff rechts, m/s2 | 7,9 |
| Griff links, m/s2 | 7,8 |
Anmerkung 1: Umweltbelastende Gerauschemission gemessen als Schallleistung (LwA) gemäß EG-Richtlinie 2000/14/EG.
Anmerkung 2: Schalldruckpegel gemäß EN 13862. Berichten zufolge liegt der Schalldruckpegel normalerweise bei einer Ausbreitungsklasse (standardmäßige Ausbreitung) von 1,0 dB (A).
Anmerkung 3: Vibrationspegel gemäß EN 13862. Berichten zufolge liegt der Vibrationspegel normalerweise bei einer Ausbreitungsklasse (Standardabweichung) von 1m / s^2
EG-Konformitätserklärung
(nur für Europa)
Husqvarna AB, SE-561 82 Huskvarna, Schweden, Tel. +46-36-146500, erklart hiermit, dass die Early Entry-Säge Husqvarna Soff-Cut 150, Soff-Cut 150 D ab den Seriennummern aus 2010 (das Jahr wird in Textform vor der Seriennummer auf dem Typenschild angegeben) den Anforderungen der RATSRICHTLINE entspricht:
vom 17. Mai 2006 „Maschinen-Richtlinie' 2006/42/EG
vom 15. Dezember 2004 "über elektromagnetische Verträgelichkeit" 2004/108/EWG.
vom 8. Mai 2000 "über umweltbelastende Gerauschemissionen von zur Verwendung im Freien vorgesehenen Geräten und Maschinen" 2000/14/EG.
Folgende Normen wurden angewendet: EN ISO 12100:2003, EN 55014-1:2006, EN 55014-2/A1:2001, EN 61000-3-2:2006, EN 61000-3-3/A1/A2:2005, EN 13862/A1:2009.
(Bevollmächtigter Vertreter für Husqvarna AB, verantwortlich für die technische Dokumentation.)
EinfachAnleitung