P2501 - Radio SCANSONIC - Gratis gebruiksaanwijzing en handleiding
Vind de handleiding van het apparaat gratis P2501 SCANSONIC in PDF-formaat.
Gebruikersvragen over P2501 SCANSONIC
0 vraag over dit apparaat. Beantwoord die u kent of stel uw eigen vraag.
Stel een nieuwe vraag over dit apparaat
Download de handleiding voor uw Radio in PDF-formaat gratis! Vind uw handleiding P2501 - SCANSONIC en neem uw elektronisch apparaat weer in handen. Op deze pagina staan alle documenten die nodig zijn voor het gebruik van uw apparaat. P2501 van het merk SCANSONIC.
GEBRUIKSAANWIJZING P2501 SCANSONIC
Locatie van bedieningen en indicators:


Functies op het voorpaneel:
-
FM Frequentie-indicator - Toont het FM bereik.
-
Het oranje anschergrundlicht schakelt in zodra der radio op FM worden ingesteld.
-
Frequentieregeling - Rechtsom draaien om FM af te stemmen op 88-108 MHz.
-
Rechtsom draaien om AM af te stemmen op 540-1600 KHz.
-
AM Frequentie-indicator - Toont het AM bereik.
-
Het oranje achtergrundlicht schakelt in zodra der radio op AM worden ingesteld.
-
Modusschakelaar - OPLADEN – In deze stand worden het laden van de batterij geactiveerd.
-
UIT - In denen stand worden de radio uitgeschakeld.
-
FM - Incke stand wordt de FM band ingeschakeld.
-
AM-Indeze stand wordt de AM band ingeschakeld.
-
LED Indicator
-
Rood Licht geeft aan de batterij worden opgeladen.
-
Groenlicht geeft aan dat de batterij volledig is opgeladen.
-
Geenlicht betekent dat het opladen losgekoppeld is.
Netherlands
- Luidspreker - Ingebouwde 3" drive.
- Volumeregeling - Rechtsom draaien om het volume te verhogen.
- Linksom draaien om het volume te verlagen.
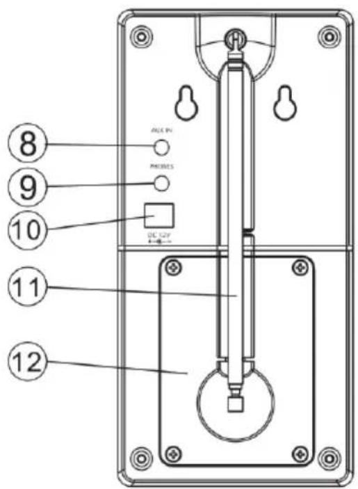
Functies op het hinterpaneel:
- AUX in - Ingang voor aansluiting van audiobronnen, zoals MP3 Speler, iPod, CD Speler of TV.
- Hoofdtelefoonuitgang - Uitgang voor aansluiting van een afzonderlijke hoofdteleloon. Dit zal de hoofdluidspreker automatisch dampen.
- AC/DC ingang - Voor aansluiting van de stroomadapter (inbegrepen) en aansluiting op een voedingsbron voor AC gebruik of opladen van de batterij.
-
FM antenna - Pas de lenghte aan van de uitschuifbare anteenn en richt het totdat u de Beste FM ontvangst verkrijgt. Deze instelling heeft geen effect op AM ontvangst. De radio is voorzien van een ingebouwde AM anteenne en dient te worden gedraaid voor optimale ontvangst van deze band. Houd de FM anteenne ingetrokken in vergrendelde positie wanner nicht in gebruik om beschadiging te voorkomen.
-
Batterijhouser - Voor installment van oplaadbare batterijen.
Gebruiksaanwijzingen
- Steek voor AC voeding de stroomadapter in de AC/DC ingang op dechterzijde van het apparaat en sluit het verzolgens aan op een AC stopcontact (AC 230V-50Hz).
- Controller of de batterij volledig is opgeladen voordat u de radio op batterijvoeding LAST.
-
Haal de stroomadapter uit het stopcontact wanneer nicht in gebruik.
-
Schakel het apparaat in door de Modusschakelaar maar FM of AM te draaien.
- Het oranje ache tergrundlicht van het Frequentievenster za nu oplichten.
- Stem af op het gewenste station binnen de geselecteerde band door de Frequentieregeling zo nauwkeurig möglichnestaar de gewenste frequenta te draaien voor de Beste ontvangst.
- Stem het volume af op het gewenste niveau.
- Zet de Modusschakelaar op stand UIT om het apparaat uit te schakelen.
Netherlands
Batterijvoeding
Dit apparatus is voorzien van een ingebouwde, oplaadbare batterij.
Normale batterijlading (radio uitgeschakeld):
- Stel de Modusschakelaar in op OPLADEN.
- Steek de stroomadapter in de AC/DC ingang op de achterzijde van het apparaat enervoigens in een AC stopcontact (AC 230V-50Hz).
- Rood Licht in de LED indicator zal knipperen wonneer de batterijen worden opgeladen.
Groenlicht in de LED indicator zal inschakelen wonneer volledig opgeladen. - Koppel de voedingsbron los wanneer de LED groen is.
- LED schakeltuit.
- Het apparaat kan met een volledig opgeladen batterij (min. 8aar) ongeveer 7-8aar op DC voeding werken op 50% volumeniveau.
- Wanner de batterij uitgeput begint te raken, kan de radio-ontvangst zwakker worden en het geluid verrormen.
Druppellading (radio ingeschakeld):
- Stel de Modusschakelaar in op UIT.
- Steek de stroomadapter in de AC/DC ingang op de achterzijde van het apparaat enervoigens in een AC stopcontact (AC 230V-50Hz).
Schakel het apparaat in door de Modusschakelaar op FM of AM te zetten. - Rood Licht in de LED indicator zal knipperen wonneer de batterijen worden opgeladen.
Groenlicht in de LED indicator zal inschakelen wonneer volledig opgeladen. - Koppel de voedingsbron los wanneer de LED groen is.
- LED schakeltuit.
- Het apparaat kan met een volledig opgeladen batterij (min. 8aar) ongeveer 7-8aar op DC voeding werken op 50% volumeniveau.
- Wanner de batterij uitgeput begint te raken, kan de radio-ontvangst zwakker worden en het geluid verrormen.
Netherlands
Belangrijke Veiligheidsvoorschriften:
Reiniging
Veeg het apparaat af met een zicht stofdoekje als het stoffig is geworden. Gebruik geen was, poetsspuitminder of schurende reinigingsproducten.
Onderdelen / Batterij Vervangen
Wannerer onderdelen of batterijen aan verranging toe zich, dient u te controleren of de monteur verrangende onderdelen gebruikt zoals gespecifieerd door de fabrikant of metdezelfde kenmerken als het originele onderdeel.
Ongeauthoriseerde reserveonderdelen können tot brand, elektrische schokken of andere gezaren leiden.
Waarschuwing
Laat water of andere vloeistoffen nooit in het apparaatterechtkomen.
Condensatie
Condensatie kan in de volgende geallen binnenin het apparaat vormen:
Wanner u het apparaat van buiten maar een warme kamer verplaatst of wanner de radio in een Koude kamer is die snel worden verwarmd.
Als het apparaat in de zomer plotseling vanuit een kamer of auto met airconditioning maar een hete of vochtige plek worden verplaatst.
Dit apparaat kan eventueel incorrect werken wanner condensatie opttreedt.
Wacht in dit geval 1 tot 2 eer voordat u het apparaat wee gebruikt.
Probeer dit product nicht zich te repareren. Laat alle reparations over aan gekwalificeerd onderhoudspersoneel.
Specifications:
Model: Casino 2500
Type: AM/FM draagbare mono radio
Met oplaadbare batterij.
FM Frequentie: 87.5 - 108 MHz.
AM Frequentie: 540 - 1600 KHz.
Luidsprekeruitgang: 4 W RMS / 40 W PMPO.
Voeding: 220 - 240V 50Hz.
Specifications en ontwerp können zonder kennisgeving worden gewijzigd.

Dit product voldoet aan Richtlijn 2002/96/EC Afgedankte Elektrische en Elektronische Apparatuur (WEEE). Dank dit product NIET af als ongeschaden huishoudelijk afval, maar gebruik de beschikbare inzamelpunten voor afvalverwerking.

SimpelGids