P2500 - Draagbare radio SCANSONIC - Gratis gebruiksaanwijzing en handleiding
Vind de handleiding van het apparaat gratis P2500 SCANSONIC in PDF-formaat.
Gebruikersvragen over P2500 SCANSONIC
0 vraag over dit apparaat. Beantwoord die u kent of stel uw eigen vraag.
Stel een nieuwe vraag over dit apparaat
Download de handleiding voor uw Draagbare radio in PDF-formaat gratis! Vind uw handleiding P2500 - SCANSONIC en neem uw elektronisch apparaat weer in handen. Op deze pagina staan alle documenten die nodig zijn voor het gebruik van uw apparaat. P2500 van het merk SCANSONIC.
GEBRUIKSAANWIJZING P2500 SCANSONIC
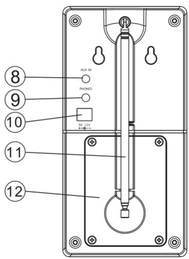
Locatie van bedieningen en indicators:


Functies op het voorpaneel:
- FM Frequentie-indicator - Toont het FM bereik.
- Het oranje anschergrundlicht schakelt in zodra de radio op FM worden ingesteld.
- Frequentieregeling - Rechtsom draaien om FM af te stemmen op 88-108 MHz.
- Rechtsom draaien om AM af te stemmen op 540-1600 KHz.
- AM Frequentie-indicator - Toont het AM bereik.
- Het oranje anschergrundlicht schakelt in zodra de radio op AM worden ingesteld.
- Modusschakelaar - OPLADEN - In deze stand worden het laden van de batterij geactiveerd.
- UIT - In denen stand worden de radio uitgeschakeld.
- FM - In denen stand worden de FM band ingeschakeld.
- AM-Indeze stand wordt de AM band ingeschakeld.
- LED Indicator - Rood Licht geeft aan de batterij worden opgeladen.
- Groenlicht geeft aan dat de batterij volledig is opgeladen.
- Geenlicht betekent dat het opladen losgekoppeld is.
Netherlands
- Luidspreker
- Ingebouwde 3" drive.
- Volumeregeling
- Rechtsom draaien om het volume te verhogen.
- Linksom draaien om het volume te verlagen.
Functies op het achterpaneel:
-
AUX in
-
Ingang voor aansluiting van audiobronnen, zoals MP3 Speler, iPod, CD Speler of TV.
-
Hoofdtelefoonuitgang
-
Uitgang voor aansluiting van een afzonderlijke hoofdtelefoon. Dit zal de hoofdluidspreker automatisch dampen.
-
AC/DC ingang
-
Voor aansluiting van de stroomadapter (inbegren) en aansluiting op een voedingsbron voor AC gezruik of opladen van de batterij.
-
FM antenna
-
Pas de lenghte aan van de uitschuifbare antennen en richt het totdat u de Beste FM ontvangst verkrijgt. Deze instelling heeft geen effect op AM ontvangst. De radio is voorzien van een ingebouwde AM antennene en dient te worden gedraaid voor optimale ontvangst van deze band. Houd de FM antennene ingetrokken in vergrendelde positie wanner net in gebruik om beschadiging te voorkomen.
-
Batterijhouser
-
Voor installmentie van oplaadbare batterijen.
Gebruiksaanwijzingen
- Steek voor AC voeding de stroomadapter in de AC/DC ingang op deijkenzijde van het apparaat en sluit hetervolgens aan op een AC stopcontact (AC 230V-50Hz).
-
Controller of de batterij volledig is opgeladen voordat u de radio op batterijvoeding LAST WERKEN.
Haal de stroomadapter uit het stopcontact wanneriet nicht in gebruik. -
Schakel het apparaat in door de Modusschakelaar maar FM of AM te draaien.
-
Het oranje ache tergrundlicht van het Frequentievenster za nu oplichen.
-
Stem af op het gewenste station binnen de geselecteerde band door de Frequentieregeling zo nauwkeurig möglichk maar de gewenste freiennent te draaien voor de Beste ontvangst.
- Stem het volume af op het gewenste niveau.
- Zet de Modusschakelaar op stand UIT om het apparaat uit te schakelen.
Netherlands
Batterijvoeding
Dit apparaat is voorzien van een ingebouwde, oplaadbare batterij.
Normale batterijlading (radio uitgeschakeld):
Stel de Modusschakelaar in op OPLADEN.
- Steek de stroomadapter in de AC/DC ingang op dechterzijde van het apparatusat enervoigens in een AC stopcontact (AC 230V-50Hz).
- Rood Licht in de LED indicator zal knipperen wanner de batterijen worden opgeladen.
Groenlicht in de LED indicator zal inschakelen wanner volledig opgeladen.
Koppel de voedingsbron los wanner de LED groen is.
LED schakeltuit.
- Het apparaat kan met een volledig opgeladen batterij (min. 8aar) ongeveer 7-8aar op DC voeding werken op 50% volumeniveau.
- Wonneer de batterij uitgeput begint te raken, kan de radio-ontvangst zwakker worden en het geluid verrormen.
Druppellading (radio ingeschakeld):
Stel de Modusschakelaar in op UIT.
- Steek de stroomadapter in de AC/DC ingang op dechterzijde van het apparatusat enervoigens in een AC stopcontact (AC 230V-50Hz).
Schakel het apparaat in door de Modusschakelaar op FM of AM te zetten.
- Rood Licht in de LED indicator zal knipperen wanner de batterijen worden opgeladen.
Groenlicht in de LED indicator zal inschakelen wanner volledig opgeladen.
- Koppel de voedingsbron los wanner de LED groen is.
LED schakeltuit.
- Het apparaat kan met een volledig opgeladen batterij (min. 8aar) ongeveer 7-8aar op DC voeding werken op 50% volumeniveau.
- Wonneer de batterij uitgeput begint te raken, kan de radio-ontvangst zwakken worden en het geluid verrormen.
Netherlands
Belangrijke Veiligheidsvoorschriften:
Reiniging
Veeg het apparaat af met een zacht stofdoekje als het stoffig is geworden.
Gebruik geen was, poetsspuitmiddel of schurende reinigingsproducten.
Onderdelen / Batterij Vervangen
Wannerer onderdelen of batterijen aan verranging toe zichn, dient u te controleren of de monteur verrangende onderdelen gebruikt zoals gespecifieerd door de fabrikant of metdezelfde kenmerken als het originele onderdeel.
Ongeautoriseerde reserveonderdelen können tot brand, elektrische schokken of andere gezaren leiden.
Waarschuwing
Laat water of andere vloeistoffen nooit in het apparaat verechtkomen.
Condensatie
Condensatie kan in de volgende gevallen binnenin het apparaat vormen:
Wanner u het apparaat van buiten maar een warme kamer verplaatst of wanner de radio in een koude kamer is die snel worden verwarmd.
Als het apparaat in de zomer plotseling vanuit een kamer of auto met airconditioning maar een hete of vochtige plek worden verplaatst.
Dit apparaat kan eventuele incorrect werkken wanner condensatie optreedt.
Wacht in dit geval 1 tot 2(uur voordat u het apparaat weeigebruikt.
Probeer dit product nicht zich te repareren. Laat alle reparations over aan gekwalificeerd onderhoudspersoneel.
Specifications:
Model: Casino 2500
Type: AM/FM draagbare mono radio
Met oplaadbare batterij.
FM Frequentie: 87.5 - 108 MHz.
AM Frequentie: 540 - 1600 KHz.
Luidsprekeruitgang: 4 W RMS / 40 W PMPO.
Voeding: 220 - 240V 50Hz.
Specifications en ontwerp können zonder kennisgeving worden gewijzigd.

Dit product voldoet aan Richtlijn 2002/96/EC Afgedankte Elektrische en Elektronische Apparatuur (WEEE). Dank dit product NIET af als ongescheden huishoudelijk afval, maar gebruik de beschikkare inzamelpunten voor afvalverwerking.

SimpelGids