P2500 - Rádio portátil SCANSONIC - Manual de utilização gratuito
Encontre gratuitamente o manual do aparelho P2500 SCANSONIC em formato PDF.
Perguntas dos utilizadores sobre P2500 SCANSONIC
0 pergunta sobre este aparelho. Responda às que conhece ou faça a sua.
Faça uma nova pergunta sobre este aparelho
Baixe as instruções para o seu Rádio portátil em formato PDF gratuitamente! Encontre o seu manual P2500 - SCANSONIC e retome o controlo do seu dispositivo eletrónico. Nesta página estão publicados todos os documentos necessários para a utilização do seu dispositivo. P2500 da marca SCANSONIC.
MANUAL DE UTILIZADOR P2500 SCANSONIC
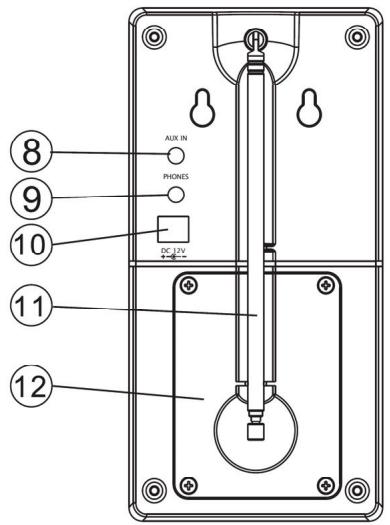
Localações dos controlos eindicadores:


Funções na parte frontal:
-
Indicador frequência FM
-
Mostra o alcance FM.
-
A retro iluminação laranja acender-se-á logo que o rádio sera ligado em FM.
-
Botão Sintonização Frequência
-
Rodar no sentido horário para sintonizar FM de 88-108 MHz.
-
Rodar no sentido horário para sintonizar AM de 540-1600 KHz.
-
Indicador Freqência AM
-
Mostra o alcance AM.
-
A retro iluminação laranja acender-se-á desde que o rádio tenha sido sintonizado em AM.
-
Interruptor Modo
-
CARREGAR - Nesta posicao a entrega da bateria é realizada.
- DESLIGADO - Nesta posicao o rádio está desligado.
- FM - Nesta posicao a banda FM é activada.
-
AM - Nesta posicao a banda AM é activada.
-
Indicador LED
-
A luz Vermelha indica que a bateria está a ser carregada.
- A luz Verde indica que a bateria está Completely carregada.
-
Sem luz indica que a entrega foi desligada.
-
Coluna
-
Controlador integrado 3".
-
Botão volume
-
Rodar no sentido horario paraacularo volume.
- Rodar no sentido anti-horário para reduzir o volume.
Funções na parte traseira:
- AUX in
- Entrada tomada para ligação de fontes录音, i.e. Leitor MP3, iPod, Leitor CD ou TV.
- Sem Auscultadores
- Tomada para ligação de auscultadores separados. Isto cortar o som à coluna principal.
- Entrada CA/CC
- Para ligação do adaptor de corrente (incluído) e ligação à fonte de alimentação para funcimento CA ou correamento da bateria.
- Antena FM
- Ajustar o comprimento da antenna telescópica e rodar até que seja obtida a melhor receção FM. Este ajustamento não afecta a receção AM. A antenna AM foi integrada no rádio e para a melhor receção boa area da banda boa rodar o equipamento. Manter a antenna FM recolhida na sua posção fechada quando não está a ser usada para fazer danos.
- Compartimento da bateria
- Para instalação de baterias recarregáveis.
Instruções deestrutura
- Para funciona em CA ligar o adaptor de corrente na entrada da tomada CA/CC na parte refereira do aparelho e(before ligar a tomada de corrente CA (CA 230V-50Hz).
- Antes de colocar em funciona a bateria verificar se a bateria está completenessamente carregada.
-
Desligar o adaptador de corrente da tomada electrica quando não está a usar o aparelho.
-
Ligar o aparelho colocando o Interruptor de Modo em AM ou FM.
- Agora a retro iluminação laranja no Visor da Freqência ficará acesa.
- Regular para a estação desejada na banda selecionada rodando o Sintonizador de Frequência para a frequência e sintonização boa com melhor receção.
- Regular o volume para o;nível desejado.
- Colocar o Interruption de Modelo em DESLIGADO para desligar o aparecido.
Este aparelho tem uma bateria recarregavel integrada.
Carga normal da bateria (Rádio desligado):
- Colocar o Interruptor em Modo CARREGAR.
- Ligar o adaptor de corrente na tomada de entrada CA/CC na parte traseira do aparelho e(before ligar a tomada electrica CA (CA 230V-50Hz)
- A luz Vermelha no indicator LED começa a piscar quando as baterias está carregadas.
- A luz Verde no indicator LED acender-se-á après a energia completeness.
- Desligar a alimentação eletrica quando o LED estiver verde.
- OLED desliga-se.
- Com a bateria Completely caricagada (min. de 8 horas) o aparecido pode estar em funcaoamento durante aproximadamente 7-8 horas atraves do CC a 50% da saida de volume.
- Ter em atençao que a recepçao do radio fica mais fraça e que o som pode ficar distorcido quando a bateria estiver a necessitar dearga.
Carga de compensacao (RADIO ligado):
- Colocar o Interruption em Modo DESLIGADO.
- Ligar o adaptor de corrente na tomada de entrada CA/CC na parte traseira do aparelho e(before ligar a tomada electrica CA (CA 230V-50Hz)
- Ligar o aparelho colocando o Interruptor em Modo AM ou FM.
- A luz Vermelha no indicator LED começa a piscar quando a bateria está a ser carregada.
- A luz Verde no indicator LED acender-se-á antes a energia completeness.
- Desligar a alimentação eletrica quando o LED estiver verde.
- OLED desliga-se.
- Com a bateria Completely carregada (min. de 8 horas) o aparecido pode estar em funcaoamento durante aproximadamente 7-8 horas atraves do CC a 50% da saida de volume.
- Ter em atençao que a recepcao do rado fica mais fraça e que o som pode ficar distorcido quando a bateria estiver a necessitar dearga.
Limar o aparelho com um pano do pou macio se este ficar com poeiras. Nunca usar os sprays de cera de polimento ou detergentes abrasivos.
Substituição de Peças / Bateria
Quando são necessarias peças de substituição / bateria assegurar que o专业技术 da assistência usa peças de substituição de acordo com opecifiedo pelo fabricante ou que tem as vezes caracteristicas que a pea original. As substituições não autorizadas podem dar origem a fogo,CHOque eletrico ou outros perigos.
Aviso
Nunca permita a entrada de agua ou除外lylico no interior do aparelho.
Condensacao
Nos seguentes casos, pode ocorro condensacao no interior do aparelho:
Quando se leva o aparelho do exterior para uma sala aquecida ou se está estiver numa sala fria que foi aquécida rapidamente.
No Verão, se o aparecido for movido de repente duma sala com ar condicionado ou do carro para um local húmido e quente.
Este aparecido pode não functionar correctamente se houver condensação. No caso de condensação aguardar 1 ou 2 horas antes de usar o aparelho.
Não tentar reparar este produits.
Entregar todo o tipo de assistencia ao pessoal de assistencia qualificado.
Especificações:
Modelo:
Casino 2500
Tip:
Rádio AM/FM mono portátil.
com bateria recarregável.
Frequência FM:
87,5 - 108 MHz.
Frequência AM:
540 - 1600 KHz.
Saía da Coluna:
Alimentação Eléctrica:
220 - 240V 50Hz.
As espécificações e o formato está sujeitas a alterações sem avis prévio.

Este produto está em conformidade com a Direiva de Resíduos Elétricos e Equipamento Elétrico 2002/96/EC (WEEE). Não depositar este equipamento como resíduo municipal não Separado, mas usar os sistemas de devolução e recolha disponíveis.

ManualFácil