P2501 - Rádio SCANSONIC - Manual de utilização gratuito
Encontre gratuitamente o manual do aparelho P2501 SCANSONIC em formato PDF.
Perguntas dos utilizadores sobre P2501 SCANSONIC
0 pergunta sobre este aparelho. Responda às que conhece ou faça a sua.
Faça uma nova pergunta sobre este aparelho
Baixe as instruções para o seu Rádio em formato PDF gratuitamente! Encontre o seu manual P2501 - SCANSONIC e retome o controlo do seu dispositivo eletrónico. Nesta página estão publicados todos os documentos necessários para a utilização do seu dispositivo. P2501 da marca SCANSONIC.
MANUAL DE UTILIZADOR P2501 SCANSONIC
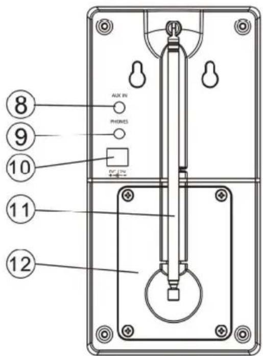
Localações dos controlos e indicatoros:


Funções na parte frontal:
-
Indicador frequência FM - Mostra o alcance FM.
-
A retro iluminação laranja acender-se-a logo que o rádio seja ligado em FM.
-
Botão Sintonização Frequência
-
Rodar no sentido horário para sintonizar FM de 88-108 MHz.
-
Rodar no sentido horario para sintonizar AM de 540-1600 KHz.
-
Indicador Frequencia AM - Mostra o alcance AM.
-
A retro iluminação laranja acender-se-a desde que o rádio tenha sido sintonizado em AM.
-
Interruption Mode - CARREGAR - Nesta posicao a entrega da bateria é realizada.
-
DESLIGADO - Nesta posicao o radio está desligado.
- FM - Nesta posicao a banda FM é activada.
-
AM - Nesta posicao a banda AM é activada.
-
Indicador LED - A luz Vermelha indica que a bateria está a ser carregada.
-
A luz Verde indica que a bateria está Completely carregada.
-
Sem luz indica que a entrega foi desligada.
-
Coluna - Controlador integrado 3".
-
Botão volume - Rodar no sentido horário paraLERar o volume.
-
Rodar no sentido anti-horário para reduzir o volume.
Funções na parte对她:
- AUX in - Entrada tomada para ligação de fontes audio,
i.e. Leitor MP3, iPod, Leitor CD ou TV.
- Sem Auscultadores - Tomada para ligação de auscultadores
separados. IstoURTARo soma coluna principal.
- Entrada CA/CC - Para ligation do adaptor de corrente
(incluido) e ligaçao à fonte de alimentacao parafunacionamento CA ou carregamento da bateria.
- Antena FM - Ajustar o comprimento da antenna telescópica e
rodar até que está��u a melhor receção FM. Este ajustamento não afecta a receção AM. A antenna AM foi integrala no rádio e para melhor receção boa area da banda bas rodar o equipamento. Manter a antenna FM recolhida na sua posicao fechada quando não está a ser usada para fazer danos.
- Compartimento da - Para instalação de baterias recarregáveis. bateria
Instruções de funciona
- Para funciona em CA ligar o adaptor de corrente na entrada da tomada CA/CC na parte traseira do aparelho e(before ligar a tomada de corrente CA (CA 230V-50Hz).
- Antes de colocar em funciona a bateria verificar se a bateria está completenesse correada.
-
Desligar o adaptor de corrente da tomada electrica quando não está a usar o aparelho.
-
Ligar o aparelho colocando o Interruptor de Modo em AM ou FM.
- Agora a retro iluminação laranja no Visor da Freqência ficará acesa.
- Regular para a colocação desejada na banda selecionada rodando o Sintonizador de Frequência para a frequência e sintonização boa com melhor receção.
- Regular o volume para o;nível desejado.
- Colocar o Interructor de Modo em DESLIGADO para desligar o aparelho.
Este aparelho tem uma bateria recarregavel integrada.
Carga normal da bateria (RADIO desligado):
- Colocar o Interruptor em Modo CARREGAR.
- Ligar o adaptador de corrente na tomada de entrada CA/CC na parte traseira do aparelho e(before� ligar a tomada electrica CA (CA 230V-50Hz)
- A luz Vermelha no indicator LED começa a piscar quando as baterias está carregadas.
- A luz Verde no indicator LED acender-se-a après a energia completa.
- Desligar a alimentação électrique quando o LED estiver verde.
- OLED desliga-se.
- Com a bateria Completely garagada (min. de 8 horas) o aparecido pode estar em funcaoamento durante aproximadamente 7-8 horas atraves do CC a 50% da saida de volume.
- Ter em atençao que a recepcao do rado fica mais fraça e que o som pode ficar distorcido quando a bateria estiver a necessitar dearga.
Carga de compensacao (RADIO ligado):
- Colocar o Interruptor em Modo DESLIGADO.
- Ligar o adaptador de corrente na tomada de entrada CA/CC na parte traseira do aparelho e(before� ligar a tomada electrica CA (CA 230V-50Hz)
- Ligar o aparelho colocando o Interruptor em Modo AM ou FM.
- A luz Vermelha no indicator LED começa a piscar quando a bateria está a ser carregada.
- A luz Verde no indicator LED acender-se-á antes a energia completa.
- Desligar a alimentação électrique quando o LED estiver verde.
- OLED desliga-se.
- Com a bateria Completely garagada (min. de 8 horas) o aparecido pode estar em funcaoamento durante aproximadamente 7-8 horas atraves do CC a 50% da saida de volume.
- Ter em atençao que a recepcao do rado fica mais fraça e que o som pode ficar distorcido quando a bateria estiver a necessitar dearga.
Limpar o aparelho com um pano do po macio se este ficar com poeiras. Nunca usar os sprays de cera de polimento ou detergentes abrasivos.
Substituição de Peças / Bateria
Quando são necessarias peças de substituição / bateria assegurar que o专业技术 da assistência usa peças de substituição de acordo com o especificado pelo fabricante ou que tem as vezes caracteristicas que a coisa original. As substituções não autorizadas podem dar origem a fogo,CHOque eletrico ou outros perigos.
Aviso
Nos seguentes casos, pode ocorrre condensacao no interior do aparecido:
Quando se leva o aparelho do exterior para uma sala aquecida ou se esta estiver numa sala fria que foi aquecida rapidamente.
No Verão, se o aparecido for movido de repente duma sala com ar condicionado ou do carro para um local humido e quente.
Este aparecido pode não funciona correctamente se houver condensação. No caso de condensação aguardar 1 ou 2 horas antes de usar o aparecido.
Não tentar reparar este produits.
Entregar todo tipo de assistencia ao pessoal de assistencia qualificado.
Especificações:
Modelo: Casino 2500
Tip: Rado AM/FM mono porttil.
com bateria recarregável.
Frequência FM: 87,5 - 108 MHz.
Frequência AM: 540 - 1600 KHz.
Saïda da Coluna: 4 W RMS / 40 W PMPO.
Alimentação Eléctrica: 220 - 240V 50Hz.
As espécificações e o-formato está sujeitas a alterações sem avis prévio.

Este produit está em conformidade com a Directa de Resíduos Eléctricos e Equipamento Elettórico 2002/96/EC (WEEE). Não depositar este equipamento como resíduo municipal não Separado, mas usar os sistemas de devolução e recolha disponívelis.

ManualFácil