P2501 - Radio SCANSONIC - Kostenlose Bedienungsanleitung
Finden Sie kostenlos die Bedienungsanleitung des Geräts P2501 SCANSONIC als PDF.
Benutzerfragen zu P2501 SCANSONIC
0 Frage zu diesem Gerät. Beantworten Sie die, die Sie kennen, oder stellen Sie Ihre eigene.
Eine neue Frage zu diesem Gerät stellen
Laden Sie die Anleitung für Ihr Radio kostenlos im PDF-Format! Finden Sie Ihr Handbuch P2501 - SCANSONIC und nehmen Sie Ihr elektronisches Gerät wieder in die Hand. Auf dieser Seite sind alle Dokumente veröffentlicht, die für die Verwendung Ihres Geräts notwendig sind. P2501 von der Marke SCANSONIC.
BEDIENUNGSANLEITUNG P2501 SCANSONIC
GE BEDIENUNGSCANLEITUNG
UK USER'S GUIDE
FR GUIDE DE L'UTILISATEUR
IT MANUALE DELL'UTENTE
NL GEBRUISHANDLEIDING
PT MANUAL DO UTILIZADOR
FI KAYTTOOHJE
Betjeningesegmenter:


Funktionen auf der Vorderseite:
- FM Freqenz Fenster - Zeigt den FM Freqenzbereich.
Die Beleuchtung leuchtet sobald FM/AM ausgewählt wird.
-
AM/FM Frequenzwahl - Drehen im Uhrzeigersinn ermöglich die Wahl im FM - Frequenzbereich von 87,5 bis -108 MHz.
-
Drehen im Uhrzeigersinn ermöglicht die Wahl im AM - Frequenzbereich von 540 bis 1600 KHz.
-
AM Freqenz Fenster - Zeigt den AM Freqenzbereich. -
-
Wahlschalter - CHARGE -> Laden der eingebauten Akkus.
-
OFF -> ausschalten.
-
FM -> FM Band Wahl.
-
AM -> AM Band Wahl.
-
Batterie Ladekontrolle - Die LED leuchtet Rot sobald die Akkus geladen werden.
Die LED leuchtet Grün sobald die Akkus voll geladen sind.
-
Die LED leuchtet nicht, wenn nicht geladen wird.
-
Laatsprecher - eingebauter 3" Laatsprecher.
-
Lautstärkenregler - In Uhrzeigerrichtung - lauter.
- gegen Uhrzeigerrichtung - leiser.
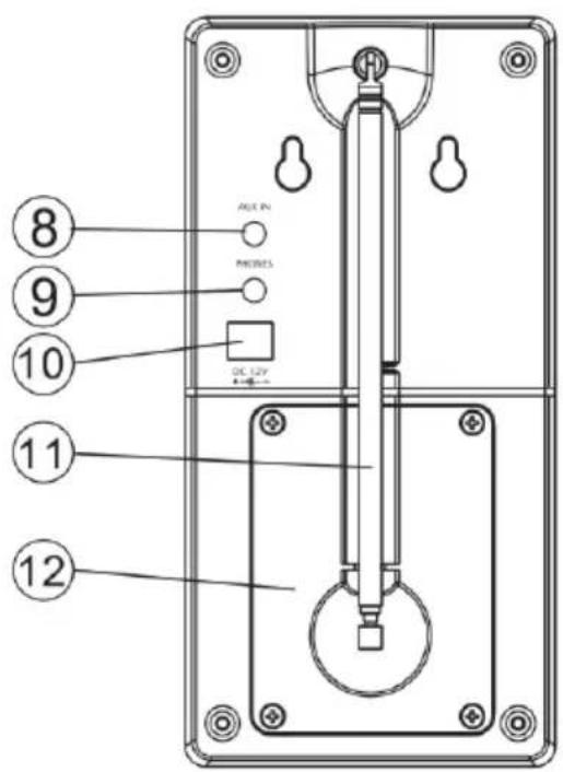
Funktionen auf der Rückseite:
- AUX-In Buchse - Verbindungsmöglichkeit zu Mono- und Stereo-quellen, z.B. MP-3 Player, CD-Player oder TV.
- Kopfhörer Buchse - Verbindungsmöglichkeit zu einem Kopfhörer (der Laufsprecher schaltet sich bei Nutzung der Mänglichkeit automatisch aus).
- AC/DC Ladeanschluss - Anschluss für das mitgelieferte Netzteil.
-
Antenne - Die Teleskopantenne in die Beste Position.
-
Normalerweise reicht bei gutem FM Stationsempfang ein kurzer Auszug der Antenne aus.
- Die AM Antenne ist im Gerät eingebaut. Bei schlechtem AM Empfang muss die Position des Gerats verändert werden, bis ein optimaler Empfang befinden ist.
- Schieber Ben Sie die Antenne im AM Modus immer ein.
Bedienungsanleitung
- Stecken Sie das Netzteil in die dazugehörige Buchse and der Rückseite des Geräts. Nutzen Sie nur Spannung von 220-240 V ~ 50 Hz.
- Schalten Sie das Gerät am Knopf (4) ein, indem Sieihn nach rechts dren.
- Die bernsteinfarbende Hintergrundbeleuchting im Frequenzfenster leuchtet auf.
- Stellen Sie den Frequenzbereich AM oder FM ein.
- Stellen Sie jetzt die Frequenz am Drehknopf (2) ein.
- Stellen Sie die Lautstärke über den Regler (7) ein.
-
Zum Ausschalten des Geräts stellen Sie den Knopf (4) auf OFF.
-
Laden Sie die Akkus vollständig vor Batteriebetrieb.
- Ziehen Sie bei Nichtgebrauch den Netzstecker.
Wideraufladbare eingebaute Akkus
Ihr Gerät besitzt im Lieferzustand eingebaute Akkus. Versuchen Sie nicht, das Gerät zu öffnen. Es besteht die Gefahr, dass Sie das Gerät beschädigen und Sie sich selbst in Gefahr bringen.
- Schalten Sie das Gerät aus und stellen Sie den Knopf (4) auf CHARGE
->DieLEDleuchtetRotauf.
- > Die LED leuchtet Grün auf, sobald die Akkus voll geladen sind.
- Schalten Sie den Knopf (4) nach vollständiger Aufladung wieder auf OFF undziehen Sie den Netzstecker.
- Sie können das Gerät jetzt ohne Netzteil verwenden.
- Bei zu geringer oder abnehmender Leistung des Akkus wird der Klang schlechter. Die Akkus mussen wieder aufgeladen werden.
Wichtige Sicherheitshinweise:
Reinigen Sie das Radio mit einem weichen Staubtusch. Nutzen Sie kein Wachs, Polierspray oder aggressive Reiniger
Die Akkus dürfen als Originalersatzteil nur von einer Fachwerkstatt oder dem Hersteller gewechselt werden. Denken Sieitte daran, dass eigenmächtiges Öffnen Sie in Gefahrbringt und lebensgefährlich sein kann.
Stellen Sie das Gerät nicht in den Regen oder bringen es mit Wasser oder Feuchigkeit in Berührung. Auch nicht zum Reinigen. Plazieren Sie das Radio immer im ausreichendem Abstand zu Feuchtigkeitsquellen.
Bei Bildung von Kondensat warten Sieitte 1 bis 2 Stunden mit dem Einschalten des Gerats, bis sich das Kondensat vollständig verfluchtigt hat. Kondensat entsteht, wenn Sie das Gerät von einem kalten in einen warmen Raum bringen.
Service und Reparation)dürfen nur von qualifiziertem Fachpersonal ausgeführrt werden.
Spezifikationen:
Model: Casino 2500
Type:Tragbares AM/FM Mono Radio
mit wiederaufladbaren eingebauten Akkus.
FM Frequenz: 87,5 - 108 MHz
AM Freqenz: 540 - 1600 KHz
Leistungsausgang: 4 W RMS / 40 W PMPO
Stromversorgung: 220 - 240V 50Hz
Rechte zu Änderungen der Spezifikationen und des Designs sind vorbehalten.

Dieses Gerät entspricht dem Waste Electrical and Electronic Equipment Directive 2002/96/EC (WEEE). Das Symbol gibt an, dass das Produkt nicht zusammen mit dem Restmüll entsorgt werden darf. Das Gerät ist an einer entsprechenden Stelle für Entsorgung oder Wiederverwertung von Elektrogeräten aller Art abzugegeben.

EinfachAnleitung