HR2610 - Klopboor MAKITA - Gratis gebruiksaanwijzing en handleiding
Vind de handleiding van het apparaat gratis HR2610 MAKITA in PDF-formaat.
Download de handleiding voor uw Klopboor in PDF-formaat gratis! Vind uw handleiding HR2610 - MAKITA en neem uw elektronisch apparaat weer in handen. Op deze pagina staan alle documenten die nodig zijn voor het gebruik van uw apparaat. HR2610 van het merk MAKITA.
GEBRUIKSAANWIJZING HR2610 MAKITA
GB Rotary Hammer/Combination Hammer Instruction Manual
F Marteau Perforateur / Marteau combi Manuel d'instructions
D Bohrhammer / Kombi-Hammer Betriebsanleitung
Martello rotativo / Martello multifunzione Istruzioni per l'uso
NL Boorhamer / Combinatiehamer Gebruiksaanwijzing
E Martillo Rotativo / Martillo Rotativo Combinado Manual de instructaciones
P Martelo Rotativo / Martele Combinado Manual de instruções
DK Borehammer / Kombinationshammer Brugsanvising
GR IepioTpoiko ophi / 2phi ouvduaou Odyic xpnoewc
HR2300
HR2310T
HR2600
HR2601
HR2610
HR2610T
HR2611F
HR2611FT



1 010720

2 010721

3 010722

4 011561

5 011562

6 010723

7 010724

8 010726

9 010725

10 010713

11 003150

12 010714

13 010715

14 010727

15 010728

16 010716

17 010717

18 010718

19 010719

20 010731

21 011506

22 010733

23 010734

24 011507

25 012895

26 012896

27 011505

28 010729

29 002449

30 011564

31 011560

32 011561

33
011562

34

35
010736
Verklaring van algemene gegevens
| 1 | Aan/uit-schakelaar | 15 | Groeven | 26 | Voetstuk van de stofvanger |
| 2 | Vergrendelknop | 16 | Boorschacht | 27 | Balg |
| 3 | Lampje | 17 | Boorvet | 28 | Voetstuk |
| 4 | Omkeerschakelaar | 18 | Boor | 29 | Binnenomtrek |
| 5 | Snelwisselkop voor SDS-plus | 19 | Boorkopmof | 30 | Bolle kanf |
| 6 | Streep op wisselmof | 20 | Basis van de zichhandgreep | 31 | Dop |
| 7 | Wisselmof | 21 | Diepteaanslag | 32 | Groef |
| 8 | As | 22 | Getande kant van de zeskant-gatmarkering op de basis van de zichhandgreep | 33 | Blaasbalgje |
| 9 | Snelwisselboorkop | 34 | Boorkopadapter | ||
| 10 | Ronddraaien met hameren | 35 | Sleutelloze boorkop | ||
| 11 | Alleen ronddraaien | 23 | Getande zichde van de diepte-aanslag | 36 | Mof |
| 12 | Werkingsfunctie-keuzeknop | 37 | Ring | ||
| 13 | Alleen hameren | 24 | Stofvanger | ||
| 14 | Uitsteeksels | 25 | Symbool △ |
TECHNISCHE GEGEVENS
| Model | HR2300 | HR2310T | HR2600 | HR2601 | HR2610 | HR2610T | HR2611F | HR2611FT | |
| Maximale dikten | Beton | 23 mm | 26 mm | ||||||
| Kroonboor | 68 mm | 68 mm | 68 mm | ||||||
| Diamantkroon-boor (droog type) | 70 mm | 80 mm | 80 mm | ||||||
| Staal | 13 mm | 13 mm | 13 mm | ||||||
| Hout | 32 mm | 32 mm | 32 mm | ||||||
| Nullasttoerental (min-1) | 0-1 200 | ||||||||
| Aantal slagen/minuut | 0-4 600 | ||||||||
| Totale lenghte | 356 mm | 380 mm | 361 mm | 385 mm | 361 mm | 385 mm | |||
| Nettogewicht | 2,7 kg | 2,9 kg | 2,8 kg | 2,9 kg | 2,8 kg | 2,9 kg | 2,9 kg | 3,0 kg | |
| Veiligheidsklasse | 回/II | ||||||||
In verband met ononderbroken research en ontwikkeling behouden wij ons hetrecht voor bovenstaande technische gegevens te wijzigen zonder voorafgaande kennisgeving.
- De technische gegevens können van land tot land verschillen.
Gewicht volgens de EPTA-procedure 01/2003 ENE042-1
Gebruiksdoelseinden
Het gereedschap is bedoeld voor hamerboren en boren in baksteen, beton ensteen.
Het is ook geschickt voor boren zonder slagwerking in hout, metaal, keramisch materiaal en kunststof.
ENF002-2
Stroomvoorziening
Het gereedschap mag alleen worden aangesloten op een stroombron van hetzelfde voltage als aangegeven op de naamplaat, en kan alleen op enkel-fase wisselstroom worden gezrukt. Het gereedschap is dubbel-geisoleerd en kan derhalve ook op een Niet-geaard stopcontact worden aangesloten.
GEA010-1
Algemene veiligheidswaarschuwingen voor elektrisch gereedschap
WAARSCHUWING Lees alle veiligheidswaarschu-wingen en alle instructies. Het Niet volgen van de waarschuwingen en instructies kan leiden tot elektrische schokken, brand en/of ernstig letsel.
Bewaar alle waarschuwingen en instructies om in de toekomst te{kunnen raadplegen.
GEB007-7
VEILIGHEIDSWAARSCHUWINGEN SPECIFIEK VOOR EEN BOORHAMER
- Draag gehoorbescherming. Bootstelling aan harde geluiden kan leiden tot gehoorbeschadiging.
-
Gebruik de hulphandgren, als deze bij het gereedschap werden geleverd. Als u de controle over het gereedschap verliest, kan dit leiden tot ernstig persoonlijk letsel.
-
Houd elektrisch gereedschap vast aan het geiseleerde oppervlak van de handgrepen wanner u werkt opplaatsen waar het booraccessoire met verborgen bedrading of zich eigien snoer in aanraking kan komen. Wanner het booraccessaire in aanraking komen met onder spanning staande draden, zullen de Niet-geiseleerde metalen delen van het gereedschap onder spanning komt te staan zodat de gebruiker een elektrische schok kan krijgen.
- Draag een verilgheidshelm, verilgheidsbril en/of spatschem. Een gewone bril of een zonnebril is GEEN verilgheidsbril. Het worden tevens sterk aanbevolen een stofmasker en dik gevoerde handschoenen te dragen.
- Controller of de boor stevig op+zijn plaats zit voordat u het gereedschap gebruikt.
- Bij normale bediening behoort het gereedschap te trillen. De schroeven konnen gemakkelijk losraken, waardoor een defect of ongeval kan ontstaan. Controller of de schroeven goed zijn aangedraaid, alvorens het gereedschap te gebruiken.
- In koude weersomstandigheden of wanner het gereedschap gedurende een langeijd Niet is gebruikt, laut u het gereedschap eerst opwarmen door het onbelast te latent werken. Hierdoor za de smering worden verbeterd. Zonder degelijk opwarmen, za de hamerwerking moeilijk zijn.
- Zorg er.altijd voor dat u stevig staat.
Zorg ervoor dat er niemand zich onder u bevindt wanner u het gereedschap op een hogeplaats gebruikt. - Houd het gereedschap met beiden handen stevig vast.
- Houd uw handen uit de buurt van bewegende delen.
- Laat het gereedschap Niet ingeschakeld liggen. Bedien het gereedschap alleen wanner u het vasthoudt.
- Richt het gereedschap Niet op iemand in de buurt verwijl het is ingeschakeld. De boor zou eruit{kunnen vliegen en iemand ernstverwon den.
- Raak de boor en onderdelen in de buurt van de boor Niet onmiddelijk na gebruik aan. Zij+kennen bijzonder heet+zijn en brandwonden op uw huidveroorzaken.
- Sommige materialen bevatten chemische stoffen die giffig können sein. Neem voorzorgsmaatregen gegen het inademen van stof en contact met de huid. Volg de verilgheidsinstrumentes van de leverancier van het materialaal op.
BEWAAR DEZE INSTRUCTIES
WAARSCHUWING:
Laat u NIET misleiden door een vals gevoel van comfort en bekendheid met het gereedschap (na veelvuldig gebruik) en neem alle verilgheidsvoorschriften van het betreffende product alkijd strikt in acht. VERKEERD GEBRUIK of het Niet volgen van de verilgheidsinstrcties in deze gebruiksaanwijzing kan leiden tot ernstig persoonlijk letsel.
BESCHRIJVING VAN DE FUNCTIONS
LET OP:
- Controller altijd of het gereedschap is uitgeschakeld en de stekker uit het stopcontact is getrokken alvorens de functies van het gereedschap te controlleren of af te stellen.
Aan-enuit-knoppen (Fig.1)
LET OP:
- Controller altijd, voordat u de stekker in het stopcontact steekt, of de aan/uit-schakelaar op de juiste manier schakelt en weer terugkeert maar de uit-stand nadat deze is losgelaten.
Om het gereedschap in te schakelen, knijpt u gewoon de aan/uit-schakelaar in. De draaisnelheid van het gereedschap neemt toe naarmate u更是 druk uitoefent op de aan/uit-schakelaar. Laat de aan/uit-schakelaar los om het gereedschap te stoppen. Om het gereedschap continu te latenten werkken, knijpt u eerst de aan/uit-schakelaar in, drukt u daarna de vergrendelknop in, en laat u tenslotte de aan/uit-schakelaar los. Om vanuit de vergrendelde werkking het gereedschap te stoppen, knijpt u de aan/uitschakelaar helemaal in en laat u deze vervolgens weer los.
De lamp inschakelen (Fig. 2)
Voor modellen HR2611F en HR2611FT
LET OP:
- Kijk nicht rechtstreeks in het Licht of maar de bron van de lamp.
Trek aan de aan/uit-schakelaar om de lamp in te schakelen. Laat de aan/uit-schakelaar los om de lamp uit te schakelen.
OPMERKING:
- Gebruik een droge doeok om het vuil van de lens van de lamp te vegen. Wees voorzichtig de lens van de lamp Niet te bekraassen om delichtopbrengst Niet te verlagen.
- Maak de lens van de lamp Niet schoon met verdunker of benzine. Dergelijk oplosmiddelen konnen de lens van de lamp beschadigen.
Werking van de omkeerschakelaar (Fig. 3)
LET OP:
- Controller als tijd de draairichting alvorens het gereed-schap te gebruiken.
- Gebruik de omkeerschakelaar alleen nadat het gereedschap volledig tot stilstand is gekommen. Als u de draairichting verandert voordat het gereedschap volledig stilstaat, kan het gereedschap worden beschadigd.
- Als de aan/uit-schakelaar Niet kan worden ingeknepen, contrôleert u dat de omkeerschakelaar helemaal maar de stand (kant A) of maar de stand (kant B) is gezet.
Dit gereedschap is uitergerust met een omkeerschakelaar waarmee u de draaiirchting kunt omkenen. Duw de omkeerschakelaar naar stand (kant A) voor de draai-richting rechtsom, of的那一 stand (kant B) voor de draaiirchting linksom.
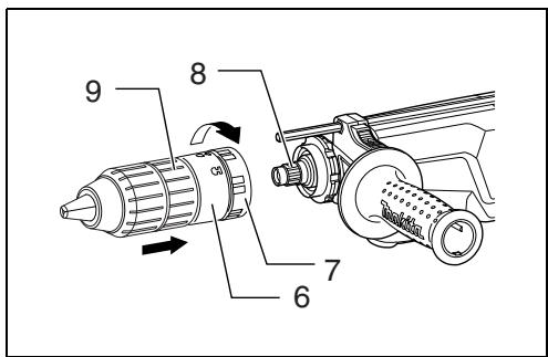
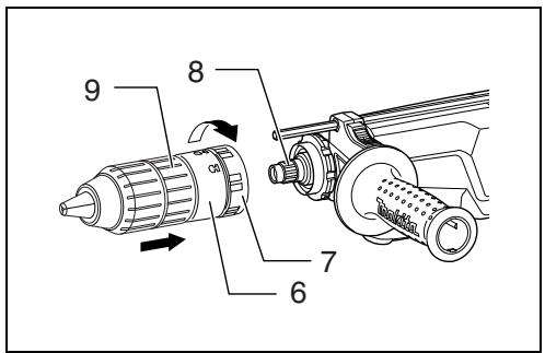
De snelwisselkop voor SDS-plus verrangen
Voor modellen HR2310T, HR2610T en HR2611FT
De snelwisselkop voor SDS-plus kan eenvoudig worden verrangen door de snelwisselboorkop.
De snelwisselkop voor SDS-plus verwijdersen (Fig. 4)
LET OP:
- Haal altijd de boor eruit voordat u de snelwisselkop voor SDS-plus verwijdert.
Pak de wisselmof van de snelwisselkop voor SDS-plus vast en draai deze in de richting van de pijl totdat de streep op de wisselmof van het symbol ±b maar het symbol ±b is verplaatst. Trek krachtig in de richting van de pijl.
De snelwisselboorkop aanbrengen (Fig. 5)
Controleer of de streep op de snelwisselboorkop bij het symbolism ● staat. Pak de wisselmof van de snelwisselboorkop vast en zet de streep bij het symbolism ●.
Zet de snelwisselboorkop op de as van het gereedschap.
Pak de wisselmof van de snelwisselboorkop en draai de streep op de wisselmofaar het symbol totdat een duidelijke klik worden gehoord.
De werkingsfunctie kiezen (Fig. 6)
Voor modellen HR2300, HR2600 en HR2601
Dit gereedschap is uitgerust met een werkingsfunctiekeuzeknop. Kies met de werkingsfunctie-keuzeknop een van de twe beschikbare werkingsfuncties die het meest geschikt is voor uw klus.
Voor alleen ronddraaien, draait u de werkingsfungtie-keuzeknop zodat de pijlpunt op de knop maar het symbol op het gereedschap wijst.
Voor ronddraaien met hameren draait u de werkingsfunctie-keuzeknop zodat de pijlpunt op de knop maar het symbol op het gereedschap wijst.
LET OP:
- Stel de werkingsfunctie-keuzeknop aktijd volledig in op het symbol van de juiste stand van uw keuze. Als u het gereedschap bedient met de werkingsfunctie-keuzeknop ingesteld:tussen de twee werkingsfunctiesymbolen in, kan het gereedschap beschadigd raken.
- Draai de werkingsfunctie-keuzeknop alleen nadat het gereedschap volledig tot stilstand is gekomen.
Voor modellen HR2310T, HR2610, HR2610T, HR2611F en HR2611FT
Ronddraaien met hameren (Fig. 7)
Voor het boren in beton, metselwerk, enz., draait u de werkingsfunctie-keuzeknop aan het symbol Gebruik een boor met een wolframcarbide punt.
Alleen ronddraaien (Fig. 8)
Voor het boren in hout, metaal of kunststoffmaterialen, draait u de werkingsfunctie-keuzeknop aan het symbol . Gebruik een spiraalboor of houtboor.
Alleen hameren (Fig. 9)
Voor het beitelen, bikken of sloopwerkzaamheden, draaite u de werkingsfunctie-keuzeknop aan het symbol Gebruik een rond boor, koudbeitel, bikbeitel, enz.
LET OP:
- Draai de werkingsfunctie-keuzeknop Niet verwijl het gereedschap onder belasting draait. Het gereedschap za hierdoor worden beschadigd.
-
Om snelle slijtage van het omschakelmechanisme te voorkomen, zorgt u ervoor dat de werkingsfunctie-keuzeknop alsijd precienc in een van de drie standen staat.
-
Als u de knop van het symbool waar het symbool draaait, is het mogelijk dat de werkingsfunctie-keuzeknop Niet verder dan het symbool wilt draaien. In dat geval schakelt u het gereedschap in of draai de boorkop met de hand, verwijl de werkingsfunctie-keuzeknop op het symbool staat, en draauit u verzolgens de werkingsfunctie-keuzeknop verder. Als u de werkingsfunctie-keuzeknop forceert, kan het gereedschap worden beschadigd.
Koppelbegrenzer
De koppelbegrenzer treedt in werkung wanner de motor een bepaald koppel bereikt. De motor wordt dan ontkoppeld van de uitgaande as. Wonneer dit gebeurt, zal de booor ophouden met draaien.
LET OP:
- Schakel het gereedschap ommiddelijk uit wanneer de koppelbegrenzer in werkking treedt. Hiermee helpt u vroegtijdige slijtage van het gereedschap voorkomen.
Opzetstukken, zoals gatenzagen, die gemakkelijk bekneld raken in het boorgat, mogen nicht worden gebruikt met dit gereedschap. Dit isOrmdat zij de koppelbegrenzer te vaak in werkung doen treden.
INEENZETTEN
LET OP:
- Controller altijd of het gereedschap is uitgeschakeld en de stekker uit het stopcontact is getrokken alvorens enige werk aan het gereedschap uit te voeren.
Zijhandgreep (hulphandgreep) (Fig. 10)
LET OP:
- Gebruik als de zijhandgreep om veilig te konnen werkken.
Plaats de zijhandgreep zodenig over de kop van het gereedschap dat de uitsteeksels van de zijhandgreep in de groeven van het gereedschap passen. Draai daarna de zijhandgreep vast door deze in de gewenste stand rechtsom te draaien. De zijhandgreep kan 360^ rond het gereedschap gedraaid worden en in iedere gewenste stand worden vastgezet.
Boorvet
Voordat u de boor aanbrengt, smeert u een beetje boorvet (ong. 0,5 tot 1 gram) op de kop van de boorschacht. Met een ingevette boorkop zal het gereedschap beterwerken en longer meegaan.
Aanbrengen en verwijderen van de boor
Reinig de boorschacht en smeer er boorvet op alvorens de boor te plaatsen. (Fig. 11)
Steek de boor in het gereedschap. Draai de boor en duw\ deze waar binnen tot zij vergrendelt. (Fig. 12)
Controleer na het aanbrengen alsijd of de boor stevig in het gereedschap is bevestig door te proberen deutsche eruit te trekken.
Om de boor te verwijderen, trekt u de boorkopmof helemaal omaaag en verrolgens de boor eruit. (Fig. 13)
Boorhoek (bij beitelen, bikken of slopen)
Voor modellen HR2310T, HR2610, HR2610T, HR2611F en HR2611FT
De boor kan onder de gewenste hoek worden vastgezet. Om de boorhoek te veranderen, draai u de werkings- functionie-keuzeknop maar het symbol O. Draai de boor maar de gewenste hoek. (Fig. 14)
Draai de werkingsfunctie-keuzeknopaar het symbol (Fig.15)
Controleer daarna of de boor stevig op+zijn plaats vastzit door.Deze iets te verdraien.
Diepteaanslag
De diepteaanslag is handig voor het boren van gaten van gelijke diepte. (Fig. 16)
Houd de vergrendelknop op de basis van de zijhand-grep ingedrukt in de richting van de pijl aangegeven in de afbeelding, en steek tegelijkertijd de diepteaanslag in het zeskantgat in de zijhandgreep. (Fig. 17)
De diepteaanslag moet zodanig in het zeskantgat worden ingestoken dat de getande zichde van de diepteaanslag wijst maar de getande zichde van de zeskantgatmarkering op de zichhandgreep, zoals aangegeven in Fig. 18.
Stel de diepteaanslag af op de gewenste diepte door deze—heen en weer te bewegen verwijl u de vergrendel-knop ingedrukt houdt. Nadat de diepteaanslag is afge-steld, laut u de vergrendelknop los om de diepteaanslag te vergrendelen. (Fig. 19)
OPMERKING:
- Als de diepteaanslag in het zeskantgat worden ingestosten ker verwijl de getande zichde van de diepteaanslag niejt wijst maar de getande zichde van de zeskantgatmarkering op de zijhandgreep, zoals aangegeven in afbeeling, kan de diepteaanslag Niet worden vergrendeld.
Stofvanger (Fig. 20)
Gebruik de stofvanger om te voorkomen dat stof op het gereedschap en op uzelf terechtkomt wanneer u boven uw hoofd boort. Bevestig de stofvanger op de boor zoals aangegeven in Fig. 20. De diameter van de boren waaraan de stofvanger kan worden bevestigd is als volgt.
| Board diameter | |
| Stofvanger 5 | 6 mm – 14,5 mm |
| Stofvanger 9 | 12 mm – 16 mm |
006406
Er is ook een ander type stofvanger (accessoire) verwirgijaar dat helpt voorkomen dat stof op het gereedschap en op uzelfterechtkom wannes u boven uw hoofd boort.
De stofvanger aanbrengen en verwijderen
Alvorens de stofvanger aan te brengen, verwijdert u de boor zo nodig uit het gereedschap. Breng de stofvanger (accessoire) zodanig op het gereedschap aan dat het symbol op de stofvanger is uitgelijnd met de groeven op het gereedschap. (Fig. 21)
Om de stofvanger te verwijderen, houdt u de boorkopmotgetrokken in de richting aangegeven in Fig. 22 en trekt u tegelijkertijd de boor uit het gereedschap.
Pak verrolgens het voetstuk van de stofvanger vast en trek het van het gereedschap af. (Fig. 23)
OPMERKING:
Bij het aanbrengen of verwijderen van de stofvanger kan de dop losraken. Als dat gebeurt, gaat u als volgt te werk. Verwijder de balg vanaf het voetstuk enplaats de dop, vanaf de kant zoals到账ood in de afbeelding, met zich bolle kant omhoog in het voetstuk, zodanig dat de groef in de dop past in de binnendiameter van het voetstuk. Plaats ten slotte de balg terug op het voetstuk. (Fig. 24, 25 en 26)
OPMERKING:
- Als u een stofzuiger aansluit op uw boorhamer, kutn u nog schoner werken. De dop要去uit de stofvanger worden verwijderd voordat u de stofzuiger aansluit. (Fig. 27)
BEDIENING
Gebruik als dem zijhandgreep (hulphandgreep) en houd het gereedschapijdens gebruik stevig vast aan zowel de zijhandgreep als de hoofhandgreep
Gebruik als boorhamer (Fig. 28)
Draai de werkingsfunctie-keuzeknopaar het symbol
Plaats de punt van de boor op de gewensteplaats waar het boorgat要去komen en knijpervolgens de aan/uitschakelaar in. Forceer het gereedschap Niet. Een lichte druk geeft de beste resultaten. Houd het gereedschap stevig vast en zorg dat het Niet uitglijt.
Oefen geen grotere druk uit wanner het boorgat verstopt raakt met schilfertjes of metaaldeeltjes. Laat in zo'n geval het gereedschap langzaam lopen en verwijder de boor gedeelijk uit het boorgat. Wanner dit verschilende ken wordt herhaald, za het boorgat schoon worden en kunt u normalaal verdber boren.
Draai de werkingsfunctie-keuzeknopaar het symbol
LET OP:
- Op het moment dat het boorgat doorbreekt, het boorgat verstopt raakt met schilfertjes of metaaldeeltjes, of de boorhamer de bewapening in het beton raakt, worden een enorme en plotselinge kracht uitgeofend op het gereedschap/de boor. Gebruik altijd de zijhandgreep (hulphandgreep) en houd het gereedschap tijdens gebruik stevig vast aan zowel de zijhandgreep als de hoofdhandgreep Als u dit Niet doet, kutn u de controle over het gereedschap verliezen en möglichk ernstig letselveroorzaken.
OPMERKING:
- Terwijl het gereedschap onbelast worden gebruikt, kan de boor excentrisch draaien. Het gereedschap centreert zichzelf automatischijdens het gebruik. Dit hebts geen nadelige invloed op de nauwkeurigheid van het boren.
Blaasbalgje (los verkrijgbaar) (Fig. 29)
Gebruik na het boren het blaasbalgje om het stof uit het boorgat te blazen.
Beitelen/bikken/slopen
Voor modellen HR2310T, HR2610, HR2610T, HR2611F en HR2611FT
Draai de werkingsfunctie-keuzeknop waar het symbool Houd het gereedschap met beiden handen stevig vast. Schakel het gereedschap in en oefen er enige kracht opuit zodat het gereedschap Niet oncontroleerbaar in het rond rondsprt. Het gereedschap werknet nicht efficienter als ugrote druk op het gereedschap uitoefent. (Fig. 30)
Boren in hout of metaal
Voor modellen HR2300, HR2600, HR2601, HR2610 en HR2611F
Gebruik de los verkrijgbare complete boorkop. Om deze aan te brengen, zie "Aanbrengen en verwijdersen van de boor" op de vorige pagina. (Fig. 31)
Voor modellen HR2310T, HR2610T en HR2611FT
Gebruik de snelwisselboorkop als standaarduitrusting. Om deze aan te brengen, zich "De snelwisselkop voor SDS-plus verrangen" op de vorige pagina. (Fig. 32 en 33)
Houd de ring op zijn plaatensdraai de bus linksom om de klauwen in de boorkop te openen. Steek de boor zo ver möglichk in de boorkop. Houd de ring stevig op zijn plaatensdraai de bus rechtsom om de klauwen in de boorkop te sluiten. Om de boor te verwijderen, houdt u de ring opসplaats en draait u de bus linksom. (Fig. 34)
Draai de werkingsfunctie-keuzeknop aan het symbol U kunt gaten tot een diameter van 13 mm in metaal en tot een diameter van 32 mm in hout boren.
LET OP:
- Gebruik nooit "Ronddraaien met hameren" wanner de snelwisselboorkop op het gereedschap is aangebracht. De snelwisselboorkop kan worden beschadigd. Bovendien zal de boorkop loskomen wanner de draairichting van het gereedschap worden omgekeerd.
- Het boren zal nicht sneller verlopen als u hard op het gereedschap drukt. In feite zal dergelijk hard drukken alleen maar leiden tot beschadiging van de boor, verlaging van de prestaties van het gereedschap, en verzorting van de levensduur van het gereedschap.
Op het moment dat het boorgat doorbreekt worden een enorme draaikracht uitgeoefend op het gereedschap/ de boor. Houd het gereedschap stevig vast en let goed op wanneer de boor door het werkstuk breekt. - Een vastgelopen boor kan eenvoudigweg worden verwijderd door omkeerschakelaar in de stand voorchteruitdraaien te zetten en de boorchyteruiut het gat te latent draaien. Het gereedschap kan echter plotseling acheeruit komen als u het Niet stevig vasthoudt.
- Zetkleine werkstukken altijd vast in een bankschroef of soortgelijk bevestigingsmiddel.
Diamantkroonboren
Wanneer u werkzaamheden met diamantkroonboren uitvoert,要去 de werkingsfunctie-keuzeknop alotijd maar het symbol draieren voor "alleen rondraaien".
LET OP:
- Als u werkzaamheden met diamantkroonboren uitooert in de stand "ronddraien met hameren" kan de diamantkroonboor beschadig raken.
Gebruik van de stofvanger (accessoire) (Fig. 35)
Bedien het gereedschap met de stofvanger gegen het plafond aan gedrukt.
OPMERKING:
-
De stofvanger (accessoire) isuitsluitend bedoeld voor boren in keramische werkstukken, zaals beton en cement. Gebruik het gereedschap Niet met de stofvanger wanneer u in metaal of soortgelijk materiaal boort. Bij gebruik van de stofvangerijdens het boren in metaal kan de stofvanger worden beschadigd als gezolg van de warmte die doorkleine metaaldeeltjes en dergelijke worden gegenererd.
Maak de stofvanger leeg voordat u de boor verwijdert. -
Zorg ervoor dat bij gebruik van de stofvanger de dop stevig op+zijnplaats is aangebracht.
ONDERHOUD
LET OP:
Zorg er alitijd voor dat het gereedschap is uitgeschakeld en de stekker uit het stopcontact is getrokken, voordat u een inspectie of onderhoud uitovoert.
- Gebruik nooit benzine, wasbenzine, verdunner, alcohol, enz. Dit kan leiden tot verkleuren, verrormen of barsten.
Om de VEILIGHEID en BETROUWBAARHEID van het gereedschap te handhaven, dienen alle reparations, contro en verranging van de koolborstels, onderhoud en afstellingen te worden uitgevoerd door een erkend Makita-servicecentrum, en altijd met gebruikmaking van originele Makita-verbangingsonderdelen.
- Deze accessoires of hulpstukken worden aanbevolen voor gebruik met het Makita-gereedschap dat in deze gebruiksaanwijzing worden beschreven. Het gebruik van andere accessoires of hulpstukken kan gevaar voor persoonlijk letsel opleveren. Gebruik de accessoires of hulpstukken uitsluitend voor de aangegeven gebruiskdoeleinden.
Mocht u meer informatie wollen haben over deze accessoires, dan kurz u contact opnemen met uwplaatsijike Makita-servicecentrum.
- SDS-Plus boren met een wolfraamcarbide punt
Kroonboor
Puntbeitel
Diamantkroonboor
Koudbeitel
Bikbeitel - Sleuvenbeitel
- Boorkop montage
- Boorkop S13
- Boorkopadapter
- Boorkopsleutel S13
Boorvet
Zijhandgreep
Diepteaanslag - Blaasbalgje
Stofvanger
Voetstuk voor stofvanger
Veiligheidsbril - Plastic draagkoffer
- Sleutelloze boorkop
OPMERKING:
- Sommige van de onderdelen in deze lijst hunnen bijgeleverd zijn als standard-accessoires. Deze accessoires hunnen per land verschillend zijn.
Geluid
De typische, A-gewogen geluidsniveaus zijn gemeten volgens EN60745:
Model HR2300, HR2601, HR2611F, HR2611FT
Geluidsdrukniveau (L_DA) : 90 dB (A)
Geluidsvermogenniveau (L_WA) : 101 dB (A)
Onnauwkeurigheid (K): 3 dB (A)
Model HR2310T, HR2600, HR2610, HR2610T
Geluidsdrukniveau (L_PA) : 91 dB (A)
Geluidsvermogenniveau (LwA): 102 dB (A)
Onnauwkeurigheid (K): 3 dB (A)
Draag gehoorbescherming
ENG900-1
Trillingen
De totale trillingswaarde (triaxiale vectorsom) zoals vast-gesteld volgens EN60745:
Model HR2300, HR2600
Gebruikstoepassing: klopboren in beton
Trillingsemissie (a_h,HD) : 15,5 m/s2
Onnauwkeurigheid (K): 1,5 m/s²
Gebruikstoepassing: boren in metaal
Trillingsemissie (a_h,D) : 2,5 m/s²
Onnauwkeurigheid (K): 1,5 m/s²
Model HR2310T
Gebruikstoepassing: klopboren in beton
Trillingsemissie (a_h,HD) .. 15,5m / s^2
Onnauwkeurigheid (K): 1,5 m/s²
Gebrukstoepassing: beitelen met extra zijhandgreep
Trillingsemissie (a_h,CHeq) .. 10,5m / s^2
Onnauwkeurigheid (K): 1,5 m/s²
Gebruikstoepassing: boren in metaaal
Trillingsemissie (a_h,D) : 2,5 m/s² of lager
Onnauwkeurigheid (K): 1,5 m/s²
Model HR2601
Gebruikstoepassing: klopboren in beton
Trillingsemissie (a_h,HD) .. 12,0m / s^2
Onnauwkeurigheid (K): 1,5 m/s²
Gebruikstoepassing: boren in metaaal
Trillingsemissie (a_h,D) .. 2,5m / s^2 oflager
Onnauwkeurigheid (K): 1,5 m/s²
Model HR2610
Gebruikstoepassing: klopboren in beton
Trillingsemissie (a_h,HD) .. 15,5m / s^2
Onnauwkeurigheid (K): 1,5 m/s²
Gebruikstoepassing: beitelen met extra zijhandgreep
Trillingsemissie (a_h,CHeq) : 9,5 m/s2
Onnauwkeurigheid (K): 1,5 m/s²
Gebruikstoepassing: boren in metaal
Trillingsemissie (a_h,D) .. 2,5m / s^2
Onnauwkeurigheid (K): 1,5 m/s²
Model HR2610T
Gebruikstoepassing: klopboren in beton
Trillingsemissie (a_h,HD) .. 15,0~m / s^2
Onnauwkeurigheid (K): 1,5 m/s²
Gebrukstoepassing: beitelen met extra zijhandgreep
Trillingsemissie (a_h, CHeq) : 9,5 m/s²
Onnauwkeurigheid (K): 1,5 m/s²
Gebruikstoepassing: boren in metaal
Trillingsemissie (a_h,D) .. 2,5m / s^2 oflager
Onnauwkeurigheid (K): 1,5 m/s²
Model HR2611F
Gebruikstoepassing: klopboren in beton
Trillingsemissie (a_h,HD) .. 12,0m / s^2
Onnauwkeurigheid (K): 1,5 m/s²
Gebrukstoepassing: beitelen met extra zijhandgreep
Trillingsemissie (a_h,CHeq) .. 9,0~m / s^2
Onnauwkeurigheid (K): 1,5 m/s²
Gebruikstoepassing: boren in metaal
Trillingsemissie (a_h,D) .. 2,5m / s^2 oflager
Onnauwkeurigheid (K): 1,5 m/s²
Model HR2611FT
Gebruikstoepassing: klopboren in beton
Trillingsemissie (a_h,HD) : 11,5 m/s2
Onnauwkeurigheid (K): 1,5 m/s²
Gebruikstoepassing: beitelen met extra zijhandgreep
Trillingsemissie (a_h,CHeq) .. 8,5m / s^2
Onnauwkeurigheid (K): 1,5 m/s²
Gebruikstoepassing: boren in metaal
Trillingsemissie (a_h,D) .. 2,5m / s^2 oflager
Onnauwkeurigheid (K): 1,5 m/s²
ENG901-1
- De opgegeven trillingsemissiewaarde is gemeten volgens de standaardtestmethode en kan worden gebruikt om dit gereedschap te vergelijkken met andere gereedschappen.
- De opgegeven trillingsemissiewaarde kan ook worden gezebuilt voor een beoordeling vooraf van de blootsteling.
WAARSCHUWING:
- De trillingsemissie tijdens het gebruik van het elektrisch gereedschap in de practijk kan verschellen van de opgegeven trillingsemissiewaarde afhankelijk van de manier waarop het gereedschap worden gebruikt.
Zorg ervoor dat veiligheidsmaatregelen worden getrofen ter beschemming van de operator die zichn gebaseerd op een schatting van de blootstelling onder praktijkomstandigheden (rekening houdend met allefasen van de bedrijfscylus, zoals teijdssduur gedurende welke het gereedschap is uitgeschakeld en stationair draait, naast de ingeschakelde tijdsduur).
Alleen voor Europese landen
EU-verklaring van conformiteit
Wij, Makita Corporation, als de verantwoordelijke fabrikant, verklaren dat de volgende Makitamachine(s):
Aanduiding van de machine: Boorhamer
Modelnr./Type: HR2300, HR2310T, HR2600, HR2601
in série seinen geproduceden
Voldoen aan de volgende Europese richtlijnen: 2006/42/EC
En zich gefabricisceerd in overeenstemming met de vol-gende normen of genormaliseerde documenten: EN60745
De technische documentatie worden bewaard door once erkende vertegenwoordiger in Europa, te weten:
Makita International Europe Ltd.
Alleen voor Europese landen
EU-verklaring van conformiteit
Wij, Makita Corporation, als de verantwoordelijke fabrikant, verklaren dat de volgende Makita-machine(s):
Aanduiding van de machine: Combinatiehamer
Modelnr./Type: HR2610, HR2610T, HR2611F, HR2611FT
in série zichen geproduedd en
Voldoen aan de volgende Europese richtlijnen:
2006/42/EC
En+zijn gefabriceeerd in overeenstemming met de vol-gende normen of genormaliseerde documenten: EN60745
De technische documentatione wird bewaard door onze erkende vertegenwoordiger in Europa, te weten:
Makita International Europe Ltd.
SimpelGids