HCW 82 - Thermostaat HONEYWELL - Gratis gebruiksaanwijzing en handleiding
Vind de handleiding van het apparaat gratis HCW 82 HONEYWELL in PDF-formaat.
Download de handleiding voor uw Thermostaat in PDF-formaat gratis! Vind uw handleiding HCW 82 - HONEYWELL en neem uw elektronisch apparaat weer in handen. Op deze pagina staan alle documenten die nodig zijn voor het gebruik van uw apparaat. HCW 82 van het merk HONEYWELL.
GEBRUIKSAANWIJZING HCW 82 HONEYWELL
Temperatuurvoeler HCW 82/ Temperatuurvoeler met instellknop HCF 82
- Overzicht 23
1.1. Gebruik 23
1.2. Verschillen HCW 82/HCF 82 23
1.3. Inhoud van de verpakking 23 - Inbedrijfstelling 23
2.1. Teach-in 24
2.1.1. Inleren op de voerverwarmingsregelaar 24
2.1.2. Inleren op de Hometronic Manager HCM 200D .. 24
2.1.3. De HCF 82 inleren als vorstbeveiliging 24
2.1.4. Mislukte teach-in 24
2.2. Montage 24 - Bijzonderheden HCW 82 25
3.1. Bediening 25
3.2. Instelbereik begrenzen 25
3.3. Gebruik met externe voeding 25
3.4. Raamcontact installeren 26 - Batterijen verrangen 26
- RF communicatie controlleren 26
- Storingen oplossen 26
- Technische gegevens 26
- WEEE-richtlijn 2002/96/EG 26
1. Overzicht
Voor een intelligente kamertemperatuurregeling worden de temperatuurvoelers HCW 82/HCF 82 toegepast. De temperatuurvoeler HCF 82 meet de kamertemperatuur en zendt deze uit.
De HCW 82 meet de kamertemperatuur en bildt bovendien de möglichkheid de ingestelde temperatuur te wijzigen.
1.1. Gebruik
De temperatuurvoelers zenden de gegevens op 868,3 MHz. De gegevens können door andere toestellen, zoals de vloerverwarmingsregelaar HCE 80/HCC 80/HCE 80R/ HCC 80R of de Hometronic Manager HCM 200D, worden ontvangen.
Zo kan een breed spectrum van toepassingen worden afgedekt – van een temperatuurregeling per kamer tot een vorstbeveiligingsaansturing.
1.2. Verschillen HCW 82/HCF 82
De HCW 82 heeft ten opzichte van de HCF 82 de volgende aanvullende functies:
- aansluitmogelijkheid voor een externe netvoeding (zie "Gebruik met externe voeding", pagina 25).
- aansluitmogelijkheid voor een raamcontact (zie "Raamcontact installeren", pagina 26).
- instelknop, waarmee u de ingestelde temperatuurrechtstreeks kurz wijzigen; het instelbereik bedraagt ± 12^ ,uitgaande van de basiswaarde 20^ (nulstand).
1.3. Inhoud van de verpakking
1 HCW 82/HCF 82
2 AA-batterijen
2. Inbedrijfstelling
LET OP!

Voorkom interferentie van de RFcommunicatie!
Neem de volgende pinten in acht:
Zorg voor voldoende afstand tot metalen voorwerpen.
Monteer het toestel op minimaal 1 m afstand van draadloze apparatuur, zoals radiografische koptelefoons, DECT-telefoons, enz.
Kies een andere locatie, wanner storingen in de communicatie blijven optreden.

Afbeelding 1: Deksel van de behuizing verwijderen
Verwijder het deksel van de behuizing van de temperatuurvoeler (zie Afbeelding 1).

Afbeelding 2: Polariteit van de batterijen en de zendknop
- Plaats de meegeleverde AA-batterijen met de juiste polariteit (zie Afbeelding 2). Wonneer de rode LED op de HCW 82/HCF 82 knippert,要去en de batterijen worden verrangen (zie "Batterijen verrangen", pagina 26).
i De afstandsregelaar HCW 82 kan in plaats van met batterijen ook met een externe voeding worden gebruikt. Aanwijzingen waarvoor vindt u in de paragraaf "Gebruik met externe voeding", pagina 25.
Leg de temperatuurvoeler op de geplande montage-locatie, maar monteer deze nog Niet.
Wijs de HCW 82/HCF 82 toe aan de betreffende temperatuurzone (zie "Teach-in").
2.1. Teach-in
2.1.1. Inleren op de voerverwarmingsregelaar
Om de HCW 82/HCF 82 als een temperatuurzone van de vloerverarningsregelaar in te leren, volgt u de instructiesuit het hoofdstuk "Inbedrijfstelling" van de montagehandleiding "Etageregelaar HCE 80/HCE 80R/HCC 80/HCC 80R".
2.1.2. Inleren op de Hometronic Manager HCM 200D
Om de HCW 82/HCF 82 als een temperatuurzone van de HCM 200D in te leren, volgt u de instructiesuit het hoofdstuk "De HCW 82/HCF 82 installeren en aan een kamer toewijzen" van de gebruiksaanwijzing van de Hometronic Manager HCM 200D.
De HCW 82/HCF 82 kan uitsluitend als vorstbeveiligingsensor aan de Hometronic Manager worden toegewezen, wonneer de cvtoestelschakelaar HS 30 worden gebrukt voor de warmtevraag.
Om de HCF 82 als vorstbeveiligingsensor in te leren, doet u het volgende:
Druk op de menuknp.
De Hometronic Manager bevindt zich in het menu "Settings".
INSTALLATION
DE-INSTALLATION
DAYLIGHT SAVING TIME
SENSOR FUNCTION
Gaaarhetmenu"Installation".
Gaaarhetmenu"Boilerrequest".
Draai aan de menuknap, tot "Frost protec. sensor" is bemarkeerd.
Druk op de menuknop.
De cursor knippert naast "Frost protec. sensor". De Hometronic Manager is gereed om gegevens van de sensor te ontvangen.
Activeer binnen 4 min. de Teach-in, door op de temperatuurvoeler op de zendknop te drukken (zie Afbeelding 2, zendknop).
Na een succesvol uitgevoerde Teach-in verschijnt op het display van de Hometronic Manager een * naast "Frost protec. sensor".
De temperatuurvoeler is aan de Hometronic Manager toegewezen voor vorstbeveiliging.

Hoe u de temperatuurgegevens van de temperatuurvoeler op de Hometronic Manager kunt aflezen of de grenswaarde voor de vorstbeveiliging kunt aanpassen, kunt u vinden in de gebruiksaanwijzing van de Hometronic Manager.
2.1.4. Mislukte teach-in
Wanner de Teach-in is mistrukt:
Verbeter de RF communicatie (zie onder).
Herhaal de Teach-in.
RF communicatie verbeteren
Let bij de keuze van de montagelocatie van de voeler op een afstand van minimaal 1 m tot radiografische apparatuur Zoals draadloze koptelefoons, DECT-telefoons, enz.
- Installer de voeler Niet op metalen inbouwdozen en op minimaal 30 cm afstand van de metalen behuizing.
Kies zonodig een andere montagelocatie voor de temperatuurvoeler.
2.2. Montage
Verwijder de batterijen.
▶ Teken de boorgaten af conform het boorsjabloon (zie Afbeelding 3).

Afbeelding 3: Boorsjabloon (getallen in mm)
Boordegaten.
Schroef de temperatuurvoeler vast.
Plaats de batterijentering.
- Plaats het deksel van de behuizing op de bovenkant en klik deze aan de onderkant vast (zie Afbeelding 4).

Afbeelding 4: Deksel op de behuizing plaatsen
3. Bijzonderheden HCW 82
3.1. Bediening
De ingestelde kamertemperatuur kan op de HCW 82 temperatuurvoeler met een instelknop eenvoudig worden gewijzigd.
Het instelbereik bedraagt ± 12^ , uitgaande van de basiswaarde 20^ (nulstand).

Afbeelding 5: HCW 82
Selecteer met de instelknop (1) (zie Afbeelding 5) de gewenste wijziging van de vooraf ingestelde temperatuur (schaalverdeling in ^ C ).
U knot het instelbereik van de instelknop begrenzen.
Verwijder het deksel van de behuizing (zie Afbeelding 1, pagina 23).

Afbeelding 6:Instelbereikbegrenzen
- Verplaats de tweekleine pennen in de gaten van de instelknop om het instelbereik te begrenzen (zie Afbeelding 6). Kijk hierbij maar de binnenste schaalverdeling:
In Afbeelding 6,+zijn de pennen zo ingesteld,dat de instelknop maar over ± 3^ rondon het nulpunt kan worden verdraaid.
Draai de instelknop met de klok mee tot de aanslag.
Controller, of de instelknop in de in Afbeelding 5 getoonde stand staat. - Plaats de instelknop zonodig 180^ gedraid waar terug, tot het in de getoonde stand staat.
Draai de instelknop maar 0. - Plaats het deksel van de behuizing op de bovenkant en klik deze aan de onderkant vast (zie Afbeelding 4).
3.3. Gebruik met externe voeding
De HCW 82 temperatuurvoeler met instelknop is, naast gebruik met batterijen, tevens voorbereid voor gebruik met een externe voeding.

LET OP!
Voorkom beschadging van de voeler!
Neem de volgende punkten in acht:
- Gebruik een netvoeding met 3VDC ± 10% , min. 25mA .
Zorg, dat de netvoedingijdens het aansluien spanningsloos is.
Houd u aan het naast de kabelklemmen afgebeelde aansluitschema.
Zorg voor een netvoeding met 3 VDC ± 10%, 25 mA.
Schakel de netvoeding spanningsloos.
Verwijder het deksel van de behuizing van de HCW 82 (zie Afbeelding 1, pagina 23).
Verwijder debatterijen.

Voer de batterijen af als KCA conform de wettelijke voorschriften en Niet met het normale huisvuil.
Schroef de HCW 82 temperatuurvoeler los.

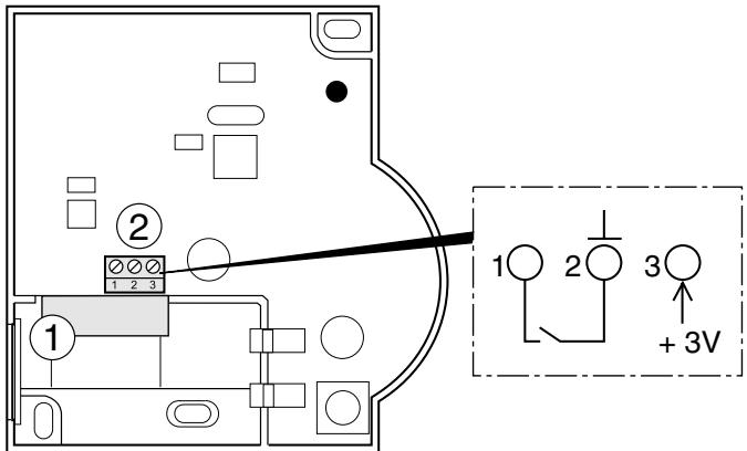
Afbeelding 7: Aansluiten van de externe voeding (uitsluitend HCW 82)
i
De maximaal toegestane kabellengte van de netvoeding tot de voeler bedraagt 100 m. Gebruik zo möglichk kabel van het type JE-Y (ST)Y 2x2x0,8 mm of JE-LIICY 2x2x0,5 mm².
-
Steek de kabel vanaf de netvoeding door de opening in de behuizing (1) (zie Afbeelding 7) maar binnen.
Sluit de kabel aan op de klemmen (2) (zie Afbeelding 7). -
aansluiting 2: massa
- aansluiting 3: spanning
Schroef de HCW 82 temperatuurvoeler met instelknop weer vast.
- Plaats het deksel van de behuizing op de bovenkant en klik deze aan de onderkant vast (zie Afbeelding 4).
3.4. Raamcontact installeren
- Sluit een willekeurige sensor met potentaalvrij contact aan op de HCW 82 (aansluiting 1 en 2, zich Afbeelding 7 (2), paging 25).
Wijs de HCW 82 toe als sensor aan de Hometronic Manager HCM 200D (zie gebruiksaanwijzing HCM 200D "Kamer aan een sensor toewijzen").

Wanner Meerdere potentaalvrije contacten worden gebruikt, moeten deze in serie worden geschakeld.
4. Batterijen verrangen
Vervang de batterijen, wanneer de rode LED van de temperatuurvoeler knippert verwil de voeler nicht in de testmodus is.
Verwijder het deksel van de behuizing van de HCW 82/HCF 82 (zie Afbeelding 1).
Verwijder debatterijen.

Voer de batterijen af als KCA conform de wettelijkke voorschriften en Niet met het normale huisvuil.

Vervang alsigtijd beiden batterijen tegelijk. Gebruik uitsluitend 1,5 V AA-batterijen van het type LR06, mignon.
- Plaats de batterijen met de juiste polariteit in het batterijvak (zie Afbeelding 2).
- Plaats het deksel van de behuizing op de bovenkant en klik deze aan de onderkant vast (zie Afbeelding 4).
5. RF communicatie controlleren
De HCW 82/HCF 82 kan een testsignal sturen waar de toegewezen ontvanger (b.v. een vlorverwarmingsregelaar) om de signalsterkte te controleren.
Houd de Teach-in-knop minimaal 30 sec. ingedrukt, tot de rode LED dooft.
Het toestel is nu in de testmodus en zendt elke 5 sec. een testsignaal UIT.
De LEDlicht bij elk testsignaal kort op.
Controller de signaontvangst op de ontvanger. Hoe u de testsignalen=kunt ontvangen en analyseren, vindt u in de betreffende gelebruiksaanwijzing.
| i | De testmodus wird na 5 minuten automatisch beeindigd. De testmodus kan ook worden beeindigd door de batterijen te verwijderen, de netverbinding te onderbreken of op de Teach-in-knop te drukken. |
6. Storingen oplossen
| Storing | Oorzaak | Oplossing |
| Teach-in mislukt | Batterijen verkeerd geplaatst | ▶ Batterijen juistplaatsen. |
| Storing in de draadloze verbinding | ▶ Storingsbronnen (metaal, draadloze apparatuur) opheffen.▶ Montagelocatie corrigeren.▶ Herhaal de teach-in. | |
| Geen temperatuur informatie op de Hometronic Manager | Batterijen verkeerd geplaatst | ▶ Batterijen juistplaatsen. |
| Storing in de draadloze verbinding | ▶ Storingsbronnen (metaal, draadloze apparatuur) opheffen.▶ Herhaal de teach-in. | |
| Module Niet of verkeerd toegewezen | ▶ Herhaal de teach-in.▶ Toewijzing controleren, zonodig herhalen. | |
| Geen reactie op raamcontact | Raamcontact Niet toegewezen | ▶ Teach-in voor raamcontact herhalen. |
| Batterijen | 1,5 V AA, type LR06, mignon |
| Netvoeding | 3 VDC ± 10 %, min. 25 mA |
| Kabel voor netvoeding/raamcontact | Ø 2x0,8 mm; 2x0,5 mm²lenge max. 100 m |
| Frequentie | 868,3 MHz (zender) |
8. WEEE-richtlijn 2002/96/EG

Voer verpakkingsmaterial en het product aan het einde van de productlevensduur af maar een bevoegd recyclingbedrijf.
Het product Niet afvoeren met het normale huisvuil.
Het product nicht verbranden.
Notice-Facile