EXPRESSION PHOTO XP-750 - Fotoprinter EPSON - Gratis gebruiksaanwijzing en handleiding
Vind de handleiding van het apparaat gratis EXPRESSION PHOTO XP-750 EPSON in PDF-formaat.
Download de handleiding voor uw Fotoprinter in PDF-formaat gratis! Vind uw handleiding EXPRESSION PHOTO XP-750 - EPSON en neem uw elektronisch apparaat weer in handen. Op deze pagina staan alle documenten die nodig zijn voor het gebruik van uw apparaat. EXPRESSION PHOTO XP-750 van het merk EPSON.
GEBRUIKSAANWIJZING EXPRESSION PHOTO XP-750 EPSON
Informatie over rendementsen van Epson inktpatronen vindt u op de bovengenoemde website.
Voorzorgsmaatregelen, Belangrijk en
Opmerkingen. 2
Epson Connect gebruiken. 2
Veiligheidsvoorschriften. 3
Overzicht van het bedieningspaneel 3
Knop en display. 4
Lampjes. 4
Papier en afdrukmaterial gebruiken 5
Papier selecteren. 5
Papier laden. 5
In de papiertoevoer aan dechterzijde. 7
Een cd/dvd laden. 8
Een cd/dvd verwijderen. 8
Een geheugenkaart plaatsen. 9
Originelenplaatsen. 9
Automatische documententoevoerder (ADF) 9
Glasplaat. 11
Kopieren. 12
Foto's afdrukken. 12
Vanaf een geheugenkaart. 12
Vanaf een digitale camera. 13
Scannen. 13
Faxen. 14
Introductie FAX Utility. 14
Verbinden met een telefoonlijn. 14
Telefoonkabel. 14
Gebruik de telefoonlijk alleen om te faxen. 14
Lijn delen met telefoontoestel. 14
De faxverbinding controleren. 15
Faxfunctions instellen. 15
Snelkiezen instellen. 15
Invoeren voor groepskiezen instellen. 16
Faxen verzenden. 16
Faxen ontvangen. 16
Rapporten afdrukken. 17
Meer functies. 17
Cartridges verrangen. 19
Veiligheidsvoorschriften. 19
Voorzorgsmaatregelen. 19
Een cartridgeervangen. 19
Eenvoudige problemen oplossen 21
Foutboodschappen. 21
Vastgelopenpapier. 22
Vastgelopen papier verwijdenen hinter het deksel aan dechterzijde. 22
Vastgelopen papier verwijderen binnen in het apparaat. 23
Vastgelopen papier uit de papiercassette verwijderen. 23
Vastgelopen papier verwijderen uit de automatische documenttoevoer (ADF). 24
Afdrukkwaliteitverbeteren. 25
Hulp bij het faxen. 25
Hulpvragen. 26
Technische ondersteuning (website). 26
Inleiding
Informatie vinden
Op de ondersteuningssite van Epson vindt u de meest recente versie van de volgende handleidingen. http://www.epson.eu/Support (Europa) http://support.epson.net/ (buiten Europa)
Biedt u informatatie over deinstallingen van het product en de installmente van de software.
Basishandleiding (papier):
Biedt u basisinformatie voor het gebruik van het apparaat zonder computer.
Gebruikershandleiding (PDF):
Biedt u gedetailleerde aanwijzingen voor het gebruik, de verilgiteit en het oplossen van problemen. Zie deze handleiding wanner u het apparaat gebruikt met een computer of wanner u geavanceerde functies wilt gebruiken, zoals dubbelzijdig kopiaren. Om de PDF-handleiding te konnen openen heb t u Adobe Acrobat Reader 5.0 (of hoger) of Adobe Reader nodig.
Netwerkhandleiding (HTML):
Biedt netwerkbeheerders informatie over de printerdriver en de netwerkinstellen.
Hulp (op apparaatdisplay):
Biedt basisaanwijzingen voor het gebruik en het oplossen van problemen op het display van het apparaat. Selecteer het menu Hulp op het bedieningspaneel.
Voorzorgsmaatregelen, Belangrijk en Opmerkingen
Voorzorgsmaatregelen, belangrijke informatatie en opmerkingen worden in deze gebruikershandleiding als volgt aangegeven en hebben de hier beschreiben betekenis.
Let op
moet u zorgvuldig in acht nemen om lichamelijk letsel te voorkomen.
Belangrijk
worden aangegeven met "Let op"; u moet zenaleven om schade aan het apparaat te voorkomen.
Opmerking
bevat handige tips voor en beperkingen bij het gebruik van het apparaat.
Epson Connect gebruiken
Met Epson Connect en Diensten van andere bedrijven\ kunt u gemakkelijk afdrukken rechtstreeks vanaf uw\ smartphone, tablet of laptop, altijd en overall, zichs aan\ de andere kant van de wereld! Kijk voor meer informatie\ over afdruk- en andere Diensten op:\ https://www.epsonconnect.com/ (portal voor Epson\ Connect)\ http://www.epsonconnect.eu/ (alleen Europa)
U kunt de Epson Connect-handleiding openen door te dubbelklikken op het pictogram op het bureaublad.

Veiligheidsvoorschriften
Voor een veilig gebruik van dit apparataat moet u deze aanwijzingen goed doorlezen en naleven. Bewaar deze handleiding voor later. Neem ook alle waarschuwingen en voorschriften die op het apparataat zich staan inRCT.
Gebruik alleen het netsnoer dat bij dit apparaat is geleverd en gebruik het netsnoer Niet met andere apparatuur. Gebruik van andere netsnoeren met dit apparaat of gebruik van het bijgeleverde netsnoer met andere apparatuur kan leiden tot brand of elektrische schokken.
Zorg ervoor dat het netsnoer voldoet aan de relevanteplaatselijkeveiligheidsnormen.
Haal het netsnoer, de stekker, de printer, de scanner of de opties nooit uit elkaar en probeer.Deze onderdelen nooit zich te wijzigen of te repareren, tenzij dit uitdrukkelijk staat beschren in de handleiding bij het apparatusa.
Trek in de volgende gevallen de stekker uit het stopcontact en doe een beroep op een onderhoudstechnicus: als het netsnoer of de stekker beschadigd is, als er vloeistof in het apparaat is gekomen, als het apparaat is geallen of als de behuizing beschadigd is, als het apparaat Niet normal Werkt of als er duidelijke wijziging in de prestaties optreedt. Wijzig geen instellenen als hiervoor in de gebruiksaanwijzing geen instructies worden gegeven.
Zet het apparaat in de buurt van een wandstopcontact waar u de stekker gemakkelijk uit het stopcontact kutn halen.
Plaats of bewaar het apparaat Niet buiten en zorg ervoor dat het apparaat Niet worden blootgesteld aan vuil, stof, water of hittebronnen. Vermijd plaatsen die onderhevig zijn aan schokken, trillingen, hoch temperaturen of luchtvochtigheid.
Zorg ervoor dat u geen vloeistoffen op het apparaat morst en kom Niet met natte handen aan het apparaat.
Houd dit product ten minste 22cm verwijderd van pacemakers. De radiogolven die door dit product worden uit gezonden können een negatieve invloed hebben op de werkking van pacemakers.
Neem contact op met uw leverancier als het display beschadigd is. Als u vloeistof uit het display op uw handen krijgt, was ze dan grondig met water en zoep. Als u vloeistof uit het display in uwogen krijgt, moet u uwogen onmiddelijk uitspoelen met water. Raadpleeg onmiddelijk een arts als u ondanks grondig spoelen problemen krijgt met uwogen of nog steeds ongemak ondvindt.
Gebruik bij voorkeur geen telefoonijdens onweer. Er bestaat eenkleine kans op een elektrische schok door blikksem (bij modellen met faxfunctie).
Gebruik in de buurt van een gaslek geen telefoon om het lek te melden (bij modellen met faxfungtie).
Opmerking:
Hier vindt u veiligheidsvoorschriften voor cartridges.
"Cartridges verwangen" op pagina 19
Overzicht van het bedieningspaneel
Opmerking:
Het ontwerp van het bedieningspaneel varieert naargelang uw locatie.
Hoewel het bedieningspaneel en de items die op het display worden weergegeven (namen van menu's en opties) können verschillen van uw effectieve apparaat, werken ze opdezelfde manier.
Overzicht van het bedieningspaneel

Knop en display
| Knuppen | Functie | |
| a | Apparaat aan- of uitzetten. | |
| b | Het menu Home weergeven. | |
| c | - | Display waarop menu's worden weergegeven. Als uw apparaat eenaanraakschem heeft,(Intkunt u bladeren door over het display te vegen. Veeg snug over het midden van het display. Probeer een beetje harder te vegen als het aanraakschemaar langzaam reageert. Er worden menu's weergegeven voor de handeling die u verricht, bijvoorbeeld wanner u een geheugenkaart in het apparaat steekt. Als het gewenste menu Niet worden weergegeven, druk dan opInt. Schakel elk item in het menu Automatische selectiestand UIT als u de automatische menuselectie wilt uitschakenen. Instellen > Geleiderfuncties > Automatische selectiestand |
| d | ▲,▼ | Bladenen. |
| e | Druk hierop om het menu voor cd-/dvd-labels wee ter goven. Het apparaat worden voorbereid op het afdrukken van een cd-/dvd-label. | |
| f | Annuleren/terugkeren湃 het vorige menu. | |
| g | Kopiieren/afdrukken/scannen/faxen starten. |
Lampjes
| Lampjes | Functie |
| ® | Brandt wanner het product aan staat. Knippert wanner het apparaat gegevens ontvangt, afdrukt/kopieert/scant/faxt, wanner een cartridge worden verrangen, inkt worden geladen of wanner de printkop worden gereinigd. Knippert wanner het apparaat in de slaapstand staat. |
| ®Wi-Fi® | Brandt wanner de printer verbinding heeft met een network. Knippert wanner de netwerkinstelleningen worden gewijzigd (groen: Wi-Fi/oranje: Ethernet). |
Opmerking:
Zie Hulp op het bedieningspaneel voor meer informatie over de pictogrammen die op het display worden weergegeven.
Papier en afdrukmaterial gebruiken
Papier selecteren
Het apparaat stelt zichself automatisch in op het afdrukmaterialaat dat u in de afdrukinstellingen opgeeft. Daarom is het zo belangrijk wat u instelt als papieroort. Aan de hand van deze instelling weet het apparaat welk papier u gebruikt. De hoeveelheid inkt worden da automatisch aan aangepast. In de volgende tabel staan de instelleningen die u kunt opgeven voor uw papier.
| Voor dit papier | Papiersoort op dis-play |
| Gewoon papier* | Gewoon papier |
| Epson Bright White Ink Jet Pa-per (Inkjetpapier helderwit)* | Gewoon papier |
| Epson Ultra Glossy Photo Pa-per (Fotopapier ultraglan-zend) | Hoogglans |
| Epson Premium Glossy Photo Paper (Fotopapier glanzend Premium) | Prem. glans |
| Epson Premium Semigloss Photo Paper (Fotopapier half-glanzend Premium) | Prem. glans |
| Epson Glossy Photo Paper (Fo-topapier glanzend) | Glans |
| Epson Photo Paper (Fotopapier) | Fotopapier |
| Epson Photo Quality Ink Jet Pa-per (Inkjetpapier fotokwaliteit) | Mat |
| Epson Matte Paper-Heavy-weight (Mat papier zwaar) | Mat |
| Epson Double-Sided Matte Pa-per (Mat papier dubbelzijdig) | Mat |
| Epson Photo Stickers (Fotostic-kers) | Fotosticker |
- Met dit papier is dubbelzijdig afdrukken möglichk.
Papier laden
De aanwijzingen in dit gedeelte gaan uit van cassette 2. Voor cassette 1 is de manier van werken identiek.
Cassette 1 en cassette 2 maar nicht geschikt voor verzelfde papiersoorten of papierformaten en hebben maar verzelfde laadcapaciteit. Zie de Gebruikershandleiding (PDF) voor meer informatie.
Aanwijzingen voor het laden van enveloppen of een blad met Photo Stickers (Fotostickers) vindt u in de Gebruikershandleiding (PDF).

Open de klep aan de voorzijde.

Opmerking:
Als de uitvoerlade isuitgeworpen, moet u die eerst sluiten voordat u de papiercassette aan buiten trekt.

Papier en afdrukmaterial gebruiken
2
Trek de papiercassette maar buiten.

3
Schuif de zijgeleiders maar derijkanten van de papiercassette.

Opmerking:
Verwijder bij gebruik van Legal-papier de cd-/dvd-lade en schuif cassette 2 uit (zie illustratie).

4
Stel de zichgeleider in op het papierformaat dat u wilt gebruiken.

5
Plaats papier met de afdrukzijde maar beneden gegen de zichgeleider en controllerer of het papier Niet uitsteekt awhile aan de cassette.

Opmerking:
Waaier het papier los en maak een rechte stapel voordat u het papier in de lade plaatst.
Let er bij gewoon papier op dat het Niet boven de streep net onder de pij aan de binnenzijde van de zigeleider komt. Zorg er bij special afdrukmaterialaan Epson voor dat het aantal vellen Niet更是 bedraagt dan het maximum dit voor het betreffende afdrukmaterialia is opgegeven.
Wanner u Casset. 1>Casset. 2 selecteert bij Papierbron,要去 u beside cassettes voorzien van papier van hetzelfde formaat en type.
Schuif de zichgeleiders gegen de zijkanten van het papier.

6
Papier en afdrukmaterial gebruiken
Schuif de cassette mooi rechttering in het apparatusat. Doe dit langzaam en voorzichtig.

Opmerking:
Zorg ervoor dat aan de voorkant van het product voldoende ruimte is voor het papier dat uit het apparaat komt.
Verwijder de papiercassette Niet of plaats deze nicht terug als het apparaat bezig is.
In de papiertoevoer aan de awhilezijde
Opmerking:
Sommige stijvere papierensoorten worden möglichnestood geingevoerd,ook al kunst u afdrukken op papier meteen dikte van 0,05 tot 0,6 mm en valt de dikte van dat stijve papier binnen deze waarden.
1 Stuur uw afdruktaaak maar het apparaat (vanaf uw computer of gebruik het bedieningspanel).
Opmerking:
Stek geen papier in de papiertoevoer aan dechterijde voordat u uw afdruktaak verzendt.
2 Open het deksel van de papiertoevoer aan de awhile de en trek de papiersteun uit.

3 Verschui de zijgeleider.

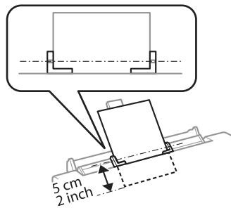
4 Plaats een vel papier met de afdrukzijde waar boven in het midden van de papiertoevoer aan dechterzijde en versuschuifervolgens de ziggeleider.De afdrukzijde is meestal witter of glanzender dan de andere zijde.

Opmerking:
Stek het papier zo ver� binnen dat er vanaf de groef in de zijgeleiders ongeveer 5cm papier� binnen zit.

5 Druk op
Opmerking:
Na enigeijd kommt het papier automatisch maar buiten.
Een cd/dvd laden

Belangrijk:
Plaats de cd-/dvd-lade nicht in het apparaat zolang het apparaat bezig is. Anders kan het apparaat schade oplopen of kan de cd/dvd krassen krijgen of vies worden.
Let er bij hetplaaten en verwijderen van de cd-/dvd-lade goed op dat er niets op deuitvoerlade ligt.
Opmerking:
U kunt ook afdrukken op een Blu-ray DiscTM.
1 Druk op op het bedieningspaneel en selecteer Cd/dvd laden.
2 Breng het paneel zo ver möglichk omhoog.

Opmerking:
Als de uitvoerlade is uitgeworpen, moet u de lade en het deksel aan de voorzijde sluiten.

3
Verwijder de cd-/vd- lade uit het apparatus.


Leg een cd/dvd op de cd-/dvd-lade met de afdrukzijde waar boven en steek de lade in het apparatusat. Zorg ervoor dat het teken op de lade en op het apparatusat samenvallen. De lijn op de lade要去 smenvallen met het apparatusat.


Druk op Klaar op het display.
Opmerking:
Na enigeijd komt de cd-/dvd-lade automatisch maar buiten.
Een cd/dvd verwijdersen

Verwijder de cd-/dvd-lade uit het apparatus en pak verzolgens de cd/dvd van de lade.


Let op:
Maak geen krassen op de cd/dvd bij het verwijderen.

Breng het bedieningspaneel omaag.

Plaats de cd-/dvd-lade opniew in de opening onder in het apparatus.
Een geheugenkaart plaatsen
U kurz foto's afdrukken die op een geheugenkaart staan of scangegevens opslaan op een geheugenkaart. De volgende geheugenkaarten worden ondersteund.
SD, miniSD, microSD, SDHC, miniSDHC, microSDHC, SDXC, microSDXC, MultiMediaCard, MMCplus, MMCmobile, MMCmicro, Memory Stick Duo, Memory Stick PRO Duo, Memory Stick PRO-HG Duo, Memory Stick Micro, MagicGate Memory Stick Duo, CompactFlash, Microdrive

Belangrijk
Voor de volgende geheugenkaarten is een adapter nodig. Breng die aan voordat u de kaart in de sleuf steekt, want anders kan de kaart vastkommen te zitten.
miniSD, microSD, miniSDHC, microSDHC, microSDXC, MMCmicro

MMCmobile

Memory Stick Micro


Open het klepje enplaats een kaart (altijd maar een tegelijk).


Controller of het lampje blij branden.


= aan , = knippert

Belangrijk
Probeer de kaart Niet helemaal in de sleuf te duwen. De kaart kan er nicht helemaal in.
Verwijder de geheugenkaart nooit terwijl het lampje knippert. U zou de gevevens op de geheugenkaart hunnen verliezen.
Opmerking:
Alsermeerdan999afbeeldingenopuw geheugenkaartstaan,wordendefabebdingen automatismisch opgeedeeld in groepen en wordt het scherm voorhetselecterenvaneengroep weergeveen. Selecteerdegroepmetdefabebolding dieu wilt afdrukken.Afbeeldingen worden gesorteerd op opnamedatum.
- Alsuenanderegroepwiltselecteren,selecteerdan Foto'saefdrukkeninhetmenuHome.SelecteervervolgensOpties,LocatieselecterengevolgddoorFolderselecterenofGroepselecteren.
Originenplaatsen
Automatische documententoevoerder (ADF)
Opmerking:
De automatische documentinvoer is alleen beschikbaar voor de XP-850.
Papier en afdrukmaterial gebruiken
U kurz uw originen in de automatische documentinvoer (ADF)plaatsen om snel meerere pagina's te kopieren, scannen of faxen. Via de ADF kurz u beiden zichden van uw documenten scannen. Als u dit wilt,要去 u deze optie selecteren in het menu met kopieerinstellungen.
U kunt de volgende originen gebruiken in de ADF.
| Formaat | A4/Letter/Legal |
| Type | Normaal papier |
| Gewicht | 64 g/m2tot 95 g/m2 |
| Capaciteit | 30 vellen of maximaal 3 mm (A4, Letter)/10 vellen (Legal) |
Wanner u een dubbelzijdig document scant met de ADF, kan Legal-papier nicht worden gebruikt.

Belangrijk:
Vermijd de volgende documenten te gebruiken om te vermijden dat het papier vastloopt. Gebruik voor deze typen de glasplaat.
Documenten die worden samengehonden met papierklemmen, niedes enz.
Documenten waar plakband of papier aan kleeft.
Foto's, OHP's of papier voor thermische overdracht.
Papier dat gescheurd of gekreukt is of waar gaten in zitten.

Tik de originen op een vlakke ondergrond om de randen Mooi geleijk te make.


Open de toevoerlade van de ADF en schuif verwolgens het verlangstuk van de UITvoerladeuit.


Verschuif de zijgeleider in de automatische documententoevoerder.


Plaats de originen in de automatische documentinvoer met de bedrukte zichde maar boven en de korte zichde eerst. Schuif nu de zichgeleider gegen de originen.
Opmerking:
Het pictogram ADF worden weergegeven wanneer een origineel worden geladen in de automatische documentinvoer.

Opmerking:
Voor de lay-out A4, 2op kopieplaatst u het origineel zoals afgebeeld. Zorg ervoor dat de richting van het origineel overeenstemt met de instellenen bij Documentstand.

Wanneer u de kopiererfunctie met de automatische documententoevoerder (ADF) gebruikt, worden de afdrukinstallingen vastgelegd op Verklein/Vergroot - Ware grotte, Papiertype - Gewoon papier en Papierformaat - A4. Als u een origineel groter dan A4-formaat kopieert, worden de afdruk bijgeseden.
Glasplaat
1 Open het deksel.


Leg uw origineel met de bedrukte ziche maar beneden op de glasplaat en schuif het origineel maar de hoek rechtsvoor.


Sluit de klep zachtjes.
Opmerking:
Als er een document in de automatische documentinvoer (ADF) en op de glasplaat ligt, worden prioriteit gegeven aan het document in de automatische documentinvoer (ADF).
Een cdplaatsen
Leg de cd met de bedrukte ziche maar beneden in het midden.

Foto's plaatsen
Leg Foto's 5mm van elkaar.

Opmerking:
U kunt een foto ofeerde fotos van uiteenlopend formaat tegelijk kopieren, mits ze groter zich dan 30x40 mm.
Kopiernen
Volg de onderstaande instructies om documenten te kopieren.
1 Laad papier in cassette 2.
"In de papiercassette" op pagina 5
2 Plaats het origineel.
→“Originenplaatsen”op pagina 9
3 Open de modus Kopiëren in het menu Home.
4 Druk op + of - om het aantal exemplaren in te stellen.
5 Stel de kleur in.
6 Druk op om de kopieerinstellungen op te given.
7 Selecteer de gewenste kopieerinstelleningen, zoals het papierformaat, de papiersoort en de papierkwaliteit.
Opmerking:
Voordat u met kopieren begint kutu alvast een voorbeeld bekijken van het resultaat van de kopie.
U kunt kopieren in diverse lay-outs, bijvoorbeeld een dubbelzijdige kopie of twee pagina's die samen op een vel papier worden gekopieerd. Pas de instelleningen voor dubbelzijdig kopieren of voor de lay-out zo nodig aan.
8 Druk op om het kopiernen te starten.
Opmerking:
Raadpleeg de Gebruikershandleiding (PDF) voor andere kopieerfuncties en de menu's van de modus Kopieren.
Foto's afdrukken
Vanaf een geheugenkaart
1 Laad fotopapier in de papiercassette.
"In de papiercassette" op pagina 5
2 Plaats een geheugenkaart in het apparaat.
"Een geheugenkaart plaatsen" op pagina 9
Opmerking:
U kurz ook foto's afdrukken vanaf een extern USB-apparaat.
3 Open de modus Foto's afdrukken in het menu Home.
4 Selecteer een Foto en druk op + of - om het aantal exemplaren in te stellen.
Opmerking:
U kunt uw Foto bijsnijden en vergroten. Druk op Bewerken en Bijsnijden/zoomen en geefervolgens de instelleningen op.
- Als umeeroto'swiltselecteren,druktuop3en herhaalt u stap 4.
Als u uw afbeeldingen wilt corrigeren, drukt u op Bewerken en Foto-aanpassingen en geeft u de gewenste instelleningen op. Blader eventueel verder maar beneden.
Raak het display aan als het beeld (bijvoorbeeld-, + of menu's) verwijdnt.
5 Druk op Instell. en geef cervolgens de afdruinstellenen op. Blader eventuel verdneraar beneden.
6 Druk op om het afdrukken te starten.
Opmerking
Raadpleeg de Gebruikershandleiding (PDF) voor andere afdrukfuncties en de menu's van de modus Foto's afdrukken.
Vanaf een digitale camera
1 Laad fotopapier in de papiercassette. "In de papiercassette" op pagina 5
2 Verwijder een eventuele in het apparaat aanwezighe geheugenkaart.
3 Open de modus Instellen vanuit het menu Home.
4 Open Extapparaatinst..Blader eventuelverder.
haar beneden.
5 Selecteer Afdrukinstellingen.
6 Selecteer de gewenste afdrukinstellingen. Blader eventueel verdneraar beneden.
7 Sluit de camera met een USB-kabel op het apparatusaat aan en zet verzervolgens de camera aan.

8 Raadpleeg voor het afdrukken de handleiding van de camera.
| Compatibilität | PictBridge |
| Bestandsindeling | JPEG |
| Afbeeldingsgroot- te | 80×80 pixels tot 9200×9200 pixels |
Opmerking:
- Afhankelijk van de instellenen op deze printer en de digitale camera worden sommige combinaties van papiersoor, papierformaat en lay-out nicht ondersteund.
Sommige instellen gen die u op de digitale camera vastlegt, worden möglichn nicht zichtaar op de afdruk.
Scannen
U aunt documenten scannen en de scan overbrengen van het apparaat waar een geheugenkaart of een aangesloten computer.
Opmerking:
- Als de gemaakte scan op een geheugenkaart要去 komen,要去 u die geheugenkaart eerst in het apparaatplaaten.
"Een geheugenkaart plaatsen" op pagina 9
Als u Scannen maar cloud wilt gebruiken,要去 u dubbelklikken op het pictogram op het bureaublad en de Epson Connect-handleiding raadplegen.
1 Plaats een of meerdere originen.
"Originen plaatsen" op pagina 9
2 Open de modus Scannen vanuit het menu Home.
3 Selecteer een item in het scanmenu.
4 Als u Maar geheugenkaart scannen selecteert, kurz u verdere scaninstellingen opgeven. Als u Maar pc scannen selecteert, moet u uw computer selecteren.
5 Druk op om het scannen te starten.
Opmerking:
Zie de Gebruikershandleiding (PDF) voor andere scanfuncties en de menu's van de modus Scannen.
Uw gescande beeld worden opgeslagen.
Faxen
Opmerking:
Raadpleeg de Gebruikershandleiding (PDF) voor andere faxfuncties en de menu's van de modus Fax.
De faxfunctie is alleen beschikbaar voor de XP-850.
Introductie FAX Utility
FAX Utility is een softwareprogramma waarmee gevevens zoals documenten, tekeningen en tabellen gemaakt in een programme voor tekstverwerking of werkbladenrechtstreeks doorgefaat+kunnen worden, zonder afdrukken. Gebruik de volgende procedure om het hulpprogramma uit te voeren.
Windows
Klik op de startknop (Windows 7 en Vista) of klik op Start (Windows XP), wijnsaar All Programs (Alle programma's),selecteer Epson Software en klik verzolgens op FAX Utility.
Mac OS X
Klik op System Preference (Systeemvoorkeuren), klik op Print & Fax (Afdrukken en faxen) of Print & Scan (Afdrukken en scannen) en selecteer verzolgens FAX (uw apparaat) in Printer. Klik verzolgens als volgt: Mac OS X 10.6.x, 10.7.x: Option & Supplies (Opties en toebehoren) - Utility (Hulpprogramma) - Open Printer Utility (Open hulpprogramma printer) Mac OS X 10.5.x: Open Print Queue (Open afdrukwachrij) - Utility (Hulpprogramma)
Opmerking:
Zie de online-Help voor meer informatie over FAX Utility.
Verbinden met een telefoonlijk
Telefoonkabel
Gebruik een telefoonkabel die voldoet aan de volgende specificaties.
RJ-11-telefoonlijn
RJ-11-telefoonsetaansluiting
Voor sommige landen kan er een telefoonkabel met het product worden meegeleverd. Gebruik in dat geval die kabel.
Gebruik de telefoonlijk alleen om te faxen
1 Verbind een telefoonkabel van een telefoonaansluiting maar de LINE-poort.

Zorg ervoor dat Automatisch antewoord op Aan staat.
"Faxen verzenden" op pagina 16
Belangrijk:
Als u geen externe telefoon met het apparaat verbindt, moet u automatisch beantwoorden activeren. Als u dit Niet doet,(Intu geen faxen ontvangen.
Lijn delen met telefoontoestel
1 Verbind een telefoonkabel van een telefoonaansluiting maar de LINE-poort.


2 Verwijder de plug.
3 Verbind een telefoontoestel of antwoordapparaat met de EXT.-poort.
1 Laad gewoon A4-papier in de cassette. "Papier laden" op pagina 5
2 Open de modus Instellen vanuit het menu Home.
3 Selecteer Faxinstallingen.
A Selecteer Fax-aansluiting controleren.
5 Druk op om het rapport af te drukken.

Opmerking:
Zie de Gebruikershandleiding (PDF) voor andere manieren van aansluiten.
De faxverbinding controleren
U kunt controlleren of het apparaat gereed is voor het verzenden of ontvangen van faxberichten.
Opmerking:
Als er fouten op het rapport staan, probeert u de oplossingen vermeld in het rapport.
Faxfunctions instellen
Snelkiezen instellen
U kurz een snelkieslijm makeen waarmee u de nummers van de ontvangers van faxen snug kunt selecteren wanneer u wilt faxen. U kurz tot 60 gecombineerde invoeren voor snelkiezen en groepskiezen registraren.
1 Open de modus Fax in het menu Home.
2 Druk op Cont.pers..
3 Selecteer Contacten toevoegen/bewerken.
4 Druk op Snelkeuze instellen. U krijgt de beschikhbare invoernummers voor snelkiezen te zien.
5 Selecteer het nummer voor snelkeuze dat u wilt registeren. U(Int) tot 60 invoeren registeren.
6 Voer het telefoonnummer in. U kunt tot 64 tekens invoeren.
Opmerking:
Een streeje (-) levert eenkleine pauze op in het kiezen van het nummer. Gebruik het alleen als die pauze ectn nodig is. Spaties worden genedeerd bij het kiezen.
7 Selecteer Klaar.
8 Voer een naam in om de snugkiesinvoer te identificeren. U kunt tot 30 tekens invoeren.
9 Selecteer Klaar om de naam te registereren.
Invoeren voor groepskiezen instellen
U kurz nelnkiesnummers toevoegen aan een groep, waardoor u een faxaar verschillende ontvangers tegelijk kurz versturen. U kurz tot 60 gecombineerde invoeren voor nelnkiezen en groepskiezen registeren.
1 Open de modus Fax in het menu Home.
2 Selecteer Cont.pers..
3 Selecteer Contactpersonen bewerken.
4 Selecteer Groepskiezen instellen. U krijgt de beschikbare invoernummers voor groepskiezen te zien.
5 Selecteer het nummer dat u wilt registeren.
6 Voer een naam in om de groepskiesinvoer te identificeren. U kunt tot 30 tekens invoeren.
7 Selecteer Klaar om de naam te registeren.
8 Selecteer het nummer dat u wilt registeren.
Herhaal stap 8 om nog meer snelkiesnummers toe te voegen aan de groepskieslijst. U kunt tot 30 snelkiesinvoeren toevoegen aan een groepskieslijst.
10 Selecteer Klaar om het makeen van een groepskiesliest te voltooien.
Faxen verzenden
1 Plaats uw origineel in de automatische documentinvoor of op de glasplaat.
→“Originenplaatsen”op pagina 9
2 Open de modus Fax in het menu Home.
Raak op het display Geef faxnummer op aan.
4 Voer het faxnummer in en selecteer Klaar. U kunt tot 64 tekens invoeren.
Opmerking:
- Om het staat gebruekte faxnummer weiter te geven, druk u op Opn. kiezen.
Zorg ervoor dat de kopregel is ingevoerd. Sommige faxapparaten weigeren inkomende faxberichten zonder kopregel.
5 Druk op ,selecteer Kleur of Zwart-wit en wijzig zo nodig de overige instellenen.
6 Druk op om het verzenden te starten.
Opmerking:
Als het faxnummer gezet is of er een probleem is, zal het apparaat na een minuut opnieuw proberen. Druk op Opn. kiezen om onmiddelijk opnieuw te proberen.
Faxen ontvangen
Volg de onderstaande instructies om in te stellen dat faxen automatisch worden ontvangen. Zie de Gebruikershandleiding (PDF) als u wilt weten hoe u faxberichten handmatig ontvangt.
1 Laad gewoon A4-papier in de cassette.
"Papier laden" op pagina 5
Zorg ervoor dat Automatisch antewoord op Aan staat.
Instellen > Faxinstallingen >
Wanner een antwoordapparaatrechtstreeks met dit apparaat verbonden is, moet u ervoor zorgen dat u Overgaan voor antwoorden correct instelt met de volgende procedure.
Of Overgaan voor antwoorden beschikbaar is, verschilt per land.
3 Open de modus Instellen vanuit het menu Home.
Meer functies
4 Selecteer Faxinstallingen.
5 Selecteer Communicatie.
6 Selecteer Overgaan voor antewoorden.
7 Druk op + of - om het eenantal belsignalen te selecteren en selecteer verrolgens Klaar.
Belangrijk:
Selecteermeerbelsignalendanhet
antwoordapparaatnodigheeftomopte nemen.Als dit is ingestesteldomopeteneen na het vierde belsignaal,moetu hetapparaat instellenom op te nemen na het vijfde belsignaal oflater.Anderscan het antwoordapparaat geentelefoonoproepen ontvangen.
Opmerking:
Wanner u een oproep ontvangt en de andere partij een fax is, ontvangt het appararaat de fax automatisch, zichs als het antwoordapparaat de oproep opneemt. Als u de telefoon opneemt,要去 u wachten tot op het display een boodschap wordenweergegeven dat verbinding is gemaakt voor u ophangt. Als de andere partij een beller is, kan de telefoon zoals gewoonlijk worden gebruikt of kan een bericht worden achtergelaten op het antwoordapparaat.
Rapporten afdrukken
Volg de onderstaande instructies om een faxrapport af te drukken.
1 Laad gewoon A4-papier in de cassette. "Papier laden" op pagina 5
Open de modus Fax in het menu Home.
3 Selecteer Geavanc. Opties.
4 Selecteer Faxverslag.
5 Selecteer het item dat u wilt afdrukken.
Opmerking:
Alleen het Faxlogboek kan op het scherm worden bekeken.
6 Druk op om het geseleeteerde rapport af te drukken.
Meer functies
Meer functies bevat allerlei speciale menu's om het afdrukken leuker en gemakkelijker te make! Voor meer informatie selekteert u Meer functies gevolgd door de desbeteffende menu's en verder volgt u de instructies op het display.
| Menu | Functies | |
| Foto kopiären/herstellen | → | U kurz een getrouwe kopie van uw originen make. Als de originele foto verkleurd is, kurz u de foto opfrissen. |
Meer functies
| Menu | Functies | |
| Vel fotolay-out | U kurz uw Foto's van een geheugenkaart af- drukken in verschillende lay-outs. | |
| Wenskaart | Met behulp van een A4-sjabloon kutu uw eigien kaarten maken met een zelfgeschreven boodschap erop. Druk eerst een sjabloon af, schrijf uw boodschap erop en scan de sjabloon om de kaarten af te drukken. | |
| Naar cd/dvd kopiieren | U kutt een foto of cd-/dvd-label kopiieren op een cd/dvd. De afbeelding wordt automatisch bijgesneden en van formaat veranderd om op de cd/dvd te passen. | |
| Op cd/dvd afdrukken | U kutt cd-/dvd-labels maken met foto's die op een geheugenkaart staan zonder dat u een computer hoeft te gebruiken. | |
| Gelinieerd papier afdr. | U kutt lijntjes- of ruitjespapier afdrukken met of zonder foto als achtergrond. | |
| Kleurboek* | U kutt een kleurplaat afdrukken op basis van uw foto's of lijntekeningen. | |
- Gebruik de functie Kleurboek alleen voor tekeningen en afbeeldingen die u zich heb gemaakt. Wanner u materiaal gebruikt waarop auteursrechten rusten, zorg er dan voor dat u binnen de wet blijf voor het makeen van afdrukken voor persoonlijk gebruik.
Cartridges verrangen
Cartridgeservangen
Veiligheidsvoorschriften
Wees voorzichtig met gebruekte cartridges. Er kan inkt rond de inktoevoer kleven.
Houd cartridges buiten het bereik van kinderen.
Als u inkt op uw huid krijgt, wast u de plek grondig met water en zeep.
Als u inkt in uwogen krijtgt, moet u uwogen onmiddelijk uitspoelen met water. Raadpleeg onmiddelijk een arts als u ondanks grondig spoelen problemen krijtgt met uwogen of nog steeds ongemak ondervindt.
Als er inkt in uw mond terechtkommen, spuugt u deze onmiddelijk uit en raadpleegt u direct een arts.
Alu de cartridge uit het product haalt voor later gebruik of om de cartridge weg te gooien, moet u de dop weeper op de inktoevoer van de cartridge aanbrengen. Zo voorkomt u dat de cartridge uittroogt of dat u inktvlekken krijgt.
Duw Niet te hard op de cartridges en knijp er Niet in. Let er ook op dat u ze Niet-Laat vallen. Dit kan lekkageveroorzaken.
Voorzorgsmaatregelen
Epson raadt het gebruik van originele Epson-cartridges aan. De kwaliteit of betrouwbaarheid van Niet-originele inkt kan nicht door Epson worden gegardeerd. Het gebruik van Niet-originele cartridges kan leiden tot schade die niedonder de garantie van Epson valt. Bovendien kan het gebruik van dergelijkke producten er in bepaalde omstandigheden toe leiden dat het apparaat net correct functioneert. Mogelijk worden geen informatatie weergegeven over het niveau van Niet-originele inkt.
- Om ervoor te zorgen dat de printkop optimaal blijf werkken, worden een beetje inkt uit alle cartridges verbruikt, Niet alleenijdens het afdrukken maar ookijdens onderhoudsactiviteiten zoals het verrangen van inktcartridges en het reinigen van de printkop.
Pas op dat er geen stof of voorwerpen in de cartridgeghouser komen. Als er iota's in de houser zit, kan dit nadelige gevolgen hebben voor het afdrukresultaat en kurz u möglichk Niet meer afdrukken.
- Om zuinig om te gaan met de inkt mag u de cartridge alleen verwijderen wonneer u deze wilt verrangen. Cartridges die al bijna leeg+zijn, kunnen na een herinstallatie Niet meer worden gebruikt.
Open de verpakking van de cartridge pas op het moment waarop u de cartridge wilt installereren. De cartridge is vacuumverpakt om de betrouwbaarheid te waarborgen. Als u een cartridge langereijd buiten de verpakking bewaart en dan pas gebruikt, is normal afdrukken misschien Niet更是很可能.
Installer alle inktcartridges. U kurz anders nicht afdrukken.
Een cartridge verrangen
Opmerking:
De cd-/dvd-lade mag Niet in het apparaat zitten en het lampje moet branden (niet knipperen).
Schud de cartridges nicht na het openen van de verpakking. Ze könnenlekken.
Haal de cartridge uit de verpakking en verwijder de dop van de onderkant van de cartridge.

Opmerking:
Raak de in de illustratie weergegeven delen nicht aan. Dit kan de normale werking schaden.
Cartridges verrangen

2 Open de scannereneenheid. De cartridgehouser beweegt maar de positie waar de cartridges können worden verrangen.


Belangrijk:
Raak de witte lintkabel die aan de cartridgehouser vastzit Niet aan.
Opmerking:
Volg de onderstaande instructies als de cartridgehouser Niet maar de positie voor het verwangen van de cartridges beweegt. Home > Instellen > Onderhoud > Inktcartridge verwangen
Verplaats de cartridgehouser nicht met de hand. Hierdoor kan het apparaat worden beschadigd.

Duw het lipje in om de cartridgehouser te ontgrendelen en haal de cartridge er verrolgens schuinuit.


Opmerking:
De illustratie toont hoe u de cartridge uiterst links verrangt. Vervang de gespaste cartridge voor uw situatie.

Plaats de cartridge met de bovenkant eerst in de houder. Duwervoigens op de onderkant van de cartridge. De cartridge moet vastklikken.


Eenvoudige problemen oplossen

Breng de dop aan op de inkttoevoer van de cartridge die u hebt verwijderd. Gooi de cartridge weg conform de lokale milieuvoorschriften.


Sluit de scannereneenheid. De cartridgehouser keert terug waar de uitgangspositie.


Volg de instructies op het scherm.
Opmerking:
- Het lampje © blijft knipperen terwijl de inkt worden geladen in het apparaat. Schakel het apparaat nooituit terwijl inkt worden geladen. Als de inkt Niet volledig geladen is, is het möglichk dat u Niet kunt afdrukken.
Plaats de cd-/dvd-lade pas in het apparaat wanner het laden van de inkt is voltooid.
Eenvoudige problemen oplossen
Foutboodschappen
In dit gedeelte worden de betekenis uitgelegd van de boodschappen die op het display worden weergegeven.
| Foutboodschappen | Oplossingen |
| Papier is vastgelopen | →Zie “Vastgelopen papier” op pagina 22 |
| Papier op | →Zie “Papier laden” op pagina 5 |
| Geen Foto's herkend. Leg deFoto's correct op het de scan- nerglasplaat. | →Zie “Glasplaat” op pagina 11 |
| Printerfout. Schakel de voeding UIT en weein. Raadpleeg uw documentatie voor details. | Zet het apparaat UIT en weein aan. Zorg ervoor dat er geen papiermeer in het apparaat zit. If the error message still appears, contactEpson support (Neem contact op met Espon Support als de fout- boodschap nog steeds worden weergegeven). |
Eenvoudige problemen oplossen
| Foutboodschappen | Oplossingen |
| Communicatiefout. Controller of pc aangesloten is. | Zorg ervoor dat de computer correct is aangesloten. Als de fout-boodschap nog steeds worden weergegeven, moet u ervoor zorgen dat de scansoftware geinstalleerd is op uw computer en dat de software-installingen correctrijk. |
| Inktpad van printer is aan einde van levensduur. Waarschuw Epson Support. | Druk op ◎ om het afdrukken te hervatten. Het bericht worden weergegeven totdat het inktkussentje is verrangen. Laat de inktkussentjesijdig verrangen. Wanner ze helemaal verzadigdrijk, doet de printer het Nieteer ne heb u Epson nodig om nog te kunnen afdrukken. |
| Een inktpad van de printer is aan het einde van+zijn levensduur. Neem contact op met Epson Support. | Neem contact op met Epson voor verranging van het inktkus- sentje. |
| Geheugenkaart of extern apparaat net herkend. | Zorg ervoor dat de geheugenkaart of het externe apparaat correct is geplaatst. |
| Geen kiestoon gedetecteerd. Doe Fxaansl. Contr. onder Faxinst. in menu Instellen. | Zorg ervoor dat de telefoonkabel correct verbonden is en dat de telefoonlijn werkct. ➔Zie "Verbinden met een telefonlijn" op pagina 14 Als u het apparaat verbonden heb met een PBX (Private Branch Exchange) telefonlijn of een Terminal Adapter, moet u Kiestoondetectie uitschaken. Selecteer Faxinstallingen > Com-municatie > Kiestoondetectie > Uit. |
| Combinatie van IP adres en subnetmasker is ongeldig. Zie de documentationie. | Zie de online Netwerkhandleiding. |
| Recovery Mode | De update van de firmware is mislukt. U要去 de firmware op-nieuw proberen te updaten. Houd een USB-kabel maar en breng een bezoek aan uw lokale website van Epson voor verdere in-structies. |
Vastgelopen papier
Let
Kom nooit aan de knoppen op het bedieningspaneel wonneer u met uw hand in het apparaat zit.
Opmerking:
Annuleer de afdruktaak als een melding worden weergegeven op het display of in de printerdriver.
Nadat u het vastgelopen papier hebt verwijderd, drukt u op de knop die op het display worden aangegeven.
Vastgelopen papier verwijderen achter het deksel aan de achterzijde

Trek het deksel aan dechterzijde uit en verwijder voorzichtig het vastgelopen papier.

Eenvoudige problemen oplossen

2
Verwijder voorzichtig het vastgelopen papier.

3
Open het deksel aan dechterzijde en verwijdder voorzichtig het vastgelopen papier.
4
Breng het deksel aan dechterzijde van het apparaat wee aan.

Vastgelopen papier verwijderen binnen in het apparatus

1
Verwijder voorzichtig het vastgelopen papier.

2
Open de scannereenheid. Verwijder vervolgens al het papier en alle eventuele losse stukken.

Belangrijk:
Raak de witte lintkabel die aan de cartridgehouser vastzit Niet aan.

3
Doe de scannereenheid langzaam weeh dicht.
Vastgelopen papieruit depapiercassette verwijderen

1
Trek de papiercassette aan buiten. Verwijder verrolgens voorzichtig het vastgelopen papier.
2
Verwijder het vastgelopen papier uit de cassette.

Maak een rechte stapel van het papier.
4 Houd de cassette horizontal en steek hem voorzichtig helemaal in het apparaat.
Vastgelopen papier verwijderenuit de automatischedocumenttoevoer (ADF)
Of dit onderdeel aanwezig is, verschilt per apparaat.
1 Verwijder de stapel papieruit de toevoerlade van de ADF.
2 Open het deksel van de ADF. Verwijder verzolgens voorzichtig het vastgelopen papier.

Belangrijk: Open in ieder geval het deksel van de ADF voordat u vastgelopen papier verwijdert. Als u dat Niet doeet, kan het apparaat beschadigd raken.

3 Open het deksel.

4 Verwijlder de mat.

5 Verwijder voorzichtig het vastgelopen papier.
6 Breng de mat weeer aan en sluit het deksel.
Eenvoudige problemen oplossen
7 Open de ADF.

Verwijder voorzichtig het vastgelopen papier.

9 Sluit de ADF.
Afdrukkwaliteitverbeteren
Probeer de volgende oplossingen als u streepvorming (lichte strepen), ontbrekende kleuren of andere kwaliteitsproblemen in uw afdukken ziet.
- Controller of u het papier en uw origineel goed in het apparaat hebt geplaatst.
"Papier laden" op pagina 5
→“Originenplaatsen” op pagina 9
- Controller de instelleningen voor het papierformaat en de papiersoort.
"Papier selecteren" op pagina 5
Mogelijk is de printkop verstopt. Voer eerst een spuitkanaaltjescontrole uit en reinig verrolgens de printkop.
Instellen > Onderhoud > Spuistukcontrole

(a) OK
(b) Printkopreiniging noodzakelijk
Hulp bij het faxen
Zorgervoordat de telefoonkabel correctverbonden is en controllerer dat de telefoonlijn werkt. U kunt de status van de telefoonlijn controleren via de functie Fax-aansluiting controlenen.
"Verbinden met een telefoonlijn" op pagina 14
Als de fax Niet kan worden verzonden, zorg er dan voor dat het faxapparaat van de ontvanger aanstaat en goed werkt.
Als dit apparatusat Niet is verbonden met een telefoon en u faxen automatisch wilt ontvangen, moet u automatisch beantwoorden activeren.
"Faxen ontvangen" op pagina 16
Opmerking:
Zie de Gebruikershandleiding (PDF) voor meer oplossingen voor faxproblemen.
Hulp vragen
Technische ondersteuning (website)
Deze website van Epson biedt u technische ondersteuning bij problemen die u Niet kunt oplossen met de informatie in de productdocumentatie. Als u beschikt over een webbrowser en ean aansluiting hebt op het Internet, kunt u de website bezoen op:
http://support.epson.net/ http://www.epson.eu/Support (Europe)
Ga voor de{nieuwste drivers,vragen en antewoorden, handleidingen en ander materiaal om te downloaden.
haar:
http://www.epson.com
http://www.epson.eu/Support (Europe)
Selecteer hier het onderdeel "ondersteuning" van uw lokale Epson-website.
Opmerking:
Als uw Epson-product Niet goed functioneert en u het probleem Niet kunt verhopen met de informatatie in de productdocumentatie, neem dan contact op met de klantenservice van Epson. Zie de Gebruikershandleiding voor meer informatatie over de ondersteuning van Epson.
Notice-Facile