HCA92741B - Kombinuotas šaldytuvas BEKO - Notice d'utilisation et mode d'emploi gratuit

Retrouvez gratuitement la notice de l'appareil HCA92741B BEKO au format PDF.

Page 174
Instrukcijos asistentas
Powered by ChatGPT
En attente de votre message
Informations produit

Marque : BEKO

Modèle : HCA92741B

Catégorie : Kombinuotas šaldytuvas

Téléchargez la notice de votre Kombinuotas šaldytuvas au format PDF gratuitement ! Retrouvez votre notice HCA92741B - BEKO et reprennez votre appareil électronique en main. Sur cette page sont publiés tous les documents nécessaires à l'utilisation de votre appareil HCA92741B de la marque BEKO.

MODE D'EMPLOI HCA92741B BEKO

A C AVVERTENZA: Prima di toccare le lampadine, accertarsi che si sono raffreddate. Contattare l'agente per l'assistenza autorizzato per la sostituzione della lampadina.

171 / 242 IT Pirmiausia perskaitykite šią naudojimo instrukciją! Gerb. Pirkėjau, Ačiū, kad pasirinkote „Beko“ gaminį. Tikimės, kad šiuo gaminiu, kuris buvo pagamintas naudojant aukščiausios kokybės moderniausią technologiją, liksite patenkinti. Prieš pradėdami naudoti šį prietaisą, perskaitykite visą šią naudojimo instrukciją bei prie jos pridedamus dokumentus ir juos pasilikite, jei prireiktų ateityje. Jeigu atiduotumėte šį gaminį kam nors kitam, kartu atiduokite ir šią naudojimo instrukciją. Vadovaukitės visais šiose naudojimo instrukcijose pateikiamais įspėjimais ir informacija. Atsiminkite, kad ši naudojimo instrukcija taip pat gali būti taikytina keletui kitų modelių. Modelių skirtumai yra aiškiai aprašyti šiose instrukcijose. Ženklų reikšmės Įvairiuose šių instrukcijų skyriuose naudojami šie simboliai:

C A B Svarbi informacija ir naudingi patarimai, kaip naudoti prietaisą. ĮSPĖJIMAS: Įspėjimai apie pavojingas situacijas, keliančias pavojų gyvybei ir gadinančias turtą. Įspėjimas dėl elektros smūgio. Įspėjimas dėl įkaitusių paviršių.

Šis prietaisas pagamintas moderniose ekologiškose gamyklose, nedarant žalos gamtai. Šis buitinis prietaisas atitinka reglamentus dėl elektros ir elektroninės įrangos atliekų (EEĮA).

TURINYS 1 Svarbios saugos ir aplinkos apsaugos taisyklės 158-161 1.1 Bendrieji saugos reikalavimai . . . . . . . . . . . . . . . . . . . 158 1.1.1 Elektros sauga . . . . . . . . . . . . . . . . . . . . . . . . . . . . . . . . . 158 1.1.2 Gaminio sauga. . . . . . . . . . . . . . . . . . . . . . . . . . . . . . . . . 158 1.1.3 Vaikų sauga . . . . . . . . . . . . . . . . . . . . . . . . . . . . . . . . . . . 160 1.2 Naudojimas pagal paskirtį. . . . . . . . . . . . . . . . . . . . . . . 160 1.3 Atitiktis EEĮA direktyvai ir atitarnavusio gaminio sutvarkymas . . . . . . . . . . . . . . . . . . . . . . . . . . . . . . . . . . . . . . . . 161 1.4 Informacija apie pakuotę . . . . . . . . . . . . . . . . . . . . . . . . 161

2 Techniniai prietaiso duomenys 162 3 Prietaiso montavimas

3.1. Elektros prijungimas . . . . . . . . . . . . . . . . . . . . . . . . . . . . 163 3.2. Montavimas . . . . . . . . . . . . . . . . . . . . . . . . . . . . . . . . . . . . 163 3.2.1 Prieš pradėdami montuoti . . . . . . . . . . . . . . . . . . . . 163 3.2.2 Pasiruošimas garų rinktuvą tvirtinti ant sienos164 3.2.3 Garų rinktuvo ortakio tvirtinimas . . . . . . . . . . . . . 165 3.2.4 Garų rinktuvo tvirtinimas prie sienos . . . . . . . . . 166

4 Prietaiso naudojimas

4.1 Naudojimas . . . . . . . . . . . . . . . . . . . . . . . . . . . . . . . . . . . . . 169 4.2 Valdymas su lygiais . . . . . . . . . . . . . . . . . . . . . . . . . . . . . 169 4.3 Riebalų filtro įspėjamasis signalas . . . . . . . . . . . . . . 169 4.4 Anglinio filtro įspėjamasis signalas . . . . . . . . . . . . 169 4.5 Taupus energijos naudojimas . . . . . . . . . . . . . . . . . . 170

5 Valymas ir priežiūra

5.1 Valymas . . . . . . . . . . . . . . . . . . . . . . . . . . . . . . . . . . . . . . . . . .171 5.2 Stiklinio skydelio valymas . . . . . . . . . . . . . . . . . . . . . . . .171 5.3 Anglinis filtras (tik filtro režimu veikiančiuose modeliuose) . . . . . . . . . . . . . . . . . . . . . . . . . .171 Cirkuliacinis anglinis filtras . . . . . . . . . . . . . . . . . . . . . . . . . .171 5.4 Riebalų filtras . . . . . . . . . . . . . . . . . . . . . . . . . . . . . . . . . . . .171 5.5 Valymas . . . . . . . . . . . . . . . . . . . . . . . . . . . . . . . . . . . . . . . . . 172 5.6 Lempučių keitimas . . . . . . . . . . . . . . . . . . . . . . . . . . . . . . 172

Garų rinktuvas / naudojimo instrukcija

varbios saugos ir aplinkos apsaugos S taisyklės

Šiame skyriuje pateikiama saugos informacija, kuri padės išvengti susižeidimų ar materialinės žalos. Jeigu nesivadovausite šiais nurodymais, suteikta garantija nebegalios.

1.1 Bendrieji saugos reikalavimai

•• Montavimo ir remonto darbus turi

atlikti įgaliotasis priežiūros atstovas. Gamintojas neatsako už gedimus, kurie atsiranda dėl neįgaliotų asmenų veiksmų. •• Šis prietaisas nėra skirtas naudoti asmenims (įskaitant vaikus) su susilpnėjusiais fiziniais, jutiminiais ar protiniais gebėjimais arba turinčiais per mažai patirties ir žinių. Visada prižiūrėkite vaikus, kad jie nežaistų su šiuo prietaisu. 1.1.1 Elektros sauga •• Atlikdami prietaiso montavimo, priežiūros, valymo ir remonto darbus, visuomet ištraukite kištuką iš elektros tinklo lizdo. •• Sugedusį maitinimo kabelį turi pakeisti kvalifikuotas gamintojo sertifikuotas asmuo, priežiūros po pardavimo padalinio darbuotojas (geriausiai elektrikas) arba importuotojo nurodytas asmuo. 174 / 242 LT

įtampa yra nuo 220 iki

240 voltų. •• Sugedusio prietaiso negalima naudoti tol, kol jo nepataiso įgaliotasis priežiūros atstovas. Gali nutrenkti elektra! •• Prie pat garų rinktuvų netieskite maitinimo kabelių. Kadangi maitinimo kabelis lengvai išsilydo, jis gali sukelti gaisrą. •• Kol nebaigėte montuoti garų rinktuvo, tol nejunkite jo prie elektros tinklo. •• Kad prietaisas kuo geriau veiktų, išorinio ortakio ilgis turi būti ne didesnis kaip 4 m. Jis negali turėti daugiau kaip 2 statmenas (90°) alkūnes ir jo skersmuo turi būti ne mažesnis kaip 120 mm. •• Prieš ką nors darydami su vidinėmis prietaiso dalimis, jį atjunkite nuo elektros tinklo. •• Prietaisą junkite tik prie įžeminto elektros lizdo. 1.1.2 Gaminio sauga •• Prie garų rinktuvo movos galite prijungti 120 mm arba 150 mm skersmens vamzdį.

Garų rinktuvas / naudojimo instrukcija

varbios saugos ir aplinkos apsaugos S taisyklės

nejunkite prie krosnių dūmtraukių, oro ištraukiamųjų kanalų ar dūmtraukių, kuriuose gali atsirasti liepsna. Laikykitės atitinkamų institucijų nustatytų taisyklių dėl išmetamojo oro išleidimo. •• Atstumas tarp garų rinktuvo apatinio paviršiaus ir viryklės (krosnies) viršutinio paviršiaus dujinių kaitlenčių atveju turi būti ne mažesnis kaip 50 cm, o elektrinių kaitlenčių atveju – 45 cm. •• Garų rinktuvo nenaudokite be aliumininių filtrų ir, jam veikiant, nenuiminėkite šių filtrų. •• Nelieskite ką tik ilgai veikusių garų rinktuvo lempučių. Karštos lemputės gali nudeginti rankas. •• Po gaminiu venkite didelės liepsnos. Kitaip gali užsiliepsnoti riebalų filtre susikaupę medžiagos ir sukelti gaisrą. •• Kaitlentes įjunkite tik tada, kai ant jų yra keptuvės ar puodai. Kitaip, dėl kylančio karščio gali deformuotis tam tikros gaminio dalys. •• Prieš nuimdami keptuves ar puodus, kaitlentes išjunkite. •• Po garų rinktuvu nenaudokite lengvai užsiliepsnojančių medžiagų. •• Kepant maisto produktus, aliejus gali užsiliepsnoti. Garų rinktuvas / naudojimo instrukcija

Todėl saugokite drabužius ir užuolaidas. •• Kepdami maisto produktus, nepalikite viryklės be priežiūros, nes įkaitęs aliejus gali sukelti gaisrą. •• Jeigu garų rinktuvo nevalysite nurodytais laiko tarpais, gali kilti gaisras. •• Valydami garų rinktuvą, būkite ypač atsargūs ir užsimaukite pirštines. •• Kad padidėtų įsiurbimo galia, prietaisą patariame įjungti kelios minutės prieš pradedant gaminti maistą. Tada, pradėjus kilti garams, jau turėsite tolygią ir stabilią įsiurbimo galią. •• Kad iš virtuvės būtų pašalintas kvapas ir maisto ruošimo garai, baigę virti ar kepti, garų rinktuvui leiskite padirbėti dar 15 minučių. •• Kai garų rinktuvas veikia, ir ypač kartu su dujinėmis viryklėmis, į patalpą turi patekti šviežias oras. •• Atkeipkite dėmesį, kad prietaisas nebūtų prijungtas prie ortakių, kuriuos naudoja ne elektriniai prietaisai. (Pvz.: šildytuvo dūmtraukio).

varbios saugos ir aplinkos apsaugos S taisyklės

rinktuvas ir kitas prietaiVaikams negalima žaisti su šiuo sas, kuriam reikia oro, vienu metu prietaisu. sklandžiai gali veikti tik tuo atveju, •• ATSARGIAI: Naudojant kartu su kai susidaro ne didesnis kaip 4 Pa maisto ruošimo prietaisais, tam (0,04 mbar) neigiamas slėgis ir tikros dalys, prie kurių galima pritaip išvengiama atbulinio dujų įsisiliesti, gali įkaisti. urbimo. Tai galima pasiekti tada, kai oras patenka per atviras angas 1.2 Naudojimas pagal (duris, langus, ventiliacines angas paskirtį ar kitus techninius įrenginius). •• Šis prietaisas skirtas buitiniam Ypatingą dėmesį atkreipkite į tai, naudojimui. Jis nepritaikytas naukad tiekiamo oro srautas būtų padoti komerciniu tikslu ir jo nekankamas. Tam neužtenka ortagalima naudoti kitaip nei pagal kio, per kurį įeina (išeina) oras. paskirtį. •• Gamintojas neatsako už jokius 1.1.3 Vaikų sauga nuostolius, kurie atsiranda dėl •• Pakuotės medžiagos vaikams yra netinkamo prietaiso naudojimo ar pavojingos. Pakuotės medžiagas netinkamo elgesio su juo. laikykite saugioje vietoje, kur jų •• Prietaiso tarnavimo trukmė yra 10 negalėtų pasiekti vaikai. metų. Tai laikotarpis, kurio metu •• Elektriniai prietaisai vaikams yra yra tiekiamos tinkamam prietaiso pavojingi. Neleiskite vaikų prie veikimui užtikrinti reikalingos atprietaiso. Neleiskite vaikams žaisti sarginės dalys. su prietaisu. •• ĮSPĖJIMAS: Jeigu varžtai nebus •• Vaikai nuo 8 metų ir asmenys, tuįsukti taip, kaip nurodyta instrukrintys ribotas psichines, jutimines cijoje, gali kilti su elektra susiję ar protines galimybes arba netupavojai. rintys patirties bei žinių, šiuo prietaisu gali naudotis su sąlyga, jeigu juos prižiūri arba paaiškina, kaip saugiai naudoti šį gaminį, ir jie supranta galimus su gaminio naudojimu susijusius pavojus.

176 / 242 LT Garų rinktuvas / naudojimo instrukcija

varbios saugos ir aplinkos apsaugos S taisyklės

1.3 Atitiktis EEĮA direktyvai ir atitarnavusio gaminio sutvarkymas Šis gaminys atitinka ES EEĮA direktyvą (2012/19/ES). Šis gaminys žymimas elektros ir elektroninės įrangos atliekų (EEĮA) simboliu. Šis gaminys pagamintas iš aukštos kokybės medžiagų ir dalių, kurias galima perdirbti ir pakartotinai panaudoti. Atitarnavusio gaminio neišmeskite kartu su įprastinėmis buitinėmis atliekomis. Atiduokite jį į surinkimo punktą, kad elektros ir elektroninė įranga būtų perdirbta. Artimiausio surinkimo punkto adresą sužinosite vietos savivaldybėje.

Atitiktis RoHS direktyvai:

Jūsų įsigytas gaminys atitinka ES RoHS direktyvą (2011/65/ES). Jame nėra direktyvoje nurodytų kenksmingų ar draudžiamų medžiagų.

1.4 Informacija apie pakuotę Šio gaminio pakuotė yra pagaminta iš perdirbti tinkamų medžiagų ir tai padaryta, atsižvelgiant į mūsų šalies teisės aktus. Neišmeskite pakavimo medžiagų kartu su buitinėmis arba kitomis atliekomis. Jas atiduokite į vietinių valdžios institucijų nurodytus pakavimo medžiagų surinkimo punktus.

Garų rinktuvas / naudojimo instrukcija

2 Techniniai prietaiso duomenys

Naudojimas su ortakiu

Naudojimas su angliniu filtru

Ant gaminio esantys ženklai ar kituose, su gaminiu pateiktuose dokumentuose esančios reikšmės – tai laboratorinėmis sąlygomis, remiantis atitinkamais standartais, gautos reikšmės. Šios reikšmės gali kisti, priklausomai nuo gaminio naudojimo ir aplinkos sąlygų.

178 / 242 LT Garų rinktuvas / naudojimo instrukcija

3 Prietaiso montavimas Dėl garų rinktuvo montavimo kreipkitės į artimiausią įgaliotąjį priežiūros atstovą.

*Už prietaisui skirtos vietos ir elektros instaliacijos paruošimą atsako klientas.

•• Patikrinkite, ar įsigyto gaminio matmenys atitinka montavimo vietos matmenis. •• Jeigu yra įdėtas, išimkite aktyvintųjų anglių (*) filtrą (taip pat žr. atitinkamą skyrelį). Jį (juos) reikia įdėti tik tuo atveju, jeigu garų rinktuvą norite naudoti kaip filtrą. •• Patikrinkite, ar garų rinktuve nėra įdėta kitų daiktų (pvz., varžtų paketo (*), garantinio talono (*) ir t. t.) ir, jeigu yra, išimkite juos ir kur nors pasidėkite. •• Jeigu įmanoma, atjunkite laisvai pastatomą ar kilnojamąją kaitlentę ir patraukite į šoną, kad galėtumėte lengvai prieiti prie galinės sienos (lubų). Jeigu neįmanoma, kad apsaugotumėte nuo sugadinimo ir nešvarumų, storu apsauginiu audiniu užtieskite stalviršį, kaitlentę ar viryklę. Prietaisui montuoti pasirinkite plokščią paviršių. Paviršių uždenkite apsauginiu audiniu ir ant jo išdėstykite visas uždengtas garų rinktuvo dalis. •• Be to, patikrinkite, ar garų rinktuvo montavimo vietoje yra elektros lizdas (be to, sumontavus garų rinktuvą, jis turi būti prieinamas), ar garų rinktuvą bus galima sujungti su lauku (tuo atveju, jei garų rinktuvas veiks ištraukiamuoju režimu). •• Iki galo atlikite visas su siena susijusias operacijas (pvz., elektros lizdo įrengimą ir (arba) išleidimo vamzdžiui skirtos angos padarymą).

ĮSPĖJIMAS: Po montavimo nuo garų rinktuvo ir ortakio paviršiaus nuimkite apsauginę plėvelę (jeigu yra).

Atstumas tarp garų rinktuvo apatinio paviršiaus ir kaitlentės viršutinio paviršiaus dujinių kaitlenčių atveju turi būti ne mažesnis kaip 50 cm, o elektrinių kaitlenčių atveju – 45 cm. Elektrą turi prijungti kvalifikuotas elektrikas. Gaminį sumontuokite taip, kad po montavimo galėtumėte lengvai pasiekti elektros jungtį (kištuką, lizdą). Matmenys nurodyti mm.

3.1. Elektros prijungimas •• Elektros tiekimo tinklo parametrų reikšmės turi atitikti garų rinktuvo viduje esančioje plokštelėje nurodytas reikšmes. Garų rinktuvą prie vietinius reikalavimus atitinkančio ir lengvai pasiekiamoje vietoje esančio elektros lizdo prijunkite per kištuką. Po montavimo: jeigu prietaisas neturi kištuko (prie elektros tinklo prijungtas tiesiogiai) arba kištukas yra nepasiekiamas, naudokite standartus atitinkantį dvipolį jungiklį, kuris leistų atjungti nuo elektros tinklo, kai susidaro su III viršsrovio kategorija susiję aplinkybės.

ĮSPĖJIMAS: Prieš prijungdami garų rinktuvą prie elektros tinklo ir patikrindami ar jis gerai veikia, įsitikinkite, kad teisingai prijungtas maitinimo kabelis.

•• Garų rinktuvas turi specialų maitinimo kabelį. Jeigu maitinimo kabelis pažeistas, kreipkitės į įgaliotąjį priežiūros atstovą. Garų rinktuvas / naudojimo instrukcija

3.2.1 Prieš pradėdami montuoti

Kad garų rinktuvą būtų galima pritvirtinti prie įvairių tipų sienų (lubų), yra daug įvairių kaiščių. Medžiagos atitikimą sienos (lubų) tipui papildomai turi patvirtinti kvalifikuotas technikas. Siena (lubos) turi atlaikyti garų rinktuvą. Garų rinktuvo netvirtinkite prie plytelių, gipso ar silikono dangos. Jį tvirtinkite tik prie sienos. Jeigu yra plokštė ir (arba) šoninė siena ir (arba) baldas, patikrinkite, ar yra pakankamai vietos garų rinktuvui tvirtinti, ar bus galima lengvai prieiti prie valdymo skydelio. 179 / 242 LT

3 Prietaiso montavimas 3.2.2 Pasiruošimas garų rinktuvą tvirtinti ant sienos

3. Pažymėtose vietose Ø 8 mm grąžtu išgręžkite kiaurymes. (3 pav.)

Toliau pateikta informacija, kurios reikia garų rinktuvo montavimo vietai paruošti. 1. Pažymėkite paviršių, ant kurio reikia pakabinti tvirtinimo šabloną. (1 pav.)

2. Tvirtinimo šabloną pritvirtinkite toje vietoje, kur montuosite garų rinktuvą. (2 pav.)

4. Į išgręžtas kiaurymes įkalkite tris (3) Ø 8x40 mm kaiščius. Į įkaltus kaiščius įsukite du (2) Ø 5x45 mm pakabinimui skirtus varžtus. Tarp varžto galvutės ir sienos turi likti 5 mm tarpelis. (4 pav.)

180 / 242 LT Garų rinktuvas / naudojimo instrukcija

3 Prietaiso montavimas 3.2.3 Garų rinktuvo ortakio tvirtinimas Pažymėtose vietose Ø 8 mm grąžtu išgręžkite ortakio plokštei tvirtinti skirtas kiaurymes. Į išgręžtas kiaurymes įkalkite du (2) Ø 8x40 mm kaiščius. Į įkaltus kaiščius įsukite du (2) Ø 5x45 mm pakabinimui skirtus varžtus. (5 pav.)

Garų rinktuvas / naudojimo instrukcija

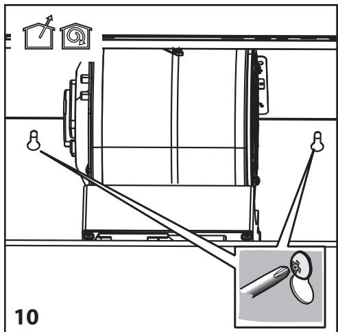
3 Prietaiso montavimas 3.2.4 Garų rinktuvo tvirtinimas prie sienos

3. Garų rinktuvą uždėkite taip, kad varžtai sutaptų su varžtų galvutėmis. (9 pav.)

1. Kad garų rinktuvą galėtumėte pritvirtinti prie sienos, nuimkite priekinį skydelį.(7 pav.)

4. Priverždami varžtus, pritvirtinkite garų rinktuvą. (10 pav.)

2. Išimkite filtrus.(8 pav.)

182 / 242 LT Garų rinktuvas / naudojimo instrukcija

3 Prietaiso montavimas 5. Garų rinktuvui pritvirtinti panaudokite poveržles ir priveržkite Ø 5x45 varžtais.(11 pav.)

6. Prie elektros lizdo prijunkite maitinimo kabelį. Panaudodami Ø 3,5x9,5 varžtą, pritvirtinkite kabelį.(12 pav.)

Garų rinktuvas / naudojimo instrukcija

3 Prietaiso montavimas 7. Ortakio jungtį prijunkite taip, kaip parodyta paveikslėliuose. (13, 14 pav.)

184 / 242 LT Garų rinktuvas / naudojimo instrukcija

4 Prietaiso naudojimas 4.1 Naudojimas •• Jeigu virtuvėje prisirenka per daug garų, naudokite didelę siurbiamąją galią. Patartina virš kaitlentės esantį garų rinktuvą įjungti 5 minutės prieš pradedant ruošti maistą, ir palikti veikti dar 15 minučių po to, kai maistas baigiamas ruošti.

4.2 Valdymas su lygiais

T1. Įjungimo ir išjungimo mygtukas. Jeigu prietaisas IŠJUNGTAS, įjungia prietaisą. Jeigu prietaisas veikia bet kokiu greičiu, IŠJUNGIA jį. T2. Įjungia prietaisą veikti 1, 2 ir 3 greičiu. Įjungia prietaisą veikti 1 greičiu. Šviečia 1-as LED. Įjungia prietaisą veikti 2 greičiu. Šviečia 2-as LED. Įjungia prietaisą veikti 3 greičiu. Šviečia 3-as LED. T3. 5 minutėms prietaisą įjungia veikti 4 greičiu. Jeigu šis mygtukas paspaudžiamas tada, kai prietaisas veikia bet kokiu greičiu (1, 2, 3), tai tą greitį atitinkantis LED pradeda šviesti ištisai, o 4-ą greitį atitinkantis LED – mirksėti. Praėjus 5 minutėms, 4-o greičio LED užgęsta ir prietaisas nustoja veikti didžiausiu greičiu. Jeigu 4-o greičio mygtukas paspaudžiamas anksčiau nei praeina 5 minutės, prietaisas didžiausiu greičiu veikti nustoja tuojau pat.

4.3 Riebalų filtro įspėjamasis signalas Mirksintis 1-as LED įspėja vartotoją, kad reikia išvalyti metalinį filtrą. Kai atsiranda šis įspėjamasis signalas, reiškia, kad atėjo laikas valyti riebalų filtrą. Norėdami išjungti įspėjamąjį signalą, prietaisui veikiant, nuspauskite ir 3 sekundes palaikykite ĮJUNGIMO ir IŠJUNGIMO mygtuką. 1-as LED nustos mirksėti.

4.4 Anglinio filtro įspėjamasis signalas Prietaisas pateikiamas su išjungtu anglinio filtro įspėjamuoju signalu. Norėdami, kad prietaisas įspėtų kada reikia valyti anglinį filtrą, esant IŠJUNGTAM prietaisui, nuspauskite ir 3 sekundes palaikykite 1-ą ir 2-ą mygtukus. Rodydami, kad įspėjimas bus rodomas, iš pradžių įsijungs 1-as LED ir po to 1-as ir 2-as LED. Norėdami, kad įspėjimas nebūtų rodomas, esant IŠJUNGTAM prietaisui, nuspauskite ir 3 sekundes palaikykite 1-ą ir 2-ą mygtukus. Rodydami, kad įspėjimas nebus rodomas, iš pradžių įsijungs 1-as ir 2-as LED ir po to 1-as LED. Mirksintis 2-as LED įspėja vartotoją, kad reikia išvalyti anglinį filtrą. Norėdami išjungti įspėjamąjį signalą, prietaisui veikiant, nuspauskite ir 3 sekundes palaikykite ĮJUNGIMO ir IŠJUNGIMO mygtuką.

T4. Lemputės įjungimo ir išjungimo mygtukas. Norėdami ĮJUNGTI (IŠJUNGTI) lemputę, trumpai paspauskite šį mygtuką. Norėdami pasirinkti vieną iš 5 lygių, paspauskite ir palaikykite ilgiau kaip 1 sekundę.

Garų rinktuvas / naudojimo instrukcija

4 Prietaiso naudojimas

C Jeigu vienu metu įsijungia metalinio ir anglinio filtro įspėjamieji signalai, kiekvienas iš jų yra išjungiamas atskirai.

4.5 Taupus energijos naudojimas •• Kad išvengtumėte bereikalingų energijos sąnaudų, naudodamiesi garų rinktuvu, pasirinkite kvapų intensyvumą ir garų kiekį atitinkantį greitį. •• Esant normalioms sąlygoms, naudokite mažus greičius (1–2), o kai kvapai suintensyvėją ir garų kiekis padidėja – didelius greičius (3–4). •• Garų rinktuvo lempos yra skirtos maisto ruošimo zonai apšviesti. Jas naudojant aplinkai (virtuvei) apšviesti, bus be reikalo naudojama elektros energija ir gaunamas netinkamas apšvietimas.

186 / 242 LT Garų rinktuvas / naudojimo instrukcija

5 Valymas ir priežiūra 5.1 Valymas •• Prieš atlikdami valymo ir priežiūros darbus, atjunkite prietaisą nuo elektros tinklo arba išjunkite elektros tinklo jungikliu arba saugikliu, per kurį maitinamas garų rinktuvas. •• Reguliariai (bent jau tuo pačiu dažnumu, su kuriuo atliekate riebalų filtrų valymo darbus) nuvalykite garų rinktuvą. •• Garų rinktuvą valykite šiltame vandenyje su neutralia skysta plovimo priemone sudrėkinta švaria šluoste. •• Nenaudokite šveitimo priemonių. NENAUDOKITE ALKOHOLIO!

ĮSPĖJIMAS: Nesilaikant pagrindinių garų rinktuvo valymo nurodymų ir nekeičiant filtrų, gali kilti gaisras.

•• Dėl šiuos priežasties patariame laikytis anksčiau pateiktų nurodymų. •• Gamintojas neatsako už variklio gedimo ir gaisro sukeltus nuostolius, jeigu jie atsiranda dėl netinkamos priežiūros arba dėl anksčiau pateiktų saugos reikalavimų nesilaikymo.

5.2 Stiklinio skydelio valymas •• Stiklinį skydelį ir įsiurbiamuosius paviršius reikia valyti tais pačiais intervalais, kurie taikomi riebalų filtrams. •• Valykite drėgna šluoste ir neutralia skysta valymo priemone. •• Nenaudokite šveitimo priemonių. NEVALYKITE ALKOHOLIU!

•• Bet kokiu atveju kasetę reikia keisti bent kartą per keturis mėnesius (arba tada, kai filtro užsipildymo indikatorius parodo, kad reikia keisti filtrą (jeigu yra prietaise)). (16 pav.) •• Anglinio filtro negalima išplauti ir panaudoti pakartotinai.

Cirkuliacinis anglinis filtras •• Vieną filtrą įstatykite prie variklio ventiliatoriaus apsauginių grotelių ir tada detalę pasukite laikrodžio rodyklės kryptimi. •• Norėdami išimti, detalę pasukite prieš laikrodžio rodyklę.

5.4 Riebalų filtras •• Sulaiko maisto ruošimo metu susidarančias riebalų detales. •• Riebalų filtrą kiekvieną mėnesį (arba, kai parodo filtro užsipildymo indikatorius, jeigu jis yra prietaise) reikia išvalyti rankiniu būdu, tam panaudojant rūgščių neturinčią plovimo priemonę, arba indaplovėje, pasirinkus žemą temperatūrą ir trumpą programą. •• Plaunant indaplovėje, gali truputį pasikeisti riebalų filtro spalva, bet tai neturi įtakos jo filtruojamosioms savybėms.

5.3 Anglinis filtras (tik filtro režimu veikiančiuose modeliuose) •• Po ilgo naudojimo laikotarpio, priklausomai nuo maisto ruošimo būdo ir to, ar reguliariai valomas riebalų filtras, anglinis filtras gali užsipildyti. Garų rinktuvas / naudojimo instrukcija

5 Valymas ir priežiūra •• Norėdami išimti riebalų filtrą, patraukite spyruoklinę atpalaidavimo svirtelę. (17 pav.)

Jeigu prireikia pervežti prietaisą:

C Išsaugokite originalią prietaiso pakuotę. Prietaisą transportuokite jo originalioje pakuotėje ir laikykitės ant originalios pakuotės esančių transportavimo ženklų.

Jeigu neturite originalios pakuotės:

•• Ant garų rinktuvo nedėkite sunkių daiktų. •• Išorinį paviršių saugokite nuo smūgių. •• Gaminį supakuokite taip, kad transportavimo metu jo nepažeistumėte.

5.6 Lempučių keitimas

5.5 Valymas •• Labai svarbu garų rinktuvą nuvalyti tuojau pat po maisto kepimo. •• Išorinį garų rinktuvo paviršių nuvalykite skystoje plovimo priemonėje pamirkyta minkšta šluoste. •• Niekuomet nevalykite šveičiančiomis ar braižančiomis priemonėmis. •• Sunkiai nusivalančius riebalus galite pašalinti prekyboje esančiomis valymo priemonėmis, atsižvelgdami į ant jų pateiktus įspėjimus. Kad nesubraižytumėte sušveisto plieninio korpuso, jį šluostykite šveitimo pėdsakų kryptimi. •• Norėdami išsaugoti gaminio paviršiaus kokybę, nenaudokite valymo priemonių su druskos rūgštimi, balikliais ar šveitimo milteliais. Nerūdijančiojo plieno paviršius valykite muiluotame vandenyje sudrėkinta šluoste ar specialia purškiamąja priemone nerūdijančiajam plienui valyti. Nuo prietaiso nuimkite apsauginę plėvelę.

ĮSPĖJIMAS: Prieš liesdami lemputes, įsitikinkite, kad jos atvėso. Norėdami pakeisti lemputes, kreipkitės į įgaliotąjį priežiūros atstovą.

Atsargiai: Jeigu nesilaikysite nurodymų dėl garų rinktuvo filtrų valymo ir keitimo, gali kilti gaisras.

188 / 242 LT Garų rinktuvas / naudojimo instrukcija

Proszę najpierw przeczytać tę instrukcję obsługi! Drodzy Klienci, Dziękujemy za wybór wyrobu marki Beko. Mamy nadzieję, że wyrób ten, wyprodukowany przy użyciu wysokiej jakości najnowszej technologii, okaże się w najwyższym stopniu zadowalający. Dlatego proszę przed jego użyciem uważnie przeczytać całą tę instrukcję obsługi i towarzyszące jej dokumenty i zachować ją do wglądu na przyszłość. Przy przekazaniu tego wyrobu komuś innemu, proszę oddać mu także tę instrukcję. Proszę przestrzegać wszystkich ostrzeżeń i informacji z tej instrukcji obsługi. Proszę pamiętać, że instrukcja ta odnosi się także do kilku innych modeli. Różnice pomiędzy nimi są wyraźnie opisane w tej instrukcji. Znaczenie symboli W niniejszej instrukcji stosuje się następujące symbole: