BHG770SS - Cucina BAUMATIC - Manuale utente e istruzioni gratuiti
Trova gratuitamente il manuale del dispositivo BHG770SS BAUMATIC in formato PDF.
Scarica le istruzioni per il tuo Cucina in formato PDF gratuitamente! Trova il tuo manuale BHG770SS - BAUMATIC e riprendi in mano il tuo dispositivo elettronico. In questa pagina sono pubblicati tutti i documenti necessari per l'utilizzo del tuo dispositivo. BHG770SS del marchio BAUMATIC.
MANUALE UTENTE BHG770SS BAUMATIC
Installazione - Uso - Manutenzione [3-14]
COOKING HOB ELECTROGAS FILOTOP TOUCH
Installation - Use - Maintenance [15-26]
TABLES DE CUISSON ÉLECTROGAZ FILOTOP TOUCH
sentitamente La ringraziamo e ci congratuliamo per la scelta da Lei fatta. Questo nuovo prodotto, accuramente progettato e costruito con materiali di primissima qualità, è stato accuramente collaudato per poter soddisfare tutte le Sue esigenze di una perfetta cottura. La preghiamo pertanto di leggere e rispettore le facili istruzioni che Le permetteranno di raggiungere excellenti risultati sin alla prima utilizzazione. Con questo moderno apparecchio Le formuliamo i nostri più vivi auguri.
IL COSTRUTTORE
Indices
Istruzioni per l'utente
Installazione, 4
Uso, 4
Manutenzione, 7
Istruzioni per l'installatore
Installazione, 8
Collegamento gas, 11
Collegamento elettrico, 11
Caratteristicheutilizzatori,14
QUESTO PRODOTTO E STATO CONCEPITO PER UN IMPIEGO DI TIPO DOMESTICO. IL COSTRUTTORE DECLINA OGNI RESPONSABILITA NEL CASO DI EVENTUALI DANNI A COSE O PERSONE DERIVANTI DA UNA NON CORRETTA INSTALLAZIONE O DA USO IMPROPRIIO, ERRONEO OD ASSURDO. L'APPARECCHIO NON DEVE ESSERE USATO DA PERSONE (COMPRESI BABBINI) CON RIDOTTE CAPACITA FISICHE,

SENSORIALI O MENTALI, O DA PERSONE
CHE MANCANO DELL'ESPERIANZA E DELLE
CONOSCENZE NECESSARIE SE NON SOTTO
LA SUPERVISIONE O DIETRO ISTRUZIONI
SULL'USO DELL'APPARECCHIO DA PARTE
DI UNA PERSONA RESPONSABILE PER
LA LORO SICUREZZA. I BABBINI DEVONO
ESSERE CONTROLLATI PER ASSICURARSIX
CHE NON GIOCHINO CON L'APPARECCHIO.
Istruzioni per l'utente

Installazione
Tutte le operazioni relative all'installazione (allacciamento elettrico, allacciamento gas, adattamento al tipo di gas, seguenti regolazioni, ecc.) devono essere eseguite da personale qualificato secondo le norme vigenti. Per le istruzioni specifiche vedi la parte riservata all'installatore.
Uso
Modalità standby (Fig. 1-2-3)
Dopo ave alimentato il disposativo, verrà eseguita una breve autodiagnosi e una calibrazione della tastiera a s Fioramento (tutti i display e led rimangono accesi per alcuni secondi). Al termine il display sare completingmente spento. In questa modalità sare possibile accendere il disposativo soltanto con la pressione del tasting ON/OFF.
Accensione del Piano Cottura
Per accendere il disposativo è necessario premere in modo continuo il tasto ON/OFF per almeno 2 secondi. Il disposativo si accenderà e i display relativi ai bruciatori visualizzeranno il livello zero che corrisponde allo stato di bruciatori spenti.
Accensione di un bruciatore
Per accendere un bruciatore premere i relativi tasti + e - sul pannello comandi. La pressione dei tasti deve avvenire in modo simultaneo e continu per almeno 1 secondo. All'accensione del bruciatore il livello di portata del bruciatore verrà impostato alla portata media e il relativo display indichera il livello 3.
Ogni bruciatore per il quale non è programmato il relativo temporizzatore, si spegne automaticamente dopo 4 ore di funzionamento continuo.
L'accensione del bruciatore è segnalataanche dal relativodel vicino al display timer che rimarraattivo per tutto il periodoin cui il bruciatore restera accesso.
Regolazione del livello fiamma di un bruciatore
A bruciatore acceso, per aumento il livello di portata è necessario premere il tasto +, viceversa per diminuire il livello di portata, è necessario premere il tasto -. Per ottener una variazione continua del livello di portata, è sufficiente mantenere premuto il tasto + o - e rilasciarlo al livello desiderato. Il livello di portata può variar da 1 a 5.
Spegnimento di un bruciatore
Per ottenere lo spegnimento di un bruciatore è necessario premere contemporaneamente i rispettivi tasti + e - per un breve istante.
Spegnimento di tutti i brucitori
Per ottener lo spegnimento simultaneo di tutti i brucatori è sufficiente premere brevamente il tasto ON/OFF, in quello modo il dispositorio si portera in condizione di standby.
Programmazione del tempo di spegnimento di un bruciatore
Con il dispositorio è possibile impostare in modo indipendente per ciascuno dei bruciatori, un tempo或者其他 il quale il bruciatore si spegne automaticamente.
Per impostare la programmazione del timer di un bruciatore occorre premere il tasto PT. Nella parte del pannello comandi, dove è rappresentata la posizione di anni bruciatore con un led, l'indicatore del bruciatore A (Led-A) si accenderà, per segnalare che il bruciatore A e' attualmente selezionato per la programmazione. Con i tasti P+ e P- è possibile eseguire la selezione del bruciatore da temporizzare. Il bruciatore selezionato è individuato dall'accensione del relative indicatorie in modo lampeggiante. Il display timer riportera l'indicazione 0.00 per segnalare che il timer relativo al bruciatore selezionato non è' attivo. Per impostare la programmazione del tempo di spegnimento del bruciatore selezionato, preme re nuovamente il tasto PT; il display del timer indichera 0.00. La cifra lampeggiante a sinistra del punto indica le ore, quella a destra i minuti. Premendo i tasti P+ o P- è possible incrementare o decrementare il numero di ore di funzionamento da 0 a 9. Mantenendo premuti i tasti P+ o P- la variazione del numero di ore avviene in modo continuo.
Per specificare il numero dei minuti, premere nuovamente il tasto PT. Si attiva il lampeggio delle cigre a destra del punto separatore. Per impostare i minuti agire come indicato per le ore.
Durante la programmazione del tempo e'possible in agli momento, azzerare l'impostazione corrente premendo insieme i tasti P+ e P-. Un tempo uguale a zero disattiva il temporizzatore del bruciatore. Per confermare il tempo visualizzato sul display occorre premere il tasting PT. A quello punto rimangono accesi in modo lampeggiante solo i segnalatori dei bruciatori che hanno il temporizzatore attivo.
Premendo il tasto PT e' possibile rientrare nella modalità di programmazione dei timer per visualizzare il tempo rimanente allo spegnimento o per modificare le impostazioni correnti. Se durante la programmazione non viene premuto nessun tasto per un periodo superiore a 10 secondi, la procedura di impostazione viene interrotta in modo automatico e ritornera la
visualizzazione principale. Eventuali impostazioni in corso di modifica sul bruciatore selezionato non sono perse e il relativo timer risulterà attivo.
Il timer più essere programmato saa a bruciatore spento che a bruciatore acceso, ed il conteggio partirà immediamente après la conferma del tempo impostato. Allo scadere del conteggio il bruciatore temporizzato verrà spento e contemporaneamente verrà emessa una sequenza di impulsi sonori per una durata di 30 secondi. Questa sequenza più essere interrotta selezionando il tasto PT.
Lo spegnimento di un bruciatore da parte dell'utente determina la disattivazione del relative timer.
Regolazione dell'orologio
In seguito ad interruzioni di alimentazione sare necessario impostare l'ora visualizzata dall'orologio interno al dispositorio.
Per regolare l'orologio è necessario premere contemporaneamente i tasti PT, P- e P+ per almeno 3 secondi.
La cifra lampeggiante a sinistra del punto indica le ore, quale a destra i minuti. Premendo i tasti P+ o P- e' possible incrementare o decrementare le ore, e mantenendo premuti i tasti P+ o P- la variazione del numero di ore avviene in modo continuo.
Per regolare i minuti premere nuovamente il tasto PT. Si attivera il lampeggio delle cifre a destra del punto separatore e poi per variate i minuti agire come indicate per le ore.
Premendo il tastingo PT verrà poi memorizzato l'orario impostato.
Sblocco bruciatore
I bruciatori in stato di blocco hanno il relative display che visualizzazione il carattere "b". Lo sblocco si attiva premendosi insieme i tasti - del bruciatore A e il tasto KL in modo continuo per almeno 2 sec. Al termine dello sblocco i bruciatori verranno ripristinati al livello 0, pronti per essere accesi nuovamente.
N.B: Se si dovesse ripetere la procedura di sblocco per 5 volte consecutive in un periodo di 15 minuti, il dispositorio visualizzera FT06 e non accettera alcuna richiesta di sblocco per ulteriori 15 minuti.
Blocco della tastiera
Si attiva premendo il solo tasto KL per almeno 2 secondi. Tutti i livelli dei bruciatori rimarranno al livello attuale. Lo stato di tastiera bloccata si manifesta con l'accensione dei punti decimali nei display del livello di portata relativi ad agli bruciatore. Durante il blocco della tastiera non è più possibile variate i livelli dei bruciatori oambiare le impostazioni del timer, ma è possible in agli caso spegnere il piano premendo il tasto ON/OFF.
Non è possibile sbloccare un bruciatore in blocco, perché il blocco della tastiera è attivo. Sara pertanto necessario sbloccare la tastiera prima di eseguire la procedura di sblocco bruciatori.
Sblocco della tastiera
La tastiera si sblocca premendo il tasting KL e il tasting + del bruciatore A per almeno 2 sec. Lo sblocco della tastiera si manifesta con lo spegnimento dei punti nei display del livello fiamma.
Calore Residuo
Quando si spegne un fuoco, sul relativo display compare una "H" per segnalare su quel bruciatore la presenza di una temperatura alla elevata,anche il relativo led vicino al display del timer, rimane acceso.
Il significato "H" e il led si spengono successivement quando la temperatura del relative bruciatore si è ridotta.
Cotture speciali lente (Duty Cycle)
Questa funzione permette di accendere e spegnere un bruciatore qualsiasi del piano cottura secondo la sequenza riportata in tabella.
La funzione si attiva premendo contemporaneamente il tasto + del fuoco su cui si vuole applicare, ed il tasto PT (il bruciatore interessato deve essere spento nel momento in cui si attiva la funzione).
Il bruciatore si accende a livello 3 ed in quel momento si cui lo impostare, agendo sui tasti ^+ e-, il livello a cui aplicare la funzione.
Se ad esempio si imposta il valore a livello 1, il bruciatore rimarra acceso per 50 secondi, poi si spegnera per 10 secondi e poi ripeterà quello ciclo fintanto che l'utente non spegnerà il brucitore.
Se l'utente non interviene, après 60 Minutes si spegne automaticamente. Quando è attiva esta funzione, il display del fuoco su cui è attiva, lampeggia.




N.B.
- si consiglia di usare pentole di diametro adatto ai bruciatori evitando che la fiamma al massimo fuoriesca dal fondo delle stesse (Fig. 4):
- non lasciare pentole vuote sul fuoco acceso.
Al termine della cottura è buona norma provvedere ancche alla chiusura del rubinetto principale del condotto e/o della bombola.

GAS
corona 20-32
rapido 20-24
semirapido 014-20
ausiliario 010-14

Fig. 4
Manutenzione
Prima di agli operazione disinserire elettricamente l'apparecchiatura. Per una maggiore durata dell'apparecchiatura è indispensableesebuire periodicamente un'accurata pulizia generale tenendo presente quando segue:
- le parti in vetro e acciaio devono essere pulite con prodotti idonei (reperibili in commercio) non abrasivi o corrosivi. Evitare prodotti a base di cloro (varechina, ecc.);
- evitare di lasciare sul piano lavoro sostanze acide o alcaline (aceto, sale, succo di limone, ecc.);
- gli spartifiamma ed i coperchietti (parti mobili del bruciatore) vanno frequentemente lavati con acqua boliente e detersivo avendo cura di togliere agli eventuale incrostazione, asciugati accuramente, controlling che nessuno dei fori dello spartifiamma risulta otturatoanche parzialmente.
Controllare periodicamente lo stato di conservazione del tubo di alimentazione gas. In caso di perdite richiedere l'immediato intervento del personale qualificato per la sostituzione.
NON UTILIZZARE PULITORI A VAPORE
Istruzioni per l'installatore

Installazione
Questo appearecchio non è provvisto di un dispositivo di scarico del prodotti della combustione. Si raccomanda che sia installato in locali sufficientemente areati secondo le disposizioni di legge vigenti. La quantità d'aria necessaria alla combustione non deve essere inferiore a 2.0m^3 /h per agli kW di potenza installato. Vedi tabella potenze bruciatori.
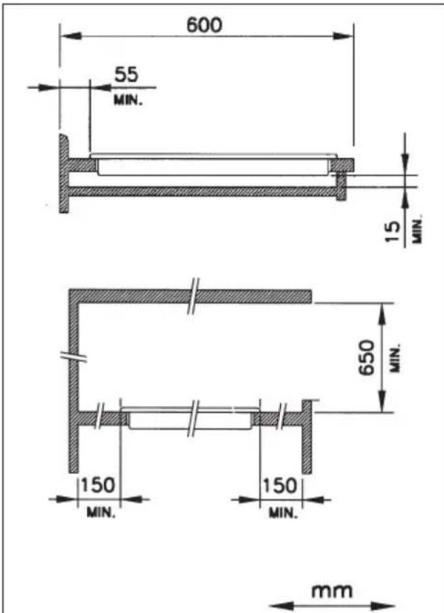
Posizionamento (Fig. 5)
L'apparecchio è previsto per essere incassato in un piano di lavoro come illustrato nell'apposita figura.
Prima di inseire il piano predisporre la guarnizione di tenuta 心 su tutto il perimetro della foratura d'incasso.
Le misure d'incasso sono riportate nelle figure 6-7-8-9.
Per i modelli Filotop è necessario eseguire un abbassamento nella zona perimetrale del foro di incasso per una profondità di 1,5 mm.
Per i modelli Semifilotop tale freesatura non delve essere realizzata.
L'installazione è realizzabile su materiali diversi, quali, acciaio, marmo, conglomerati, sintetici, legno e legno rivestito di laminati plastici, perché resistenti ad una temperature di 90^ .

Fig. 5

Sotto il pannello deve essere installato un pannello di legno o altri materiale isolante, posizionato ad una distanza minima di 15mm dall'involucro del piano.







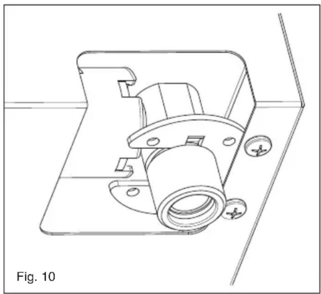
Collegamento gas (Fig. 10)
Il collegamento alla bombola o all'impianto devesse eseguito da personale qualificato e come prescritto delle norme UNI-CIG 7129 e 7131 in vigore e successivi aggiornamenti accertandosi preventivamente che l'apparecchiatura sua predisposa al tipo di gas disponibile. In caso contrario vedi: "Adattamento a diverso tipo di gas". Verificare inoltre che la pressione di alimentazione rientri nei valori riportati nella tabella: "Caratteristiche utilizzatori".

Allacciamento metallico rigido/semirigido
Eseguire l'allacciamento con raccordi e tubi metallici (anche flessibili) in modo da non provocare sollecitazioniagli organi interni all'apparecchio.
N.B. - Ad installatione ultimata controllare, con una soluzione saponosa, la perfetta tenuta di tutto il sistema di collegamento.
Note: importante: eseguire l'allacciamento esclusivamente con raccordi e tubi metallici (tubo flessibile di acciaio a parete continua oppure con tubo rigido di rame o acciaio) ed in modo che possano essere ispezionati su tutte la lunghezza.
Collegamento elettrico (Fig. 11)
L'installatore deve essere qualificato ed è responsabile del corretto collegamento elettrico e dell'osservanza delle norme di sicurezza.
Prima di effettuare l'allacciamento elettrico accertarsi che:
- le caratteristiche dell'impianto siano tali da soddisfare
quantoindicato sullattarga matricola applicata sul fondo del piano;
- l'impianto sua munito di un efficace col terra secondo le norme e le disposizioni di legge in vigore. La messa a terra è obbligatoria a termini di legge.
Nel caso che l'apparecchiatura non sia munita di cavo e/o di relativa spina utilizzare materiale idoneo per l'assorbimento indicato in targa matricola e per la temperatura di lavoro. Il cavo in nessun punto dovra raggiungere una temperatura superiore di 50^ a quella ambiente.
Per il collegamento diretto alla rete è necessario��phonie per il carico di targa che assicuri la sconnaissance della rete con una distance di aperture dei contatti che consenta la disconnectione completa nelle condizioni della categoria di sovratensione III, conformamente alle regole di installatione (il cavo di terra giallo/verde non deve essere interrotto). La presa o l'interruttore omnipolare devono essere facilemente reggiungibili con l'apparecchiatura installata.

collegamento

Adattamento a diverso tipo di gas (Fig. 12)
Se l'apparecchiatura risulta predisposita per un diverso tipo di gas da quello di alimentazione disponibile, si deve procedere:
- alla sostituzione degli iniettori (fig. 12) corrispondenti al tipo di gas da utilizzato (vedi tabella Caratteristica utilizzatori);

Procedura di regolazione della portata minima dei bruciatori
La procedura per l'acquisitione dei minimi permette all'operatorate la modifica della portata minima predefinita, adattando agli bruciatore alle caratteristiche della rete di distribuzione gas alla quale il piano cottura è allacciato. La procedura si attiva premendo i tasti + e - del bruciatore A insieme ai tasti + e - del bruciatore D in modo continuo per 3 sec, con i brucatori tutti spenti per un modello a 4 fuochi, perché per un modello a 5 fuochi si premono i tasti + e - del bruciatore A insieme ai tasti + e - del bruciatore E. L'attivazione della procedura di regolazione è segnalata sul display con la scritta "MIN". A quello punto è possibile selezionare il bruciatore da regolare agenda sui tasti P+ e P-, dopo la confirma con il tasto PT, il bruciatore
selezionato si accenderà al minimo e sare possibile augmentare o diminuire la portata al livello minimo agenda rispettovamente sui tasti + e - del bruciatore. Durante la procedura di regolazione i display di livello fiamma riporteranno l'indicazione - se il minimo impostato ccorrponde con l'impostazione di fabbrica, e l'indicazione cambiera in ^ o v in modo lampeggiante indicando rispettivamente una portata superiore o inferiore rispetto a quella predefinita.
Per confermare la portata minima desiderata, è necessario premere il tasto PT. La scritta "MIN"rimarra presente e nessuno dei led lampeggerà, pertanto a questo punto sare possibile premere il tasto PT per uscire alla procedura, oppure premere i tasti P+ o P- per selezionare un'alto bruciatore e impostarne la portata minima. I livelli di portata minima vengono quindi acquisiti e memorizzati dal dispositorio, e verranno utilizzati nel normale impiego del piano cottura.
Selezione del tipo di gas combustibile
E' possibile configurare il piano di cottura per il funzionamento con diversi gas (vedi tabella 1). Per attivare la procedura di selezione del gas combustibile impiegato è necessario averi il piano in funzione e con tutti i brucatori spenti. E' sufficiente premere assiemie i tasti "-" del bruciatore A, "-" del bruciatore B ed il tasting B- per almeno 2 secondi. L'inizio della procedura di selezione del tipo di gas combustibile si manifesta con lo spegnimento dei display di livello dei bruciatori e con la comparsa sui display del timer della scritta "2020", "3029", "2525" o "2010", a seconda della configurazione attualmente in uso. E' possibile scegliere l'impostazione desiderata utilizzato i tasti P+ e P-. Per terminare la procedura l'operatore deve premere il tasting PT.
L'attivazione di questa funzione comporta la cancellazione di eventuali tempi di spegnimento programmati per i bruciatori.
Autodiagnosi elettronica
Le schede elettroniche eseguono un controlo continuo del proprio stato. Qualora si verificassero eventuali problemi hardware o guasti all'interno della schedina in grado di pregiudicare la sicurezza dell'utente finale, il dispositivo si porta in uno stato "sicuro" nel quale le elettrvalve vengono spente e sui display comparirà una codifica relativa al tipo di quasto.
Avvertenze per il corretto funzionamento del circuito di rilevazione fiamma integrato nell'apparechiatura
Il presente dispositivo può essere utilizzato in reti elettriche a 230V fase a neutro, con neutro connesso a terra.
In reti elettriche di diversa tipologia, il disposativo deve essere adattato.
| Errore visualizzato | Tipo anomalia Possibile | causa Possibile soluzione | |
| B Singolo | bruciatore in blocco | Manca il gas | Ripristinare il gas ed effettuire l'operazione di sblocco dei brucatori |
| Elettrodo di ionizzazione sporco o non investito nella fiamma | Pulire o riposizionare l'electrodo ed effettuire l'operazione di sblocco dei brucatori | ||
| Mancata connessione a terra del dispositivo | Controllare i cablaggi ed effettuire l'operazione di sblocco dei brucatori | ||
| F | Fiamma parassita / anomalia circuito rilevazione fiamma sul singolo bruciatore | Errato cablaggio elettrodi di ionizzazione Controllare i cablaggi | |
| Guasto al circuito Sostituire il dispositivo | |||
| Flt00 | Anomalia circuito controlo valvola principale | Guasto al circuito Sostituire il dispositivo | |
| Flt01 | Anomalia circuito tensione di riferimento | Guasto al circuito Sostituire il dispositivo | |
| Flt02 Anomalia circuito watchdog Guasto al circuito Sostituire il dispositivo | |||
| Flt03 | Anomalia portemicrocontrollore | Guasto al circuito Sostituire il dispositivo | |
| Flt04 Anomalia Eeprom Guasto al circuito Sostituire il dispositivo | |||
| Flt05 | Anomalia circuito pilotaggio valvole | Guasto al circuito Sostituire il dispositivo | |
| Flt06 | Superamento del limite massimo di 5 sblocchi in 15 minuti | E'stata effettuata l'operazione di sblocco dei brucitori più di 5 volte in 15 minuti | Attendere 15 minuti e poi effettuire l'operazione di sblocco dei brucatori |
| Flt08 | Anomalia nel circuito di alimentazione | Guasto al circuito Sostituire il dispositivo | |
| Flt09 | Anomalia generica | E'stataolta tensione al dispositivo quando precedentamente si è verificato un'alto tipo di guasto | Effettuire l'operazione di sblocco dei brucatori |
| Anomalia risonatore Guasto al circuito Sostituire il dispositivo | |||
| Flt0A | Tutti i bruciatori dello stato di blocco | Manca il gas | Ripristinare il gas ed effettuire l'operazione di sblocco dei brucatori |
| Elettrodi di ionizzazione sporchi o non investiti della fiamma | Pulire o riposizionare gli elettrodi ed effettuire l'operazione di sblocco dei brucatori | ||
| Mancata connessione a terra del dispositivo | Controllare i cablaggi ed effettuire l'operazione di sblocco dei brucatori | ||
| Perdita di gas da una valvola che ha procurato l'accensione indesiderata di un secondo bruciatore durante l'accensione del primo. La presenza di fiamma nel secondo bruciatore per più di 10 secondi causa quello tipo di anomalia. | Sostituire la valvola difettosa | ||
| Flt0[ | Errori di Communicatione nella logica di controllo | Guasto al circuito Sostituire il dispositivo | |
| Flt0E | Errore nel controllo della tastiera | Una deformazione meccanica potrebbe avere compromesso l'appoggio della tastiera al vetro | Attendere per alcuni secondi la ricalibrazione della tastiera, se l'errore persistsiste torniere e ridare tensione e se l'errone è ancora presente sostituire il dispositivo |
| CARATTERISTICHE UTILIZZATORI | ||||
| BRUCIATORI GAS | ||||
| ALIMENTAZIONETIPO PRESSIONEMbarNORM. | BRUCIATORE | Ø INIETTORE1/100 | PORTATATERMICA NOMINALE | CONSUMO |
| Gas naturale G20 20 | rapido 129 3000 286semirapido 101 1750 167ausiliario 77 1000 95corona 3 150 4000 381 | //h | ||
| Gas liquido G30/G31 28-30/37 | rapido 87 3000 218semirapido 66 1750 127ausiliario 50 1000 73corona 3 102 4000 291 | //h | ||
| Gas naturale G25 25 | rapido 132 3000 332semirapido 102 1750 194ausiliario 80 1000 111corona 3 160 4000 443 | //h | ||
| G20 10 | rapido 155 3000 286semirapido 117 1750 167ausiliario 92 1000 95corona 3 180 4000 381 | //h | ||
Notice-Facile