Club Ermetica - Padella Cola - Manuale utente e istruzioni gratuiti
Trova gratuitamente il manuale del dispositivo Club Ermetica Cola in formato PDF.
Domande degli utenti su Club Ermetica Cola
0 domanda su questo apparecchio. Rispondi a quelle che conosci o fai la tua.
Fai una nuova domanda su questo apparecchio
Scarica le istruzioni per il tuo Padella in formato PDF gratuitamente! Trova il tuo manuale Club Ermetica - Cola e riprendi in mano il tuo dispositivo elettronico. In questa pagina sono pubblicati tutti i documenti necessari per l'utilizzo del tuo dispositivo. Club Ermetica del marchio Cola.
MANUALE UTENTE Club Ermetica Cola
Certificato di Garanzia
La presente Garanzia convenzionale è valida per gli apparecchi funzionanti a pellet destinati alla commercializzazione, venduti ed installati sul solo territorio italiano.
La Diretiva Europea 1999/44/CE ha per oggett taluri aspetti della vendita e delle garanzie dei beni di consumo e regolamento il rapportto tra Venditore finale e Consumatore. La Direttva in oggett preve de che in caso di difetto di conformità del prodotto, il Consumatore ha diritto a rivalersi nei confronti del Venditore finale per ottenere il ripristino nella spese dei difetti manifestatisi entro il termine di 24 mesi alla data di segna. L'azienda Produttrice, COLA Srl con sede in Viale del Laboro 7/9, Arcole (VR), pur non esendo Venditore finale nei confronti del Consumatore, intende comunique supportare le responsabilita del Venditore finale con una propria Garanzia Convenzionale, formita tramite la propria rete di assistenza tecnica autorizzata alle condizioni riportate di seguito.
Oggettode laGaranzia,.validita e durata
L'oggetto della presente Garanzia convenzionale consiste nel ripristino della conformità del bene除去 spese per il consumatore, alle condizioni qui di seguito specificare. L'azienda produttice garantisce da tutti i difetti di fabbricazione e di funzionamento gli apparecchi venduti, per un periodo di 24 mesi alla data di segna, documentata atraverso regolare documento di acquisto, perché avvenuta entro 3 anni alla data di fabbricazione del prodotto.
L'apprecchio deve essere installato conformamente alle regole dell'arte e alle Norme vigenti, segundo le indicazioni contenate nei manuali in dotazione. L'installazione deve essere eseguita da personale qualificato e molto la responsabilità di chi lo incarica, l'installatore è responsable dell'installazione e del buon funzionamento dell'apprecchio installato. Entro 30 giorni alla messa in servizio, il CLIENTE deve richiedere ad un Centro Assistenza autorizzato il primo controlo e la relativa attivazione della Garanzia. Tale primo controlo dell'apprecchio deve essere essguito prima di completing eventuale finiture murale (contra cappe, rivestimenti, tinteggiature, ecc.); l'azienda Produttrice non assume una responsabilità per eventuali danni e relativiosti di ripristino delle opere di finitura, anchse se le stesse dovessero essere essguite a seguito di sostituzioni di particolani difettosi. Trascorsi nelle 30 giorni alla messa in servizio, la presente Garanzia convenzione non sareo più attivabile.
Modalità per far valere la presente Garanzia
Eventuali difetti esteticu su ceramiche-maioliche o su qualsi a parta a vista in metallo vanno rilevati immediatamente, a pena di decidenza, al momento della segna; le segnalazioni effettuate successivamente a tale momento sono esclude alla garanzia.
In cas di guasti o di malfunzionamenti riscontrati durante il nomale funzionamento, il Cliente deve richiedere, entro il termini di decidenza di 30 giorni dal risconto dell'anomalia, l'intervento del Centro Assistenza di zona autorizzato.
I nominativi dei Centri Assistenza autorizzati sono repenibiliattraverso il sito internet o il numero Telefonico dell'azienda Produttrice .
I costi di intervenzione sono a carico dell'azienda Produttrice, fatte salve le esclusioni previste e riportate nella presente Garanzia
Ginterventi in garanzia non modificano la data di decorrenza della garanzia e non prolongano la durata della stessa.
Esclusioni
Sono esclusi alla presente Garanzia i difetti di conformità causati da:
- trasporto, non effettuato a cura dell'azienda Produttrice;
inosservanza delle istruzioni e delle awertenze previste dall'azienda Produttrice e riportate sui manuali d'uso e manutenzione a corredo del prodotto:
errata installationo inosservanza delle prescrizioni d'installazione, previste dalle Nome vigenti in materia e dall'azienda Produttrice, come nportate sui manuali d'uso e manutenzione a corred del prodotto;
inosservanza di norme e/o dispositions previste da leggi e/o regolamenti vigenti, in particolare assenza o difetto di manutenzione periodica;
- inadequatezza o mancanza delle manutenzioni periodiche ordinarie e straordinarie, previste nel manuale d'uso e manutenzione a corredo del prodotto (manutenzioni di pulizia dell'apparecchio, del raccordo fumi e della canna fumaria);
- anomalita o anomalie di qualsi genere nell'alimentazione degli impianti elettrici, idraulici e/o negli scarichi in canna fumaria;
impiego di combustibili non conformi alle tipologie e alle quantita presenti nel manuale d'uso e manutenzione;
impiego di parti di ricambio non originali COLA;
corrosioni da condensa o aggressivita dell'acqua, causati da inadequati trattamenti dell'acqua di alimentazione o dall'emato utilizzo di trattamenti disincrontanti;
- deterioramento da agenti chimico fisici, gelo, currenti vaganti, fulmini, fenomeni atmosalferici;
trascuratezza, cattivo utilizzo, manomissioni o interventi tecnici effettuali sul prodotto da personale non autorizzato estraneo alla rete dei Centri Assistenza autorizzati;
- cause di forza maggiore indipendenti nella volenza e dal controllo dell'azienda Produttrice. Sono inoltre escludi dall'oggetto della presente Garanzia:
- delle parti soggette a normale usura d'uso: guamizioni, manopole, veto, parti in vemiculite-refrattano, parti estetiche in metallo o ceramicità, braciere, deviatori fiamma fumo, batterie, fusibili, ecc.
variazioni cromatiche, cavillature e lievi diversita dimensionali delle parti in maiolica/ceramica (non costituiscono motivo di contestazione in quanto rappresentano la natura/ità del prodotto stesso);
eventuali interventi di taratura o regolazioni sull'apparecchio in relazione alla qualita del pellet, alla tipologia dell'infallazione e/o ai parametri d'impostazione (oroLOGIO, cronotermostato, modalità di funzionamento, ecc.);
eventuali interventi di regolazione e controlo sull'impianto idraulico (sblocaggio pompa, regolazione press.vaso di espansione, sfiat o aria, ecc.);
- aggiornamenti software sul controllo elettronico non concordati con il Centro di Assistenza autorizzato;
- la termo camera o scaviatore di calore, interno all'apparecchio, nel caso in cui non sia insento nel circuito esterno allo stesso un adeguato dispositivo anticonduensa che garantisca una temperatura di ritorno non inferiore ai 45 - 50^ (solo per modelli idro);
- delle le eventuali attività e/o operazioni per accederre al prodotto (smontaggio mobili o pareti, allestimento ponteggi o altri);
Responsibilità
Le condizioni di Garanzia convenzionale sopraelencate sono le uniche offerte alla COLA Srl; nessuna terza parte è autorizzata a modificare i termini della presente Garanzia o a rilasciare alti temini della stessa, verbali o scritti.
E' esclua qualiasi responsabilità dell'Azienda prodtrice per anni diretti e/o indiretti, a qualiasi titolo dovuti, in dipendenza o connessione col prodotto; è escludo qualiasi risarcimento o indennizzato per il periodo di guasto o di inutilizzo dell'apparecchio.
Diritti di legge
La presente Garanzia si aggiunge e non pregiudica i diritti del Consumatore previsti alla Direttiva 1999/44/CE e dal relativo decreto di attuazione Dlg 6.09.2005 n°206. Qualiasi controversia relativa alla presente garanzia sare devoluta alla competenza escludiva della Tribunale di Verona.
COLAS.r.l.-Viale del Lavoro.7/9-37040 Arcole (VR) Italy -Tel. 045 7635780 - 045 6144043
Cod. Fisc. - P.IVA e Iscr. Reg. Impr. 02990180230 - Capitale Sociale Euro 52.000,00 i.v.
R.E.A. VR-301021-Socio Unico- e-mail: info@anselmocola.com-website: www.colastufe.com
Direzione e coordinamento della Femoli S.p.A.
IT-GB-FR-DE-ES
INFORMAZIONI MARCATURA CE - INFORMATIONS RELATIVES AU MARQUAGE CE INFORMATIONEN ZUR CE-KENNZEICHNUNG- INFORMACION SOBRE MARCADO CE 5
La Ditta COLA garantisce i propri prodotti secondo le norme attualmente in vigore, ad esclusione delle parti soggette a normale usura. Per le condizioni di garanzia rivolgersi all'importatore o al rappresentante autorizzato, il quale può integrare il periodo della garanzia obbligatoria con un periodo supplementare a sua totale ed esclusiva responsabilità. La garanzia del prodotto decade per qualsiasi inconvenientile, rottura o incidente dovuto al mancato rispetto o applicazione delle indicazioni contenute nel presente manuale.
La marcatura CE certifiche i prodotti soddisfano i requisiti fondamentali delle direttive pertinenti in vigore. La Dichiarazione di Prestazione e la Dichiarazione di Conformità CE sono disponibili sul site internet dell'azienda all'indirizzo www.colastufe.com oppure chiedendole al Rivenditore di zona.
GB 34-48
INFORMAZIONI MARCATURA CE
Direzione e coordinamento della Ferroli S.p.A.
ANSELMO COLA
SCHEDA PRODOTTO (EU) 2015/1186
IT-Schedaprodotto
EN - Product fiche
FR-Fiche de produit
N° identificazione doc :
Ident.No.-N*ident.Ident.nummer
No. de ident - N° ident - Nr Ident
Emesso da :
Tipodiapparecchioeuso:
Nome e indirizzo del fabbricante :
Apparecchio per il riscaldamento alimentato a pellet di legno.
Viale del Lavoro, 7/9 - 37040 - Arcole (VR)
Rispettare le avertenze e le indicazioni di installmente e manutenzione periodica riportate nei capitoli del manuale di istruzioni.
Direzione e coordinamento della Ferroli S.p.A.
Richiami figurativi del manuale - References to figures in the manual Illustrations du manuel - Bilderverweis im Handbuch - Figuras de referencia
1-Layout

| Rif. | ITALIANO Legenda | ENGLISH Legend | FRANÇAIS Légende | DEUTSCH Sage | ESPÁÑOL Leyenda |
| A | Allacciamento cavo elettrico | Power cable connection | Connexion du cable électrique | Netzkabelanschluss | Conexión del cable electrico |
| B | Aspirazione aria combustente Ø 50mm | Combustion air inlet Ø 50 mm | Aspiration d'air combustant Ø 50 mm | Verbrennungsluftans augung Ø 50 mm | Aspiración de aire combustente Ø 50 mm |
| C | Allacciamento tubo espulsione fumi Ø 80mm | Flue pipe connection Ø 80 mm | Raccordement tuyau dévacuation des fumées, Ø 80 mm | Anschluss Rauchabzugsrohr Ø 80 mm | Conexión tubo salute de humos Ø 80 mm |
| D | Console emergenza radiocomando | Emergency radio control console | Console d'urgence radiocommando | Die Not-Funksteuerkonsole | Consola de control de radio de emergencia |
| E | Sportello serbatoio pellet | Pellet hopper door | Couvercle de réserve à granulés | Tür des Pelletsbehälters | Tapa del depósito de pellets |
| F | Piedini egolabili | Adjustable feet | Pieds (Vérins) régibles | Stellfuß | Pieds (Vérins) régibles |
2 - Luogo d'installazione, posizionamento - Place of installation, positioning - Lieu d'installation, mise en place - Aufstellungsourt, Aufstellung - Lugar de instalacion, emplazamento
2.1

9
2.2

2.3

2.4

| Rif. | ITALIANO Legenda | ENGLISH Legend | FRANÇAIS Légende | DEUTSCH Sage | ESPÁÑOL Leyenda |
| A | = 200 mm | ||||
| B | = 100 mm | ||||
| C | = 1000 mm | ||||
| D | = 200 mm | ||||
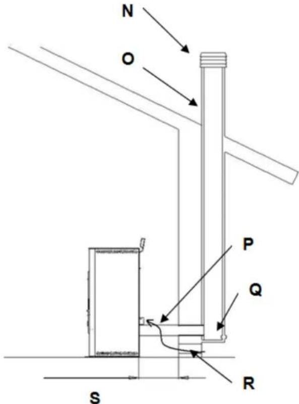
| E-N | Comignolo antivento | Antiwind grille | Souche de cheminée anti-vent | Windschutz- Schornsteinkopf | Sombrerete antiviento |
| F-O | Canna fumaria | Flue | Conduit de fumée | Schornsteinrohr | Chimenea |
| G-P | Raccordo fumi | Flue connection | Conduit de raccordement | Rauchrohr | Tubo de humos |
| H | Sportello ispezione su canna fumaria | Inspection door on flue | Trappe de visite sur le conduit de fumée | Inspektns Luke am Schornsteinrohr | Registro de inspeccion de la chimenea |
| I | Presa d'aria min. 100 cm² | Air inlet min. 100 cm² | Prise d'air min. 100 cm² | Lufteinlass min. 100 cm² | Toma de aire min. 100 cm² |
| R | Tubo aria comburente | Air inlet Tube | Conduit d'air comburant | Lufteinlass | Tubo de aire |
| L | Raccordo a T con tatto d'ispezione | T union with inspection cap | Raccord en T muni de bouchon de visite | T-Stück mit Inspektnsdeckel | Empalme en T con tapón de inspeccion |
| M | Base salva- pavimento | Floor protection base | Plaque de sol | Fußbodenschutz | Panel de protección del suejo |
| Q | Camera Ispezionabile | Inspectionable chamber | Chambre inspectionnable | Inspizierbare Kammer | Cámara inspeccionable |
| S | Distanza min 0.2m | Min. distance 0.2 m | Distnace minimale 0.2 m | Mindestabstand 0.2m | Distancia min. 0,2 m |
3 - Schema elettrico - Wiring diagram - Schéma électrique - Elektrischer anschluss - Conexión electrónica

| Rif. | ITALIANO Legenda | ENGLISH Legend | FRANÇAIS Légende | DEUTSCH Sage | ESPÁÑOL Leyenda |
| A1 | Ventilatore fumi | Fume extraction fan | Ventilateur d'extraction des fuméés | Abgasventilator | Ventilador de humos |
| A2 | Motore Coclea | Auger's motor | Motoeur vis sans fin | Fordschnecke motor | Motor sinfin |
| A6 | Resistenza elettrica | Igniter | Bougie | Zundkerke | Bujia |
| A14 | Ventilatori aria | Air fan | Ventilateur d'aire | Tangentialventilator | Ventialdor aria |
| B3 | Sonda fumi | Fume probe | Sonde fuméés | Abgasfulhler | Sonda de humos |
| B4 | Termostato ambiente (opt.) | Room thermostat (opt.) | Thermostat ambiente (opt.) | Raumthermostat (opt.) | Termostato ambiente (opt.) |
| B12 | Encoder fumi | Fume verifier encoder | Encoder vérificateur fuméés | Encoder abgasprufer | Codificador ventilador humos |
| B13 | Debimetro | Air flow meter | Débimètre | Uftmassenmesser | Debimetro |
| B14 | Pressostato | Pressure switch | Pressostat | Druckschalter | Commutador de presion |
| B15 | Termostato sicurezza pellet | Thermostat safety pellet | Thermostat de sécURITY granules | Sicherheitsthermostat Pelletsraum | Termostato deseguidad pellet |
| B17 | Sonda ambiente | Room probe | Sonde ambiente | Raumfuhler | Sonda de ambiente |
| B18 | Sicurezza microinterrottre sportello pellet | Security microswitch | Micro-interrupteur de securité | Sicherheits mikroschalter | Microinterruptor de seguidad |
4 - Radiocommando e pannello comandi di emergenza - Radio remote control and emergency control panel - Radiocommando et tableau de commandes de emergence - Funksteuerung und das Die Not-Funksteuerkonsole - Radiomando y panel de mandos de emergencia


| Rif. | ITALIANO Legenda | ENGLISH Legend | FRANÇAIS Légende | DEUTSCH Sage | ESPÁÑOL Leyenda |
| A-B | P1 e P2: Tasto di modifica e scorrimento superiore e inferiore | P1 and P2: Scroll and modification buttons | P1-P2: Touches de défilament et modification. | P1-P2: Navigations- und Bearbeitungstasten. | P1-P2: Teclas de desplazamenti y ajustes |
| C | Supporto a parete del telecomando | Wall holder | Support mural de commande à distance | Wandhalterung Fernsteuerung | Pared del soporte de control remoto |
| D | Display LCD | LCD display | Afficheur LCD | LCD-Display | Pantalla LCD |
| E | P4: Tasto per tornare al menù precedente | P4: Button to return to the previous menu | P4: Touche permettant de revenir au menu précédent | P4: : Taste zur Rückkehr zum vorhergehenden Menü | P4: Tasto per tornare al menù precedente |
| F | P5: Tasto di selezione e accesso al menu | P5: Button to access the menu and to set | P5: Touche permitted d'accéder au menu | P5: Taste zum Öffnen des Menüs | P5: Tepla para acceder al menú |
| G | P3: Tasto di accensione e spegnimento e per uscire dal menù | P3: On/Off button and to exit the menu | P3: Touche d'allumage/extinction et pour quitter le menu | P3: in-/ Ausschalttaste und Schließen der Menüs | P3: Tepla de encendido/apagado y salute del menú |
| H | Indicazione di trasmissione dati attiva | Data transfer active | Indication de transmission de données active | Anzeige Datenübertragung aktiv | Indicación de transmisión de datos activa |
| I | Indicazione di allarme attivo | Alarm active | Indication d'alarme active | Anzeige Alarm aktiv | Indicación de alarma activa |
| L | P3: Tasto di accensione e spegnimento | P3: On and off button | P3: Touche d'allumage et d'extinction | P3: Ein-Ausschalttaste | P3: Tepla de encendido y apagado |
| M | P1-P2: Tasto per la selezione della potenza | P1-P2: Power selection buttons | P1-P2: Touches de sélection de puissance | P1-P2: Tasten für die Wahl der Leistung | P1-P2: Teclas para seleccionar la potencia |
5 - Mantenimiento - Maintenance - Entretien - Wartung - Mantenimiento
5.1 - Smontaggio rivestimento - Removing the cladding - Dépose de l'habillage - Demontage der Verkleidung - Desmontaje del revestimiento

| Rif. | ITALIANO Legenda | ENGLISH Legend | FRANÇAIS Légende | DEUTSCH Sage | ESPÁÑOL Leyenda |
| 1 | Sportello serbatoio pellet A-B | Pellet hopper door A-B | Couvercle de réservoir à granulés A-B | Tür des Pelletsbehälters A-B | Tapa del deposito de pellets A-B |
| 2 | Coperchio in maiolica superiore | Ceramic top | Couvercle en céramique | Keramikabdeckung | Tapa superior de cerámica |
| 3 | Fianco sx | Left panel | Panneau de gauche | Linke tafel | Panel de la izquierda |
| 4 | Fianco dx | Right panel | Panneau de croite | Rachte tafel | Panel de la derecha |
| 5 | Pannello posteriore | Rear Panel | Panneau arrière | Rückseite | Panel trasero |
| 6 | Protezione moto-riduttore | Protection motor | Protection motoréducteur | Schutzabdeckung des Getriebemotors | Protección motor-reductor |
5.2 - Componenti interni della stufa - Stove internal parts - Composants internes du poèle - Innere Ofenkomponenten - Componentes internos de la estufa

| Rif. | ITALIANO Legenda | ENGLISH Legend | FRANÇAIS Légende | DEUTSCH Sage | ESPÁÑOL Leyenda |
| 1 | Valvola di sicurezza | Safety valve | Soupape de sûreté | Sicherheitsventil | Válvula de segundad |
| 2 | Scambiatore in ghisa | Cast iron exchanger | Échangeur en fonte | Tauscher aus gusseisen | Intercambiador de hierro fundido |
| 3 | Protezione in vermiculite | Protection in vermiculite | Protection en vermiculite | Schutz in Vermiculit | Protección en vermiculita |
| 4 | Supporti dx-sx | Right-left supports | Supports droit et gauche | Halterungen rechts / links | Soporte lateral derecho - izquierdo |
| 5 | Guarnizione | Gasket | Joint d'étanchéité | Dichtung | Junta |
| 6 | Coperchio ispezione | Inspection cover | Couvercle d'inspection | Revisionsdeckel | Tapa de inspeccion |
| 7 | Camera di combustione | Combustion chamber | Chambre de combustion | Brennkammer | Cámara de combustión |
| 8 | Pannello frontale protezione | Front panel protection | Protection de la face avant | Platte frontal schutz | Panel protección frontal |
| 9 | Braciere | Brazier | Brasier | Brenntopf | Brasero |
5.3 - Componente elettrici - Electrical components - Composants électriques - Elektrische Bauteile - Componentes électricos

| Rif. | ITALIANO Legenda | ENGLISH Legend | FRANÇAIS Légende | DEUTSCH Sage | ESPÁÑOL Leyenda |
| 1 | Scheda elettronica | Electronic board | Carte électronique | Elektronikplatine | Tarjeta electrónica |
| 2 | Vacuostato di controllo e sicurezza | Control and safety vacuum switch | Vacuostat de contrôle et sécurité | Kontroll- und Sicherheits- Unterdruckwächter | Vacuostato de control y seguidad |
| 3 | Termostato sicurezza | Safety thermostat | Thermostat de sécurité | Sicherheitsthermostat | Termostato de seguidad |
| 4 | Interruttore ON/OFF con fusibili | ON/OFF switch with fuses | Interrupteur ON-OFF avec fusibles | EIN/AUS-Schalter mit Schmelzsicherungen | Interruptor ON/OFF con fusibles |
| 5 | Porta di connessione seriale | Serial connection port | Port série | Serienne Schnittstelle | Conexión de puerto serial |
| 6 | Sonda ambiente | Room probe | Sonde de température ambiente | Serienne Schnittstelle | Sonda de temperatura ambiente |
| 7 | Sonda fumi | Fume probe | Sonde de température des fumées | Raumtemperaturfühler | Sonda de temperatura de humos |
| 8 | Debimetro | Air flow meter | Débitmètre | Abgasfühler | Debimetro |
| 9 | Ventilatore tangenziale dx | Right tangential fan | Ventilateur tangentiel droit | Rechter Tangentialventilator | Ventilator derecho |
| 10 | Ventilatore tangenziale sx | Left tangential fan | Ventilateur tangentiel gauche | Linker Tangentialventilator | Ventilator izquierdo |
| 11 | Ventilatore tangenziale posteriore | Rear tangential fan | Ventilateur tangentielpostérieur | Hinterer Tangentialventilator | Ventilator posterior |
| 12 | Pannello di emergenza | Emergency panel | Console d'urgence | Die Not-Funksteuerkonsole | Consola de control de emergencia |
| 13 | Microinterruttore sicurezza | Safety microswitch | Micro-interrupteur de sécurité | Mikro-Sicherheitsschalter tür | Seguridamicrointerruptor |
| 14 | Estrattore fumi | Fume extractor motor | Moteur extracteur de fumées | Saugzugbeämulator | Motor del extractor de humos |
| 15 | Resistenza elettrica | Electrical element | Résistance électrique | Elektr. Widerstand | Resistencia electrica |
| 16 | Motoriduttore | Gearmotor | Motoréducteur | Getriebemotor | Motorreductor |
1 AVVERTENZE GENERALI
1.1 Introduzione
1.2 Come utilizzato il manuale
1.3 Norme di sicurezza
1.4 Descrizione tecnica
1.5 Combustible e uso consentito
1.6 Accessori in dotazione
1.7 Riferimenti normativi
1.8 Targa di identificazione
1.9 Messa fuori servizio della stufa
1.10 Istruzioni per richiesta di intervento e ricambi
2 TRASPORTO ED INSTALLAZIONE
2.1 Imballo, movimentazione, spedizione e trasporto
2.2 Luogo d'installazione, posizionamento e sicurezza antincendio
2.3 Presa aria
2.4 Scarico fumi di combustione
2.4.1Tipologie di installmente
2.5 Controllo posizione bracci e deviatori
2.6 Collegamento elettrico
2.7 Pronto intervento
3 SICUREZZE DELLA STUFA
3.1 Distanza sicurezza da materiali infiammabili
3.2 Sicurezza scarico fumi
3.3 Sicurezza sovrappressione in camera di combustione
3.4 Surriscaldamento - termostatosicurezza temperatura serbatoio pellet
3.5 Sicurezza contro il ritorno di fiamma sul canale alimentazione pellet
3.6 Dispositivo elettrico di protezione della sovracorrente
3.7 Sicurezza da interruzione di alimentazione elettrica
3.8 Guasto ventilatore fumi
3.9 Sicurezza aperture sportello serbatoio pellet
4 USO DELLA STUFA
4.1 Premessa
4.2 Utilizzo tramite radiocommando
4.2.1 Accensione
4.2.2 Fase di lavoro
4.2.3 Spegnimento
4.2.4 Funzioni aggintive del radiocommando
4.2.5 Sostituzione della batteria
4.3 Utilizzo tramite pannello comandi
4.4 Sonda opzionale e termostato esterno
4.5 Periodo di inattività (fine stagione)
5 PULIZIA DELLA STUFA
5.1 Pulizia braciere
5.2 Pulizia contentitorecene
5.3 Pulizia del vetro e delle fissure circolazione aria
5.4 Pulizia estrattore fumi e camera di combustione
5.5 Pulizia debimetro
5.6 Pulizia delle ceramiche (modelli in ceramica)
5.7 Pulizia raccordo fumi - canna fumaria
6 MANUTENZIONE
6.1 Premessa
7 RICERCA GUASTI
7.1 Gestione degli allarmi
8 INSTALLATORE
8.1 Menu installatore
1 AVVERTENZE GENERALI
1.1 Introduzione
Gentile CLIENTE
Desideriamo innanzi tutto ringraziarLa per la fiducia accordataci acquistando un nostro prodotto. La invitiamo a leggere e seguire attendamente i consigli contentuti in quello manuale d'installazione, uso e manutenzione al fine di poter sfruttare al meglio le qualità del prodotto.
1.2 Comeutilizzareil manuale
La ditta produttrice si riserva di apportare in qualsiasi momento, alla preavviso alcuno, eventuali modifiche tecniche od estetiche ai prodotti.
Le operazioni d'installazione, uso e manutenzione della stufa devono soddisfare i requisiti descritti in quello manuale nonché le leggi e le norme Europee, Nazionali, Regionali, Provinciali e Comunali.
I disegni, le misure, gli schemi ed agli altra configurazione, sono qui riportati solo a scopo esemplificativo.
Il presente manuale costituisce parte integrante del prodotto ; verificare che sia sempre a corredo dell'apparecchio e in caso di vendita , trasferimento ad un'alto proprietario o installato in un'alto luogo assicurarsi della sua presenza in modo che possa essere consultato in qualsiasi momento .
In caso di smarrimento o danneggiamento richiedere copia al Centro di Assistenza Tecnico autorizzato in modo che l'apparecchio abbia sempre a corredo il proprio manuale.
| ! | Questo significato indica la presenza di un messaggio importante a cui prestare particolare attenzione in quanto la mancata osservanza di quanto scritto, può provocare seri danni alla stufa e alle persone |
| Una voce che richiede particolare attenzione è evidenziarata in con il "testo in grassetto" |
1.3 Norme di sicurezza.
- Leggere il manuale d'uso e manutenzione prima di installare , acceder e manutentare la stufa .
- Eseguire l'installation , il collegamento elettrico , il collaudo e la manutenzione da un technician qualificato e/o autorizzato .
- Collegare la stufa ad una canna fumaria a Norma tramite un terminale ispezionabile ; Il collegamento di più apparecchi può avvenir solo se viene contemplato delle Norme locali e concessions dall'Organismo di controllo della canna fumaria.
- Collegare la stufa all'aspirazione tramite un tubo o presa d'aria dall'esterno.
- Collegare la stufa ad una presa elettrica a Norma tensione 230V - 50Hz
Verificare che l'impiano elettrico e le prese abbiano la capacité di sostortare l'assorbimento massimo dell'apparecchio. riportata sull'etichetta e sul presente manuale. - Prima di agli manutenzione staccare la spina elettrica alla stufa ed operare solo con stufa fredda.
Non impiegare liquidi o sostanze infiammabili per accendere la stufa o per ravivare la fiamma: a stufa accesa l'accensione del pellet è automatica.
La stufa a pellet deve essere alimentata solo ed esclusivamente con pellet di legna aventi le caratteristiche descripte nel presente manuale. - La stufa non deve essere usato come inceneritore.
Non chiudere in alcun caso le aperture di ingresso dell'aria comburette euscita fumi.
E' Vietato manipolare sostanze facilemente inflammabili o esplove nelle vicinanze della stufa durante il suo funzionamento.
Non rimuovere o modificare la griglia di protezione del serbatoio pellet ed in generale i dispositivi di sicurezza.
E' vietato il funzionamento della stufa con la porta fuoco aperta e/o vetro rovinato o rotto. - Durante il funzionamento il forte calore sviluppato alla combustione del pellet surriscalda le superfici esterne della stufa in particolare porta fuoco, maniglia e tubo scarico fumi .Evitare quindi di entrare in contatto con tali partienza opportune protezioni.
- Tenere ad opportuna distanza di sicurezza oggetti non resistenti al calore e/o infiammabili.
- Pulire regolarmente il bracci e ad agli accensione o ricarica pellet.
- Pulire regolarmente il condotto e deflettori fumi interno della camera di combustione da personale qualificato .
Evitare la formazione di fumo ed incombusti in fase di accensione e/o durante il normale funzionamento, l'ecessivo accumulo di pellet incombusto nel braciere deve essere rimioso manually prima di procedere con una nuova accensione. - Avvertire bambini e ospiti dei pericoli sopra descritti, i quali non devono giocare con l'apparecchio.
L'apparecchio suo essere utilizzato da bambini di età non inferiore a 8 anni e da persone con ridotte capacità fisiche,
sensoriali o mentali, o prive di esperienza o della necessaria conoscenza, parché sotto sorveglianza oppure après che le stesse abbiano ricevuto istruzioni relative all'uso sicuro dell'apparecchio e alla comprenzione dei pericoli adesso inerenti.
La pulizia e la manutenzione ordinaria destinata ad essere effettuata dall'utilizzatore non deve essere eseguita da bambini eospiti nella sorvegianza. - In caso di anomale di funzionamento , la stufa può essere riaccesa solo dopo ave rigristinato la causa del problema .
- Qualiasi manomissione e/o sostituzione non autorizzata di particulari non originali della stufa po causare pericolo per l'incomità dell'utente e solleva il costruttore da agli responsabilità civile e penale.
- Utilizzare solo ricambi originali consigliati dal produttore.

La ditta produttrice non è responsabile di inconvenienti, rotture o incidenti dovuti al mancato rispetto o alla mancata applicazione delle indicazioni soprascritte e continue nel manuale.
1.4 Descrizione tecnica
La stufa funzione esclusivamente a pellet e diffonde nell'ambiente un calore sano e sicuro. I sistemi di controllo automatici di cui è dotata garantisco una resa termica ottimale ed una combustione completa, inoltre sono presenti dei sistemi di sicurezza atti a garantire un funzionamento sicuro sia per i componenti della stufa sia per l'utente.
L'apparecchio installato a norma funziona con qualsiasi condizione climatica esterna e comunque in condizioni critiche (vento forte, gelo, ect.) possono intervenire i sistemi di sicurezza che spengono la stufa.
La stufa mod. CLUB ERMETICA con potenza nominale di 8,2 kW garantisce un volume massimo riscaldabile di 234 m3 considerando il coeffiente del fabbisogno energetico dell'edificio pari a 35 W/m3. Esso può variarre in funzione dell'isolamento, della tipologia e della zona climatica.
Per i dati tecnici fare riferimento alla tabella di pag.5.
ll layout della stufa è presente in fig.1.
Apertura - chiusura porta fuoco e sportello pellet della stufa a pellet mod. CLUB ERMETICA

Per aprirlo sportello del serbatoio sollevare il coperchio A e successivement il coperchio B
Per après la porta fuoco inserire la maniglia in dotazione e ruotare in senso antiorario
1.5 Combustibile e uso consentito
Le stufe a pellet funzionano esclusivamente con pellet (pastiglie) di varie essenze di legno conformi alla normativa DIN plus 51731 o UNI EN ISO 17225-2 o O-Norm M 7135 ovvero aventi le seguenti caratteristiche:
| Potere calorico | min 4.8 kWh/kg (4180 kcal/kg) |
| -Densità | 680-720 kg/m3 |
| Umidità | max 10% del peso |
| Diametro: | 6 +0.5 mm |
| Percentuale ceneri | max 1.5% del peso |
| Lunghezza: | min 6 mm- max 30 mm |
| Composizione: | 100% legno non trattato dell'industria del legno o post consumo alla aggianta di sostenze leganti e privo di cortecchia conforme alle normative vigenti |
| -Imballo | in sacchi realizzati in materiale ecocompatibile o biologicamente decomponibile o in carta |
Il serbatoio di contentimento del pellet si trovava nella parte posteriore della stufa. Lo sportello di apertura è posizionato nella parte superiore e il caricamento avviene manually nella sua stufa spenta sua accesa ponendo attenzione a non farlo fuoriuscire dal serbatoio e di operare in completa sicurezza.
L'utilizzo di pellet con caratteristiche diverse rispetto a quello testato dal technique durante la 1^ accensione implica una nuova taratura dei parametri di carico pellet della stufa, tale intervento è escluso alla garanzia.

- Immagazzinare il pellet in luogo asciutto e privo di umidità.
- Ai fini di un funzionamento regolare ed efficente non è possibile il caricamento manuale del pellet o altri combustibili nel braciere
- Evitare il caricamento nel serbatoio di combustibili non conformi .
- Evitare il caricamento nel serbatoio di corpi estranei quali contentitori , scatole , sacchetti , metalli etc...
- L'utilizzo di pellet scadenti e non conforme, danneggia e compromette il funzionamento dell'apparecchio facendo decadere la validità della garanzia con esclusione della responsabilità da parte del costruttore.
1.6 Accessori in dotazione
La dotazione è comprensiva di:
- Cavo di alimentazione elettrica;
- Manuale d'installazione, uso e manutenzione;
- Chiave di aperture - chiusura porta fuoco;
- Radiocommando;
1.7 Riferimenti normativi
Norma UNI 10683:2012: Requisiti di installatione dei generatori di calorie alimentati a legna -biocombustibili solidi;
Norma UNI EN14785:2006: Requisiti di progettazione, fabbricazione, costruzione, sicurezza e prestazioni, istruzioni e marcature, unitamente ai relativi metodi di prova per le omologazioni apparecchi funzionanti a pellet;
Norma CEI EN 60335-1: Sicurezza degli appearecchi elettrici d'uso domestico e similare - parte1;
Norma CEI EN 60335-2-102: Sicurezza degli apparecchi elettrici d'uso domestico e similare - parte 2;
Norma CEI EN 55014-1: Resistenza elettromagnetica - Requisiti per elettrodomestici, attrezzi elettrici e apparecchi elettrici simili - Parte 1: Emissione di disturbo;
Norma CEI EN 55014-2: Resistenza elettromagnetica - Requisiti per elettrodomestici, attrezzi elettrici e apparecchi elettrici simili - Parte 2: Immunità; Norma famiglia di prodotti;
Norma CEI EN 61000-3-2: Limiti per le emissioni di corrente armonica ( Corrente ingresso ≤ 16 A per fase);
Norma CEI EN 61000-3-3: Limitazione delle fluttuazioni di tensione e del flicker in sistemi di alimentazione in bassa tensione per apparecchiature con corrente nominale ≤ 16A
Norma CEI EN 62233: Metodi di misura per campi elettromagnetic degli appearecchi elettrici di uso domestico e similari con riferimento all'esposizione umana.
Norme DIN plus 51731 - UNI EN ISO 17225-2 - Ö-Norm M 7135: Norme riguardanti le specifiche e la classificazione del pellet.
1.8 Targa di identificazione
La targa di identificazione è posta sulla superficie interna dello sportello serbatoio pellet o sulla parete posteriore della stufa. Su diessa sono riportati tutti i dati caratteristici relativi alla stufa compresi i dati del costruttore, il numero di matricola, la marcatura CE, il lavoratorio di prova e il numero di riferimento della dichiarazione di prestazione.
1.9 Messa fuori servizio della stufa
Nel momento in cui si decide di non utilizzato definitivement la stufa, scollegare l'alimentazione elettrica e scaricare completeness il pellet dal serbatoio. Per provvedere allo smaltimento della stufa, è necessario sigillarla all'interno di un robusto imballo e contattare gli organismi locali preposti per queste operazioni in modo da procedere secondo le norme locali vigenti, oppure riconsegnarla al rivenditore al momento dell'acquisto di una nuova apparecchiatura similare.

Questo symbolo che appeare sul prodotto, sulle pile, sugli accumulatori oppure sulla loro confezione o sulla loro documentazione, indica che il prodotto e le pile o gli accumulatori inclusi al termine del ciclo di vita utile non devono essere raccolti, recuperati o smaltiti assieme ai rifiuti domestici.
Una gestione impropriaria dei rifiuti di apparecchiature elettriche ed elettroniche, di pile o accumulatori cui causare il rilascio di sostanze pericolose containe nei prodotti. Allo scopo di evitare eventuali danni all'ambiente o alla salute, si invita l'utilizzatore a separare questa apparecchiatura, e/o le pile o accumulatori inclusi, da altri tipi di rifiuti e di segnarla al centro comunale di raccolta. è possibile richiedere al distributore il ritiro del rifiuto di apparecchiatura elettrica ed elettronica alle condizioni e secondo le modalità previste dal D.Lgs. 49/2014.
La raccolta separata e il corretto trattamento delle apparecchiature elettriche ed elettroniche, delle pile e degli accumulatori favoriscono la conservazione delle risorse naturali, il rispetto dell'ambiente e assicurano la tutela della salute.
Per ulteriori informazioni sui centri di raccolta dei rifiuti di apparecchiature elettriche ed elettroniche, di pile e accumulatori è necessario rivolgersi alle Autorità pubbliche competenti al rilascio delle autorizzazioni.
1.10 Istruzioni per richiesta di intervento e ricambi
Per richiedere qualsiasi intervento e/o ricambio contattare il proprio rivenditore,importatore di zona o il centro di assistenza autorizzato più vicino, esponendo in modo chiaro i seguenti dati: modello della stufa; numero di serie, data di acquisto, lista dei ricambi e informazioni sulle anomalie o malfunzionamenti riscontrati.

- Gli interventi sui componenti devono essere effettuati da personale autorizzato e/o qualificato.
- Prima di agli'intervento accertarsi che sia disinserito agli collegamento elettrico e che la stufa sa fredda.
- Utilizzato solo ricambi originali.
2 TRASPORTO ED INSTALLAZIONE
2.1 Imballo, movimentazione, spedizione e trasporto
Il sollevamento della stufa completeness di imballo quo essere effettuato mediante carrello elevatore, inserendo le forche, di adeguata lunghezza, nelle apposite sedi del bancale in legno. E' necessario accertarsi che i dispositivi utilizzati per il sollevamento e il trasporto siano in grado di sostarare il peso della stufa significato sulla targhetta di identificazione e sul presente manuale.
Evitare il passaggio del carico su zone nelle quali la caduta del carico può essere un pericol.
Aprire l'imballo, rimuovere la stufa dal bancale e posizionarla nel luogo prescello facendo attenzione che sua conformse a quanto previsto. Si raccomanda di adagiare la stufa sul pavimento con la massima cautela evitando qualsiasi urto e di posizionarla nella zona preposta; inoltre è indispensable verificare la portata del pavimento in funzione del peso della stufa, in caso contrario consultare un technician specializzato.
Lo smaltimento o il riciclaggio dell'imballo è a cura dell'utente finale in conformità alle norme locali vigenti in materia.
2.2 Luogo d'installazione, posizionamento e sicurezza antincendio
L'ambiente di installatione deve essere sufficientemente ventilato per consentire l'evacuationi di eventuali piccole, perdite di fumo di combustione.
L'apparecchio è idoneo al funzionamento in ambiente domestico con temperatura minima non inferiore a 0^ .
Per evitare il rischio di incendio è necessario proteggere dal calore e dalle radiazioni del fuoco le strutture circostanti la stufa. I pavimenti in legno o in qualsi a materiale infiammabile devono essere opportunamente protetti alla base con pannelli in acciaio o in vetro temperato ; la protezione dovrà ricoprirse nelle baseanche una certa area difronte la stufa. Eventuali travature e tavole in legno poste sopra e attraversate nella canna fumaria devono essere opportunamente protette secondo le indicazioni delle specifiche norme vigenti di installmente.
La distanza minima frontale per la protezione di oggetti inflammabili è di 1 m. Le distanze minime di sicurezza da materiali inflammabili devono rispetto la tabella riportata in figura 2.1.
Ogni installatione delve prevedere uno spazio tecnico di manovra di facile accesso per le manutenzioni periodiche. La stufa è fornita di 4 piedini regolabili per facilitare il posizionamento in presenza di pavimenti non perfettamente planari : per regolare l'altezza inclinare leggermente la stufa e ruotare il piedino interessato al livellamento .
La stufa viene fornita con la sonda ambiente fissata tramite un fascetta sulla parete posteriore della stufa ; si consiglia la rimozione della fascetta e un posizionamento della sonda ideale per la migliorare rilevazione della temperature nel contesto dell'ambiente e della lunghezza del cavo .
Per una rilevazione lontana alla stufa si consiglia l'installazione di un termostato/cronotermostatismo ambiente - rif. par.4.8.

- Non è ammessa l'installazione della stufa nelle camere da fatto, nei bagni e in generale nei locali dove è stata installato un'alto appearechio da riscaldamento sulla afflusso di aria independente.
- In presenza di pavimento in legno installare una base salva-pavimento in conformità alle norme vigenti.
- Per agli evenienza è consigliabile disporre di idonei dispositivi antincendio .
- E^ Vietato il posizionamento della stufa in ambienti con atmosfera esplosiva.
2.3 Presa d'aria
L'attacco di aspirazione o presa d'aria della stufa è collocato posteriormente ed è di sezione circolare con diametro pari a 50 mm. Nel locale dove viene installata la stufa deve Affliure una quantità d'aria almeno pari a quello necessaria alla combustione; per questo motivo l'aria di combustione deve garantire un flusso d'aria, pulita e priva di elementi inquinanti, per soddisfare una regolare combustione alla massima potenza senza alcun impedimento o ostruzione della sezione di passaggio. Gli apparentchi stagni devono prelevare tutte l'aria di combustione dall'ambiente esterno e possono essere installati in abitatazioni ben isolate o di elevata efficenza energetica.
Affinché siano soddisfatti requisiti di ermeticità l'ingresso dell'aria di combustione deve essere collegato :
- direttamente all'esterno dell'abitazione con un appropriato tubo di diametro interno minimo di 50 mm e lunghezza massima di 2 m provvisto all'estremità di una idonea griglia di protezione antivento (curva verso il basso + rete antinsetto) e posizionata in modo da evitare la possibile ostruzione ( rif. fig.2.3);
- sul tubo di prelievo aria combinato con il tubo di scarico fumi (rif. fig.2.4).

- Si raccomanda di collegare l'apparecchio alla presa d'aria esterna con tubi e raccordi di lunghezza max di 2 m che garantisco l'ermeticità per rispetto i requisiti d'installazione e il collaudo dell'apparecchio stagno.
- Con l'installation di fig.2.4 si ha un aumento delle temperature di scarico fumi pertanto si consiglia di risettare i parametri della stufa e verificare il funzionamento.
2.4 Scarico fumi di combustione
Lo scarico fumi cui oessere fatto attraverso un allacciamento ad una canna fumaria tradizionale oppure ad un condotto esterno con tubo isolato o a doppia parete.
I collegamenti di scarico fumi devono garantire un tiraggio minimo di 10 Pa in modo tale che in caso di manzanza temporanea di alimentazione elettrica l'evacuatione fumi venga assicurata .
Le prove sulla stufa stagna mod.CLUB ERMETICA sono state condotte con uno sviluppo max di 6 m di tubo raccordo fumi da 80~mm rispondente alle Norme Europee EN1856-2.
L'installazione ammessa nel mercato tedesco secondo il regolamento DEBt deve essere del tipo FC52x come riportato nella targa di identificazione presente sull'apparecchio.

- Si raccomanda all'installatore di verificare l'efficienza e lo stato della canna fumaria, la rispondenza alle disposizioni regole locali, norme nazionali ed europee.
- E' necessario utilizzare tubi e raccordi certificati con adeguate guarnizioni che garantiscono la tenuta.
- In caso di incendio spegnere la stufa, chiamare tempestamente i pompieri ed evitare continui tentativi di spegnimento.
- Pulire almeno una volta all'anno il condotto fumario e il relative raccordo fumi.
2.4.1 Tipologie delle installazioni
Di seguito vengono elencate definizioni e requisiti per realizzare secondo Norma italiana UNI10683 per la corretta installatione di uno scarico fumario (figura 2.2):
CAMINO : condotto verticale avento lo scopo di raccogliere ed espellere ad un opportuna altezza dal suolo i prodotti di combustione provenienti da un solo appearecchio e nei casi consentiti più di uno.
Requisiti tecnici CAMINO
- essere a tenuta dei prodotti di combustione, isolato e coibentato in funzione dell'impiego ;
- ave un andamento prevalente verticale con deviazioni dall'asse < 45^
- essere adequatamente distanziato da materiali inflammabili con intercapedine d'aria o isolante;
- avere sezione interna preferibilmente circolare , costante , libera ed independente ;
- è consigliato che il camino sia dotato di camera ispezionabile per la raccolta di materiali solidi
- ed eventuali condense collocato sotto l'imbocco del canale da fumo .
CANALE o RACCORDO da FUMO : condotto o elemento di collegamento tra apparecchio e camino per l'evacuatione dei prodotti della combustione.
Requisiti tecnici CANALE :
- non deve attraversare locali nel quali è vietata l'installazione di apparecchi da combustione ;
- è vietato l'uso di tubi metallici flessibili o in fibro-cemento;
- è vietato l'impiego di elementi in contro-pendenza;
- nei tratti orizzontali devono avere andamento con pendenza minima del 3% verso l'alto;
- la lunghezza del fatto orizzontale deve essere minima e non maggiore di 3 m;
- il numero diambi direzione, alla raccordo a T non deve essere maggiore di 3;
- cononio di direzione >90^ usare al max 2 curve con lunghezza in proiezione orizzontale non maggiore di 2 m.
- il canale da fumo deve essere a sezione costante e permettere il recupero della fuliggine.
COMIGNOLO : dispositivo posto alla sommità del camino atto a facilitare la dispersione in atmosfera dei prodotti della combustione.
Requisiti tecnici COMIGNOLO :
- avere sezione equivalente a quella del camino ;
- avere sezione utile non minore del doppio di quella interna del camino ;
- delve impedire la penetrazione di pioggia e di corpi estranei ed in agli condizione atmosferica assicurare lo scarico dei prodotti di combustione ;
- delve garantire un adeguata diluzione dei prodotti ed essere posizionato al di fuori della zona di reflusso;
- delve essere privo di mezzi meccanici di aspirazione.

- Lo scarico diretto dei prodotti della combustione deve essere previsto a fatto ed è vietato verso spazi chiusianche a cielo libero.
- Con l'installation standard rappresentata in fig.2.3 la stufa é configurata con il debimetro attivo notamment en l'installation di figura 2.4 il tecnico deve disattivare il debimetro e risettare i parametri della stufa.
- L'installatione deve essere eseguita da personale qualificato eabilitato, il quale si assumerà l'intera responsabilità dell'installazione e del relativo funzionamento dell'apparecchio installato.
2.5 Controllo posizione bracci e deviatori
Prima di accendere la stufa è importante controllare che il braciere sia in posizione corretta ovvero alloggi negli apposti incastri. Inoltre è necessario controllare che i deviatori fumi siano incastrati nella propria sede.
Una posizione errata dei deviatori comporta malfunzionamenti ed un eccessivo annerimento del veto .

Effettuare la prima accensione solo dopo aver controllato la corretta posizione del braciere e del relativo deviatore fumi.
2.6 Collegamento elettrico
Collegare il cavo di alimentazione elettrica su una presa elettrica a parete.
La tensione fornita dall'impiano deve corrispondere a quella indicata sulla targhetta di identificazione della stufa, e nel paragrafo relativo ai dati tecnici di questo manuale.
La spina del cavo di alimentazione dell'apparecchio deve essere collegata solo DOPO la conclusione dell'infallazione e dell'assemblaggio dell'apparecchio e deve rinanere accessibile ancpeo l'infallazione.
Nel periodo di inutilizzo della stufa è consigliabile togliere il cavo di alimentazione alla stessa.
schema elettrico in fig. 3)

- Assicurarsi che l'impianto elettrico sa a norma, provvisto della messa a terra e dell'interruttore differenziale seconde Norme vigenti.
- Il cavo di alimentazione non deve mai toccare il tubo di scarico della stufa.
2.7 Pronto intervento
Per agli evenienza è consigliabile disporre di idonei dispositivi antincendio.
Se si manifesta un incendio procedere come segue :

- Scollegare immediamente la presa di corrente.
- Spagnere tramite l'uso di idonei estintori.
- Richiedere l'immediato intervento dei vigili del fuoco.
- Non spegnere il fuoco con l'uso di getti d'acqua.
3 SICUREZZE DELLA STUFA
3.1 Distanza sicurezza da materiali infiammabili
L'apparecchio va collocato ad una distanza minima perimetrale da materiali inflammabili al fine di evitare pericoli di incendio secondo leindicazioni presenti nella tabella tecnica del manuale e riportate nella targa dello stesso.
Porre attenzione alla tipologia del pavimento: per materiali delicati ed infiammabili si raccomanda l'utilizzo di piastre in acciaio o vetro temperato come base di appoggio (vedere capitolo 2 - Trasporto ed Installazione). In caso di presenza di oggetti ritenuti particolarmente delicati quali mobili, tendaggi, divani aumento considerevolmente la distanza della stufa.
3.2 Sicurezza scarico fumi
Nel normale funzionamento, la camera di combustione è in depressione garantendo la tenuta da eventuali perdite di fumo nell'ambiente. Nel caso in cui non si raggiunge un dato valore di vuoto o lo scarico di uscita dei fumi è ostruito, il vacuostato capta la mancanza di depressione all'interno della camera di combustione oppure il debimetro rileva l'assenza di flusso d'aria comburette chetramite il controlo elettronico interrompe il funzionamento del motore rotazione coclea avvisando l'utente dell'anomalia con un messaggio sul pannello comandi ' AL 8 MANCA DEPRES ' o ' AL 9 TIRAGGIO INSUF '.
3.3 Sicurezza sovrapressione in camera di combustione
Eventuali e/o improvvise sovrappensioni dei fumi di combustione all'internalo della camera e dei condotti di evacuationie dei fumi vengono scariciatattraverso l'apertura delle valvole di sicurezza poste sopra lo scambiatore di calore. Durante il normale funzionamento queste valvole sono chiuse dal proprio peso e alla depressione della camera e garantisco la tenuta contro I'eventuale uscita dei fumi.

Controllare periodicamente la chiusura, lo stato di integrità del dispositorio e il relative funzionamento .
3.4 Surriscaldamento- termostato di sicurezza temperatura serbatoio pellet

Sul convogliatore del pellet è posizionata una sonda di temperatura collegata ad un termostato di sicurezza che in caso di eccessivo riscaldamento > 85^ disattiva automaticamente l'alimentazione del pellet. In tal caso l'estrattore e/o ventilatori continuano a funzionare consentendo il rapido raffreddamento dell'apparecchio. L'anomaliaiene visualizzato sul pannello comandi con il messaggio ' AL 7 SICUREZ TERMICA'. In caso di intervento operare come segue:
Lasciare raffreddare la stufa per almeno 45 minuti.
Ripristinare il termostato premendo il pulsante vicino all'interruttore dietro la stufasvitando precedentamente il coperchietto di protezione (figura a lato).
Riavviare la stufa come da normale avvio.
3.5 Sicurezza contro il ritorno di fiamma sul canale alimentazione pellet
Le soluzioni che impedisco il ritorno di fiamma sono:
depressione in camera di combustione ved. par 3.2.
la forma a sifone del canale di alimentazione pellet.
la sicurezza sulla temperatura del serbatoio ved. par 3.4.
3.6 Dispositivo elettrico di protezione della sovracorrente
L'apparecchio è protetto contro la sovracorrente da fusibile/i da 2A inserti sull'alimentazione dell'interruttore generale della stufa dislocato posteriormente.
3.7 Sicurezza da interruzione di alimentazione elettrica
Per brevi interruzioni di corrente l'apparecchio si riaccende automaticamente.
La mancanza temporanea dell'alimentazione elettrica non limita la sicurezza della stufa e la temperatura del serbatoio non raggiunge valori elevati (< 85^) viste la modesta quantità di pellet in combustione nel braciere.
Tale anomalia puo create una breve fuori uscita di fumi nell'ambiente che non comporta alcun pericolo per la sicurezza.

E' vietato manomettere i dispositivi di sicurezza.
3.8 Guasto ventilatore estrazione fumi
Se per qualsiasi motivo il ventilatore di estrazione fumi si ferma, il controllo elettronico blocca istananeamente la fornitura di pellet visualizzando il messaggio 'AL 4 ASPIRAT-GUASTO'.
3.9 Sicurezza aperture sportello serbatoio pellet
Il micro interrottore di sicurezza interviene nel momento in cui rileva l'apertura dello sportello del serbatoio pellet, durante il normale funzionamento della stufa, il controllo elettronico blocca istananeamente la fornitura di pellet visualizzando il messaggio 'AL 8 MANCA DEPRESS'.
4 USO DELLA STUFA
La stufa a pellet presenta il vantage di unire il calore della fiamma del legno, alla comodità della gestione automatica della temperatura con la possibilità di programmare l'accensione e lo spegnimento.
4.1 Premessa
Per un utilizzo sicuro e affidabile è consigliato osservare le seguenti prescrizioni:
- con la prima messa in funzione si possono riscontrare cattivi odori, pertanto si deve provedere ad una Buona aerazione del locale, soprattutto durante il primo periodo di funzionamento;
- il caricamento del serbatoio deve essere fatto esclusivamente con pellet, durante tale operazione evitare che il sacco venga aicontatto con le superfici calde della stufa;
non inseire nel serbatoio nessun altro tipo di combustibile che non sia pellet di legno conforme a quanto prescritto; - l'apparechio non deve essere utilizzato come incineratore di rifiuti;
- la stufauvefunzionare solo ed esclusivamente con la porta fuoco sempre chiusa;
- le guarnizioni della porta fuoco vanno controllate periodicamente per evitare che vi siano infiltrazioni d'aria;
per garantire un efficente rendimento termico ed una corretta funzionalità è necessario effettuare la pulizia del braciere ad agli carico pellet; - alla prima accensione è importante non surriscaldare la stufa ma portarlo gratamente in temperatura;
- la stufa durante l'accensione, funzionamento e spegnimento, a causa delle dilatazioni termiche a cui è soggetta, più essere generare leggeri scricchiolii.
Il controlo della stufa avviene tramite l'utilizzo di un radiocommando munito di cinque tasti e di un display ad LCD. Il radiocommando consente l'accensione e lo spegnimento della stufa, la regolazione durante il funzionamento e il settaggio dei programmi di gestione.
La stufa presenta a corredo anche un pannello dato a tasti, che puo essere utilizzato in sostituzione del radiocommando in caso di necessità, il quale consente solo alcune funzioni di utilizzo.
In figura 4.1 e 4.2 è riportato il radiocommando e il pannello comandi di emergenza con le principali funzioni dei tasti
4.2 Utilizzo tramite radiocommando
Il radiocommando è un dispositivo che trasmette tramite onde radio, pertanto non è necessario il puntamento verso l'unità ricevente inserita nel pannello di commando. In ambiente aperto, il raggio di azione del telecomando si estende per ultre 10 metri di distanza. In presenza di muri o di alto ostacoli, il raggio si pou ridurre di quale metro.
Prima di poter utilizzare il radiocommando è necessario procedere con la sintonizzazione con la schedealettronica della stufa. Questa operazione può essere necessaria al momento della prima accensione o quando si interrompe il canale di comunicazione dati tra sched a radiocommando. In tali circostanze comparirà sul display la scritta RICERCA CAMPO. Anche nel caso in cui vi siano altri elettrodomestici che creino interferenza con la stufa, può essere richiesta l'operazione di sintonizzazione.
Per effettuare tale operazione, procedere come segue:
- Interrompere l'alimentazione elettrica della stufa.
- Premere i tasti P3 e P5 contemporaneamente: comparirà la scritta RADIO ID 0#.
Con il tasto di scorrimento P1 selezionare NUOVA UNITA e confermare con il tasto P5.
Selectionare il valore ID con i tasti P1 e P2 da 0 a 64 ( default ID = 0 ).
- Collegare l'alimentazione elettrica alla stufa.
- Entro 10 secondi alla momento in cui si da alimentazione elettrica, i led dell'emergenza lampeggiano per confermare l'insertimento dell'ID con la pressione del tasto P5. In rapida successione comparirà la scritta UNITA' CARICATA e poi la visualizzazione dello stato della stufa quando i led dell'emergenza rimangono fissi per un tempo breve a confirmara della acquisizione.
Se compare la scritta CERCA CAMPO, la sintonizzazione non è andata a buon fine e dovrè essere ripetuta la procedura.
La visualizzazione del display sul telecomando cambia in relazione allo stato della stufa, o al menu visualizzato.
Allo stato di riposo, il display visualizza le seguenti voci:

Durante il funzionamento normale, la trasmissione dati avviene ad intervalli regolari di tempo. Per accendere il radiocommando premere il tasto P3 con la visualizzazione dello stato dell'inserto con alcuni secondi di ritardo.
Premere il tasto P4 per accedere al menu, P5 per attivare la funzione, P1 e P2 per la scelta del parametro.
Di seguito vengono elencate le funzioni disponibili:
- RETRO ILLUMINAIZIONE (durata regolabile da 2 a 10 sec)
- POWER ON (Tempo ON del radicomando)
- LUMINOSITA' (ON-OFF)
- CONTRASTO (Regolazione contrasto)
- CICALINO (Suono alla pressione dei tasti del radiocommando)
4.2.1 Accensione
Prima di procedere con l'accensione della stufa è necessario verificare i seguenti punti:
- assicurarsi di aver letto e compreso quando riportato nel manuale;
il serbatoio delve essere carico di pellet; - la camera di combustione deve essere pulita;
- il bracciere delve essere complemente libero, pulito da eventuali residui di combustione e posizionato correttamente nella sede del portabracciere;
- verificare la chiusura ermetica della porta fuoco e del cassetto cenere;
verificare che la stufa sua inserto all'interno del proprio vano e che sua correttamente alimentato elettricamente.

- Alla prima accensione togliere dal focolare della stufa e dal vetro tutti i componenti che potrebbero bruciare (istruzioni/etichetta).
- Eventuali accensioni eseguite a seguito di lunghe inattività dell'apparecchio richiedono il ripristino di eventuali resti di pellet giacenti da tempo all'interno del serbatoio in quanto combustibile umido non più idoneo alla combustione e una pulizia completa della camera di combustione.
- E^ vietatoutilizzareliquidi inflammabili per l'accensione.
- In caso di continuare mancate accensioni contattare il Centro di Assistenza.
Per accendere la stufa premere il tasto P3 del radiocommando. Sul display a LCD comparirà la scritta START. Questa fase è automatica ed è completamente gestita dal controlo elettronico,enza alcuna possibilità di intervenire sui parametri. La stufa esegue in sequenza le fasi di avvio seconde le modalità definite dai parametri. Se la temperatura fumi non ha raggiunto il valore minimo ammesso,la stufa si pone in stato di allarme.
Se la temperatura è raggiunta, trascorso un certo tempo, la stufa si pone in condizione di lavoro.
4.2.2 Fase di lavoro
Conclusa in modo positivo la fase di avvio, la stufa passa alla modalità LAVORO, che rappresenta il normale funzionamento. Tramite il radiocommando è possibile regolare la potenza di riscaldamento.
Premendo P1 e P2, si può impostare la potenza dal valore minimo di 1 ad un valore massimo di 5.
Tramite il radiocommando si più又能 regolare la temperatura ambiente. Premendo i tasti P1 e P2 si più impostare il SET della temperatura ambiente, da un valore minimo di 7^ ad un valore massimo di 40^
La stufa regola automaticamente la ventilazione dell'aria calda in funzione della fase di lavoro in cui si trovava.

- Si raccomanda di controllare il livello del pellet nel serbatoio per evitare che la fiamma si spenga per mancanza di pellet.
- Durante il caricamento del pellet assicurarsi che l'apparecchio sia spento.
- Il coperchio del serbatoio deve rimanere sempre chiuso,va aperto solamente durante il caricamento del pellet.
- I sacchi di pellet devono essere riposti lontano alla stufa almeno 1,5 m.
Se la modalità STAND-BY non è arrivata e viene raggiunta la temperature di SET impostata, oppure se la temperature fumi ha raggiunto il valore massimo impostato, compare sul display LCD il messaggio MODULA o MODULA F e la stufa attiva la procedura di modulazione della fiamma senza alcun intervento dell'utente.
Se inceve viene attivata la modalità STAND-BY, quando viene raggiunto il SET di temperatura la stufa attiva la modalità di modulazione per alcuni minuti. Se la temperatura rimane stabilmente或者其他 il set, la stufa si spegne. Il riavvio avviene dopo che la temperature ambiente scende al di sotto della temperatura impostata di quale grado (default 2^ ). Se la temperatura fumi dovesse augmentare ancora,或者其他 un limite impostato, appeare l'allarme HOT FUMI e la stufa attiva la procedura di spegnimento. Durante la normale operatività, a intervalli prestabiliti viene attenuata la modalità PULIZIA BRACIERE per una durata prefissata di alcuni secondi.
4.2.3 Spegnimento
Per spegnere la stufa è sufficiente premere il pulsante P3 per circa 3 secondi. La coclea è immediatamente arrestata e l'estrattore fumi viene portato a velocità elevata facendo apparire sul display la scritta PULIZIA FINALE. I motori di aspirazione fumi e di ventilazione dell'aria resteranno accesi fino a che la temperatura della stufa sare scesa sufficientemente. Al termine dell'operazione comparirà sul display la scritta SPENO.
Durante la fase di spegnimento non è possibile riavviare la stufa fino a quando la temperatura fumi non è scesa al di除去 di un valore prefissato per un tempo prestabilitito. Qual'ora si prema il tasto di accensione verrà visualizzata la scritta ATTESA RAFFRED.
4.2.4 Funzioni aggintive del radiocommando
Sul display del radiocommando sono visualizzate tutte le informazioni sul funzionamento della stufa. Le funzioni fondamentali sono:
| STATO | DESCRIZIONE |
| SPENTO | Stufa spento |
| START | E' in corso la fase iniziale di accensione di start |
| CARICA PELLET | E' in corso il carico del pellet durante la fase di accensione |
| ATTESA FIAMMA | E' la fase precedente alla comparsa della fiamma. |
| FIAMMA PRESENTE | E' comparsata fiamma e l'stufa è in fase di riscaldamento |
| LAVORO | Fase normale di lavoro |
| MODULA - MODULA F | Potenza ridotta perché temp. raggiunta o temp. fumi elevata |
| PULIZIA BRACIERE | Pulizia automatica ad intervalli regolari |
| PULIZIA FINALE | Pulizia finale della stufa, prima dello spegnimento |
| STAND-BY | Stufa spento perché temperatura raggiunta e in attesa di richiesta |
| ATTESA RAFF- | L'stufa non può riaccesso perché in attesa di raffreddamento |
Il radiocommando è dotato della funizione di blocca tasti. Questa è disponibile solo seabilitata dal tecnico specializzato in fase di prima installatione.Premendo il tasting P5 si accede alla lista dei sottomenu. Essi permettono di variarle le impostazioni del controlo elettronico. I vari sottomenu si possono scorrere premendo i tasti P1 e P2, e vi si cui accedere premendo il tasting P5 ed uscire premendo il tasting P3.
MENU'01 - Regola ventole
Le velocità delle ventole dell'aria è automatica e segue la potenza impostata. Se si desidera limitare il flusso d'aria calda è possibile impostare manually la velocità massima scegliendo un valore da 1 a 5. Impostando ad esempio il valore 3, i ventilatori aumento automaticamente la velocità, ma senza superare la velocità d'impostazione pari a 3.
MENU'02-Set orologio
Prima di operare con la stufa è necessario impostare l'ora e la data corrente affinché si abbia un riferimento per le eventuali programmazioni del crono.
Il controlo elettronico è provvisto di batteria al litio mod. CR2032 da 3 Volt che permette all'orologio interno un autonomia propria; qualora a stufa non alimentato l'orologio non mantiene l'orario o alla riaccensione viene visualizzato una series di zeri è necessario procedere alla sostuzione chiamando un centro di assistenza autorizzato. Per regolare l'orologio, accedere al menu premendo P5 e impostare il giorno con i tasti P1 e P2. Premendo ora P5, si può passare alla regolazione delle ore, minuti, giorno, mese ed anno.
MENU' 03 - Set crono
Permette di abilitare e disabilitare tutte le funzioni del programmaticione oraria. Per abilitare il crono acceder e primo sottomenu ABILITA CRONO ed impostarlo su ON con i tasti P1 e P2. I comandi manuali da pannello di emergenza o da telecomando sono prioritari rispetto alla programmazione. La stufa è dotata di tre diversi tipi di programmazione: giornaliera, settimanale e del week-end. Le programmazioni giornaliere, settimanali e del week end, sono attive solo se viene abilitato il crono generale.
Accedendo al secondo sottomente PROGRAM GIORNO è possibile abilitare o disabilitare la programmazione giornaliera con i tasti P1 e P2. Premendo poi il tasto P5 e poi i tasti P1 e P2 è possibile impostare fino a due fasi di funzionamento delimitate dagli orari impostati. Accedendo al secondo sottomente PROGRAM SETTIM è possibile abilitare, disabilitare ed impostare le funzioni della programmazione settimanale. Seguire le medesime modalità del paragrafo precedente. E' possible impostare fino a quattro fasi di funzionamento delimitate dagli orari e dai giorni impostati.

Effettuare la programmazione conattenzione evitando di far sovrapporre le ore di attivazione e/o disattivazione nella stesso giorno in differenti programmi.
Accedendo al terme sottomenù PROGRAM WEEK-END è possibile abilitare, disabilitare ed impostare le funzioni della programmazione settimanale nel fine settimana.Seguire le medesime modalità del paragrafo precedente. E' possible impostare fino a due fasi di funzionamento delimitate dagli orari.

Al fine di evitare operazioni di avvio e spegnimento non voluti, attivare un solo programma perolta.
MENU'04-Scegli lingua
Con esta selezione è possible selezionare la lingua desiderata tra quella disponibili.
MENU'05-Modo stand-by
Con la selezione ON nella modalità STAND-BY la stufa si spegne automaticamente dopo che la temperatura T ha raggiunto il valore (Tsettaggio+ΔT) per un tempo prefissato.
La successiva riaccensione in automatico sare possibile solamente quando la temperatura ambiente scende al di除去 di quella di settaggio impostata di quale grado e precisamente (Tsettaggio - T ) dove T di default = 2^ .
Con la selezione OFF, non è attiva la modalità STAND-BY, ma la funzione di modulazione. Pertanto quando la temperatura supera il valore di SET la stufa funzionera in potenza minima.
MENU' 06 - Modo cicalino
Con esta selezione è possible attivare o disattivare le segnalazioni acustiche dell'stufa per gli allarmi.
MENU' 07-Carico iniziale
Consente di effettuare un precarico di pellet per un tempo definito. Questa funzione può essere attivata solo ad stufa spento ed è utilizzata se la coclea di caricamento si è svuotata per esaurimento del pellet. Si avvia con il tasting P1 e si interrompe con il tasting P3.
MENU'08 - Stato stufa/stufa
Tale selezione è riservata al solo technician autorizzato del centro di assistenza COLA.
MENU' 09 - Tarature tecnico : Tale selezione è riservata al solo tecnico autorizzato del centro di assistenza COLA

La modifica dei parametri tecnici sul menu 09 delve essere effettuata da personale autorizzato e competente; eventuali modifiche fatte in modo casuale possono provocare gravi danni che escludono da qualsiassi responsabilità la ditta COLA.
MENU' 10 - Tarature installatore : Tale selezione è riservata all'institutore abilitato e/o al technique autorizzato del centro di assistenza COLA.
MENU' 11 - Funzione MAGIC CLEANING : la pressione di quello pulsante con macchina in stato di lavoro forzerà la PULIZIA BRACIERE. In stato OFF l'attivazione di quella funzione porterà la macchina in PULIZIA FINALE. Dallo stato di PULIZIA FINALE se premuto nuovamente il pulsante scarichera il timer di PULIZIA FINALE lasciando quando intatti i controlli di sicurezza sulla temperature dei fumi.
MENU' 12 - ATTIVA FUNZIONI : OFF la stufa rimane sul SET impostato.
Funzione TURBO : come la funzione QUICK con la differenza che la stufa non modula in potenza P1 a set ambiente o set acqua soddisatto ma modula solo nella condizione di sicurezza fumi.
Funzione QUICK: la pressione di quello pulsante forza la potenza della macchina a P5, memorizzato la potenza impostata precedente. Anche la ventilazione, se presente, viene forzata in AUTOMATICO (quindi massima ventilazione); salvando il valore precedente di ventilazione. Se premuto con funzione comfort attiva, ripristina potenza e ventilazione al valore memorizzato precedente.
A set ambiento o a set acqua soddisfatto la stufa modula in potenza P1 assieme alla ventilazione.
Funzione COMFORT : la pressione di quello pulsante forza a P1 la potenza e la ventilazione. La disattivazione di questa funzione porterà la potenza e la ventilazione al valore precedente all'attivazione.
Questa funzione rispetta ed esegue lo STAND BY.
Il prospetto segunte sintetizza la struttura dei menu con le varie selezioni disponibili per l'utente:


4.2.5 Sostituzione della batteria
Il radiocommando è alimentato da tre batterie poste nel retro del dispositivo e per il suo inserimento ed eventuale sostituzione è necessario procedere nel modo seguente:
- Aprire il coperchioippo nella parte posteriore del radiocommando;
- Sostituire le batteria modello AAA da 1.5 V nella sede rispettomando la polarità;
- Chiudere il telecomando

Coperchio


- Tenere il radiocommando lontano da fonti di calore dirette e dall'acqua.
- La batteria del telecomando deve essere sostituita e smaltita in modo sicuro rispettoando le norme locali.

4.3 Utilizzo tramite pannello comandi
Per accedere al pannello rimuovere il profilo di protezioneosto nella parte inferiore dell'stufa.
Premendo il tasting P3 del pannello comandi per alcuni secondi è possibile accendere e spegnere la stufa. Tramite la pressione dei tasting P1 e P2"Ince si poto impostare la potenza massima, indicata dal led del tasting P2. Poi la potenza intermedia parla potenza 3,indicata dall'accensione del led di entrambi i tasting P1 e P2,ed infine la potenza minima,indicata dal led del tasting P1.
Con il pannello di emergenza non si può impostare il set di temperatura, la potenze di funzionamento intermedié e non si può accedere ai vari menu.
4.4 Sonda opzionale e termostato esterno
L'apparecchio di series controlla la temperatura ambiente tramite una sonda che ha la funzione di regolare la potenza in base alla temperatura impostata.
La sonda è posizionata nel radiocommando, e quindi misura la temperatura dell'ambiente dove è posizionato il radiocommando stesso. A scelta dell'utente può essere utilizzato un termostato esterno, collegato direttamente alla scheda madre, in cui il dispositorio può essere posizionato nel punto più idoneo.
Il termostato esterno delve essere del tipo 'normalmente aperto'.
Rivolgersi ad un tecnico autorizzato e seguire le seguenti indicazioni:
- specnere l'apparecchio agenda sull'interruttore generale e staccare il cavo dell'alimentazione;
- accedere alla schedamadremontandoipannellidi rivestimento;
- con riferimento allo schema elettrico, collegare i due cavi del termostato sui relativi morsetti TERM della scheda;
-
rimontare il tutto, impostare poi SONDA RADIO nel menu 10;
-
Impostare poi come segue:
-
in caso di termostato esterno: Impostare un SET di temperatura pari a 7^ sul radiocommando e regolare il SET del termostato esterno come desiderato;
- in caso di cronotermostat esterno: Impostare un SET di temperatura parti a 7^ sul radiocommando e regolare il SET del cronotermostat esterno come desiderato.
E' obgatorio disabilitare la funzionalità crono interno nel menu 03 ed impostare la funzione STAND-BY su ON. Al raggiungimento della temperatura di SET la stufa non andra in modulazione, ma si spegnerà.
Si consigliauggiutilizzare la funzione di programmazione oraria dell'stufa e la sola funzione di SET del cronotermostato esterno. In quello mode si evita di creare conflitti tra la programmazione dell'stufa e quella del cronotermostato
- Verificare il corretto funzionamento.
In caso di sonda opzionale rivolgersi ad un techniciano autorizzato e seguire les seguents indicazioni:
spegnere l'apparecchio scollegando il cavo dell'alimentazione o agenda sull'interruttore esterno;
accedere alla scheda madre smontando i pannelli di rivestimento;
- con riferimento allo schema elettrico, collegare i due cavi della sonda sui relativi morsetti N.AMB della scheda e posizonzare la testa della sonda nella posizione ritenuta più idonea;
- rimontare il tutto ed impostare poi SONDA LOCALE nel menu 10;
verificare il corretto funzionamento.
4.5 Periodo di inattività (fine stagione)
Se la stufa non viene utilizzata per lunghi periodi, e/o a fine di agli stagione è consigliato operare come segue :
- togliere completeness il pellet dal serbatoio ;
- scollegare l'alimentazione elettrica scollegando il cavo dell'alimentazione o agenda sull'interruttore esterno;
- pulire accuratamente e, se necessario, sostituire eventuali parti danneggiate da parte di personale qualificato ;
- in caso di rimozione della stufa sistematica in un luogo asciutto, sicuro e riparato da agenti atmosferici.
5 PULIZIA DELLA STUFA
E' importante procedere alla pulizia della stufa per garantire un corretto funzionamento ed evitare : annerimento del vetro, cattiva combustione, deposito di genere ed incombusti nel braciere , minore efficienza termica .
La stufa delve funzionare solo ed esclusivamente con porta fuoco sempre chiusa.
Le guarnizioni porta fuoco devono essere controllate periodicamente per evitare infiltrazioni d'aria ; infatti la camera di combustione ed il condotto di scarico pellet lavorano in depressione nelle con lo scarico fumi in leggera pressione .Le operazioni di pulizia ordinarie vengono normalmente effettuate dal cliente seguendo leindicazioni del manuale nelle manutenzioni straordinarie , almeno 1 all'anno , devono essere svolte dal Centro Assistenza Tecnico autorizzato .

- Le operazioni di pulizia di tutte le parti vanno eseguite a stufa completeness fredda ed elettricamente scollegata;
- Smaltire i rifiuti della pulizia secondo le norme locali vigenti;
- E^ vietato mettere in funzione la stufa priva dei rivestimenti esterni;
- Evitare la formazione di fumo ed incombusti in fase di accensione e/o durante il normale funzionamento.
Di seguito vengono riassunti gli interventi di controllo e/o manutenzione utili per il corretto utilizzato e funzionamento della stufa.
| Parti / PeriodeTipologia della pulizia | 1 giornopuliziaordinaria | 2-3 giornipuliziaordinaria | 1 mesepuliziaordinaria | 2 - 3 mesipuliziaordinaria | 1 annopulizia straordinaria :effettuata dal CentroAssistenza Tecnico |
| Braciere | ■ | ||||
| Vanocene-cassetto | ■ | ||||
| Vetro | ■ | ||||
| Scambiatore fumi-deviatore | ■ | ■ | |||
| Collettore - estrattore fumi | ■ | ■ | |||
| Guarnizione porta - vetro | ■ | ||||
| Canna - raccordo fumario | ■ |
5.1 Pulizia braciere
Togliere il bracci, ed asportare i residui di cenere che si sono depositati nella camera di combustione e nel porta bracci. A tale scopo più essere utilizzato un idoneo aspiratore. Questa operazione dovrà essere eseguita. quotidianamente soprattutto in presenza di accumulo di materiale incombusto per assicurare una perfetta condizione di combustione in quanto i fori del bracci permettono il passaggio dell'aria di combustione.

Braciere sporco

Braciere pulito

Porta Braciere pulito

Il bracciere deve appoggiare sul porta bracciere e precisamente su tutte la fascia anulare alla presentare luci di passaggio aria.
5.2 Pulizia contentitorecene
Direttamente molto il bracciere - porta bracciere è collocato il contentatorecene. Per procedere alla sua pulizia è necessario aripre la porta fuoco ed aspirare con un idoneo aspiratore lacene presente al suo interno ed eventuali residui di combustione. Dopo la pulizia, è necessario chiudere lo sportello.
La pulizia del contentatore cenere puo essere eseguita agli 2-3 giorni in funzione dell'utilizzo della stufa.
5.3 Pulizia del vetro e delle fissure circolazione aria
La pulizia del vetro puo essere effettuata con un panno umido utilizzando detergenti specifici non abrasivi. Tra vetro, ferma vetri e porta fuoco sulla parte inferiore e superiore sono state realizzate apposite fissure per la circolazione dell'aria e la pulizia interna del vetro. E' importante mantenere pulite tali fissure da eventuali depositi di cenere e polvere. Eseguire quindi periodicamente una pulizia lungo tutto il contorno内的o del vetro .
5.4 Pulizia estrattore fumi e della camera di combustione
Almeno una volta all'anno si deve procedere alla pulizia della camera di combustione, rimovendo tutti i residui di combustione dai deviatori interni, e dal percorso fumi. Per eseguire tale operazione è necessario rimuovere il coperchio ed il frontalino superiore della stufa. Rimuovere lo scambiatore in ghisa svitando le viti che lo fissano e procedere quando alla pulizia dei deviatori e della camera. Inoltre è importante pulire l'estrattore fumi che si trovava sulla camera al quale si accede torni lo cassetto cenere.
Ogni 3-4 mesi pulire le pareti interne (isolanti-refrattari) della camera di combustione con opportune attrezzature (pennelli) ed eventualmente sostituirle in quanto considerate materiali di usura.
La stufa ogni 1800 ore di funzionamento o 2000 Kg pellet segnala, tramite un messaggio 'SCADENZA SERVICE', la richiesta di manutenzione straordinaria ( non in garanzia ) da parte di personale qualificato , il quale provvede ad una pulizia completa e al ripristino del messaggio .

Eventuali urti o forzature possono danneggiare l'estrattore fumi rendendolo rumoroso durante il funzionamento pertanto si consiglia di far eseguire tale operazione da personale qualificato.
5.5 Pulizia debimetro
All'interno del tubo di aspirazione è installato un debimetro ( misuratore del flusso d'aria comburette ) , il quale periodicamente , agli 3-4 mesi necessità di una pulizia interna con opportune attrezzature ( soffio d'aria compressa o idonei pennelli ).
5.6 Pulizia delle ceramiche (per modelli in ceramicica)
Le ceramiche sono di fabbricazione artigianale e come tali possono presentare delle piccole imperfezioni superficiali sua come micro puntinature sua come disomogeneità cromatiche . Per la pulizia delle ceramiche si consiglia di usare un panno morbido ed asciutto ; l'utilizzo di eventuali detergenti potrebbe evidenziate le eventuali imperfezioni .
5.7 Pulizia raccordo fumi - cannafumaria
Il raccordo fumi delve essere pulito minimo una volta all'anno o quando se ne presenti la necessità in base all'utilizzo che viene fatto della stufa e al tipo di installatione. L'operazione di pulizia prevede l'aspirazione e la rimozione dei residui su tutti i tratti verticali e orizzontali nonché le curve dall'apparecchio alla canna fumaria.
E consigliato pulire annualmenteanche la canna fumaria per avere la garanzia di una corretta e sicura evacuatione dei fumi.

Per qualsiasi manutenzione e pulizia di fine stagione la ditta COLA consiglia di affidarsi ad un centro di assistenza autorizzato che,及其他 ad eseguire le operazioni di pulizia verificcheràanche lo stato di usura dei componenti interni alla stufa.
6 MANUTENZIONE
6.1 Premessa
Gli interveni sui componenti interni della stufa devono essere effettuali da personale qualificato, rivolgendosi al centro assistenza autorizzato più vicino (smontaggio rivestimento, componenti interni della stufa, componenti elettrici - fig. 5.1 - 5.2 - 5.3).

Prima di agli intervento accertarsi che sia disinserita la spina dell'alimentazione elettrica e la stufa si acompletamente fredda.
7 RICERCA GUASTI
7.1 Gestione degli allarmi
La presenza di un allarme si identifica con l'emissione di un segnale acustico (se attivato) e con un messaggio presente sul pannello di controllo.
In caso di allarme si attiva automaticamente la procedura di spegnimento. Annullare la segnalazione premendo il tasto P4 e attendere che la stufa raggiunga lo stato di OFF. Risolverve la causa che lo ha provocato e riavviare la stufa secondo la normale procedura illustrata nel presente manuale.
Sotto sono elencati gli allarmi che possono comparire sul pannello di controllo con cause e rimedi:
| ALLARMI - MESSAGGI | |||
| Segnalazione | Anomalia | Cause possibili | Rimedi |
| AL 1BLACK OUT | Avviene nel caso diinterruzione dialimentazione elettricadurante le fase difunzionamento | E' mancata l'alimentazione dell'impianto elettrico del locale di installmentazione della stufa | - Portare la stufa in OFF premendo il pulsante P4 e ripetere la procedura di accensione- Altre operazioni di ripristinodevono essere condotte da uncentro di assistenza |
| AL 2SONDAFUMI | Avviene nel caso di guasto della sonda di rilevamento della temperatura dei fumi | - La sonda è guasta- La sonda è scollegata alla scheda | Le operazioni di ripristinodevono essere condotto da uncentro di assistenza |
| AL 3HOT FUMI | Avviene nel caso cui la sonda fumi rileviva una temperature dei fumi elevata | - Surriscaldamento della stufadovusto all'utilizzo per un tempoccessivamente prolongato- Il ventilatore tangenziale èdifettoso o non è alimentato-Eccessivo carico pellet | - Attendere i raffreddamente della stufa e ripetere la procedura di accensione- Altre operazioni di ripristinodevono essere condotte da uncentro di assistenza |
| AL 4ASPIRAT-GUASTO | Avviene quando ilventilatore di aspirazione fumi è guasto | - Il ventilatore fumi è bloccato- Il sensore controllo velocità èguasto- Manca l'alimentazione elettrica al ventilatore fumi | Le operazioni di ripristinodevono essere condotte da uncentro di assistenza |
| AL 5MANCATAACCENS | In fase di accensione noninfiamma il pellet | - Il serbatoio del pellet è vuoto.- La resistenza elettrica èdifettosa, sporca o fuori alla corretta posizione.- Taratura carico pellet noncorretta. | - Verificare la presenza di pelletnel serbatoio.- Ripetere la procedura di accensione- Altre operazioni di ripristinodevono essere condotto da uncentro di assistenza |
| AL 6MANCANOPELLET | Durante le fasi difunzionamento, si spegne la fiamma | - Il serbatoio del pellet si èsvuotato- Il motoriduttore di carico pellet èguasto o non alimentato | - Verificare la presenza di pelletnel serbatoio-Ripetere la procedura di accensione- Altre operazioni di ripristinodevono essere condotto da uncentro di assistenza |
| AL 7SICUREZTERMICA | Avviene nel caso diintervento del termostato di sicurezza della temperatura canale coclea. | - Surriscaldamento della stufadovusto all'utilizzo per un tempoccessivamente prolongato- Braciere intasato da uneccessiva quantità di cenereaccumulata | Sbloccare il termostato di sicurezza agenda sul pulsante di ripristino e ripetere la procedura di accensione |
| AL 8MANCADEPRESS | - In fase di lavoro la stufarileva una pressioneinferiore alla soglia di taratura del vacuostato-Infase di lavoro la stufarileva l'aperture dellosportello serbatoio pellet-Il systema viene arrestato. | - La camera di combustione èsporca.- Il condotto fumi è ostruito.- La porta fuoco non è chiusa.- Le valvolte antiscoppio sono aperte-inceppate.- Il vacuostato è difettoso.- Lo sportello del serbatoio pelletnon è chiuso.- Il microinterrottore è difettoso. | - Verificare la pulizia delcondotto fumario e della camera di combustione, la chiusuraermetica della porta e dellavalvola anticoccipio. Poi ripetelerel procedura di accensione.-Verificare la chiusura ermeticalldel sportello del serbatoio pellet.- Altre operazioni di ripristinodevono essere condotte da uncentro di assistenza. |
| AL 9 TIRAGGIO INSUFF | Il flusso d'aria comburente è sceso al di fatto di una soglia predefinita | - La camera di combustione è sporca - Il condotto fumi è ostruito - La porta fuoco non è chiusa - Le valvole anticoccio sono aperte-inceppate - Il debimetro è sporco o difettoso | - Verificare la pulizia del condotto fumario, della camera di combustione e del debimetro; la chiusura ermetica della porta e delle valvole anticoccio. Poi ripetere la procedura di accensione - Altre operazioni di ripristino devono essere condotte da un centro di assistenza |
| AL b ERRORE TRIAC COC | Avviene quando il motoriduttore funziona in continuo | - Parametri insertiti non corretti - La schedà madre difettosa | Le operazioni di ripristino devono essere condotte da un centro di assistenza |
| ATTESA RAFFRED | Avviene riaccendendo la stufa subito dopo averla spenta | Stufa alla procco calda per poter iniziare una fase di accensione | Attenderile il completo raffreddamento della stufa e ripetere la procedura di accensione |
| GUASTO DEBIMET | Avviene quando il debimetro viene scollegato. Il controllo non rileva la quantità d'aria comburente ma non spegne la stufa | Il cavo di collegamento del debimetro è stato disconnesso | La stufa continua il suo normale funzionamento e la sicurezza è garantita dai restanti dispositori. Si consiglia comunique di contattare quello prima un centro di assistenza |
| SCADENZA SERVICE | Avviene quando la caldaia ha superato le 1800 ore di funzionamento o 2000 Kg pellet, dal precedente intervento di manutenzione | La stufa necessita di manutenzione straordinaria. | La stufa continua il suo normale funzionamento. Si consiglia comunique di contattare quello prima un centro di assistenza. |
8 INSTALLATORE
8.1 Menu installment
Le seguenti istruzioni sono riservate solo al personale technique con competenze specifiche riguardo gli apparecchi Cola.

Cambiare i parametri in modo non opportuno può provocare gravi danni agli appearecchi, alle persone e all'ambiente. In tal caso la Cola s.r.l. non si assume nessuna responsabilità.
Per accedere a TARATURE INSTALLATORE premere il pulsante MENU e con i tasti di scorrimento visualizzare la voce TARATURE INSTALLATORE e poi agire sul pulsante MENU.
Premere poi sui pulsanti di scorrimento fino a visualizzare la chiave di accesso 10 e premere il pulsante MENU. Si possono visualizzare i vari parametri con i tasti di scorrimento, accedervi con il tastingo MENU, modificarli con i tasti di scorrimento e uscirne con il tastingo ESC.
Inesso sono contenuti i parametri di regolazione molto significati.
| Codice parametro | Descrizione |
| 10-01 | Permette di aumento o diminuire la durata di OFF della coclea per tutte le potenze. |
| 10-02 | Permette di aumento o diminuire la velocità del estrattore fumi per tutte le potenze di un valore pari al 5% per agli unità. |
| 10-03 | Abilitazione blocco tasti. |
| 10-04 | Delta ON/OFF del set della temperatura della sonda di regolazione (vedi parametro 10-07) |
| 10-05 | Ritardo dello spegnimento della stufa. Valido solo nel caso di Stand-by su ON. |
| 10-06 | Permette di abilitare la auto calibrazione. |
| 10-07 | Permette di scegliere con quale sonda settare la regolazione della stufa:-SONDA LOCALE: sonda a bordo stufa e connessa alla schedamadre.-SONDA RADIO: sonda posizionata sul radiocommando. |
La dit si riserva di apportare in qualsiasi momento, alla preavviso alcuno, eventuali modifiche tecniche od estetiche ai prodotti. I disegni, le misure, gli schemi ed agli altra configurazione, sono qui riportati solo a scopo esemplificativo.
COLA S.r.l. - Viale del Lavoro, 7/9 - 37040 Arcole (VR) Italy - Tel. 045 7635780 - 045 6144043 - Cod. Fisc. - P.IVA e Iscr. Reg. Impr. 02990180230
Capitale Sociale Euro 52.000,00 i.v. - R.E.A. VR-301021 - Socio Unico - Fax Amministrazione 045 6100317 - Fax Commerciale 045 7639032
Fax Assistenza 045 7639030 - Fax Logistica 045 6144048 - e-mail: info@anselmocola.com - website: www.colastufe.com
Direzione e coordinamento della Ferroli S.p.A.
1. GENERAL INFORMATION
Direzione e coordinamento della Ferroli S.p.A.
Direzione e coordinamento della Ferroli S.p.A.
ManualeFacile