A2463.0 - Ricevitore Humantechnik - Manuale utente e istruzioni gratuiti
Trova gratuitamente il manuale del dispositivo A2463.0 Humantechnik in formato PDF.
Domande degli utenti su A2463.0 Humantechnik
0 domanda su questo apparecchio. Rispondi a quelle che conosci o fai la tua.
Fai una nuova domanda su questo apparecchio
Scarica le istruzioni per il tuo Ricevitore in formato PDF gratuitamente! Trova il tuo manuale A2463.0 - Humantechnik e riprendi in mano il tuo dispositivo elettronico. In questa pagina sono pubblicati tutti i documenti necessari per l'utilizzo del tuo dispositivo. A2463.0 del marchio Humantechnik.
MANUALE UTENTE A2463.0 Humantechnik
Istruzioni per l'uso
Pagina 26
Radiotrasmettitore Telefonico galvanico per Telefoni analogici
E
Congratulations per l'acquisto del radiotrasmettitore Telefonico galva -nico. Ci augu riamo che possa utilizzarlo a lungo. Avete scelto un sistema moderno ed affidavitabile!
Vi invitiamo a leggere attendamente le istruzioni per l'uso che vi permetteranno diMETTERe correttamente in funzione l'impianto e di conoscere tutte le possibilità che questo offre.
Volume di fornitura standard
Controllare che siano presenti tutti gli elementi qui elencati nel volume di fornitura:
- lisa ra diotrasmettitore Telefonico galva ni co
- Cavo Telefonico, 1m
- Battery da 9 V
- Istruzioni per l'utilizzo
- Scheda della garanzia
Se dovessero mancare alcuni degli oggetti elencati nel volume di fornitura, rivolgersi subito al rivenditore autorizzato o direttamente al produttore.
Funzionamento
I componenti base di un impianto di segnalazione sono sempre il tras - mettitore e il ricevitore. Questo radio - diotrasmettitore Telefonico galva ni co
intercetta elettronicamente gli squilli del Telefono e li converter in impulsi radio. Questi impulsi (868,35 MHz) sono trasmessi quindi via radio al ricevitore.
Particularità
Il segnale che è stato riconosciuto viene trasmesso per 22 secondi, augmentando così l'affidabilità e la portata dell'apparecchio.
Messa in funzione -
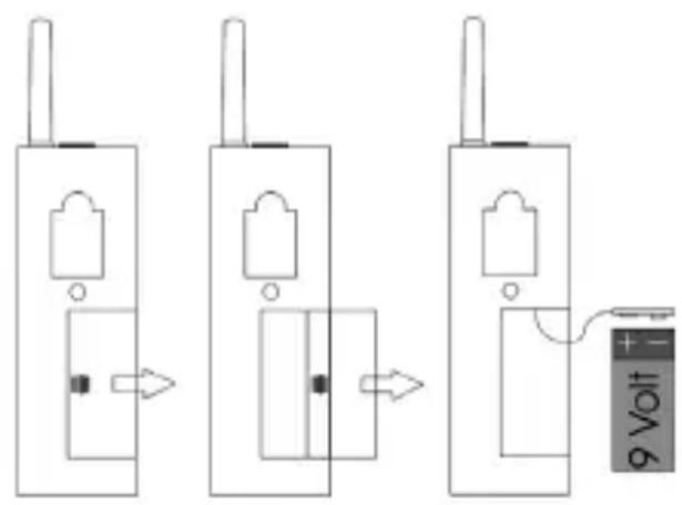
1. Inserimento della batteria
Sotto il radiotrasmettitore Telefonico galva nico si trovavil vano delle batterie.Per accedere al vano batterie far scorrere leggermente il relativocoperchio con il pollice.Collegare la batteria da 9 V al connettore, inseirrlanel vano e richiudere il coperchio. Una volta collegata la batteria,i segnali di ricezione sono subito attivabili.

2. Impostazione del canale radio
Grazie ad uno speciale procedimento di trasmissione digitale si è sicuri che i segnali radio saranno riconoscuti correttamente. Questo procedimento permette di impostare sono a 10 diversi canali radio.
In fase di produzione la radio diotrasmettitore Telefonico galva ni cie impostata sul canale 0. Se in un edificchio sono fatti funzionare gli im pianti di diversi utenti, gli appearechi dei singoli utenti devono essere impostati su canali radio diversi. Serviri di un piccolo cacciavite per impostare il numero del canale desiderato.
Per impostare il canale appropriato girare con un piccolo cacciavite l'interruttore di selezione,ippo sulla parte superiore del vano batteria, fino a posizionarlo sul numero desiderato. Impostare tutti i trasmettitori e i ricevitori sullo stesso canale.

Esempio: il numero di canale: 0
3. Funzionamento trasmettitore telefonico galvanico
Inserire il trasmettitore nella presa a muro. Collegare l'estremità del cavo Telefonico galvanico con il connettore trasparente a clip (connettore jack a 6 poli) alla presa di collegamento del radiotras mettitore Telefonico galva ni co. Inserire l'altra estremità nella presa dell'attacco Telefonico principale.
Attenzione!
Utilizzare esclusivamente il cavo Telefonico galvanico da moi fornito come accessorio, perché non possiamo altrimenti garantire il perfetto funzionamento dell'apparecchio.
Il trasmettitore è progettato per essere collegato alla rete Telefonica analogica. Per un collegamento alla rete ISDN o ad un impianto derivato utilizzare il trasmettitore Telefonico acustico.
Tasto cercapersone
Premendo il tasting cercaper sone si attiva, su agli ricevitore, una determinata sequenza di lampeggiamenti. Si possono così chiamare delle persone che si trovano in altre stanze. Questo tasting permetteanche di verificare il funzionamento dell'impianto,enza che sia necessario collegare le relative linee di alimentazione.
Alimentazione
È possibile utilizzato il ra diotras -mettitore Telefonico galva ni co sono collegandolo all'alimentatore. Per collegare l'alimentatore insereire il connettoreippo a una delle estremità del cavo nella corrispondente presa dell'apparecchio. Collegare quando l'alimentatore a una presa standard domestica in grado di erogare 230 V.
Portata radio
La portata dei segnali radio del trasmettitore è di 80 metri con condizioni ottimali. Le possibili cause di una portata ridotta possono essere dovute a:
- fabbricati o vegetazione;
- radiazioni di disturbo provenienti da teleschermi e telefoni portatili. Questi possono addirittura mettere fuori funzione il ricevitore;
- un erroneo posizionamento del trasmettitore rispetto a superfici che riflettono le radiazioni come pavimenti e pareti, in modo che le onde di segnalazione e le onde riflesse si disturban o si annullano a vicenda;
-
oggetti metallici che accorcia no la portata agenda da schermi;
-
fonti di radiazioni, specialmente in zone urbane, che possono alterare il segnale d'origine.
- Gli appearecchi con frequenze di lavoro simili e con una distanza ridotta si possonoanche disturbare reciprocamente.
Montaggio
Osservare le seguenti indicazioni di montaggio per raggiungere la massima portata del trasmettitore:
- non installare il trasmettitore radioLisa nelle vicinanze di apparecchi che emettono radiazioni di disturbo come, per esempio, teilevisori, monitor o Telefoni cellulari;
- non installare il trasmettitore radio /isa su oggetti metallici perché la loro schermatura ne riduce la portata radio;
Manutenzione
Tutti gli appearecchi /isa non necessitano di manutenzione. Pulire le possibili impurità con un panno umido e morbido. Non utilizzato mai alcool, diluenti o altri solventi organici.
Evitare una prolongata esposizione degli appearecchiLisa ai raggi solari e proteggerli da effecssivo calore, umidita elevata e da forti scosse meccaniche.
Avviso importante: Questo pro-dotto non è protetto dagli schizzi. Non appoggiare contentori di liquidi (ad esempio un vaso da fiori), né fiamme libere (ad esempio una candela) nelle vicinanze del prodotto.
Verificare che le batterie non siano esposte a luce solare, fuoco o a fonti di calore simili.
Durata della batteria
In condizioni normali (7 trasmissioni al giorno), la batteria del trasmettitore dovrebbe durare per circa 1 anno. Premere il pulsante cercapersone del trasmettitore per provare il livello di carica batteria. Se il led del segnale "Send" (Invia) non si accende, sostuire la batteria.
Garanzia
Ra diotras mettitore Telefonico galva nico ha un funzionamento estremamente sicuro.
Se si dovessero perché presentare dei guasti, nonostante la si sua montata ed utilizzata correttamente, contatta re il rivenditore specializzato o rivolgersi direttamente al produttore.
La prestazione di garanzia comprende la riparazione gratuite e la spedizione di ritorno gratuite dopo che è stata inviataanche la confezione originale,che deve pertanto essere conservata.
La garanzia perde validità in caso di danni provocati da un utilizzo improprio o da tentativi di riparazione da parte di persona non autorizzate (distruzione del sigillo di garanzia).
Le riparazioni coperte da garanzia vengono effettuate solo se viene inviato il certificato di garanzia compilato dal rivenditore autorizzato o quello originale in caso si fosse acquistato l'apparecchio direttamente presso il produttore.
Deve in qualsiasi caso essere indicatoanche il numero dell'apparecchio.

Smaltimento delle apparecchiature elettriche ed elettroniche (norme da osservare nei
paesi dell'Unione Europea e in altri paesi europei nei quali sia prevista la raccolta separata di quello tipo di apparecchiature). Il symbolo riportato sul prodotto o sulla confezione indica che il Telefono non deve essere smaltitoattraverso i normali canali di smaltimento dei rifiuti domes tici ma portato a un centro di raccolta per il ricicchio delle apparecchiature elettriche ed elettroniche. Il corretto smalti
mente dell'apparecchio Telefonico rappresenta un contributo attivo alla protezione dell'ambiente e della salute dei città. Al contrario, uno smaltimento non corretto costituisce un pericolo per l'ambiente e la salute dei città. Il ricericlaggio dei materiali contribuisce a ridurre l'utilizzo delle materie prime. Per ulteriori informazioni sul ricericlaggio di questo prodotto rivolgersi alle autorità locali, al Comune o al negozio presso il quale è stato effettuato l'acquisto.
Dati tecnici
Alimentazione: Batteria 9 V o alimentatore
Durata della batteria: Circa 1 anno
Frequenza: 868,35
Temperatura d'utilizzo: 0^ C - 40^ C
Altezza (antenna inclusa): 147 mm (201 mm)
Larghezza: 50
Profondita: 41
Peso (battery inclusa): 145 g
MHz
mm
mm

Prodotto conforme alle direttive dell'Unione Europea.
Per ottenere una dichiarazione di conformità CE di questo articolo rivolgersi al proprio rivenditore o direttamente al produttore.
Ci riserviamo di effettuare modifiche tecniche.


Altura (con antenna): 147 mm (201 mm)
Ancho: 50 mm
Fondo: 41 mm
ManualeFacile