A2463.0 - Ontvanger Humantechnik - Gratis gebruiksaanwijzing en handleiding
Vind de handleiding van het apparaat gratis A2463.0 Humantechnik in PDF-formaat.
Gebruikersvragen over A2463.0 Humantechnik
0 vraag over dit apparaat. Beantwoord die u kent of stel uw eigen vraag.
Stel een nieuwe vraag over dit apparaat
Download de handleiding voor uw Ontvanger in PDF-formaat gratis! Vind uw handleiding A2463.0 - Humantechnik en neem uw elektronisch apparaat weer in handen. Op deze pagina staan alle documenten die nodig zijn voor het gebruik van uw apparaat. A2463.0 van het merk Humantechnik.
GEBRUIKSAANWIJZING A2463.0 Humantechnik
Draadloze galvaische telefoonzender voor analoge telefoons
1
Hartelijk gefeliciteerd met uw aan koop van de draadloze galvanischete telefoonzender. Wij hopen dat u er veel plezier aan zult beleven. U heeft daarmee gekozen voor een modern en betrouwbaar systeme. Lees deze gebruiksaanwijzing zorgvuldig door om het systeme correct in gebruik te kunnen nemen en met alle möglichkheden van het systeme vertrouwd te worden.
Controleer of alle hierna opgesomde onderdelen aanwezig zich:
- lisa draadloze galvanische telefoonzender
- Galv. telefoonkabel, 1 m
- 9 V-blokbatterij
- Handleiding
- Garantiekaart
Indien bepaalde onderdelen ontbreken, dient u onmiddelijk contact op te nemen met uw audicien of rechtstreeks met de fabrikant.
Werkingsprincipe
Een signaleringssystem bestaat uittminstens een zender en een ontvanger. De draadloze galvanische telefonzender registreert langs elektronische weg de belsignalen van uw
telefon een deurbel en zet deze om in radio-impulsen. Deze radio-impulsen (868,35 MHz) worden draadloos doorgestuurd maar de ontvanger.
Bijzondere kenmerken
Een waargenomen signalt wordt in totaal 22 seconden lang doorgestuurd. Dit verhoegt de betrouwbaarheid en het bereik.
Ingebruikname -
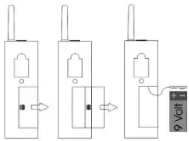
1. Batterij aanbrengen
Aan de achechterkant van de draadloze galvanische telefoonzender bevindt zich een batterijvak. Om het te openen, schuift u het batterijvakdeksel met de duim maar rechts van het apparaat. Verbind een 9 V-blokbatierij met de stekker, leg de batterij in de uitsparing en sluit het apparaat. Bij het aansluiten van de batterij+kennen de ontvangssignalen even worden geactiveerd.

2. Instellen van het correcte radiokanaal
Door een speciale, digitale transmissiemethode worden de fouloze herkenning van de radiosignalengewaarborgd. Bij deze methode is het ook möglichk om 10 verschillende radiokanalen in te stellen.
In de standardinstelling is de draadloze galvanische telefoonzender ingesteld op kanaal 0. Alleen wanner er in een huis systemen van verschillende gebruikers werkzaam zich,要去en de apparaten van de afzonderlijke gebruikers op verschillende kanalen ingesteld worden.
Het gewenste kanaal stelt u in door de kanaalkeuzeschakelaar bovenaan in het batterijvak met eenkleine schroevendraier op het gewenste kanaalnummer te draaien. Alle zenders en ontvangers要去en ingesteld worden op hetzelfde kanaal.

Instellen van het correcte radiokanaal
3. Installatie van de galvanische telefoonkabel
Steek het uiteinde met de doorzichtigige telefoonplug (6-polige RJ-45-stekker) in de aansluitbus aan de onderzijde van de draadloze galvanischetelefoonzender, het andere uiteinde in de N-aansluitbus van uw tele foon naast de telefoonstekker.
Opgelet
Gebruik alleen de meegeleverde galvanische telefoonkabel, aangezien anders de storingsvrijje werkung van het apparaat Niet gegardeerd kan worden.
De telefoonzender is bestemd voor aansluiting op het analoge telefoonnet. Bij een ISDN-aansluiting of een huistelefooncentrale gebruikt u de draad loze akoestische telefoonzender.
Personenoproepknop
Door het indrukken van de personenoproeptknop op de draadloze galvanische telefoonzender worden bijiedere ontvanger, die op hetzelfde kanaal ingesteld is als de zender, een signal geactiveerd. Daarmee hunnen Personen in andere ruimten opgeroepen worden. Bovendien kan deze functie ook zonder aan sluiting van de microfoonkabel gezruikt worden voor het testen van het system.
Netvoeding
U kunt de draadloze galvanischetelefoonzender ook gebruiken met de netadapter. Om de netadapter aan tesluten, steekt u de stekker aan hetuiteinde van de kabel in de aansluiting aan de linkerkant van het apparaat. Vervolgens steekt u de stekker in een normal 230-V-stopcontact.
Radiobereik
De radiosignalen van de zender hebben in optimale omstandigheden eenbereik van 80 meter.
Mogelijk oorzaken van een verminderd bereik können zich:
- Bebouwing of vegetatie
- Stoorstralingen van beeldschemen en mobiele tele foons. Deze kuren zichs een uitval van de ontvanger veroorzaken.
- De afstand van de zender tot reflecterende oppervlakken zoals vloeren en muren is ongunstig gekozen, zodate signaalgolf en de reflecterende golf elkaar verzwakken of zichs uitdoven.
-
Metalen voorwerpen verkorten het bereik door de metalen afterschering.
-
Met name in stedelijkke gebieden zich er veel stralingsbronnen, die het bronsignaal konnen verrormen.
- Apparaten met overeenkomstige werkfrequencies, die op korte afstand van elkaar gebruikt worden, hunnen eveneens onderlinge storingenveroorzaken.
Positionering van de zender
Om ervoor te zorgen dat het bereik van de radiozender zo groot möglich is,要去en de volgende aanwijzingen met betrekking tot de opstelling in acht genomen worden:
- De zender mag nicht opgesteld worden in de buurt van apparaten die sterke stoorstraling produceren zoals televisietoestellen, beeldschemen of mobiele telefoons.
- De zender mag nicht op metalen voorwerpen geplaatst worden, aangezien anders het radiobereik door de metalen afterscherming verkort worden.
Onderhoud en verzorging
De draadloze galvanische telefoonzender is onderhoudsvrij. Wanner het apparaat vuil is, hoeft u het enkel met een zacht, vochtige doek te reinigen. Gebruik nooit alcohol, verdunner of andere organische oplosmiddelen. De draadloze galvanischetelefoonzender mag Niet langdurig bloatgesteld worden aanrechtstreekse zonnestralen en moet beschermd worden gegen großeitte, vocht of sterke mechanische trillingen.
Opmerking: Het apparaat is nicht beschermd gegen spatwater. Plaats geen met vloeistof gezulde voorwerpen, bijv. vazen, op het apparaat. Ook open vuur, zoals bijv. brandende kaarsen, mag in geen geval op het apparaat worden geplaatst.
Let erop dat de batterijen nicht bloat-gesteld worden aan sterke warmte-bronnen, zoals zonnestraling, brand o.i.d.
Levensduur van de batterij
De levensduur van de batterij in de zender bedraagt onder normale omstandigheden (7 zendbeurten per dag) ca. 1aar. Om de toestand van de batterij te controleren, drukt u op de personenoproeptoets van de zender. Als het signaallampje «Zenden« van de zender nicht brandt,要去 de batterij worden verrangen!
Garantie
De draadloze galvanische telefoonzender is zeer betrouwbaar en veilig. Mochten er ondanks correcte bedienning storingen optreden, neem dan contact op met uw audicien ofrechtstreeks met de fabrikant.
De garantie omvat de kostenloze reparatie en het gratis terugsturen van defeche apparaten. Voorwaarde voor de garantie is dat het apparaat in de originele verpakking terugestuurd worden. Gooi de originele verpakking dus Niet weg! De garantie vervalt bij beschadigingen dieverozaakt werden door onoordeelkundig gebruik of bij reparatiepogingen van Niet erkende Personen (verbreaking van het garantiezegel op het apparaat). Reparaties op garantie kuren alleen worden uitgevoerd als de garantiekaart samen met een kopie van de rekening/bon van de handelaar worden ingestuurd.
Het seriENUMmer van het apparaat moet steeds vermeld worden.
Verwijdering van gebruikte elektrische en elektronische apparatuur (toe te passen in de landen van de Europese Unie en andere Europese landen met een eigenginzamelsystem voor zulke apparaten). Het symbol op het product en de verpakking wijst erop dat dit product Niet als normaal huisafval mag worden behandeld maar op een verzamelpunt voor de recyclage van elektrisch en elektronisch moet worden afgegeven. Door uw bijdrage tot
de correcte verwijdering van dit product, beschermt u de het milieu en de gezondheid van uw medemensen. Milieu en gezondheid worden door foute verwijdering in gevaar gebracht. Materialialrecyclage helpt het verbruik van grondstoffen tereduceren. Meer informatie over derecyclage van dit product krijgt u bij uw gemeente, de communale afvalverwijderingsbedrijven of in de zaak waar u dit product heeft gekocht.
Technische gegevens
Voeding: 9 V-blokbatterij of netadapter Levensduur batterij: ca. 1aar
Frequentie: 868,35
Bedrijstemperatuur: 0^ - 40^
Hoogte (met antennae): 147 mm (201 mm)
Breedte: 50 mm
Diepte: 41 mm
Gewicht (met batterij): 145 g
MHz

Dit product is in overeenstemming met de normen van de Europese Unie. EG-conformiteitsverklaringen zijn verkrijgbaar bij uw akhandel of direct bij de fabrikant van dit product.
Technische wijzigingen voorbehonden.




SimpelGids