MARIPOSA - Piscina fuori terra GRE - Manuale utente e istruzioni gratuiti
Trova gratuitamente il manuale del dispositivo MARIPOSA GRE in formato PDF.
Questions des utilisateurs sur MARIPOSA GRE
0 question sur cet appareil. Repondez a celles que vous connaissez ou posez la votre.
Poser une nouvelle question sur cet appareil
Scarica le istruzioni per il tuo Piscina fuori terra in formato PDF gratuitamente! Trova il tuo manuale MARIPOSA - GRE e riprendi in mano il tuo dispositivo elettronico. In questa pagina sono pubblicati tutti i documenti necessari per l'utilizzo del tuo dispositivo. MARIPOSA del marchio GRE.
MANUALE UTENTE MARIPOSA GRE
MANUALE DI MONTAGGIO
MESSAGE IN SERVIZIO
USO E MANUTENZIONE
INDEX
GENERAL INDICATIONS pag. 5
Indications generales
Indicazioni generali
NECESSARY EQUIPMENT pag.6
Attrezzatura necessaria
ASSEMBLY MANUAL pag. 8
Notice de montage
Manuale di montaggio
COMMISSIONING, USE AND MAINTENANCE
Messa in servizio, uso e manutenzione pag. 77

GENERAL INDICATIONS
INDICAZIONI GENERALI
Per l'installazione sono necessarie 2 personne per un tempo approximato di circa 2 ore.
Consultare il codice edilizio locale per qualsiasi requisito di installmente applicabile.
Gre si riserva il diritto diambiare parte dei disegni o delle specifiche tecniche sono obbligo di preavviso.
NECESSARY EQUIPMENT
ÉQUIPEMENTS NÉCESSAIRES - EQUIPO NECESARIO NOTWENDIGES WERKZEUG - ATTREZZATURA NECESSARIA

Chiavi fisse: 10, 13

Cacciavite piatto medio e piccolo

Cacciavite a croce medio e piccolo

Medium rubber mallet
Forbici da elettricista

Oiler
Graisseur
Engrasador
Ölkanne
Oliatore
NOTES - REMARQUES - NOTAS - ANMERKUNGEN - NOTE

NOTA: La struttura della minipiscina presenta degli inserti filetti in alluminio; lubricare gli inserti e le viti durante l'installazione per evitare il grippaggio degli stessi durante l'assemblaggio.
ASSEMBLY MANUAL
NOTICE DE MONTAGE
INSTRUCCIONES DE MONTAJE
MONTAGEANLEITUNG
MANUALE DI MONTAGGIO
Structure assembly - Assemblage de la structure - Ensamblaje estructura - Montage der Struktur - Assemblaggio struttura

Assemblare la struttura della vasca unendo i duelettini con le travi longitudinali.

External covering assembly - Assemblage du revêtement externe - Ensamblaje revestimiento externo - Montage der Außenverkleidung - Assemblaggio rivestimento esterno

Inserire il telo di rivestimento esterno della vasca nelle ogive degli appositi profili e fissarlo alla struttura della vasca mettendolo in tensione.






Positioning of basin mat and liner - Positionnement du tapis de sol et du liner du bassin - Colocacion del tapiz y del liner - Platierung des Bodenschutzvliesses und Innenhülle des Beckens - Posizionamento materassino e telo vasca

Assembly of purifier box and spotlight - Montage du système de filtration et du projecteur - Montaje del equipo de filtración y del led - Montage der Poolreinigungsbox und des Scheinwerfers - Montaggio box depuratore e faretto

Collegare all'interno della scatola di derivazione il cavo del faretto e della pompa come da schema.


ATTENZIONE: mai far funzionare la pompa a secco.
Accertarsi sempre che il livello dell'acqua sia sufficiente al funzionamento della pompa.
Electrical connection diagram - Schéma des raccordements électriques - Esquema conexiones électricas - Elektrisches Anschlussschema - Schema collegamenti elettrici

Installation of sheeting and fixing - Montage de la toile et fixation Montaje tela y fijacion - Montage der Innenhulle und Befestigung Montaggio telo e fissaggio

Ripulire accuramente il pavimento sottostante e verificare che non ci siano asperità. Inserire il telo vasca nel profilo in alluminio (come da disegno in sezione) facendo coincidere i tagli al centro degli angoli del telo con l'angolo della struttura. (fig 1-2). Inserire il cordino pvc come da disegno lungo tutto il perimetro aiutandosi con un martello in gomma. (fig 3-4)

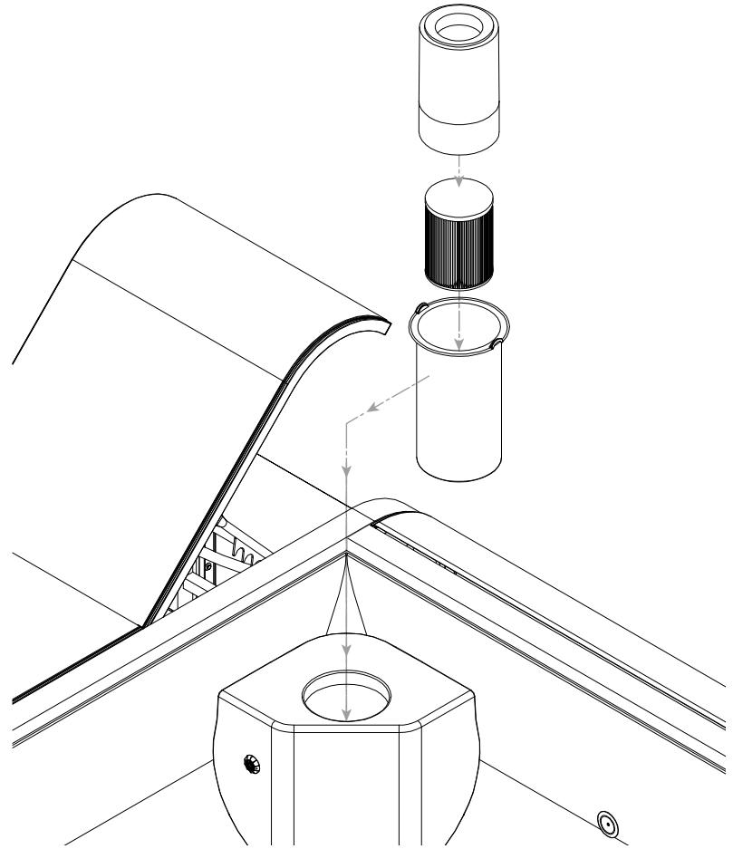
Assembly of cartridge and floating head - Montage de la cartouche et de la tête flottante - Montaje cartucho y cabezal flotante - Montage der Kartusche und des Schwimmers - Montaggio cartuccia e testa flottante
Insert the cartridge holder, the cartridge and the floating head into the purifier casing.
Insérer le porte-cartouche, la cartouche et la tete flottante dans le logement du système de filtrage.
Introducir en el carter depurador el porta cartucho, el cartucho y el cabezal flotante.
Die Patroneneinheit, die Kartusche und den Schwimmer in das Reinigungsgehäuse einstecken.
Inserire nel carter depuratore il porta cartuccia, la cartuccia e la testa flottante.

Pool filling
MESSA IN SERVIZIO, USO E MANUTENZIONE
Fondamentali relative alle prescrizioni di sicurezza da adottare al momento dell'allacciamento, alla messa in funzione e durante l'utilizzo di questo prodotto.
E obblatorio che sua l'installatore/manutentore, sua il consumatore/ utente, leggano quello manuale in agli sua parte prima di utilizzato il prodotto.
INFORMAZIONI PRELIMINARIO
Gentili clienti, quello manuale utente ha come fine quello di guidarvi nell'uso e nella manutenzione della vostra Mariposa. Consiglio di leggere attentamente agli sezione di quello manuale prima di utilizzato il prodotto e di riferirvi allo stesso in agli momento. Nel caso abbiate qualsiasi dubbio inerente l'uso di Mariposa, vi invitiamo a contattare il vosto Rivenditore.
Mariposa é prodotto da Agrisilos Srl, con sede in Ex. S.s. Padana Inferiore 11/c - 26039 Vescovato (Cr) con materiali selezionati e seconde le procedure certificate nel rispetto della norma UNI EN ISO 9001:2008, manuale qualità.
Si invitano tutti gli utenti che intendono utilizzare Mariposa a leggere attendamente ed osservare scrupolosamente le nozioni di sicurezza riportate qui di seguito.
Consultate il codice edilizio locale per qualsiasi requisito di installmente applicabile.
IMPORTANT NOTE DI SICUREZZA
- Prestare sempre la massima attenzione per impedire l'uso non autorizzato e/o sorvegliato della minipiscina da parte dei nostri bambini.
- Esiste un possibile Pericolo di Annegamento. Non permette ai vosri bambini di arrampicarsi o di entrare nella minipiscina perché l'attenta supervisione di un adulto.
- Si raccomanda a tal fine diMETTERE in sicurezza I'accesso alla minipiscina mediente un dispositivo idoneo ad impedirne I'uso non sorvegliato. A titolo esemplificativo recinzioni, barriere, reti, etc.
- Fare connettere la vostra piscina ad una rete elettrica debitamente messa a terra.
- Controllare periodicamente le condizioni del cavo elettrico della vostra minipiscina; in caso siano presenti abrasioni, tagli o schiacciature, disconnettere l'impianto elettrico e contattare un technician abilitato per la verifica del cavo.
- Non installment altri componenti elettrici, a titolo esemplificativo lui, tefoni, radio, dispositivi audio/video, a meno di 3 metri di distanza alla minipiscina.
-
Attenzione: esiste il pericolò di scivolare e/o cadere alla vostra minipiscina e/o dai loro dintorni. Occorre ricordare sempre che le superfici bagnate sono altamente scivolose, per cui è necessario prestare la massima attenzione nell'entrare e nell'uscire alla vasca.
-
Mantenere l'acqua della vostra vasca sempre pulita ed adeguatamente trattata con gli apposti e consigliati prodotti chimici. I livelli chimici dell'acqua vanno manteni all'interno dei valori ideali al fine di prevenir fastidioso irritazioni alla pelle eagli occhi degli utilizzatori.
- Consultate il codice edilizio locale per qualsiasi requisito di installmente applicabile.
INDICAZIONI DI SICUREZZA, LEGGERE ATTENTAMENTE
Per tutto ciò che riguarda l'installazione elettrica, si deve seguire la normativa: CEI 64-8
che si riferisce a "la realizzazione di installazioni elettriche, sua in piscine al coperto sua in piscine all'aria aperta", o la normativa analoga in vigore in agli zona o paese.
- "Tutti i filtraggi adempiono alla norma d'installazione CEI 64-8 che specifica che agli apparecchio elettricubicato a meno di 3,5m alla piscina e accessibile liberamente deve essere alimentato con una tensione moltobassa da 12V . Ogni apparecchio alimentato a 220V deve essere ubicato almeno a 3,5m dal bordo della piscina. Si renderà necessario richiedere l'autorizzatoe del fabbricante per qualsiasi modifica di uno o più elementi delsystemadifiltraggio".
- Tipo di filtering: cartucce filtranti a base sintetica.
- Quando per il trattamento dell'acqua della piscina vengono utilizzati prodotti chimici si consiglia di rispetto iltempo minimo di filtrazione per salvaguardare la salute delle persone che usano la piscina che dipende dal rispetto delle norme sanitarie.
- L'installazione elettrica deve essere realizzata da personale professionale qualificato in installazioni elettriche.
- Non teng a l'apparecchio in marcia quando utilizes la piscina.
Non faccia funzionare l'apparecchio sanza acqua. - Non tocchi MAI l'apparecchio in marcia con il corpo umido o le mani umide.
- Tutte le volte che si renda necessario manipolare l'apparecchio, bisognerà DISINSERIRLO alla presa dicorrente.
- Si assicuri che il suolo sia asciutto, prima di toccare l'apparecchio elettrico.
- Non collochi l'apparecchio in luoghi ove possa bagnarsi, giacché ciò potrebbe causare scosse elettriche.
- Non permetta né a bambini né a adulti di appoggiarsi o di sedersi sull'apparecchio.
- Se il cavo flessibile dell'alimentazione di quello apparetcchio è danneggiato, si renderà necessario sostiturlo. In caso di dubbi, si rivolga ad un servizio tecico.
- Il cavo di alimentazione del trasformatatore non può essere sostituito. Se il cavo è danneggiato è necessaria la sostituzione del trasformatatore.
| Velocità di filtrazione | 2,95 (m2/h) m2 |
| Portata del gruppo di filtrazione a 2 m di prevalenza | 1,3 m3/h |
| Superficie di filtrazione | 0,44 m2 |
| Motore | 60 W |
| Voltaggio motore | 12 V |
| Trasformatore | 230 / 12 V |
| Frequenza | 50 Hz |
| Protezione | CLASSE IPX8 |
ATTENZIONE
Leggere attendamente, comprehende e seguire tutte le informazioni di quello manuale dell'utilizzatore prima di installare e utilizzato la piscina.
Queste avventenze, istruzioni e linee guida sulla sicurezza rispondono ad alcuni rischi comuni della ricreazione acquatica, ma non possono coprire tutti i rischi e i pericoli di tutti i casi. Utilizzato sempre cautela, buon senso e buon giudizio quando ci si diverte con attività acquatiche.
Conservare queste informazioni per utilizzo futuro.
SICUREZZA DEI NON NUOTATORI
- L'appareccchio più essere utilizzato da bambini di età non inferiore a 8 anni e da persone con ridotte capacità fisiche, sensoriali o mentali, o prise di esperienza o della necessaria conoscenza, parché sotto sorvegianza oppure dopo che le stesse abbiano ricevuto istruzioni relative all'uso sicuro dell'appareccchio e alla comprensione dei pericoli adesso inerenti. I bambini non devono giocare con l'appareccchio. La pulizia e la manutenzione destinata ad essere effettuata dall'utilizzatore non deve essere effettuata da bambini sulla sorvegianza.
- In anni momento è richiesta una supervisione continua, attiva e vigilata dei nuotatori deboli e dei non nuotatori da parte di un adulto competente (ricordare che i bambini di età inferiore a cinque anni corrono il massimo rischio di annegamento);
- designare un adulto competente alla supervisione della piscina agli volta che la si utilizza;
- i nuotatori deboli o i non nuotatori dovrebbero indossare dispositivi di protezione individuale quando utilizzato la piscina;
- quando la piscina non è in uso, oppure non è supervisionata, rimuovere tutti i giocattoli alla piscina e dal terreneo cirostande per evitare di attrarre i bambini verso la piscina.
DISPOSITIVIDISICUREZZA
- Si raccomanda di installare una barriere (e di mettere in sicurezza tutte le porte e le finestre, dove applicabile) per impedire l'accesso non autorizzato alla piscina;
- barriere, copertura della piscina, allarmi della piscina, o simili dispositivi di sicurezza sono ausili utili, ma non sono sostituti di una supervisione continua da parte di un attività competente.
ATTREZZATURA DI SICUREZZA
- Si raccomanda di conservare l'attrezatura di salvataggio (per esempio un salvavente anulare) nei pressi della piscina;
- tenere un Telefono funzionante e un elenco di numeroi di Telefono di emergenza accanto alla piscina.
- Incoraggiare tutti gli utenti, specialmente i bambini, ad imparare a nuotare;
- apprendere le tecniche di base di pronto socorro (rianimazione cardiopolmonare - CPR) e aggiornare queste conoscenze con regolarità. Questo cui fare la differenza durante il salvataggio di una vita umana nell'eventualità di un'emergenza;
- istruire tutti gli utenti della piscina, bambini inclusi, sul da farsi in caso di emergenza;
-
mai tuffarsi in un corpo d'acqua non profondo. Quito puo portare a gravi lesioni oppure alla morte;
-
non utilizzato la piscina quando si utilizes alcol o medicazioni che possono pregiudicare la propria capacité di utilizzato la piscina in sicurezza;
- quando si utilizzato le copertura della piscina, rimuoverle completenessa alla superficie dell'acqua prima di entrare nella piscina;
- proteggere gli occupanti della piscina delle malattie correlate all'acqua trattando con regolarità l'acqua della piscina e osservando norme di igiene corrette.
Consultare le linee guida di trattamento dell'acqua nel manuale dell'utilizzatore;
- immagazzinare le sostanze chimiche (per esempio prodotti di trattamento dell'acqua, pulizia o disinfezione) fuori alla portata dei bambini;
- utilizzato i cartelli come delineato sotto;
I cartelli devono essere visualizzati in una posizione in evidenza entro 2 m alla piscina.


Indossare dispositivi individuali di galleggiamento

Messa in sicurezza dell'accesso alla piscina
- Per impedire che i bambini possano annegare, si raccomanda diMETTERE in sicurezza l'accesso alla piscina con un dispositivo di protezione.
- I dispositiivi di protezione per mettere in sicurezza l'accesso alla piscina posso sono essere recinzioni, barriere, ecc.

IMPORTANT
- Prima di effettuare qualsiasi lavoro sulla minipiscina accertarsi di aver scollegato l'alimentazione elettrica.
- L'alimentazione elettrica deve sempre essere protetta da un interruptore differenziale ad alta sensibilità. 30 mA
- Si deve evitare in qualsiasi modo di entrare in contatto con la tensione elettrica, per quello non accedere mai ai componenti elettrici quando si è bagnati e far effettuare tutte le operazioni di manutenzione esclusivamente a personale qualificato.
- Qualiasi modifica che si intende effettuare sulle apparetti e gli impiani richiede l'autorizzazione del produttore. Il produttore è sollevato da qualiasi responsabilità per anni causati dall'utilizzo di ricambi o accessori non originali e non autorizzati.
- L'utente deve accertarsi che i lavori di montaggio e manutenzione vengano effettuali escludamente da personale autorizzato e qualificato.
- L'installazione della minipiscina deve sempre essere eseguita seguito le norme vigenti in agli singolo Paese, in particolar modo delle riguardanti la sicurezza elettrica.
- Questa minipiscina può provocare un rischio di inondazione, per cui deve essere installata in una zona predisposta al drenaggio dell'acqua che potrebbe fuoriuscire tutti la vasca per:
eccessivo riempimento;
fuoriuscita schizzi risultati dal movimento degli utilizzatori in vasca;
operazioni di svuotamento;
possibilità che si verifichino delle perdite idrauliche accidentali alla minipiscina;
la minipiscina delve altresi essere installata in un luogo asciutto, non soggetto ad allagamenti. - La minipiscina deve essere installata in uno spazio che consenta un facile accesso a tutti i loro componenti.
- La sicurezza nel funzionamento della minipiscina viene garantita solo se vengono rispettotte tutte le avventenze riportate nelle istruzioni di montaggio e in quello manuale di uso e manutenzione.
- Controllate con regolarità tutte le superfici accessibili e l'integrità delle parti strutturali della piscina per evitare lesioni o danni.
CONSERVARE QUESTE ISTRUZIONI PER CONSULTARLE IN OGNI MOMento
MARIPOSA - SCHEDA TECNICA


1 Struttura in alluminio verniciato (spessore 1.5 / 2mm )
2 Lettino prendisole
3 Rivestimento interno bianco in tessuto spalmato PVC (850 g) spessore 0.68 mm
4 Impianto di filtrazione a cartuccia pompa 60W 12V (portata max. 2800 l/h), faro a led 3.6W 12V.
5 Trasformatori e interrutori per pompa e faretto
INSTALLAZIONEMARIPOSA
Mariposa va posizionata su un piano di appoggio, pulito, livellato, privo di sporgenze acuminate (sassi, chiodi, etc.) che possano arrecare danno e/o forare il fondo della minipiscina, non cedevole, idoneo a reggere il peso della minipiscina或者其他 che il maggior peso dell'acqua containuta nella vasca.
Si consiglia, di preferenza, l'installazione su una superficie pulita, piana e adeguatamente pavimentata, avente dimensioni minime rispetto a quella indicate nel disegno sopra
peso in normali condizioni di utilizzo circa 550kg / m^2
peso accidentale con vasca riempita totalmente circa 600kg / m^2
| Peso vasca vuota kg | Specchio acqua cm | Ingombro max cm | Peso tot vasca piena kg |
| 70 | 138 x 165 | 278 x 219 x h 60 | 1200 |
Il montaggio (descritto in quello specifico libretto) e l'avvio di Mariposa, devono essere effettuati da personale qualificato, pertanto la scrivente declina agli responsabilità qualora:
a) l'installazione, gli allacciamenti elettrici e il primo avvio (collaudio) della piscina non vengano effettuate da personale technique in grado di certificare e garantire il lavoro eseguito.
b) non siano rispetto le norme e disposizioni di legge relativamenteagli impianti elettrici degli immobili, in vigore nella Stato in cui viene eseguita l'installazione;
c) vengano usati per l'installazione materiali non idone i/o certificati;
d) vengano eseguite operazioni non corrente che riducano il grado di protezione delle apparecchiature elettriche o modificichino la protezione contro l'elettrocuzione per contatti diretti o indiretti, o altresi generino condizioni di isolamento, dispersioni di corrente e surriscaldamento anomali;
e) venganoambiati o modificati componenti o parti del prodotto rispetto alle sue caratteristiche di Fabbrica, facendo di fatto decadere la responsabilità del Produttore e la garanzia prestata;
f) il prodotto venga riparato da personale non autorizzato e/o vengano utilizzate parti di ricambio non originali, salvo specifica autorizzazione in tal senso;
g) in caso di INSTALLazione all'interno (indoor) occorre tener presente che l'evaporazione dell'accua poto genere livelli di umilità molto elevati. In tali casi si tengà presente che la ventilazione naturale o forzata contribuisce a mantenere il comfort personale e a ridurre eventuali danni al proprio immobile. Gre declina agli responsabilità per anni arrecati da eccessiva umilità.
RIEMPIMENTO
La minipiscina Mariposa non è dotata di un sistema di riempimento specifico e/o automatico. Sia il primo riempimento sa le successive adduzioni sono essere effettuate utilizzando un tubo di gomma da giardino o similare.
Il riempimento va effettuato sino al livello di circa 50~cm
Durante la fase di riempimento si raccomanda di controllare costamente la minipiscina, verificando immediatamente eventuali perdite o errorsi di montaggio.

ATTENZIONE:
Si consiglia di riempire la vasca con acqua addolcita e di effettuare gli opportuni trattamenti per evitare che il calcare si depositi sulle superfici e sugli accessori
Gre declina agli responsabilità per eventuali danni arrecati alla fuoriuscita di acqua alla minipiscina durante le fasi di riempimento, adduzione o utilizzazione della stessa.
COLLEGAMENTE ELETTRICI
La minipiscina Mariposa è dotata di apposto trasformatatore elettrico con presa estrabile.
IMPORTANTE: il trasformatore deve essere assolutamente posizionato ad una distance di almeno 3.5 metri alla minipiscina.
L'alimentazione elettrica deve essere sempre protetta da un differenziale ad alta sensibilità. 30 mA

ATTENZIONE:
Non alimentare la minipiscina prima di aver completato il riempimento della vasca.
TRATTAMENTO ACQUA
Il trattamento chimico e la manutenzione, nonché il ricambio totale dell'acqua quando consigliato e/o necessario, è un fattore di fondamentale importanta per godere al meglio delle caratteristiche della vostra minipiscina.
Éestreamamente importante ave r'acqua sempre pulita, sanitizzata e adeguatamente trattata, per il comforte la salute di tutti gli utilizzatori.
Gre declina agli responsabilità per agli tipo di inossevanzà o danno causato da un improprio trattamento dell'acqua e/o dall'utilizzo di prodotti non conformi.
I prodotti chimici vanno dosati peu per volta nella skimmer con la pompa di filtrazione in funzione, e non vanno mai inserti direttamente nella piscina.
Rimuoveri prodotti chimici quando la pompa non è in funzione.
I livelli chimici ideali per la vostra minipiscina sono:
pH:7.2 - 7.6
Bromo/Cloro: 2 - 5 mg/l (ppm)
- Cloro: 1 - 3mg / l (ppm)
Alcalinità totale: 80 - 120 mg/l (ppm)
Durezza: 150 - 250 mg/lt (ppm)
- Solidi disciolti totali: inferiori a 1500mg / l (ppm)
Si raccomanda di tenere costamente monitorati i valori chimici dell'acqua della vasca, che si possono misurare con:
- TEST KIT con reagenti: è un tipo che fornisce un buon livello di precisione ma che è limitato alla sola misurazione del livello del pH e del cloro.
- STRISCE MULTITEST: generalmente fornisco la possibilità di misurare ancche l'alcalinitè e la durezza dell'acqua. Questoistema di misurazione risulta essere accurato solo se le strisce sono al riparo dall'umidità che può influire sul grado di precisione delle stesse.
Va tenuto conto che la frequenza con cui verificare la qualità dell'acqua dipende dall'utilizzo più o meno intensivo della minipiscina.
I prodotti chimici vanno dosati peu per volta nella skimmer con la pompa di filtrazione in funzione, e non vanno mai inseriti direttamente nella vasca.
Quando si usano i prodotti chimici occorre leggere attendamente le etichette stampigliate sulle confezioni e seguire precisamente le istruzioni riportate. Sebbene i prodotti chimici proteggano voi e la sua minipiscina, se usati scorrettamente e/o in dosi troppo concentrate, possono diventare pericolosi.
1) METODI DI SANITIZAZIONE E PRODOTTI CHIMICI CONSIGLIATI
Gre al fine di farvi realizzare un corretto programma di manutenzione della vostra minipiscina vi consiglia di utilizzato i seguenti prodotti chimici:
DICLORO GRANULARE 56% per il primo trattamento e per i trattamenti shock e la manutenzione ordinaria.
PASTIGLIE DA 20 gr DI BROMO/CLORO, per la manutenzione ordinaria.
pH- GRANULARE, per la riduzione dei valori di pH inVASCA, per raggiungere I'equilibrio dell'acqua e ridurre la possibile formazione di calcare.
ANTICALCARE EXTRA LIQUIDO, da utilizzato per preservare da anni la pompa e i rivestimenti della minipiscina.
2) COME TRATTARE L'ACQUA DELLA VOSTRA MINIPISCINA
utilizzare DICLORO GRANULARE 56% nella dose di 30 gr.
ATTENZIONE: non immergiersi in acqua se la concentrazione di cloro in vasca è troppo elevata. Testare sempre con apposto strumento i valori chimici della vostra minipiscina per essere sicuri di aver raggiunto i livelli ideali prima di entrare in vasca.
ATTENZIONE: non copire la vasca con nessun tipo di copertura (standard, isothermica o di altre tipo) a seguito del TRATTAMENTO INIZIALE o similare TRATTAMENTO SHOCK, in quanto si corre rischio di causare danni alla minipiscina e/o alla copertura stessa.
TRATTAMENTO SHOCK:
da effettuarsi con 30 gr DICLORO GRANULARE 56% nei seguenti casi:
Ripristino dei livelli ideali in caso di carenza di manutenzione.
Utilizzo intensivo della minipiscina.
Ricambio totale o parziale dell'acqua.
Per abbattere agli tipo di batterio o alga che possono essere diventati resistenti ai normali livelli di sanitizzazione.
TRATTAMENTO DI MANTENIMENTO DEI LIVELLI CHIMICI IDEALI
Utilizzare le pastiglie di bromo/cloro o il Dicloro Granulare 56% nelle dosi consigliate riportate sulle etichette stampigliate dei prodotti chimici. Per il calcolo considerare che la vasca contiene circa 1.1m^3 di acqua.
Correggete i valori di pH in acqua con apposto riduttore pH- GRANULARE o incrementatore pH + GRANULARE, al fine di raggiungere e mantenere sempre i valori ideali di pH: 7.2 - 7.6 ppm. Le dosi da immettere sono riportate sulle etichette stampigliate dei prodotti chimici.
Il raggiungimento e il mantenimento dei livelli ideali di bromo/cloro o cloro e pH, deve essere curato entro i valori consigliati durante tutto il tempo di utilizzo della minipiscina, con le sole eccezioni delle fasi di trattamento iniziale e/o trattamento shock.
IMPORTANTE: l'osservanza dei valori di pH della vostra minipiscina e l'utilizzo eventuale di prodotti anti-calcare è condizione necessaria per non inficiare la validità della garanzia prestata. La presenza di incrostazioni calcaree su pompe, filtri e teli dovute a mancanza e/o carenza di manutenzione non danno diritto a richieste di sostituzioni in garanzia.

ATTENZIONE
- Affidare solo a persona responsabili di maneggiare i prodotti chimici, TENERE LONTANO DALLA PORTATA DEI BABBINI.
- Dosate sempre precisamente le quantità consigliate, non sovradosate mai la vostra minipiscina.
- Maneggiate i prodotti chimici con cura e conservateli in luogo fresco e asciutto.
- Non inalateli e fate in modo che non entrino in contatto con occhi, gola o naso. Lavatevi immediatamente le mani dopo l'uso.
- Seguite le istruzioni di sicurezza riportate sulle etichette dei vari prodotti. In caso di accidentale contatto o ingerimento, chiamate un medico o recatevi al pronto socorro più vicino. Portate con voi il contentitore del prodotto per permettere una veloce indicazione della sostanza in questione.
- Non fumate vicino ai prodotti chimici.
PULIZIA DEL FILTRO
La vostra minipiscina è dotata di unrello a cartuccia alloggiato all'interno dello skimmer. Per la pulizia di tale,...
filtro disconnettere l'impiano di filtrazione.
Quando la pompa si è arrestata estrarre la testa flottante in plastica quando ilchio a cartuccia etogliere eventuali altri impurità presenti nelso skimmer.
Lavare il filtro a cartuccia con acqua in pressione, avendo cura di pulire ogni piega dallo sporco residuo. Per una maggiore durata del filtrto si consiglia di utilizzato periodicamente apposti detergenti per filtri a cartuccia in modo da rimuovereanche le incrostazioni calcaree non visibili, che alla lunga potrebbero intasare la cartuccia e ridurne,anche in maniera definitiva,l'efficacia.
Una volta terminata la pulizia riposizione nelle rispettive sedi il filtrato a cartuccia e il prefiltrato in plastica e riavviare l'impiano di filtrazione.
ATTENZIONE: la pulizia periodica del filtro a cartuccia è indispensable per il corretto funzionamento e per l'ottimore sanitizzazione dell'acqua della vostra minipiscina. Procedere ad una pulizia periodica del filtrro per la massima efficienza della vostra minipiscina. La periodicità di pulizia può variarie in base alla posizione della minipiscina, alla frequenza d'utilizzo e al numero di utilizzatori.
PULIZIA DEL FONDO
La vosra minipiscina è dotata di un sistema per la pulizia del fondo composto da:
2 tubi rigidi
1 spazzola
1 tubo flessible
1 piattello di aspirazione
Comporre la scopa aspirafango connettendo la spazzola con i tubi rigidi e il tubo flessibile.
Posizione l'estremità libera del tubo flessibile davanti alla bocchetta di mandata dell'impianto in modo da far fuoriscire tutte l'aria presente al suo interno.
Inserire l'estremità del tubo flessibile casi riempito d'acqua nel foro presente sul piattello e quest'ultimo sullo skimmer con la pompa in funzione avendo cura di solleverlo dall'acqua il meno possibile.
Una volta innescata la scopa aspirafango va usata como un normale aspirapolvere.
Si consiglia di muoverla lentamente sul fondo in modo da evitare che lo sporco si sollevi prima di averlo correttamente aspirato.
Terminata la pulizia del fondo spagnere la pompa e scollegare l'aspirafango dallo skimmer. Prima di riaccendere la pompa verificare se è necessario pulire il filtrto, come indicato precedentemente in questo manuale.
CHIUSURA INVERNALE
La messa a riposo della minipiscina per la chiusura invernale (periodo prolongato di non utilizzato) prevede il completo svotamento e asciugatura della vasca e lo stoccaggio della stessa in luogo asciutto e riparato.
INFORMAZIONI AMBIENTALI Trattamento di apparecchi elettrici ed elettronici al termine della loro vita utile (Solo applicabile nella U.E.)
Allo scopo di ridurre la quantità di residui di apparati elettrici ed elettronici, la pericolosità dei componenti, promuoverile il riutilizzo degli apparecchi, la valutazione dei loro residui e determinare una gestione adeguata cercando di migliorare l'efficacia della protezione ambientale, si stabiliscono una seriese di norme applicabili alla fabbricazione del prodotto ed altre relative alla corretta gestione ambientale quando si trasformino in residui. Allo stesso modo, siorca di migliorare il comportamento ambientale di tutti gli agenti che interven-gono nel ciclo vitale degli apparecchi elettrici ed elettronici, come i produttori, i distributori, i consumatori e, in particolare, il comportamento di quegli agenti direttamente implicati nella gestione dei residui derivati da questi apparecchi. A partire dal 13 agosto del 2005, quando vorrà disfarsi di quello apparecchio potra portarlo nel luogo appositamente destinato dai vari enti locali.

Gli appearecchi sono etichettati con il significato di un "contentatore della spazzatura, sbarrato", quello significato indica la necessaria raccolta selettiva e differenziata dal resto della spazzatura urbana.
I nostri prodotti sono progettati e fabbricati con materiali e componenti di elevata qualità, che rispetto l'ambiente, che possono essere riutilizzati e riciclati. Pur in quello caso, le varie parti che compongono quello prodotto non sono biodegradabili, per cui non devono essere abbandonate nell'ambiente.
NOTE
I materiali con coi sono prodotti i nostri articoli presentano di per se un'ottima resistenza alle varie sostanze.
anche aggressive (es. acidi o basi) perché non ne rimangano a fatto per lungo tempo.
Evitare il contatto prolongato con sostanze grasse e/o coloranti. Queste potrebbero venire assorbite dal materiale di rivestimento (PVC) e dare luogo a macchie permanenti;
Evitare il contatto prolongato con solventi, e detergenti acidi o basici;
Non usare procedimenti di lavaggio o prodotti abrasivi, che possono danneggiare il prodotto;
Per la normale pulizia utilizzare acqua e detergenti liquidi, incolori e non abrasivi. Si consiglia di lasciare agire il detergente per alcuni minuti, e se necessario strofinare la superficie con spazzole esclusivamente con setole morbide, quando sciacquare abbondamente con acqua tiepida;
Nel caso di utilizzo di dispositivi a pressione (es. idro pulitrici), quosti non devono essere usati in modo da danneggiare la superficie del tessuto;
Si consiglia per una migliorie conservazione nel tempo del prodotto, di riporlo pulito, in luogo asciutto e protetto da polveri. Evitare di ripore il prodotto se umido, perché la porvere e l'inquinamento depositati sul tessuto, sono putrescibili.
CERTIFICATO DI GARANZIA
CONSERVATE QUESTO MANUALE CON IL SERIAL NUMBER E IL GIUSTIFICATIVO D'ACQUISTO (RICEVUTA) PER OGNI TIPO DI RECLAMO.
Qualiasi tipo di reclamo deve essere effettuato tramite una dichiarazione online, tramite il site https://www.grepool.com/it/post-vendita, insieme alla ricevuta d'acquisto. Potrebbero essere richieste fotografia per giustificare il reclamo. Non saranno accottate restituzioni di materiale senza previo accordo.
Il cliente si farà carico di tutte le spese di restituzione della merce (imballaggio e trasporto).
1. GARANZIA
1.1 MANUFACTURAS "GRE" S.A. garantisce che il prodotto Mariposa di seguito "PRODOTTO", a cui è allegato il presente certificato è:
a) conforme alle caratteristiche illustrate nella documentazione aziendale adesso relativa;
b) privo di difetti di progettazione, di materiali, di fabbricazione e di funzionamento.
1.2 La garanzia oggett di questo certificato è l'unica garanzia rilasciata sul prodotto. Nessun'altra dichiarazione di terzi potra vincolare validamente GRE.
2. AMBITO DI APPLICATIONE DELLA GARANZIA
2.1 La garanzia si applica esclusivamente qualora il prodotto sa stato acquistato da un cliente privato per utilizzo domestico, con esclusione di anni altra finalità di utilizzo commerciale. La garanzia oggetto di questo certificato viene rilasciate direttamente ed esclusivamente a favore del cliente e non è trasferibile, né cedibile a terzi.
2.2 La garanzia è valide solamente per prodotti installati nelle stesso Stato in cui sono stati acquistati.
3. OGGETTO DELLARANZIA
La presente garanziaiene riconosciuta nell'ambito di un uso normale e corretto del prodotto, nonché di un'installazione avvenuta in conformità alle istruzioni di montaggio fornite. La garanzia copre esclusivamente i componenti originali del prodotto: telo piscina, struttura metallica, tutte le altre parti originali che compongono il Kit piscina e copre unicamente la fornitura di materiali in sostuzione di quelli giudici di fettosi. La garanzia non copre i materiali di consumo e/o le parti soggette a normale usura.
4. DURATA DELLA GARANZIA
4.1 La durata della Garanzia è di ANNI 2 (DUE) su tutte le parti originali che compongono il kit piscina dei suddetti prodotti e/o ne costituiscono accessorio originale.
Garanzia specifica telo vasca: 5 anni per le saldature e la tenuta stagna in condizioni d'uso normali. La garanzia non include: strappi, rotture, macchie (causate dal versamento di prodotti di trattamento direttamente nell'accua), macchie legate alla crescita di alge, macchie legate alla decomposizione di corpi estranei aicontto con il telo vasca, macchie e decolorazioni derivanti dall'azione di prodotti ossidanti, mantenimento del colore e sua usura dovuta all'attrito del materiale su superfici diverse.
4.2 La garanzia decorrera dalla data di acquisto del prodotto, comprovata da regolare scontrino/fattura.
5. ESCLUSIONI E INAPPLICABILITA DELLA GARANZIA
5.1 Sono espresamente escludie alla Garanzia:
a) I prodotti di seconda mano e/o di sala miastra (espositivi).
b) Le spese derivanti dalle opere necessarie al ripristino e/o la riparazione del Prodotto.
c) Le spese di trasporto del materiale da riparare e/o sostituire e/o le spese del personale preposto alla riparazione, in anni luogo.
5.2 La garanzia non si applica in tutti i casi in cui il difetto delle componenti del prodotto di cui al punto 3 non sia attribuibile direttamente a GRE e, in particolare, in tutti i casi in cui il difetto sua causato da:
a) avarie occorse durante il trasporto (graffi, ammaccature, malfunzionamenti, ecc.).
b) assemblaggio e/o installmente errati e/o non effettuati in conformità alle istruzioni del prodotto.
c) utilizzo non corretto ovvero non conforme alle istruzioni del prodotto o, comunique, per finalità diverse dal normale utilizzato domestico.
d) normale logario o usura del prodotto per effetto dell'uso o del non uso.
e) problemi nelle strato superficieale del prodotto dovuti a sporco, calcare, graffiature o abrasioni, occorsi durante l'utilizzo del prodotto ovvero dovuti a diretta esposizione agli agenti atmosferici,
ovvero dovuti all'utilizzo di prodotti di pulizia non idonei. Attenzione: i tagli presenti sul telo dellettino prendisole sono caratteristica del prodotto. Non rappresentano difetto, pertanto non danno diritto ad alcuna richiesta di sostituzione in garanzia.
f) mancata o insufficiente manutenzione, ovvero manutenzione non effettuata in conformità alle
istruzioni del prodotto e/o alla diligenza richiesta dalla natura del prodotto.
g) un utilizzo non adeguato e non congruo dei prodotti, un deterioramento degli stessi dovuto ad imperizia, un logorio delle parti dovuto alla presenza di calcare perché siano state utilizzate le dovute precauzioni, non può determinare richieste di invio di ricambi per il ripristino del prodotto in garanzia. Attenzione: la pompa e le sue parti, in particolare la girante presente al suo interno, possono essere danneggiata da calcare, corpi estranei, eccessivo o carente uso di prodotto chimico.
h) eventuali danni derivati ai prodotti per gelo o per uso inappropriato di prodotti chimici sono esclusi alla garanzia.
i) gli oneri dovuti allo svotamento, riempimento e trattamento chimico dell'acqua non sono mai coperti alla garanzia.
l) alte cause non attribuibili a GRE quali, a titolo esemplificativo, modifiche effettuate dal consumatore o da terzi, manomissioni, urti, atti di vandalismo, abusi, ecc.
m) l'eventuale formazione di muffe, più o meno persistenti, sul telo vasca, dovute al particolare luogo di posizionamento del prodotto, condizioni atmocferiche, carenza di manutenzione, non osservanza delle istruzioni di uso e manutenzione, non sono coperte da garanzia.
n) non si applica qualora sul prodotto vengano installati o utilizzati accessori non originali.
o) Eventuali giusti dovuti al funzionamento a secco della pompa di filtrazione : la pompa di filtrazione della minipiscina non più mai funzionare perché acqua. Questa pratica più pregiudicare in maniera irreversibile la pompa stessa e non da diritto ad alcuna richiesta di sostituzione in garanzia.
p) Attenzione: in caso di anomalia di funzionamento è vietato tagliare i cavi delle componenti elettriche. In tal caso il componente stesso non potra mai essere coperto alla garanzia.
5.3 Non sono espessamente da considerarsi difetto:
a) fenomeni temporanei di trasudazione del telo vasca, che si possono evidenze in particolare al primo riempimento e nelle prime settimane di utilizzo del prodotto.
b) variazioni nei colori originali dei teli vasca elettino, dovuti al naturale invecchiamento, all'esposizione prolongata ai raggi solari e/o intemperie e all'uso continuo di prodotti chimici di trattamento e/o pulizia.
c) ossidazioni di parti metalliche dovute a mancata o insufficiente manutenzione ovvero manutenzione non effettua in conformità alle istruzioni del prodotto e/o alla diligenza richiesta alla natura del prodotto.
d) tutte le parti di finitura dei prodotti sono realizzate prevalente a mano. In tal sense alcune imperfezioni in queste parte sono da considerarsi come caratteristica intrinseca e accettata del prodotto. Le stesse non influiscono sull'uso a cui il prodotto è destinato.
5.4 Le seguito situazioni non sono incluse nella GARANZIA: tagli nel telo, montaggio e connessioni filtrazione, riempimento con acqua,Installatione di parti di finitura, chiusura invernale, manutenzione.
5.5 Al fine di una corretta valutazione del difetto e per poter procedere all'eventuale riparazione e/o sostituzione del prodotto in garanzia, è fatto obbligo del cliente consumatore di fornire una completeness documentazione fotografica del difetto, dello stato di utilizzo del prodotto stesso.
6. RICHIESTA DI ASSISTENZA AI SENSI DELLA GARANZIA - DECADENZA
6.1 Al fine di poter beneficiare della garanzia, il consumatore avrà l'onere di denunciare eventuali non conformità o difetti del prodotto direttamente ed esclusivamente al proprio venditore.
6.2 Per ricevee assistenza dovr è essere fornita una copia del documento fiscale o di consegnar rilasciato dal Venditore presso cui il consumatore ha acquistato il prodotto. Ogni richiesta di assistenza non arrivagnata da tali documenti potrè essere gestita solo come "fuori garanzia".
6.3 Gli interventi effettuati durante la durata della presente garanzia, come indicate al punto 4 (durata) non daranno luogo ad ulteriori prolongamenti della stessa sulle parti sostituite e/o riparate.
6.4 Termine per richieste dichio: 8 giorni lavorativi nell'ambito della sostituzione di un componente difettoso. Lo smontaggio e il montaggio non sono di competenza della GRE.
CONSERVATE QUESTO MANUALE CON IL SERIAL NUMBER E IL GIUSTIFICATIVO D'ACQUISTO (RICEVUTA) PER OGNI TIPO DI RECLAMO.
7. ASSISTENZA IN GARANZIA -ONERI AGGIUNTIVI
7.1 L'assistenza in garanzia è subordinata all'accertamento, da parte di GRE tramite i propri che le non conformità o i difetti del prodotto denominati dal consumatore siano coperti alla garanzia e che il malfunzionamento denominato non dipenda da un utilizzo non conforme da parte del consumatore stesso.
7.2 Assistenza in garanzia (dopo la giustificazione e il ricevimento dell'acquisto): iosti di consegnara saranno sostument al cliente, iosti di restituzione saranno pagati da GRE (solo per le parti coperte da garanzia).
7.3 Qualora il prodotto sia stato installato in un luogo non disponibile accessibile ovvero unitamente a materiali rari e/o di pregio, saranno a carico del consumatore le spese, a titolo esemplificativo, di rimozione e ricollocazione del prodotto nel luogo in cui lo stesso e stato installato,或者其他 al costo di ripristino dei materiali rari e/o di pregio.
7.4 Servizio assistenza fuori garanzia: i costi di consegna/restituzione saranno sostumenti dal Consumatore. I pezzi saranno fatturati secondo il listino prezi in vigore.
8. RESPONSABILITA PER DANNI
GRE declina agli responsabilità per eventuali danni che possano, direttamente o indirettamente, derivare a persona, ad animali domestici e/o a cose in conseguenza della mancata osservanza di tutte le prescrizioni indicate nella documentazione relativa al prodotto, in modo particulare nelle avventenze in tema di montaggio, installmente, utilizzo e manutenzione e/o in conseguenza di un utilizzo del prodotto non conforme alla diligenza richiesta alla natura dello stesso.
9. LEGGE APPLICABILE - FORO COMPETENTE
La garanzia è disciplinata alla legge Italiana e per qualsiasi controversia adessa relativa sare esclusivamente competente il tribunale di Cremona (Italia).
ManualeFacile