LK 5689 - Ventilátor AEG-ELECTROLUX - Ingyenes használati útmutató
Találja meg az eszköz kézikönyvét ingyenesen LK 5689 AEG-ELECTROLUX PDF formátumban.
Töltse le az útmutatót a következőhöz Ventilátor PDF formátumban ingyenesen! Találja meg kézikönyvét LK 5689 - AEG-ELECTROLUX és vegye vissza elektronikus eszközét a kezébe. Ezen az oldalon közzé van téve az eszköze használatához szükséges összes dokumentum. LK 5689 márka AEG-ELECTROLUX.
HASZNÁLATI ÚTMUTATÓ LK 5689 AEG-ELECTROLUX
A kezeloelemek attekintese... Oldal 3
Hasznalati utasitas. Oldal 43
Muszaki adatok. Oldal 47
Hulladekkezelés. Oldal 47
Pycckn
Copepkanme
O63op dTeaJIe npIbopa... cTp. 3
PykoBODCTBO no 3KcPnIyatau.. cTp. 48
TexHHeCKNe daHHbIe .CTp. 53
4
Ug#
3 1
54 1
57 1
A kezelő elementek attekintése
O63op detae np6opa
C. 1,2,3 1,3,4




4 Deutsch
Bedienungsanleitung
Köszönjuk, hovy a termekünket választotta. Reméljuk, élvezni fogja a készülék hasznalatát.
A hasznalati utmutatóban talalható szimbólumok
Az OnBiztonsagara vonatkozo utasitaskifejezetten meg vannak kulönboztete. Kérjuk, mindenképpen ügyeljen ezekre annak erdekében, hovy ekuljie a baleseteket és a keszülk károsodását:

FIGYELMEZTETES:
Egészégét kárositó veszelyforrásokra figyelmeztet és rámutat alehsetéges sérülesi lehtoségekre.

VIGYAZAT:
Lehetéges veszelyre utal, mely a keszülékben vagy mas tárgyakban kart tehet.

MEGJEGYZES: Tippeket és informaciókat emel ki.
Általános megjegyzések
A keszülk hasznalatba vetele elott gondosan olvassa vegig a hasznalatiutasitast,és orizme meg a garancialevelle, apenztari nyugtaval es lethetoleg a csomagolokartonnal, ill. az
abban levobelésanyaggal együtt! Amennyiben a keszüléket harmadik szemelynek adja tovább, a használati utmutató is adja a kszülékhez.
- Kizarólag személyi celra használya a keszúléket, és csupán arra, amire valo! A keszúlék nem ipari jellegő használatra keszült. Ne használia a szabadban!
- Ne tegye ki erós hóhatásnak, kózvetlen napsugárásnak és nedvességnek (semmi esetre sémtsa folyadékba), és ovja az éles szélektő! Ne használja a készüléket vizes kézzel! Ha a készülék vizes vagy nedveslett, azonnal húzza ki a konnektorból!
- Kapcsolja ki a készüléket és mindig húzza ki a csatlakozó t a dugaszól o alzatból (a csatlakozó, ne pedig a gezetéket húzza), ha nem használá je készüléket, tartozékokat szerel fel rá, tiszütíva vagy zavart észlel.
- A keszüléket és a halózati kábelt rendszeresen ellenorizni kell, hogy nincs-e rajta sérulés jele. Ha sérulést lát rajta, a keszüléket nem szabad használni.
Csak eredeti tartozékokat hasznaljon!
GyermékeiBiztonsága érdekébenne hagyja általuk elerhetóhelyenacsomagolóelemeket (muanyag zaskó, karton, sztiropor sb.):!

FIGYELMEZTETES:
Ksigyermeketak ne engedjen a fóliával játszani. Fulladas veszelye allhat fenn!
A keszülékre vonatkozó specialis biztonsági szabályok
- Vízzel való felTÜltéskor vagy tiszítías során valassza le a készüléket az elektromos halózatról.
- Ne hagyja orákra felügyelet nélkül a készüléket. Ne menjen el otthonról, ha a készülék működk.
- Ne dugja az ujjat a védórácsba, és más tírgyakat se dugjon bele!
- Vigyázat hosszú Haj esétén: a hosszú hajsztálakat a légáramlat beszívhatja!
- A készüléket kizárólag teljesen összeszerelt állapotban működtesse.
- A készülék megfelelo aljatra helyezendő, hogy működés koben fel ne boruljon!
- Ne állītsa a készüléket kályha vagy más hóforrás közelébe.
44 Magyarul
Mukodés kozben ne mozgassa a keszüléket.
- Fokozott óvatossággal mozgassa a készüléket, amikor viz taláhtó a viztartályban.
- Ne használjá a készüléket konyhában vagy furdószobában.
- Ürütse ki a viztartályt, amennyiben nem használja a készüléket.
- Ne的概率jia saját kezüleg megjavítani a keszüléket. Mindig lépjen kapcsolatba szakképzett szerelővel. Ha a villanyvezéték megsérül, a gyátrónak, a szerviz ügynökségnek vagy más, ha sonloan képzett személynek kell a javíst vegeznie, a veszélyek elkerülése érdekében.
- A készüléket 8 éves és idősebb gyerekek és csökkent fizikai, érzékszervi vagy értelmi képességő szemelyek és akiknek nincs meg a tapasztalatuk és tudásuk ehvez,Csak akkor használhatják, ha felügyelet alatt állnak vagy a készülék biztonságos használatára megtanították öket és megérétették az érintett veszényeket.
- Gyerekek ne jatszanak a keszülékkel!
- A tisztístást és a karbantartást gyermek felügyelet nélkül ne végezze!
Elemek kezelése

Netoltse!

Ne szerelje szet!

Behelyezeskor ügyeljen a helyes polaritasra!

Robbanasvezély! Ne tegyek ki az elementek intenziv hóhatásnak, pédául napsütésnek, túznek vagy hasonlónak.

Ne zárjá róvidre!
-
Eltero elementek, ilteve uy es hasznalt elementek ne hasznaljon egymással.
-
Az elementköl akkumulársav szívároghat. Ha a távirányi-tót hosszabb ideig nem használja, távolítsa el belőle az elementek.
- Ha egy elem megfolyik, ne kenje a folyadékot a szemébe vagy a böré. Ha a sav a szemébe kerül, öblütse kitisztitott vizzel, és amennyiben a tünetek továbbra is fennállnak, forduljon orvoshoz.
Rendeltetesszerú hasznalat
A keszülk ventilatorkent és/vagy lephutokent,parasitokent is hasznalható.
Kizárolag erre a célá készült és csak erre szabad felhasználni.
Csak a leiús szerinti módon szabad használni. A készüléket nem szabad kereskedelmi célokra használni.
Minden máfajta hasznalat rendeltetésellenesnek minosül, anyagi kart, vagy akár meg személyi kart is okozhat.
A gyártó nem vállal felelosséget a helytelen használatból eredó károkér.
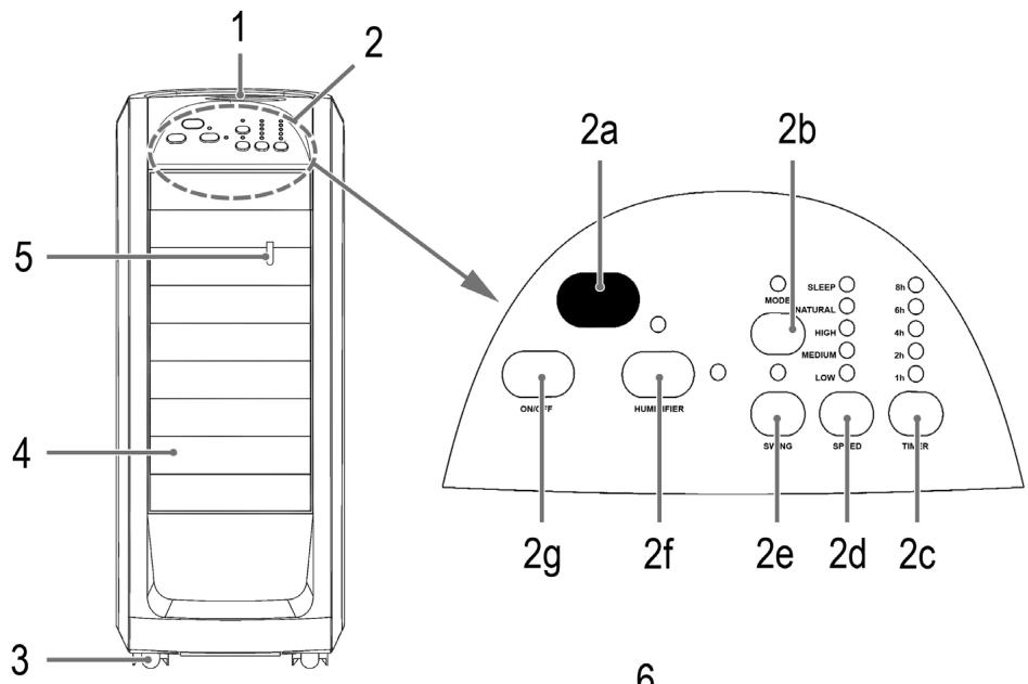
A kezeloelemek akttekintese/ Szallitott element
- Távirányító tárolórekesze
- Kezelőpanel
2a. IR-vevo a taviranyitóhoz
2b MODE gomb
2c TIMER gomb
2d SPEED gomb
2e SWING gomb
2f HUMIDIFIER gomb
2g ON/OFF gomb
3 Gorgok
4 Szelőzölamellák
5 Emelokar
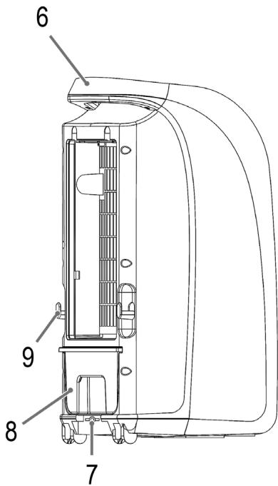
6 Hordozofogantyu
7 Viztartályzár
8 Viztartaly
9 Kábeltartó
10 Parasítókazetta
11 Legbemeneti szuro
Az abran nem szerepel:
2x Elem R03 „AAA“ 1,5V
A keszülék kicsomagolása
- Vegye ki a keszüléket a csomagolásból.
- Távolítson el minded csmagó-anyagot, minta tília, tóltoanyagok, kábeltartók és kartencsomagolás.
- Ellenőrizzle, hogy minded alkatrész megvan-e.
- Ha valamelyik alkatresz hianyzik vagy nyilvánvaloan károsodott, ne használaja a keszüléket. Azonnal vigye vissza a kereskedonek.
MEGJEGYZES:
A keszüléken maradhatott por vagy a gyartásból szarmazo szennyezódés. Az elso hasznalat elötttiszüttsa meg a keszüleket a „Tiszítás" fejezetben leirtak szerint.
Felallitasi hely
Felalitasi helyknt cuszaszimentes es sik feluletet ajanylunk.
Viz
Csak desztillalt vagy forralt hideg csapvizet hasznaljon, adalekok nélkül.
VIGYAZAT:
Ne töl'tse fel a viztartalyt ruhaszárítókból szarmazo vagy adalekanyagokat (pl. ilóolajokat, parlümöt, öblístk vagy más vegyszerek) tartalmazó vizzzel. Ezek figyelmen kivül hagyása károsithatja a készüléket.
Cserelje le a vizet 3-4 naponta, meg ha nem is hasznalta el azt.
Távolítsa el vizet a viztartályból, ha a készüléket hosszú ideig nem használá.
Feltoltés vizzel
- Helyezze a keszüléket oda, ahol üzemeltetni kivanja.
- Nyissa ki a viztartály zárját, amely a hatsó panelen talá-ható. A kinyitáshoz forditsa el az orá jarásával ellentétés irányba.
- Húzza kā víztartáy utközsésig.
-
Töltefel a viztartályt. Ennek során tartsa szem elött a következőt:
-
legalabbb feltoltesi kapacitas 1,5 liter (min),
legmasabb feltoltesi kapacitas 4,5 liter (max). -
Csuszta svisza a tartalyt a keszülkbe.
- Zárja vissza a tartály zárját az ora járásával megegyező irányba forgatva.
Uzembehelyezes
Hálozati kabel
Tekerje le a halózati kábelt a keszülék hatoldán talalhato kábeltartórol.
Elektramos csatlakoztatás
- Mielott a csatlakozó dugó bedugná a konnektorba, ellenörizze, hogy egyezik-e a hasznánlni kivist halózati feszültseg a készülékövel! Az adatokat megtalálja a típuscímken.
- Csatlakoztassa a keszüléket szabályszerüen felszerelt, foldelt, konnektorba! Egy hang jalzi, hogy a keszülék használatra kesz.
Elemek behelyezése a tavitányítóba
- Nyissa fel a távirányíto hatoldán az elementrekeszt.
- Helyezen be 2 db elem R03 "AAA" 1,5 V típus kis ceruzaelement.
- Ügyeljen a megfelelo polusokra. A részletek az elementartó belsejében találhatók.
- Csukja be az elementrekeszt.
Tárványító működési tartománya
A távirányító muködési tartománya kb. 10 mét er. Ha a muködési tartomány csökken, ki kellc sérénlni az elementek.
A távirányítót használathoz irányítsa a kapcsolóház elején talalhato érzekelőre.
- Ügyljen arra, hogy ne legyen semmilyen akadály a távirányító és az érzékelő bözttt.
- A távirányító szöge a távirányító érzékelőjéhzépest nem lépheti tól a 30^ -ot balra, jobbra, felfelé és lefelé sem.
46 Magyarul A keszülék használata
Kezeles
A keszülek hasznalata kozben nyissa ki szellóz-lamellákat. Lezart lamellákkal a keszülék nem muködk meqfeleloen.
A leghutod mindig normal uzemmodban kapcsol be alacsony fordulatszamon.
- Amennyiben az üzemeltetestúgy szakítja meg, hogy nem húzza ki a halózati kábelt, akkor a keszülék tárolja a korábban beallitott üzemmodot.
Hasznalat
A keszüléket a távirányítóval és a kapcsolótablan lévő gombokkal egyarant működtetheti. A funkciók azonosak.

MEGJEGYZES:
A kapcsolohazon levo LED-ek jelzik a beallitásokat.
ON/OFF
Be-/kikapcsolás
Az ON/OFF gomb segitségével kapcsolja be vagy ki a keszüléket.
SWING
Oszcillácio
A belso ventilatorracs automatikusan fordul a SWING fungkció kivalasztasakor. A kulso ventilatorracsok vizszintesen kezzel allithatok.
SPEED
Fordulatszám
Nyomja meg a SPEED gombat, ha a harom sebességfokozat egyikét szerné kivalasztan:
LOW
alacsony
MEDIUM
kozepes
HIGH
magas
TIMER
Idózító
Ha a keszüleket időre szeretné kikapcsolni, nyomja meg a TIMER gombot.

MEGJEGYZES:
A TIMER gomb minded egyes megnyomásával noveli az üzemidót. Az üzemidó aktuális értékét a megfelelo jelzó-lampa mutatja.
MODE
Fúváscere funkciók
A keszülk két specialis funkcióval rendelkezik: NATURAL és SLEEP. A ventilátor fordulatszáma a két funkcioban mashogy valtakozik.
Nyomja meg a MODE gombot, ha ezt a funkciót szerétrne bekapcsolni.
- 1 × megnyomás = NATURAL
Ez az üzemmod természetes legmozgást szimulal.
A SPEED gomb megnyomásával módosíthatja a légáram sebességot.
- 2 × megnyomás = SLEEP
Pihenjen ebben az üzemmodban gazdag szel vaslaztekkal. A SPEED gomb megnyomásaval módosithatja a légaram sebességét.
3× megnyomas Normal izemmod
A kivist sebességi fokozatot a SPEED gomb megnyomá-sával választhatja ki.
HUMIDIFIER Párásító
A ventilator pellet bekapcsolhatja a leghusitot/parasitot is. Ehhez nyomja meg a HUMIDIFIER grombot. Ekkor kigyullad a gomb feletti jelzolampa. Ez a funkeio legfeljeabb 20m^2 -es szobakban hasznalhato hatasosan.
A levego kelames páraszintje a kovetkež kedvezho hatasok kaljär:
- Egészésges szobai klimát, és ezzel jó közerzetet betzosít.
- Megakadályozza a por felemelkedését, ami ideális az allergiaban szenvedóknek.
A borenedvessegetkap.
Védi a butorokat a kiszáradástól, és megakadályozza a parkettában vagy a fapadlókban a rések kialakulását.
Csökkenti a levego'elektrosztatikus feltoltódesét.
Viz ujratoltese
- Kapcsolja ki a keszüléket.
- Húzza ki a dugaszt a csatlakozó alizból.
- Kövesse a „Feltoltés vizzel“ részben leirtakat.
A viz csereje
A vizet 3-4 naponta cserelni kell.
- Kapcsolja ki a keszüléket.
- Húzza ki a dugaszt a csatlakozó aljzbatól.
- Vegye le a légbemeneti szúrot.
- Lazitsa meg a parasitokazetta tetején talalhato csavart.
- Huzza a pársitókazettá fogantyúnál fogva elore, majd felfelé.
- Vegye ki a viztartalyt.
- Ürítse ki a viztartályt, majd öblítse ki tiszta vízzel.
- A továbbiakban kovesse a „Viz→Feltöltés vízzel" résben található 4-6. pontban foglaltakat.
- Helyeze vissza a parasitokazettat es a legbemeneti szur't.
A hasznalat befejezese
- Kapcsolja ki a keszüléket.
- Húzza ki a dugaszt a csatlakozó aljzbatól.
- Egy ideig nem kivanja használni a készüléket? Ezután uritse ki a viztartály! (A továbbiakban kövesse a „A viz cseréje“ részben talalhato 1-7. pontban foglaltakat.) Hagyja a ventilator múkodn 20 percig HIGH fordulatszám-beallitason. Ez segít kiszárítani a készülék besejét.
- A tapkábelt a kábeldooban tarolhatja.
Tisztlatas

FIGYELMEZTETES:
Tiszitás elótt mindig húzza ki a csatlakozét!
- Üglyeljen arra, hogy tisztiţas kozben ne jusson be viz a készülék nyilasaiba. Ez elektrmos áramütest vagy:tüzet okozhat.

VIGYAZAT:
- Ne használjon drótkefét vagy más suroló hatású tárgyat.
- Ne használjon agresszív vagy surólo hatású tiszítószert.
Burkolat
A keszüleket kivülrólsitztósser hozzaadasa nélkül szaraz ronggyal tisztsa.
- Makacs szennyezódés esetén enyhén vizeze be a kendót, és utána törölje szárazra a készüléket!
Viztartály
- Öblitseki a viztartalyt tiszta vizzel.
Törölje szárázra.
Párásítókazetta és lédbemeneti szúró
Ezeket az alkatrészeket ovatosan, gyengén folyó csapviz alatt tiszíttsa. A viszahelyezés el'tt hagyja az alkatreszeket teljesen megszaradni.

VIGYAZAT:
A keszüléket kizárólag teljesen összeszerelt allapotban helyeze üzembe.
Tárolás
Tiszftsa meg a keszüléket a leirtak alapján. Hagyja, hogy a tartozék teljesen megszárdjanak.
Javasoljuk, hogy a keszüléket azeredeti csomagolasában tárolja, ha hosszabb ideig hasznalaton kívülre helyezi.
- Mindig jol szellóz, szaraz helységben, gyermekektól távol tárolja a készüléket.
Hibaelhárítas
| Probléma | Ok | Megoldás |
| A készülék nem működik. | A készüléknek nincs áramellátása. | Ellenorizze a csatlako- zo aljatot. |
| Meghibásodott elektronika | Kérjen tanácsot a kereskedótól vagy a szervízköþontól. |
| Problème | Ok | Megoldás |
| Rossz szag terjeng. | A viz tú régí vagy koszos. | Cseréle je a vizet, és tiszítási ka i párásítót. |
| A párásítokazetta elszennyezódott. | Tiszítsa meg a párásí-tókazettató „Tiszítás →Párásítokazetta és légbemeneti szúró“részben foglaltak szerint. |
Muszaki adatok
Modell: LK 5689
Feszültsegellatas: 220-240V\~,50Hz
Teljesitményfelvétel: 70W
Vedelmi osztaly: II
Netto suly: .kb.6,00kg
A muszaki es kivitelezesi modositások jogá a polyamatos termékfejlesztés miatt fenntartjuk.
Ezt a keszüléket az Europa Tanács minded vonatkozáktuális irányelve szerint (pl. elektrémágnesesség-elviselő képesség vagy Kisfeszültsg-elsilő képesség) Ellenőritzék, és a legújabbbiztonságtechnikai előirások szerint keszült.
Hulladékkezelés
Az elementk artilmatlanitasa

Vásárlóként Ont törveny kõtelezi a régi elementek/ akkumulatorok visszavitelère.
A keszülék leselejtezese elott vegye ki az elementek a távirányítóbl.
Vigye az elementek egy regi elementek vagy veszelyes hulladek akvtetelev foglalkoz gyujitoponta. Tovabbi informaciokertlepjen kapcsolatba a helyi hatosagokkal.
A „kuka" piktogram jelentése

Kémélie kornyezetünket, az elektramos készülé-kek nem a hazartási szemétbe valók!
Használa jz elektromos készülékek arṭalmatlan- nítására kijelölt gyujtóhelyeket, ott adja le azokat az elektromos készülékeit, amelyeket tòbbe már nem kiván használni!
Ezzel segitséget nyujt ahhoz, hogy elkerülhetok legyenek azok a hatások, amelyeket a helytelen „szemetre dobás“ gykorolhat a környezetre és az emperi egészségre.
Ezzel hozzajárul az ujrahasznositashoz, a recyclinghozés a kioregedett elektromos és elektronikus készülékek értékesi-tésenek egyeb formaihoz.
Az önkormányatzoknól vagy a polgarmesteri hivatalokban tajékoztatast kaphat arról, hogy hova viheti a kiselejtezett készülékeket.
48 Pycckn
PykoBOdCTBO no 3KcNlyaTaUIM
Cnacn6o 3a Bb6op HaIeero npOkyTa. Haeemc, Bam nHOHPaBNTCA kCkIyIyaTnpOBaTb yCTpoIcTBO.
CnmbolpiPmmeHReMbIeB DaHHOM pyKOBoCTBe IOnb-30BaTeJIa
Baxkhye peKOMHdaun nIa o6cneueHnBaue 63oNaHocTN o63HaHebI nOOC6EHOMy. O63aTeJIbHO cIeJyTe 3TMM peKOMHdaUNm, YTO6bI ppeD0TBpaNTb HecuactHbI CUYaH INIIN NIOLOMKY I3dEIN:
TPEUYIPEXKDEHNE:
IpeDynpexJaet O6 OnaChOCTn IJI3IOPOBbI IN BO3MOX-HOM pINCKe NOJUHeHIN TpaBMbl.
KönnyűKézikönyv