SP 2446 SG - Pumppu METABO - Ilmainen käyttöohje ja opas
Löydä laitteen käyttöohje ilmaiseksi SP 2446 SG METABO PDF-muodossa.
Käyttäjien kysymyksiä aiheesta SP 2446 SG METABO
0 kysymys tästä laitteesta. Vastaa tuntemiisi tai esitä omasi.
Esitä uusi kysymys tästä laitteesta
Lataa ohjeet laitteellesi Pumppu PDF-muodossa ilmaiseksi! Löydä käyttöohjeesi SP 2446 SG - METABO ja ota elektroninen laitteesi takaisin hallintaan. Tällä sivulla julkaistaan kaikki laitteidesi käyttöön tarvittavat asiakirjat. SP 2446 SG merkiltä METABO.
KÄYTTÖOHJE SP 2446 SG METABO
fi Alkuperäinen käytöopas 48
da Original brugsanvisning 54
Alkuperäinen käyttoopa
1. Laitteen yleiskuva
Katso kuva sivulla 2.
1 Verkkjoho to ja pistoke
2 Kahva / ripustussilmukka
3 Paineliitäntä
4 Pumpun kotelo
5 Imauukot
6 Uimurikytkin
7 Uimurikytkimen tasonsaately
2. Lue ensin!
Lue tämä ohjekirja kokonaan lapi ennen laitteen kaytöönottoa. Huomioi erityisesti turvaohjeet.
- Tämä ohjekirja on tarkoitettu henkilöille, joilla tassä kuvatun kaltaisten laitteiden käsittelyn edellyttamät perustiedot. Jos sinulla ei ole mitään kokemusta tällaisista laitteista, pyydba ensin avuksi kokeneita henkilöitta.
- Mikäli huomaat kuljetuksessa syntyneitä vahinkoja pakkauksen purkamisen yhteydessä, ilmoita niistä heti tavaran toimittajalle. Alä ota laitetta käyttoön!
- Hävitätä pakkaus ympäristöystävällisesti. Toimita pakkaus asianmukaiseen jatteidenkeräyspaikkaan.
- Säilytä kaikki laiteen mukana toimitetut asia-kirjat myöhempää tarvetta varten. Säilytä östkuitti mahdollisia takuuvaatimustapauksia varten.
- Jos joskus lainaat tai myyt laitteen, anna kaikki mukana toimitetut asiakirjat laitteen mukana eteenpain.
- Valmistaja ei ota mitään vastuuta vahingoista, jotka johtuvat tämän käyttohjekirjan noudattamatta jattamisestä.
Tämän käytöohjekirjan tiedot on merkitty seuraavalla tavalla:

Vaara!
Henkilovahinkoja tai ymparistovahinkoja koskeva varoitus.

Sähköiskuvaara!
Sähkõstä aiheutuvia henkilövahinkoja koskeva varoitus.

Huomio!
Materialialivahinkoja koskeva varoitus.

Ohje:
Täydentäviä tietoja.
3. Turvallisus
3.1 Tarkoituksenmukainen käytto
Uppopumput on tarkoitetu veden pumppaamiseen rakennustyömaila, maataloudessa ja kodin ja puutarhan piirissä.
SP 24-46 SG ja SP'28-50 S Inox ovat lisaksi tarkoitettu jatevesien pumppaamiseen teollisuuddessa ja kodin piirissa.
Sallittu pumpattavaine
Puhdas vesi tai likavesi
- Likaveden sisälämä kiintoaine ei saa ylittäa teknisissä tiedoissa ilmoitettua maksimihiukkaskokoa.
- Nesteen PH-arvon taytyy olla 6 - 9.
Kaikki muunlainen käytö katsotaan épātarkoituksenmukaiseksi ja ei ole sallittua.
Tyypilliset käyttoalueet
Rakennuskuoppien, lampien, tulvavenen peittamien tilojen ja kellarien tyhjentaminen vedestä. Pumppaus sailiöistä, vesialtaista, uima-altaista tai jatevesikaivoista.
- Veden jatkuvan kierratys (lampi).
Epātarkoituksenmukainen käytto
Laitetta ei ole tarkoitettu...
- DP 18-5 SA, SP 24-46 SG: lampotilaltaan >35^ nestlediden pumppaus.
- DP 28-10 S Inox, SP 28-50 S Inox: lampötilaltaan >35^ pumppaus kotitaloustarkoituksiin; lampötilaltaan >50^ pumppaus muihin tarkoituksiin.
- juomavesihuoltoon tai elintarvikkeiden pumppaamiseen.
suolaveden pumppaamiseen. - rajahdsalttiiden, palavien, syovyttavien tai terveydelle vaarallisten aineiden sekä ulosteiden pumppaamiseen.
Henkilöeivat saa kayttä laitetta, jos he
- ovat ruumiillisila ja/tai henkisiltä kyvyiltään rajoittuneita,
- ovat aistihavaintokyvyltaa ranraoittuneita,
- ovat lian kokemattomia ja/tai tietamattomia laitteen kasittelyn suhteen tai
-eivat olet lukeneet ja ymmartaneet kayttoohjekirjaa.
Huolehdi siitä, että lapset eivat paase leikkimän laitteen kanssa.
Tämä laite ei ole tarkoitettu sellaisten henkilöiden käytettäväksi, joilla on fyysisiä, psyykkisiaa tai aistirajoitteita tai joilla ei ole kayton vaatimaa kokemusta ja/tai tietoja, paitsi jos käytto tapahtuu käytäjan turvallisuudesta vastuussa olevan henkilön valvonnassa tai jos Han on neuvonut, miten laitetta tulee käytää.
Valmistaja ei ota mitään vastuuta vahingoista, jotka johtuvat epätarkoituksenmukaisesta käytösta.
Epātarkoituksenmukaisesta käytösta, laitteeseen tehdyistä muutoksista tai sellaisten osien käytösta, joita valmistaja ei ole tarkastanut ja hyväksynyt, saattaa aiheutua ennalta arvaamattomia vahinkoja!
3.2 Yleiset turvallisuusohjeet
- Noudata tata laitetta käyttaessasi seuraavia turvaohjeita, jotta valtät henkilovahinkoihin tai materiaalivahinkoihin johtavat vaarat.
- Älä missän tapauksessa annalasten käyttaa laitetta.
- Huolehdi siitä, etta lapset eivat pääse leikkimään laitteella.
Noudata lakimäräisiä direktivejä tai työsuojelumäräryksia, jotka koskevat uppopumppujen käsittelyä. - Noudata normin IEC 60364-7-702 märäryksiä käyttaessäsi laitetta uima-altaissa ja puutarhalammissa ja niiden suoja-alueilla.
Noudata tällöin tarvittaessa myös kansallisia märäryksiä.
Laitteen suojaus tulee toeteuttaa vikavirtakatkaisimella (RCD), joka nimellisvikavirta on enintaan 30mA

Yleinen vaara!
Alä käytä laitetta, jos henki
loitä on kosketuksissa pumpatta
vaan aineeseen (esim. uima-altaassa tai puutarhalammessa)!
Seuraavat jäännösvaarat ovat aina olemassa uppopumppuja käytettä essä - niitta ei voi poistaa täydellisi sti millään varotoimilla.

Ympäristövaikutuksista aiheutuva vaara!
Alä käytä laitetta rajähdysvaarallisissa tiloissa tai palavien steiden tai kaasujen laheisyydessä!
4
Sähkõstä aiheutuva vaara!
Alä koske verkkopistokkeeseen marillä kasillä! Irrota verkkopistoke aina vetamalla pistokkees ta, ei johdosta.
Liitannan saa tehdä vain suojakos-ketinpistorasioihin, jotka on asennetttu, maadoitetti ja tarkastettu asianmukaisesti. Verkkojannit-teen ja sulakkeiden taytyy vastata teknisija tietoja.
Nosta ja kuljeta laitetta aina kahvasta, alä koskaan liitäntäjohdosta tai paineletkusta.
Jatkojohdon johtimien poikkipinta-alan taytyy olla riittavän suuri. Johtokelat taytyy purkaa kokonaan rullalta.
Alä taita, purista tai vedä verkkjohtoa ja jatkojohtoa tai aja niiden yli; suojaa ne teräviltä reunoilta, öljltä ja kuumuudelta.
Aseta jatkojohto niin, etta se ei voi joutua pumpattavaan nesteeseen. Irrota verkkopistoke ennen laitetta koskevien toiden tekemista.
4
Laitteen puutteista aiheutuu sahköiskuvaara!
Tarkasta laite, erityisesti verkko- ja jatkojohto, verkkopistoke ja uimurikytkin ennen kayttoönottoa mah
SUOMlfi
dollisten vaurioiden varalta. Sahköiskusta aiheutuu hengenvaara! Alä korjaa laitetta itse! Epääasianmukaisesti tehdyistä korjauksista aiheutuu vaara, etta;neste paaseetunkeutumaan laitteen sahköiselle alueelle.

Huomio!
Laitteen häiriöistä tai puutteista johtuvien vesivahinkojen (esim. tiloen tulvimisen) välttamiseksi: suunnittele sopivat varotoi-menpiteet, esim.:
- hälytyslaitteisto tai
-valvottu keruuallas
Valmistaja ei ota mitään vastuuta mahdollisista vahingoista, jotka johtuvat siitä, että
- laitetta on käytetty épātarkoituksenmukaisesti.
- laitetta ei ole käytetty ja säilytety suojassa pakkaselta.
- laitteeseen on tehty omavaltaisia muutoksia. Sähkölaitteita saa korjata ainoastaan sähköalan ammattilainen!
-on kaytety varaosia, joita val-mistaja ei ole tarkastanut ja hyvaksnyt.
-on käytety sopimatonta asennusmaterialiaia (hanat, liitäntäjohtimet jne.).
Sopiva asennusmaterialiaali:
- paineen kestävä (vähintään 10 baria)
-kuumuudenkestävä(vahintaa1n 100^)
4. Asennus ja pystytys
4.1 Painejohdon liittäminen
Liitänkierrettä koskevat tiedod: katso Tekniset tiedod.

Ohje
Suurin pumppausteho saavutetaan
valitsemalla suurin painejohdon hal
kaisja.
4.2 Uimurikytkimen johdon kiinnittäminen
- Se, miten uimurikytkimen johto kiinnitetaan laitteeseen, riippuu mallista. Tarvittaessa paina uimurikytkimen johto kahvan johtopitimeen.
Seuraava kuva nayttä uimurikytkimen johdon kiinnitetytna.


Huomio!
Uimurikytkimen johto voi vauroitua.
Alä koskaan vedà uimurikytkimen joh-dosta sen siirtämiseksi johtopidikkeessä!
4.3 Pystytysohjeita
- Uimurikytkimen täytyy voida liikkua va paasti, jotta se toimii moitteettomasti! Tilantarve DP 18-5 SA, DP 28-10 S Inox: n. 60 cm x 60 cm Tilantarve SP 24-46 SG, SP 28-50 S Inox: n. 70 cm x 70 cm.
- Upota laite korkeintaan teknisissä tiedoissa mainittuun käytöupotussyvyteen vedenpinnan alle.
- Pystytä pumppu siten, etta imuaukot eivat pääse tutkeutumaan epäpuhtauksista. Aseta pumppu tarvittaessa alustalle.
- Huolehdi siitä, että pumppu seisoo tukevasti.

Katkenneesta johdosta aiheutuu sähköiskuvaara!
Alä nosta tai kuljeta laitetta johdoista tai paineletkusta! Johtoja ja paineletkua ei ole suunnitelu kestämän laitteen painon aiheuttamaa vetorasitusta.
4.4 Laitteen pystytys
- Upota pumppu hieman vinossa pumpattavaan nesteeseen, jotta sen alapuolle ei synny ilmataskua. Se estaisi imun. Pump-
pu voidaan oikaista heti kun se on upotetu.
- Laske pumppu nestesäillön pohjalle.
Käytä laskemiseen tukevaa koyttä, jonka
kiinnität pumpun ripustussilmukkaan.
Pumppuva voi kayttä myös, kun se roikkuu
köyden varassa. - Uudelleen tehtävän käyttoönonotyn yhtey-dessä tulee huolehtia siitä, etta syöttjohto on täysin tyhjä.
5. Kaytto
5.1 Kytkeminen pälle ja.POIS
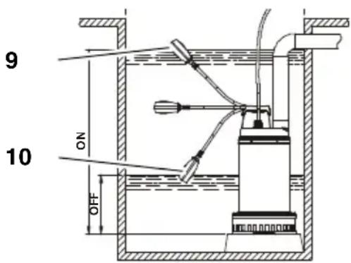
Sitten kun olet liittäny laitteen verkkoon, uimurikytkin kytkee sen automaattisesti paallee (9) ja pois paälta (10). Kytkentähetki riippuu vedenpinnan korkeudesta.

Pumpun paalle- ja Polskytkentahetken muuttaminen
Johtopidikkeessä olevan uimurikytkimen joh-don paikkaa voi muuttaa. Tälla muutetaan pumpun paalle- ja poiskytkentähetken valia:
-Uimurikytkin "lyhyessa johdossa": paalkektkentapiste ja poiskytkentapiste ovat lahekkain.
-Uimurikytkin "pitkassj johdossa": paalkyktentapiste ja poiskytentapiste ovat kaukana tosisstaan.

Huomio!
Kiinnituaimurin johtonin,ettapoiskyt-kentapiste on vahintaan 150 mm pum
pun pohjan ylapuolella. Muuten laite voi kayda kuivana ja sen myotä vaurioitua.

Huomio!
Uimurikytkimen pitää pystyä aina likkumaan ylos ja alas, jotta laite voi kyt
keytyä paälle ja.POIS paälta.

Huomio!
Laite ei saa kytkeytyä paälle useammin kuin 20 kertaa tunnissa, jottaori ei ylikuumene.

Laitteen Häiriöistä aiheutuu vaara!
Sulje sopivien toimien avulla pois se mahdollisuus, etta laitteen hairiot voivat aiheuttaa seurannaisvahinkoja tilojen tulvimensent takia. Täm vaoidaan varmistaa esimerkiki asentamalla halytyslaitteisto tai varapumppu.

Vaara!
Alä anna pumpun käydä suljettua pumppujohtoa vastaan.
5.2 Vedenkorkeuden vähimmäistaso
Jatkuva käytto:
Jatkuvassa käytössä laitteen täytyy olla kokonaan pinnan alla.
Rajoitetti käytö:
Jos kone ei ole kokonaan pinnan alla, silloin vain rajoitettu kayttö on mahdollista. Huomioi seuraavat rajoitukset:

Laitteen kuivakäynistä voi aiheu-tua materiaalivahinkoja!
Laite voi ylikuumentua ja vaurioitua, koska pumpattavan aineen jahdytysvaikutus on vahentynyt. Lampokytkin reagoi.
- Pumppaa vain lyhytaikaiseesti (2-3 min).
- Tarkkaile laitetta pumppauksen aikana.
5.3 Pumpun ominaiskayrä
Pumpun ominaiskayrä nayttä, mika pumppausmaärä voidaan saavuttaa kulloisenkin pumppauskorkeuden mukaan

6. Laitteen hoit, huolto 7. Ongelmat ja hairiöt

Vaara!
Irrota verkkopistoke ennen kaikkia hoito- ja puhdustustöitä.
Tässä kappaleessa kuvattuja huolto- ja korjaustöitä laajempia toitä saavat suorittaa vain valtuutetut ammattihenkilät.
6.1 Säännöllinen hoit
Jotta laite toimii aina moitteettomasti, sita taytyy hoitaa saannollisesti. Tamä patee myos, jos laitetta ei kytketä pitkään aikaan paallee (esim. kaytettaessä sitä likavesikaivoissa).
Laitteen puhdistus
- Huuhtele pumppu puhtaalla vedellä. Poista pinttynyt lika (esim. leväkerrostumat) harjalla ja astianpesuaineella.
- Pumpun sisäpuolen huuhtelemiseksi: upota pumppu puhtaalla vedellä taytettyyn sāiliöön ja kytke se hetkeksi paälle.
6.2 Laitteen sailytys

Huomio!
Pakkanen tuhoaa laitteen ja lisävarusteet, koska niissä on aina vetta!
- Irrota laite ja lisävarusteet pakkasvaaran aikana ja säilytä ne pakkaselta suojassa.
6.3 Laitteen huolto (vain malleissa SP 28-50 S Inox, DP 28-10 S Inox)

Huomio!
Jos tiiviste on rikki, silloin pumpusta voi vuotaa voiteluainetta ja aiheuttaa
pumpattavan aineen likaantumisen.
Jätevesiuppopumpussa oleva voiteluaine on myrkyöntä, mutta se voi kuitenkin muuttaa veden ominaisuksia.

Vaara!
Anna huoltotyöt vain valtuutetun ammatihenkilostön tehtäväksi. Öl-
jykammiossa olevan öljyn määrä ja laatu tulee tarkastaa 4000 - maks. 8000 käytöttunnin kuluttua, kuitenkin vähintään kerran vuodessa.

Vaara!
Ennen kaikkia laitteelle suoritettavia toita:
Irrota verkkopistoke virtalähtestä.
7.1 Häirön etsintä
Pumppu ei kay:
Ei verkkojannitetta.
- Tarkasta sahköjohto, pistoke, pistorasia ja sulake.
Lian alhainen verkkojannite.
- Käytä jatkojohtoa, jonka johtimien poikkipinta-ala on kyllin suuri.
- Moottori yikuumentunut, moottorisuoja lauennut.
- Poista ylikuumenemisen syy (vieras kappale jumittanut pumpun?).
- Uimurikytkin ei kytke pumppua paalle vedenpinnan noustessa.
- Varmista, etta uimurikytkin pääsee likkumaan kylliksi.
Jos laite ei kytkeydy päalle, vaikka ui-murikytkin päsee likkumaan kylliksí: laheta laite omassa maassasi olevaan huoltopisteeseen.
Moottori hurisee, ei käynnisty:
- Juoksupyörä jumissa vieraan kappaleen takia.
- Puhdista juoksupyorä.
Pumppu kay, mutta ei pumppaa kunnolla:
- Nostokorkeus liian suuri.
- Huomioi maksiminostokorkeus (katso "Tekniset tiedot").
Painejohto taittunut.
- Súorista painejohto.
Painejohto vuotaa.
-Tiivistapainejohto,kiristakierreliitokset.
Pumppu käy erittäin kovaääänisesti:
- Pumppu imee ilmaa.
- Varmista, etta vettä on kylliksi.
-Vieras kappale (puhdista laite). - Käskäytto asetetu pälle (pintaimu).
- Pida pumppua vinossa upottaessasi sen nesteeseen.
Pumppu käy jatkuvasti:
Uimurikytkin ei saavuta ala-asentoa.
- Varmista, etta uimurikytkin pääsee likkumaan kylliksi.
8. Korjaus

Vaara!
Vaarojen välttämiseksi anna korjaustyöt vain ammattitaitoisten sahköasen
tajien tehtavaksi alkuperaisi Metabo-varaosia kayttäen!
Jos Metabo-sahkötyokalusi tarvitsee korjausta, ota yhteyttä Metabo-edustajaan. Osoitteet, katso www.metabo.com.
9. Havittäminen
Noudata käytösta poistettujen koneiden, pakkausten ja lisātarvikkeiden havittämista jikierratysta koskevia kansallisia maäräyksiä.

Sahkölaitteet eivat kuulu kotitalousjätteen sekaan. Käytetyä sahkö- ja elektroniikkalaitteita koskevan eurooppalaisen direktiivin 2002/96/EY mukaan käytyt sahkölaitteet tayty kerä erikseen ja
toimittaa kierratettaviksi ymparistoystavallisellä tavalla.
10. Vaatimustemmukaisuusvakuutus
Vakuutamme yksinomaisella vastuullamme: Nämä tyhjennys- ja jätevesipumput, merkitty tyyppitunnuksella ja sarjanumerolla *1), vastaavat direktiivien *2) ja normien *3) kaikkia asiaankuuluvia märäyksiä. Teknisten asiaikirjojen sailytyspaikka *4)- katso sivu 3.
DANSKda
Original brugsanvisning
4.4 Eykaataoan ouokevnC
- BuioTe Tnv avTia eAaPpa uno ywvia oTo npoc avTnOn Uypo, yia va u n OxNmuTIOe iOtnv katw nLeuPa kaveva otpwma aepa.AuTo 0a napEumoiE Tnv avappofnAn. AfoB uioTei n avTia, mOpieTE kai naI va Tnv tooTheoTe opia.
- KaTeBaOe TnV avTia OTo nATo TnC 8E- EaEvns Tou Uypou.
Tia nBtuon TnC avTliac xpnoumonoin-ote eva duvato oxovi, to onio npEnei va 8eoi otov kpiO avaptnonC TnC avTliaC.
HavTia mOpEi eTionc va Aetoupynoe avaptnuev n e eva oxovi.
3. Otav tEe i naI oE λεitoupyia npoεEe va EKKevwEi πλnpωc o σωληvac avTAnOns.
5. Αειτουργia
Sukelpumbas sisalduv märdeaine ei ole tok-siline, kuid voib muuta vee omadusi.

Oht!
Piemeroti uzstadisanas materiaali:
- spiedienizturigi (min. 10 bar),
- k a r s t u m i z t ur i g i (m i n. 100 °C
HelppoOhje