FCJ 65V3 - Proyector HITACHI - Manual de uso y guía de instrucciones gratis
Encuentra gratis el manual del aparato FCJ 65V3 HITACHI en formato PDF.
| Tipo de dispositivo | Sierra de calar |
| Alimentación | Eléctrica con cable |
| Potencia | No especificado |
| Velocidad variable | Sí |
| Curso | No especificado |
| Profundidad de corte en madera | No especificado |
| Profundidad de corte en metal | No especificado |
| Tipo de hoja | Hoja en T o en U |
| Empuñadura | Empuñadura en D |
| Función sopladora | Sí |
| Cambio de hoja sin herramientas | No especificado |
| Peso | No especificado |
| Longitud del cable | No especificado |
| Accesorios incluidos | No especificado |
| Uso recomendado | Corte de madera, metal, plástico |
Preguntas frecuentes - FCJ 65V3 HITACHI
Preguntas de los usuarios sobre FCJ 65V3 HITACHI
0 pregunta sobre este aparato. Responde a las que conoces o haz la tuya.
Hacer una nueva pregunta sobre este aparato
Descarga las instrucciones para tu Proyector en formato PDF gratis! Encuentra tus instrucciones FCJ 65V3 - HITACHI y toma tu dispositivo electrónico nuevamente en la mano. En esta página están publicados todos los documentos necesarios para el uso de su dispositivo. FCJ 65V3 de la marca HITACHI.
MANUAL DE USUARIO FCJ 65V3 HITACHI
Leer cuidadosamente yshipsrderestas instruccionesantes deluso.
Instrucciones de manejo
Instruções de uso
Odyieic xepiioou

1
(a)

(b)

2
(2)

3

4
A

B

C

5

1

2

3

6

7

8

9

10

11

12


13

14
NORMAS GENERALES DE SEGURIDAD
ADVERTENCIA!
Lea todas las instrucciones
Sino se quingen las instrucciones de abajo podria producirse una descarga electrica, un incendio y/o daños graves.
ElTERMINDherramientaelectrica"entodaslas advertenciasindicadasa continuacionhacerreferencia alherramientalectricaquefuncionaconla red de suministro(con cable)oalherramientalectricaquefunciona con pilas (sin cable).
CONSERVE ESTAS INSTRUCCIONES
1)Área de trabajo
a) Mantenga la zona de trabajo limpia y bien illuminada.
Las zonas desordenadas y oscuras peuvent provocar accidentes.
b) No utilise las herramrientas electricas en entornos explosivos como, por exemple, en presencia de liquidos inflamables, gases o polvo.
Las herramientos electricas crean chispas que(pueden hacer que el polvo desprenda humo.
c) Mantenga a los niños y transeulentes alejados cuando utilise una herramienta electrica.
Las restricciones peuvent hacer que pierda el control.
2) Seguridad electrica
a) Los enchufes de las herramrientas electricas tienen que ser adecuados a la toma de corriente.
No modifique el enchufe.
No utilise enchufes adaptadores con herrimantas electrolycas conectadas a tierra.
Si no se modifican los enchufes y se utilizes想不到 de corriente adecuadas se reducirá el riesgo de descarga electrica.
b) Evite el contacto corporal con superficies connectadas a tierra como tuberías, radiadores y frigorificos.
Hay mayor riesgo de descarga electrica si su cuerpo está en contacto con el sueño.
c) No exponga las herramrientas electricas a la lluvia o a la humedad.
La entrada de agua en una herramipta electrica
aumentaré el riesgo de descarga electrica.
d) No utilise el cable Incorrectamente. No utilise el cable para transporte, tirar de la herrimienta electrica o desenchufarla.
Mantenga el cable alejado del calor, del aceite, de bordes aflilados o piezas vviles.
Los cables danados o enredadosurrentan el riesgo de descarga electrica.
e) Cuando utilise una herramipta electrica al aire libre, utilise un cable prolongador adecuado para utiliser al aire libre.
Lautilizaciondeuncableadequadoparausarse al airelibrereduceelriesgo dedescargaelectrica.
3) Seguridad personal
a) Este atento, preste atencion a lo que hace y utilise el sentido común cuando utilise una herramienta electrica.
No utilise una herramienta electrica cuando está cansado o está bajo la influencia de drogas, alcoholo medicacion.
La distracción momenteana cuando utilizes herramrientas electricas puede dar lugar a importantes daños personales.
b) Utilice equipo de seguridad. Utilice siempre una proteccion ocular.
El equipo de seguidad como mascara para el polvo, zapatos de seguidad antideslizantes, casco o proteccion para oidos utilizado para conditiones adecuadas reducirá los danios personales.
c) Evite un inizio accidental. Asegürese de que el interruptor está en "off" antes de enchufarlo.
El transporte de ferramentas electricas con el dedo en el interruptor o el enchufe de ferramentas electricas con el interruptor encendido puede provocar accidentes.
d) Retire las llaves de ajuste antes de encender la herramenta electrica.
Si sedea una llave enuna pieza giratoria de la herramienta electrica podrián producirse daños personales.
e) No se extralimite. Mantenga un equilibrio adequado en todo momento.
Esto permite un mayor control de la herrimenta electrica en situaciones inesperadas.
f) Vistase adecadamente. No lleve prendas sueltas ojoyas.Mantenga el pelo,la ropay los quentes alejados de las piezasmobiles.
La ropa sueelta, las joyas y el peso largo puede pillarse en las piezasVRTiles.
g) Si se proporcionan dispositivos para la connexion de extracción de polvo e Instalaciones de recogida, asegúrese de que está conectados y se utilizes adequadamente.
Lautilizaciondeestoidispositivospuede reducir losriesgosrelacionesconelpolvo.
4) Utilación y mantenimiento de las herramrientas electricas
a) No fuerce la herrimenta eletrica. Utilice la herrimenta eletrica correcta para su aplicacion. La herrimenta eletrica correcta travajarar mayor y de forma mas segura si se utilizes a la velocidad para la que fue disnada.
b) No utilise la herramienta électrique si el interruptor no la enciende y apaga.
Las herramrientas electricas que no peuvent controlarse con el interruptor son peligrosas y deben repararse.
c) Desconnecte el enchufe de la fuente electrica antes de hacer ajustes,Cambiar accesos o almacenar herraminas electricas.
Estas medias de segudad preventivas reducen el riesgo de que la herramenta electrica se ponga en marcha accidentallymente.
d) Guarde las herramrientas electricas que no seutilicen para que no las cojan los niños y no permita que realizen las herramrientas electricaspersonas no familiarizadas con las malmas o conestas instrucciones.
Las herramrientas electricas son peligrosas si son realizadas por sistemas in formacion.
e) Mantenimiento de las herramrientas electricas. Compruebe si las piezas moviles estan mal alineadas o unidas, si hay una pieza rota u other condidon que pudiera afectar alfuncionamento de las herramrientas electricas.
Si la herramienta electrica está dañana, llévela a reparar antes de utilizesla.
Se producen muchos accidentes por no realizar un mantenimiento correcto de las herramrientas electricas.
f) Mantenga las herramientos de corte aflidas y limpias.
Las herramrientas de corte correctamente mantenidas con los bordes de corte aflados son más fáciles de controlar.
g) Utilice la herramipta eletrica, los accesos y las brocas de la herramipta, etc., de acuerdo con estas instrucciones y de laforma adecauda para el tipo de herramipta eletrica, teniendo en cuenta las conditiones laborales y el trabajo que se va a realizar.
La realizacion de la herramienta electrica para operaciones differentes apretendidas podria dar lugar a una situacion peligrosa.
5) Revisión
a) Lleve su herr模板 a que la revise un experto cullificado que utilise solo piezas de repuestosidenticos.
Esto garantizaré el mantenimiento de la seguridad de la herramipta electrica.
PRECAUCION
Mantenga a los niños y a las personas enfermas alejadas. Cuando no seutilicen, las herramrientas deben almacarse para del alcance de los niños y de las personas enfermas.
ESPECIFICACIONES
| Modelo | FCJ65V3 | FCJ65S3 |
| Voltaje (por和地区)* | (110V, 115V, 120V, 127V, 220V, 230V, 240V)∞ | |
| Acometida | 400W* | |
| Profundidad de corte | Madera: 65mm Acero pobre en carbono: 6mm | |
| Velocidad | 0 - 3000 min-1 | 3000 min-1 |
| Carrera | 18mm | |
| Radio min. de corte | 25mm | |
| Peso (sin cable) | 1,5kg | |
- Verificar indefectiblemente los datos de la plaza de caracteristicas de laquina, puis varian de acuerdo al pais de destino.
ACCESSORIOS ESTANDAR
(1) Cuchilla No.31 1
Los accesos estandar está susjetos a cambio sin previo aviso.
ACCESSORIOS OPCIONALES (venta por separado)
- La cucilla No.31 es un accesorio estándar.
(2) Guía
Los accesos.optionales están susjetos a Cambios sin previo aviso.
APPLICACIONES
Corte de diversas maderas utiles y recortes interiores
Corte de planchas de metal blando, aluminio y cobre
Corte de resinas sintéticas, tales como resina fenólica, y cloruro de vinilo
Corte de materiales de construction delgados y blandos
ANTES DE LA PUESTA EN MARCHA
1. Alimentación
Asegurarse de que la alimentacion de red que ha de ser realizada y responderas las exigencias de corriente
especificadas en la plac de caracteristicas del producto.
2. Interruptor de alimentación
Asegurarse de que el interruptor de alimentacion este en la posicion OFF (desconnectado). Si el enchufe está connectado en el receptaculo cuando el interruptor de alimentacion este en posicion ON (conectado) las Herramentas electricas empezaran aFuncinar inesperamente,provocando un serio accidente.
3. Cable de prolongación
Cuando el area de trabajo está alejada de la red de acometida, usable un cable de prolongacion suficiente grueso y potente. El cable de prolongacion debe ser mantenido lo más tardo possible.
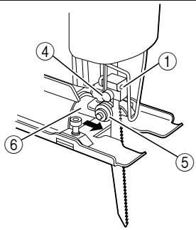
MONTAR LA CUCHILLA
- Usar la llave macho hexagonal accesoria para soltar los tornillos de ajuste de la cucilla en el portacuchillas, como muestra la Fig. 1(a).
- Mantener la cucilla con su filo mirando adelante, insertar la parte de la cucilla a montar bajo del orificio del embolo vástago hasta que toque el fondo del orificio.
- Como muestra en la Fig. 1(b) tensar firmamente el tornillo de ajuste lateral.
PRECAUTION
- Los tornillos de ajuste flojos peuvent ocasionar que la cucilla sea danada. Aseguarse siempre de que los tornillos de ajuste estenfirmamente asegurados. Aseguarse sempre de que el orificio del embolo vástago esté limpio y libre de aserraduras para
asegurar un buena montaje de la cucilla y una buena tensión del tornillo de ajuste.
- Almacenaje de la llave macho hexagonal
(1) Introducir en un orificio del lateral de la unidad principal sujetando el lateral corte en horizontal, tal y como se muestra en al Fig. 2.
(2) Girar con la llave macho hexagonal introducida y fijar, tal y como se muestra en la Fig. 2.
AJUSTE DEL RODILLO DE GUIA
El rodillo de guía, como muestra la Fig. 3, está empleada paraitarian que la cucilla se quiebre. Antes del uso, ajustar el rodillo de guía de acuerdo con los procedimientosesionales:
(1) Soltar el perno de ajuste del sujetador con la llave macho hexagonal accesoria.
(2) Empujar ligeramente el rodillo guía hasta que la ranura del rodillo toque suavamente la parte trasera de la cuchilla.
OBSERVACION
Al ser suministrado de la fabrica hay una ranura de 3mm entre el rodillo y la cucilla.
(3) Apretar firmamente el perno de ajuste del sujetador. PRECAUCION
El rodillo guía podra emplearse solamente con las cucillas que posean una linea recta en su parte superior con una longitud superior a 50mm (Fig. 4A y 4B) Cuando empleethersenos tips de cucillas (Fig. 4C),deslice el rodillo guía hacía extras de forma que no quede en contacto con la cucilla.
ParaURTar tableros gruesos o realizar operaciones de corte continuo, emlee la cucilla como muesra en la Fig.4A,4B,y cerciorese de instalar el rodillo de guia.
COLOCACION DE LA CUBIERTA DE VIRUTAS
1. Cubierta de virutas
Emplee la cubierta de virutas para reducir las salpicaduras de particulas y para emplear fácilmente la sierra.
Deslice la cubierta de virutas manteniendo ligeramente presionada su seccion frontal.
La cubierta de virutas puede colocarse en tres posiciones como se muestra en la Fig. 5.
- Forma de elegir la posisión de la cubierta de virutas
Ponga la cubierta de virutas en el primer paso cuando monte o desmonte la cucilla.
Cologne la cubierta de virutas en el的最后一 parte y su nombre corte materiales de madera.
Cologne la cubierta de virutas en el的最后一 cuestion para un corte materiales metálicos tales como acero.
PRECAUTION
Durante la operation de la herramipta, mantenga siempre la cubierta de virutas en la posicion baja.
- Aúnque emplee la cubierta de virutas, colóquese gafas de protección.
AJUSTE DE LA VELOCIDAD DE OPERATION DE CUCHILLA (sólo FCJ65V3)
OBSERVACION
La velocidad de operation de la cucilla no podra ajustarse en el modelo FCJ65S3.
La velocidad de funciona el cuchilla paraajustarse entre 0 y 3000min^-1 de acuerdo al grado con que se aprieta el interruptor del gatillo. Seccionar la velocidad apropiada al material de la pieza de trabajo y/o conditiones de trabajo.
Para realizar una operation continua, apltar el pulsador totalmente hacía bajo y apltar hacía bajo el dispositivo de ajuste. Entonces girar el botón de ajuste de velocidad paraogradar la velocidad operativa de la cucilla como sea deseada.
OBSERVACION
El botón de ajuste de velocidad sedea girar aproximadamente 1,5 vuertas. Para girar el conmutador en OFF (desconectado) volver a apltar el pulsador de nuevo para desacoplar el dispositivo de ajuste y soltar el pulsador.
CORTE
PRECAUCION
Durante el serrado, la base Tiene que entrada firmamente en contacto con la superficie de la pieza de trabajo y la cucilla Tiene que ser mantenida al ángulo correcto. Si seSeparateda de la base del material, la cucilla podrá rotar.
ParaURTARsosteniendla superficiefrontal,tener cuidado con la hoja de la sierma movil y sostenere firmamente la parte superior.
1. Corte rectilineo
(1) Para asegurar un corte exacto rectilineoemploi la guía accesorio optional como se muestra en la Fig. 6.
(2) Emplee el protector contra astillas para reducir la rugosidad de la superficie de corte de los materiales de madera. Instalar el protector contra astillas insertándolo desde laSECTION frontalde la base hasta que encaje en su lugar.(Fig.7)
PRECAUTION
Cloque la base en la posicion frontal cuando emplee el protector contra astillas.
2. Corte de una pieza circular o un arco circular
Para asegurar un corte eficaz,emploi la guia como accesorio optional y clavos o tornillos de madera como se我省ena en la Fig.8.
Al montar la guía, soltar el tornillo del fondo de la base y trasladar la base hacía adelante tanto como sea possible.
3. Serrado del lineas curvas
Al serrar un arco circular你应该o, reduir la velocidad de alimentacion de laquina. Si laquina esta demasiada alimentada rapidamente,. sueperacion rotura en la cucilla.
4. Corte de materiales metálicos
Usar siempre un medio de corte apropiado (aceite para uso, agua jabonosa, etc.). Si no está disponible un medio de corte liquido aplicar grasa a la superficie trasera del material aURTAR.
5. Recort interior
(1) En madera
Alinear la direccion de la cucilla con la fibra de madera yURTAR poco a poco hasta haber cortado un orificio de ventana en el centro de la madera utl. (Fig.9)
(2) Enotiros materiales
- Cortando un orificio de ventsana en materiales distinctos de la madera®, taladrar inicialmente un orificio poco a poco hasta haber cortado un orificio de ventsana en el centro de la madera®,
6. Corte angular
Ponga la cubierta de virutas en el primer paso. (Fig. 5) Paraajsatar el angulo de inclinacion, soltar el tornillo del fondo de la base,trasladar la posicion de la base a la ranura lateral de la parte semicircular, alnearla the escalain la parte semicircular de la base (la figuras gravadas en la escalaindican el angulo de inclinacion) con el borde de la caja,y apretar firmamente el tornillo del fondo de la base. (Fig.10 y 11)
PRECAUCION
Ponga el tornillo en el lado opuesto de la parte de inclinación emploando la guía. (Fig. 12)
7. Polvo producido durante la operation PRECAUCION
Para evaporar accidentes, apague y retire el enchufe de la toma de corriente cuando no está'utilizando el aparato.
- Para instrueriones sobre como usar el recogedor de polvo y los desechos de corte aplicables, lea elmanual de instrueriones del recogedor de polvo.
El polvo producido durante la operación normal puede afectar a la salute del operario. Se recomienda losignificante:
a) Llevar máscara anti-polvo
b) Utilizar equipo de recogida de polvo externo
Cuando utilise el equipo de recogida de polvo externo, conecte el adaptorado de goma (accessorio del equipo de recogida de polvo externo) al extremo del manguito del equipo de recogida de polvo externo.
A continuación, conecte el othero extremo del adaptor de goma a la parte de conexión del manguito posterior de la sierra caladora. (Véase Fig. 13)
SELECTION DE LAS CUCHILLAS
1. Cuchillas accesorias
Para asegurar una eficiencia operativa maximal y optimos resultados, es muy importante seleccionar la cucilla mayor apropiada para el tipo y grosor del material aURT. Un tipo de cucilla esta provisto como accesorio estandar. El numero de cucilla está grabado ccara de la parte a montar de cada cucilla. SeLECTIONAR LA CUCilla APROPIADA SEGUN LA Tabla 1.
- Cuchillas commerciales que son acceptables (Fig.14) Laquina es capaz de acceptar la mayor parte de las cucillas que se encontrartran en los commercios. Como se ilustra en la Fig.14, las restricciones respecto a la dimensaion de la cucilla son las seguidentes:
Grosor : L2 .... Menos de 1,6mm
Anchura:L3.....6,3mm
L4.....8mm
L5.....7mm
OBSERVACION
Para cortar materiales gruesos, emplee cuchillas genuinas demarca HITACHI y que posean la inclinacion mostrada en Fig. 4-A o B.
Table 1 List de cucillas apropiadas
| Material aURTAR | Calidad de material | Cuchilla No. |
| Madera util | Madera uyil general | No.1 o No.31 (chapa gruesa) o No.41 (chapa gruesa) o No.2 (chapa delgada) |
| Madera contrachapada | No.3 o No.6 | |
| Placa de hierro | Placa de acero pobre en carbono | No.6 |
| Metal no ferrico | Aluminio, cobre, latón | No.6 |
| Resina sintética | Resina de fenol, resina de melamina, etc. | No.4 (chapa gruesa) o No.6 (chapa delgada) |
| Clorulo de vinilo, resina acrílica, etc. | No.2 o No.4 (chapa gruesa) o No.6 (chapa delgada) | |
| Estirol espumoso, etc. | No.2 | |
| Pasta de papel | Cartón, cartón ondulado | No.2 |
| Fibra prensada dura | No.5 o No.6 | |
| Fibra prensada | No.6 | |
| Otros | Goma dura | No.2 |
| Pizarra | No.5 |
MANTENIMIENTO E INSPECCION
- Inspeccion de la cucilla
El uso continuo de una cucilla dañada resultaría una defectencia de corte reducido y podra causar un posible recalentamento del motor. Reemplazar la cucilla tan pronto como se note un desgaste excesivo por unaewsola.
2. Inspeccionar los tornillos de montaje
Regulamente inspeccionar todos los tornillos de montaje y asegurarde que estén apretados firmamente. Si[qualquier tornillo estuviese suelo, volver a apretario immediatamente.El no hacer este provocarun riesgo serio.
- Mantenimiento del motor
La unidad de bobinado del motor es el verdadero "corazon" de las herramrientas electricas. Prestar el mayor cuidado y asegurarde que el bobinado no se daene y/o se humedezca con aceite o agua.
- Reemplazo del cable de alimentacion
Si el cable de alimentacion de la herramienta está dcastado, envie la herramienta al Centro de Servicio Autorizo de Hitachi para que le cambien el cable de alimentacion.
- Servicio
Consultar a unrepresentante de Servicio Autorizzato en el caso de un fallo de las herramentas electrica.
- Listade repuestos
PRECAUCION
La reparacion, modificacion e inspeccion de las herramentas electricas Hitachi deben ser realizadas por un Centro de Servicio Autorizo de Hitachi.
Esta lista de repuestos sera de uso si es presentada bajo el centro del Servicio Autorizado de Hitachi, para solicitar la reparacion o cualquier othero tipo de mantenimiento.
En el manejo y el mantenimiento de las herramrientas electricas, sedeferan observar las normas y relogimientos vigentes en cada pais.
MODIFICACIONES
Hitachi Power Tools introduce constantelemente mejoras y modificaciones para incorparrar los ultimos avances Tecnologicos.
Por conspicuiente,algunas partes poder ser modificadas sin previo aviso.
OBSERVACION
Debido al programa continuo de Investigación y desarrollo de HITACHI estas espécificaciones estar susjetas a cambio sin previo aviso.
Información sobre el ruido propagated por el aire y vibración
Los valores medidos se determinaron de acuerdo con EN60745 declararon de conformidad con ISO 4871.
[FCJ65V3]
Nivel de potencia auditiva ponderada A: 95 dB(A)
Nivel de presión auditiva ponderada A: 84 dB (A)
Duda KpA: 3 dB (A)
Utilice protectores para los oidos.
Valor medio cuadrático ponderado típico de acceleración: 10,2 m/s².
REGRAS DE SEGURANÇA GERAL
AVISO!
Nunca modifique a ficha.
(vendidos separadamente)
O rolo guía, comoledo na Fig. 3, éutilido para evitar que a lámina salte. Antes de utiliser, ajuste o rolo guía de acordo con os seguides procedimientos:
a) Use una mascara contra o po
b) Use equipamento de recolha de pó externo
Tabela 1 Lista de láminas adequadas
| Material aURTAR | Qualidade do material | LÁmina N.° |
| Madeira | Madeira geral | N.°1 ou N.°31 (chapa espessa) ou N.°41 (chapa espessa) ou N.°2 (chapa fina) |
| Contraplacado | N.°3 ou N.°6 | |
| Chapa de ferro | Chapa de ferro suave | N.°6 |
| Metal sem ferro | Alumínio, cobre, latão | N.°6 |
| Resina sintética | Resina fenol, resina melamina, etc. | N.°4 (chapa espessa) ou N.°6 (chapa fina) |
| Cloreto de vinilo, resina acrílica, etc. | N.°2 ou N.°4 (chapa espessa) ou N.°6 (chapa fina) | |
| Styrol de espuma, etc. | N.°2 | |
| Polpa | Cartão, papel canelado | N.°2 |
| Soalho | N.°5 ou N.°6 | |
| Prancha de fibra | N.°6 | |
| Outros | Borracha dura | N.°2 |
| Telha | N.°5 |
Sólo para páíres de la Unión Europea
iNo deseche los aparatos electricos junto con los residuos domesticos!
De conformidad con la Directiva Europea 2002/96/CE sobre residuos de aparatos electricos y electrónicos y su aplicación de acuerdo con la legislación nacional, las herramrientas electricas cuya vidaCTLhada a su fin sedeferan recoger por separado y trasladar a una planta de reciclaje que cumpla con las exigencias ecologicas.
ManualFácil